JP4876552B2 - トラクタの外部油圧取出装置 - Google Patents

トラクタの外部油圧取出装置 Download PDF

Info

Publication number
JP4876552B2
JP4876552B2 JP2005345491A JP2005345491A JP4876552B2 JP 4876552 B2 JP4876552 B2 JP 4876552B2 JP 2005345491 A JP2005345491 A JP 2005345491A JP 2005345491 A JP2005345491 A JP 2005345491A JP 4876552 B2 JP4876552 B2 JP 4876552B2
Authority
JP
Japan
Prior art keywords
oil
valve
hydraulic
hydraulic pressure
valves
Prior art date
Legal status (The legal status is an assumption and is not a legal conclusion. Google has not performed a legal analysis and makes no representation as to the accuracy of the status listed.)
Expired - Fee Related
Application number
JP2005345491A
Other languages
English (en)
Other versions
JP2007143523A5 (ja
JP2007143523A (ja
Inventor
勇治 吉澤
Current Assignee (The listed assignees may be inaccurate. Google has not performed a legal analysis and makes no representation or warranty as to the accuracy of the list.)
Iseki and Co Ltd
Original Assignee
Iseki and Co Ltd
Priority date (The priority date is an assumption and is not a legal conclusion. Google has not performed a legal analysis and makes no representation as to the accuracy of the date listed.)
Filing date
Publication date
Application filed by Iseki and Co Ltd filed Critical Iseki and Co Ltd
Priority to JP2005345491A priority Critical patent/JP4876552B2/ja
Publication of JP2007143523A publication Critical patent/JP2007143523A/ja
Publication of JP2007143523A5 publication Critical patent/JP2007143523A5/ja
Application granted granted Critical
Publication of JP4876552B2 publication Critical patent/JP4876552B2/ja
Anticipated expiration legal-status Critical
Expired - Fee Related legal-status Critical Current

Links

Images

Landscapes

  • Lifting Devices For Agricultural Implements (AREA)

Description

この発明は、トラクタなどの油圧昇降装置を内装した油圧ハウジングへ取り付ける外部油圧取出装置に関する。
従来、トラクタに備える外部油圧取出バルブ(サブコントロールバルブ)は、車体後部のミッションケースやシリンダケースに備える構成が一般的であり、該バルブは流量調整機能付きのバルブや、単動又は複動式のアクチュエータへ圧油を送るべく複数種の切替バルブを集中して備えた構成となっている。
またトラクタの車体後部には、リンク機構やリフトアーム、更にはこれらに連結した作業機等が位置するため、これら機器に邪魔され、前記バルブ自体の取付作業やメンテナンス作業、更には前記バルブへの配管接続作業が行い難いという課題が有った。
そこで、複数の外部油圧取出バルブを配管で接続することなく、取扱性が良く、かつシンプルに配置することを目的として作業機の油圧昇降装置を内装した油圧ハウジングの上面にトラクタの外部油圧取出バルブを取り付けた構造が下記特許文献1に記載されている。
特許第3579225号公報
上記特許文献1記載の発明は油圧ハウジングの上面に連絡油路を形成したスペーサを設け、該スペーサの後部にトラクタの外部油圧取出バルブを装着するものである。
前記外部油圧取出バルブ取付構造はスペーサを介して油圧ハウジングからの圧油を複数積層した複数の外部油圧取出バルブに供給する構造であるため、スペーサと直接油路が接続した一番下層側の外部油圧取出バルブを経由して、その他の外部油圧取出バルブに順次圧油が供給されることになる。
そのため、一番下層側の外部油圧取出バルブを使用しないで、それより上層側の外部油圧取出バルブに油圧ハウジングから送油できない。そのため、前記上層側の外部油圧取出バルブまで送油するためには、使用しない下層側の外部油圧取出バルブの作動を停止させ、かつ使用する上層側の外部油圧取出バルブへ圧油を供給するための油圧回路部品を取り付ける必要があり、コストアップの要因となる。
本発明の課題は、複数の外部油圧取出バルブを配管で接続することなくシンプルに配置することで、その取扱性を良くし、かつ使用する外部油圧取出バルブに他の外部油圧取出バルブを経由しないで送油できる送油系を備えたトラクタの外部油圧取出バルブの取付構造を提供することである。
本発明は、上記課題を解決すべく次のような技術的手段を講じた。
請求項1記載の発明は、油圧シリンダを内装した油圧ハウジング(8)の上面にベース部材(16)を取付け、該ベース部材(16)の両側に外部油圧取出バルブ(18a,18b)を密着配置して、ベース部材(16)からその両側の外部油圧取出バルブ(18a,18b)に圧油を供給する油路(O2,O3)と、該油路(O2,O3)に油圧ハウジング(8)から圧油を供給するための入力ポート(P)と、前記外部油圧取出バルブ(18a,18b)から各種油圧アクチュエータ(17a,17b)へ送油した圧油を排出するタンクポート(T)と、未使用の圧油を他の回路内へ送る出力ポート(N)をベース部材(16)内に設け、出力ポート(N)に送油された圧油は油圧ハウジング(8)の側面に設けた作業機昇降シリンダ(10)の昇降用制御バルブ(11)へ連通する構成とし、前記入力ポート(P)と昇降用制御バルブ(11)への出力ポート(N)は油圧ハウジング(8)中央部の肉厚部に構成し、前記外部油圧取出バルブ(18a,18b)と油圧ハウジング(8)との間において所定の間隙部(H)を構成し、前記ベース部材(16)には流量調整式の分流弁(20)を内蔵し、この分流弁(20)で油圧アクチュエータ(17a,17b)に対して圧油を分岐して供給し、この分岐する圧油を流量調整ダイヤル(21)によって調整する構成とし前記外部油圧取出バルブ(18a,18b)の単動、複動式出力の切換を回動操作によって行うための単複切換レバー(22)を、バルブ下面で後方に向かって突出して設け、該単複切換レバー(22)は前記流量調整ダイヤル(21)と同じ側で操作する構成としたことを特徴とするトラクタの外部油圧取出装置である。
請求項2記載の発明は、前記油圧ハウジング(8)にミッションオイルの給油口(8b)を設け、給油口(8b)は油圧バルブが設置されていない箇所に構成し、油圧ハウジング(8)の上面に機体の傾斜を検出するローリングセンサ(33)を設けたことを特徴とする請求項1に記載のトラクタの外部油圧取出装置である。
請求項1記載の発明によれば、複数の外部油圧取出バルブ(18a,18b)の各種操作を集中して行うことができ、操作性の向上を図ることができる。 また、ベース部材(16)には、ベース部材(16)からその両側の外部油圧取出バルブ(18a,18b)に圧油を供給する油路(O2,O3)が形成されているので、外部配管が不要な構成とすることができる。
また、ベース部材(16)には、流量調整式の分流弁(20)が内蔵されているので、ベース部材(16)の両側に配置される外部油圧取出バルブ(18a,18b)のいずれかに選択的に潤滑油を供給できるだけでなく、両方同時に潤滑油を供給することができる。さらに、前記入力ポート(P)と出力ポート(N)が油圧ハウジング(8)の中央部の比較的肉厚部に設けられているので、油圧ハウジング(8)の剛性を保つことができる。その上、外部油圧取出バルブ(18a,18b)と油圧ハウジング(8)の間に設けた間隙部(H)による冷却効果でバルブ着脱時の取扱性の向上が図れる。また、外部油圧取出バルブ(18a,18b)の単動、複動式出力の切換を行う単複切換レバー(22)がバルブ下面で後方に突設しており、また該単複切換レバー(22)が流量調整ダイヤル(21)と同じ側で操作できるので、外部油圧取出バルブ(18a,18b)の各種操作を集中して行うことができ、操作性の向上を図ることができる。
請求項2記載の発明によれば、外部油圧取出バルブ(18a,18b)が設置されてない箇所にミッションオイルの給油口(8b)を設けることができるので、ミッションオイル給油時に外部油圧取出バルブ(18a,18b)が邪魔にならない。また、油圧ハウジング(8)の上面にローリングセンサ(33)を設けたので、油圧ハウジング(8)の上面から機体の傾斜を検出できる。
以下、この発明を図面に基づき説明する。
なお、本明細書においてトラクタの前進方向を向いて左右方向をそれぞれ左、右といい、前進方向を前、後進方向を後ろということにする。
トラクタは、図1の側面図と図2の背面図に示すように、車体1前部のボンネット2内部にエンジンEを搭載し、このエンジンEの回転動力をミッションケ−ス3内の伝動機構G(クラッチ機構や変速装置や各種ギヤ)に伝え、適宜減速された回転動力を左右前輪4及び左右後輪5へ伝える構成としている。
また前記エンジンEの後方には、左右前輪4,4を操舵するステアリングハンドル6が装備され、更にその後方には操縦席7が設置されている。また前記ミッションケ−ス3の後上部にはシリンダケース8が搭載され、このシリンダケース8の左右両側部には、左右リフトアーム9,9が回動自在に枢支されている。そしてシリンダケース8内に収容されている作業機昇降用油圧シリンダ10に圧油を供給すると前記リフトアーム9,9が上方へ回動し、排出するとリフトアーム9,9は下方へ回動する構成となっている。また前記リフトアーム9,9には各種のリンク機構を介して作業機を連結する構成となっているので取付構造のシンプルな構成で取扱性がよい外部油圧取出バルブ18を提案できる。
また図3、図4、図5にはシリンダケース8の上面に対して取付ボルト15,15…(図8)により締付固定される外部油圧取出バルブ18の取り付け構造を示す。図3は外部油圧取出バルブ18の取付構造の斜視図であり、外部油圧取出バルブ18の取付状態を示す背面図を図5(A)に、左側面図を図5(B)に、右側面図を図5(C)に、底面図を図5(D)にそれぞれ示す。また図10は外部油圧取出バルブ18と本実施例の特徴点を示す部品である外部油圧取出バルブ18の油圧回路図である。また図9はトラクタ全体の油圧回路図である。
前記シリンダケース8上面の左右幅方向の略中央部には、図5(D)に示すように、下端部のポンプ入力用ポートPより圧油を取り入れ、この圧油を後記の内部油路を介して上部左右両側に分岐させるベース部材16を取り付ける。該ベース部材16は、その下端部を前記シリンダケース8の上面に対し取付ボルト15,15…により締付固定する構成としている。
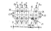
また前記ベース部材16の左右両側には、切替制御弁形態の外部油圧取出バルブ18a,18b,18c,18d…を、バルブ取付ボルト23,23…により最外側のカバー24,24で外側から挟持させて締付固定する構成としている。
なお、図5(D)中、符号Tは圧油をタンクへ逃がすTポート(タンクポート)を示し、符号Nは未使用の圧油を他の回路内へ送るNポートを示す。図10に示すように前記Pポートから導入された圧油は、油路を経て分流弁20に至る。該分流弁20は、ダイヤル21によって流量調整される可変絞り21aを備えた流量調整式弁であり、該可変絞り21aを経て、例えば油路O1での総流量Q(例えば60リットル/分)が所定流量Q1(例えば20リットル/分)以下に調整されて2股に分岐する油路O2にて外部油圧取出バルブ18aに供給される構成である。前記可変絞り21aの調整に伴い、該絞り21aへの油路O1の圧油を背圧として分流弁20は油路O2に加え、もう一方の外部油圧取出バルブ18b側への油路O3へ流量Q2(=Q−Q1)の圧油を供給すべく切り替わる構成である。また、前記油路O1には分流弁20に至るまでの余剰流を外部油圧取出バルブ18a側に送る構成とし、油路O4を設けている。
前記外部油圧取出バルブ18a,18bは中立状態から各種アクチュエータ17a,17bの複動型シリンダへの油圧取出ポートA1,B1,A2,B2に供給できる構成である。なお中立状態では、これらの油圧取出ポートA1,B1,A2,B2への圧油流通を遮断する一方、前記外部油圧取出バルブ18b側において前記油路O3から分岐する油路O3Nが前記カバー24の油路O3N’を経て前記Nポートに連通する構成としており、流量Q2の圧油をNポートから外部へ供給し得る構成としている。また、前記外部油圧取出バルブ18a側において前記油路O4からの圧油をカバー24’の油路O4’を経て油路O3に合流する構成とし、前記油路O3Nを経てNポートに送油する構成である。
前記外部油圧取出バルブ18a,18bから各種アクチュエータ17a,17bへ送油した圧油は図9に示すようにTポートに排出され、一方、Nポートに送油された圧油は、同図9に示すようにシリンダケース8の側面に設けた作業機昇降シリンダ10の昇降用制御バルブ11(図3、図9)へ連通させている。
また図5に示すように前記ベース部材16の上部左右側部には、平面状のバルブ取付面を形成し、この取付面に対し、各バルブ18…の各油圧取出ポートA1,B1…を後方へ向かって略同一高さに配した状態で、且つ各バルブ18…、詳しくは下部に位置させるソレノイド部18Aと前記シリンダケース8との間において所定の間隙部H(図5(A)参照)を介在させた状態で支持する構成としている。
また、図6にシリンダケース8のベース部材16と接する面の平面図を示すが、ベース部材16へ圧油を送る入力ポートPと昇降シリンダ制御バルブ11への出力ポートNはシリンダケース8の中央部の比較的肉厚部に設けることで、ケース8の剛性を保つことができる。
さらに、前記ベース部材16には、図10に示すように、流量調整式の分流弁20を内蔵し、油圧アクチュエータとなる油圧シリンダ17に対し圧油を分岐して供給する構成とし、この分岐される圧油を流量調整ダイヤル21によって調整する構成としている。
なお、図9にはシリンダケース8内の各油圧作動装置と前記ベース部材16を用いて外部油圧取出バルブ18a,18b…への圧油の供給と排出を行う油圧回路を示すが、図面左側には油圧ポンプ(図示せず)からの水平シリンダ44と後車軸トレッド変更用の油圧アセンブリ45を介して左側後車軸伸縮用のシリンダ46と右側後車軸伸縮用のシリンダ47に給排制御する構成を示し、図面右側には作業機昇降シリンダの昇降バルブ(制御弁)11を経由してメイン昇降シリンダ48と油圧揚力補助用のアシストシリンダ49a、49bに給排する構成を図示している。
また、各外部油圧取出バルブ18a,18b…は、ピストン式のスプール31(図4,図7)を上部に突設し、操縦席7近傍の操作レバー26にてワイヤー40やロッド41といった機械的連動機構を介して押し引き操作する構成としている。また各バルブ18a,18b…の背面に、機体後方に向かうように各油圧取出ポートA1,B1、A2,B2…を配置し、更に外部油圧取出バルブ18a,18b…の単動、複動式出力の切換を、バルブ下面の単複切換レバー(単複切換部材)22(図7)の回動操作によって行う構成としている。また前記単複切換レバー22は、後方へ向かって突設され、前記流量調整ダイヤル21(図8)並びに前記各ポート位置と同じ側で操作する構成となっている。
これにより、外部油圧取出バルブ18a,18b…の各種操作を集中して行うことができ操作性の向上を図ることができる。
また、ベース部材16には、流量調整式の分流弁20が内蔵されているので、ベース部材16の両側に配置される一対の外部油圧取出バルブ18a,18b…のいずれかに選択的に元油を供給できるだけでなく、両方同時に供給することができる。
前記特許文献1記載の外部油圧取出装置ではスペーサを介して重層的に積み重ねた外部油圧取出バルブに給油する構成であるため、スペーサ直上に積み重ねられた最下層の外部油圧取出バルブから順次給油するしかないので、最下層の外部油圧取出バルブを作動状態にさせない限り他の外部油圧取出バルブへは給油できなかった。
しかし、本実施例の構成で、その様な不具合は解消される。但し、ベース部材16の両側に配置される一対の外部油圧取出バルブ18a,18bのいずれかに隣接させて、さらに外部油圧取出バルブ18c、18dを配置する場合には、これらベース部材16の両側に隣接配置される一対の外部油圧取出バルブ18a,18b以外のバルブ18c、18d(図3、図8)だけに直接給油することができない。
また各バルブ18a,18b…の一側面30aには、図7に示すように、Oリングを嵌め込む長穴状の溝25を示し、前記の通り、ベース部材16側の油路や、前記カバー24側の油路、若しくは図8に示すように、積層式に取り付けた場合の他のバルブ18c、18d側との油路を連通する構成となっている。
前述のように図8には4個の外部油圧取出バルブ18a,18b,18c,18dを並列配置した場合の背面図を示し、図3には前述のように4個のバルブ18a,18b,18c,18dを並列配置してシリンダーケース8上に取り付けた場合の斜視図を示す。また、バルブ18が設置されてない箇所にミッションオイルの給油口8b(図3)を設けることができるので、ミッションオイル給油時にバルブ18が邪魔にならない。また、シリンダケース8の上面に、側面から突設させてローリングセンサ33(図3)を設け、ワイヤー33a(図3)を介して、ローリングシリンダ34(図2)のピストン伸縮長を検出する。
また前記バルブ18の取付面30aは、左右略同一形状となっており、各外部油圧取出バルブ18のバルブボディを共用して、加工違いによって各種のバルブを構成する構成となっている。
以上のように構成したトラクタでは、各種外部油圧取出バルブ18a,18b…をシリンダケース8に直接取り付けるのでは無く、ベース部材16を介して取り付けるので、別途バルブをサブ組みした状態で取り扱うことができ、生産、メンテナンス時の取扱性が良い。また前記ベース部材16には、バルブ18a,18b…へ連通する油路O1,O2…が形成されているので、外付け配管が不要な構成とすることができる。
また各種バルブ18の増設時には、横方向から前記ボルト23とカバー24及び既設のバルブ18を取り外し、別途長さの異なるボルトで新規のバルブを積層させた状態で取り付けることができるので操作も容易であり、また間隙部H(図8)による冷却効果で、バルブ着脱時の取扱性の向上が図れる。
また、図3、図4に示すように外部油圧取出バルブ18a,18b,18cの各油圧取出ポート(図9にはバルブ18a,18bの各油圧取出ポートA1,B1,A2,B2のみを示す)のジョイント部分A1’,A2’,A3’,B1’,B2’,B3’は水平後向きにそれぞれ設けるが、外部油圧取出バルブ18dのように後ろ上向きに伸びたジョイント部分(A4’,B4’)とすることにより、リフトアーム9のアシストシリンダ49a,49b(図3、図4では図示せず。図3の図面手前側にある)と干渉することがなくなる。
また図4に示すように各バルブ18の後ろ面に、バルブ18のスプール37を伸縮操作させる操作アーム38と、同操作アーム38に接続するプッシュプルワイヤー40を保持するロッド41を備えたブラケット42を取り付ける。この構成ではワイヤー40を利用することで、バルブ18のスプール19(図10、図9)の操作機構をコンパクト設計として部品コストを削減できる。
本発明のトラクタの全体側面図。 図1のトラクタの背面図。 図1のトラクタの4個の外部油圧取出バルブを並列配置してシリンダーケース8上に取り付けた場合の斜視図。 図1のトラクタの4個の外部油圧取出バルブを並列配置してシリンダーケース8上に取り付けた場合の側面図。 図1のトラクタの外部油圧取出バルブの取付状態を示す背面図(図5(A))、左側面図(図5(B))、右側面図(図5(C))および底面図(図5(D))。 図1のトラクタのシリンダケースのベース部材と接する面の平面図。 図1のトラクタの外部油圧取出バルブのバルブ取付面を示す側面図。 図1のトラクタの外部油圧取出バルブを積層式に4個取り付けた場合の背面図。 図1のトラクタの全体油圧回路図。 図9の外部油圧取出バルブ部分の油圧回路図。
符号の説明
1 車体
2 ボンネット
3 ミッションケ−ス
4 前輪
5 後輪
6 ステアリングハンドル
7 操縦席
8 油圧シリンダケース
8b 給油口
9 リフトアーム
10 作業機昇降用油圧シリンダ
11 昇降用制御バルブ
15 ベース取付ボルト
16 ベース部材
17 油圧シリンダ
17a,17b アクチュエータ
18,18a,18b,18c,18d 外部油圧バルブ
18A ソレノイド部
19 内部スプール
20 分流弁
21 流量調整ダイヤル
21a 可変絞り
22 単複切換部材
23 バルブ取付ボルト
24 カバー
25 長穴状の溝
26 操作レバー
30a 取付面
31 スプール
33 ローリングセンサ
33a ワイヤー
34 ローリングシリンダ
37 スプール
38 操作アーム
40 プッシュプルワイヤー
41 ロッド
42 ブラケット
44 水平シリンダ
45 油圧アセンブリ
46 左側後車軸伸縮用シリンダ
47 右側後車軸伸縮用シリンダ
48 メイン昇降シリンダ
49a、49b サブ昇降シリンダ
A1,B1,A2,B2・・・ 油圧取出ポート
A1’,A2’,A3’,A4’,B1’,B2’,B3’B4’ ジョイント部分
E エンジン
G伝動機構
H 間隙部
O1,O2,O3,O3N,O3N’,O4,O4’ 油路

Claims (2)

  1. 油圧シリンダを内装した油圧ハウジング(8)の上面にベース部材(16)を取付け、該ベース部材(16)の両側に外部油圧取出バルブ(18a,18b)を密着配置して、ベース部材(16)からその両側の外部油圧取出バルブ(18a,18b)に圧油を供給する油路(O2,O3)と、該油路(O2,O3)に油圧ハウジング(8)から圧油を供給するための入力ポート(P)と、前記外部油圧取出バルブ(18a,18b)から各種油圧アクチュエータ(17a,17b)へ送油した圧油を排出するタンクポート(T)と、未使用の圧油を他の回路内へ送る出力ポート(N)をベース部材(16)内に設け
    出力ポート(N)に送油された圧油は油圧ハウジング(8)の側面に設けた作業機昇降シリンダ(10)の昇降用制御バルブ(11)へ連通する構成とし、
    前記入力ポート(P)と昇降用制御バルブ(11)への出力ポート(N)は油圧ハウジング(8)中央部の肉厚部に構成し、
    前記外部油圧取出バルブ(18a,18b)と油圧ハウジング(8)との間において所定の間隙部(H)を構成し、
    前記ベース部材(16)には流量調整式の分流弁(20)を内蔵し、この分流弁(20)で油圧アクチュエータ(17a,17b)に対して圧油を分岐して供給し、この分岐する圧油を流量調整ダイヤル(21)によって調整する構成とし
    前記外部油圧取出バルブ(18a,18b)の単動、複動式出力の切換を回動操作によって行うための単複切換レバー(22)を、バルブ下面で後方に向かって突出して設け、該単複切換レバー(22)は前記流量調整ダイヤル(21)と同じ側で操作する構成としたことを特徴とするトラクタの外部油圧取出装置。
  2. 前記油圧ハウジング(8)にミッションオイルの給油口(8b)を設け、給油口(8b)は油圧バルブが設置されていない箇所に構成し、
    油圧ハウジング(8)の上面に機体の傾斜を検出するローリングセンサ(33)を設けたことを特徴とする請求項1に記載のトラクタの外部油圧取出装置。
JP2005345491A 2005-11-30 2005-11-30 トラクタの外部油圧取出装置 Expired - Fee Related JP4876552B2 (ja)

Priority Applications (1)

Application Number Priority Date Filing Date Title
JP2005345491A JP4876552B2 (ja) 2005-11-30 2005-11-30 トラクタの外部油圧取出装置

Applications Claiming Priority (1)

Application Number Priority Date Filing Date Title
JP2005345491A JP4876552B2 (ja) 2005-11-30 2005-11-30 トラクタの外部油圧取出装置

Related Child Applications (1)

Application Number Title Priority Date Filing Date
JP2008279303A Division JP4877310B2 (ja) 2008-10-30 2008-10-30 トラクタの油圧装置

Publications (3)

Publication Number Publication Date
JP2007143523A JP2007143523A (ja) 2007-06-14
JP2007143523A5 JP2007143523A5 (ja) 2008-09-18
JP4876552B2 true JP4876552B2 (ja) 2012-02-15

Family

ID=38205686

Family Applications (1)

Application Number Title Priority Date Filing Date
JP2005345491A Expired - Fee Related JP4876552B2 (ja) 2005-11-30 2005-11-30 トラクタの外部油圧取出装置

Country Status (1)

Country Link
JP (1) JP4876552B2 (ja)

Families Citing this family (1)

* Cited by examiner, † Cited by third party
Publication number Priority date Publication date Assignee Title
KR102890307B1 (ko) * 2019-03-06 2025-11-25 엘에스엠트론 주식회사 농업용 작업차량의 작업기용 유압장치

Family Cites Families (6)

* Cited by examiner, † Cited by third party
Publication number Priority date Publication date Assignee Title
JPS5982004A (ja) * 1982-11-02 1984-05-11 株式会社クボタ 農用トラクタの油圧装置
JP3512436B2 (ja) * 1993-03-30 2004-03-29 株式会社 神崎高級工機製作所 油圧アクチュエーターの駆動速度制御装置
JPH0777208A (ja) * 1993-09-10 1995-03-20 Kanzaki Kokyukoki Mfg Co Ltd 作業装置の油圧制御装置
JPH07255216A (ja) * 1994-03-22 1995-10-09 Iseki & Co Ltd トラクタの外部油圧取出装置
JP3579225B2 (ja) * 1997-08-13 2004-10-20 株式会社クボタ トラクタの外部油圧取出装置
JP4963333B2 (ja) * 2001-07-18 2012-06-27 ナブテスコ株式会社 建設機械用多連方向切換弁

Also Published As

Publication number Publication date
JP2007143523A (ja) 2007-06-14

Similar Documents

Publication Publication Date Title
WO2008023516A1 (en) Fan drive system
JP6514522B2 (ja) アンロード弁および油圧ショベルの油圧駆動システム
JP6717541B2 (ja) 弁装置およびこれを備えた流体圧システム
US20130318958A1 (en) Control valve assembly
JP4877310B2 (ja) トラクタの油圧装置
US8167081B2 (en) Dual mode hydrostatic steering system
JPH06237605A (ja) 作業車両用の油圧供給装置
JP4876552B2 (ja) トラクタの外部油圧取出装置
JP4963333B2 (ja) 建設機械用多連方向切換弁
JP4963337B2 (ja) 建設機械の多連方向切換弁
US7954315B2 (en) Hydraulic circuit structure of work vehicle
JP5832193B2 (ja) 作業機のアンロード装置
JP2007143523A5 (ja)
US20200224681A1 (en) Systems and methods for selective enablement of hydraulic operation
KR20090071935A (ko) 지게차용 포크 작동 유압장치
EP2446152B1 (en) Hydraulic main valve and auxiliary valve
JP6671753B2 (ja) 油圧作業車の油圧回路
JP4715121B2 (ja) コンバイン
US12123436B2 (en) Control valve unit
US10731323B2 (en) Hydraulic system for working machine
JP5049580B2 (ja) トラクタ
JP2647771B2 (ja) バックホウの油圧回路
US20080105484A1 (en) Electronic redundant steer by wire valve
JP2647769B2 (ja) バックホウの油圧回路
JP2525290Y2 (ja) トラクタの油圧回路

Legal Events

Date Code Title Description
A521 Written amendment

Free format text: JAPANESE INTERMEDIATE CODE: A523

Effective date: 20080731

A621 Written request for application examination

Free format text: JAPANESE INTERMEDIATE CODE: A621

Effective date: 20080901

A977 Report on retrieval

Free format text: JAPANESE INTERMEDIATE CODE: A971007

Effective date: 20110225

A131 Notification of reasons for refusal

Free format text: JAPANESE INTERMEDIATE CODE: A131

Effective date: 20110420

A521 Written amendment

Free format text: JAPANESE INTERMEDIATE CODE: A523

Effective date: 20110616

TRDD Decision of grant or rejection written
A01 Written decision to grant a patent or to grant a registration (utility model)

Free format text: JAPANESE INTERMEDIATE CODE: A01

Effective date: 20111101

A01 Written decision to grant a patent or to grant a registration (utility model)

Free format text: JAPANESE INTERMEDIATE CODE: A01

A61 First payment of annual fees (during grant procedure)

Free format text: JAPANESE INTERMEDIATE CODE: A61

Effective date: 20111114

R150 Certificate of patent or registration of utility model

Ref document number: 4876552

Country of ref document: JP

Free format text: JAPANESE INTERMEDIATE CODE: R150

Free format text: JAPANESE INTERMEDIATE CODE: R150

FPAY Renewal fee payment (event date is renewal date of database)

Free format text: PAYMENT UNTIL: 20141209

Year of fee payment: 3

LAPS Cancellation because of no payment of annual fees