JP4865256B2 - 熱交換器及び熱交換器の製造方法 - Google Patents

熱交換器及び熱交換器の製造方法 Download PDF

Info

Publication number
JP4865256B2
JP4865256B2 JP2005165399A JP2005165399A JP4865256B2 JP 4865256 B2 JP4865256 B2 JP 4865256B2 JP 2005165399 A JP2005165399 A JP 2005165399A JP 2005165399 A JP2005165399 A JP 2005165399A JP 4865256 B2 JP4865256 B2 JP 4865256B2
Authority
JP
Japan
Prior art keywords
tube
heat transfer
heat exchanger
stub
transfer tube
Prior art date
Legal status (The legal status is an assumption and is not a legal conclusion. Google has not performed a legal analysis and makes no representation as to the accuracy of the status listed.)
Expired - Lifetime
Application number
JP2005165399A
Other languages
English (en)
Other versions
JP2006337000A (ja
Inventor
透 飯塚
充 佐藤
信哉 小雲
Current Assignee (The listed assignees may be inaccurate. Google has not performed a legal analysis and makes no representation or warranty as to the accuracy of the list.)
Electric Power Development Co Ltd
Tohoku Electric Power Co Inc
Kansai Electric Power Co Inc
Kyushu Electric Power Co Inc
Japan Atomic Power Co Ltd
Chugoku Electric Power Co Inc
Chubu Electric Power Co Inc
Hokuriku Electric Power Co
Mitsubishi Heavy Industries Ltd
Tokyo Electric Power Co Holdings Inc
Original Assignee
Electric Power Development Co Ltd
Tohoku Electric Power Co Inc
Kansai Electric Power Co Inc
Tokyo Electric Power Co Inc
Kyushu Electric Power Co Inc
Japan Atomic Power Co Ltd
Chugoku Electric Power Co Inc
Chubu Electric Power Co Inc
Hokuriku Electric Power Co
Mitsubishi Heavy Industries Ltd
Priority date (The priority date is an assumption and is not a legal conclusion. Google has not performed a legal analysis and makes no representation as to the accuracy of the date listed.)
Filing date
Publication date
Application filed by Electric Power Development Co Ltd, Tohoku Electric Power Co Inc, Kansai Electric Power Co Inc, Tokyo Electric Power Co Inc, Kyushu Electric Power Co Inc, Japan Atomic Power Co Ltd, Chugoku Electric Power Co Inc, Chubu Electric Power Co Inc, Hokuriku Electric Power Co, Mitsubishi Heavy Industries Ltd filed Critical Electric Power Development Co Ltd
Priority to JP2005165399A priority Critical patent/JP4865256B2/ja
Publication of JP2006337000A publication Critical patent/JP2006337000A/ja
Application granted granted Critical
Publication of JP4865256B2 publication Critical patent/JP4865256B2/ja
Anticipated expiration legal-status Critical
Expired - Lifetime legal-status Critical Current

Links

Images

Landscapes

  • Details Of Heat-Exchange And Heat-Transfer (AREA)
  • Heat-Exchange Devices With Radiators And Conduit Assemblies (AREA)

Description

この発明は、蒸気発生器、加熱器、過熱器、温水器、冷却器、復水器等、温度の異なる流体の間接的な接触によって熱の交換を行うシェル・アンド・チューブ型の熱交換器及び熱交換器の製造方法に関するものである。
従来、シェル・アンド・チューブ形の多管式熱交換器において、図9に図示のように、管板80の表面(シェル内部に流通する他方の流体と接触しない側の表面)に、短管状で且つ伝熱管81が貫通可能な管台82を溶接し、該管台82と管板80に対し伝熱管81の両端部を貫通させて管台82の先端から所要量だけ突出させるようにし、該伝熱管81の管台82からの突出部外周を管台82の先端に溶接するよう構成したものがある(例えば、特許文献1参照。)。
特許文献1に記載のものは、管板80及び管台82に伝熱管81を通過させ、伝熱管81を拡管処理により管板80に固定すると共に、管台82の端部全周を伝熱管81の外周面に隅肉溶接83している。
この従来の接合構造は、製作性に優れるという利点があるが、隅肉溶接83周辺で肉厚が変化するため、放射線等を用いた検査により内部欠陥を検知することが困難であるという問題がある。
即ち、図10の接合部拡大図に図示のように、伝熱管81内から外側に向かってX線85を照射し、管台82及び伝熱管81の該周囲に設けられた図示略のフィルムに溶接状況を撮影する場合、管台82と伝熱管81との段差による映像の変化と欠陥84による映像の変化との区別ができず、放射線等により内部欠陥を検知することが困難である。
特に、加熱媒体と非加熱媒体とが異なる物質の場合、安全性が要求される場合等には、隅肉溶接83の信頼性をさらに高めることが望ましい。
また、図11に図示のように、流体室90側から熱交換室91側へ貫通する管板孔92を有する管板本体93と、管板本体93の熱交換室91側の面に管板孔92と対応するよう一体的に形成されたスタブ部94と、該スタブ部94に接続された伝熱管95とを備え、流体室90から伝熱管95へ流入する一次流体と熱交換室91の二次流体との間で熱交換を行なうようにしたものがある(例えば、特許文献2参照。)。
なお、各スタブ部94の先端部と伝熱管95とは溶接されている。
特許文献2に記載のものは、スタブ部94の先端部と伝熱管95との溶接部が伝熱管95群の間にあるため、伝熱管95の取り付け工事においては、多数の伝熱管95につき1本毎に順次、溶接、溶接部の外周へのX線用フィルムの当接、放射線透過検査(RT検査)を繰返し行うことが必要であり、多くの時間を要する。
特開2002−62081号公報(図1、要約) 特開平7−190673号公報(図1、要約)
以上に述べたように、特許文献1に記載のものでは、製作性に優れているものの、管板の管台の端部と伝熱管の端部との溶接接合部の管の長手方向両側において段差があるため、放射線等を用いた検査が困難であり、特許文献2に記載のものでは、放射線等を用いた検査が可能なものの、伝熱管95の取り付け工事においては、多数の伝熱管95につき1本毎に順次、溶接、溶接部の外周へのX線用フィルムの当接、RT検査を繰返し行う必要があり、製作性が悪いという問題がある。
本発明は、このような従来の構成が有していた問題を解決しようとするものであり、放射線等を用いた検査により内部欠陥を検知、識別することが可能となり溶接部の欠陥を無くすことができると共に、製作性に優れた、熱交換器及び熱交換器の製造方法を実現することを目的とする。
本発明は、上記従来の課題を解決するためになされたもので、特許請求の範囲に記載された各発明は、熱交換器及び熱交換器の製造方法として、それぞれ以下の(1)〜(10)に述べる各手段を採用したものである。
(1)第1の手段の熱交換器は、管板間に伝熱管が設けられた熱交換器において、前記管板の仕切り室側に突出した円筒状のスタブ、前記管板及び前記スタブを貫通して配設された前記伝熱管と、管状の部材であって、その内壁面及び外壁面と隣接する端面が前記スタブ及び前記伝熱管の端面に突き合わせて連接された端管と、前記スタブ及び前記伝熱管の端面と前記端管の端面との突き合わせ面に形成された接合部とを備えたことを特徴とする。
(2)第2の手段の熱交換器は、前記第1の手段において、前記接合部近傍の端管の内径及び外径と前記伝熱管の内径及び前記スタブの外径が同じになるように連接されていることを特徴とする。
(3)第3の手段の熱交換器は、前記第1又は2の手段において、前記接合部は、前記端管の前記突合わせ面の半径方向板厚幅に亘って形成されていることを特徴とする。
(4)第4の手段の熱交換器は、前記第1乃至3の手段において、前記伝熱管は、多重管であることを特徴とする。
(5)第5の手段の熱交換器は、前記第1乃至4の手段において、前記端管にオリフィスが形成されていることを特徴とする。
(6)第6の手段の熱交換器は、前記第1乃至5の手段において、前記管板は、加熱流体として高温の液体ナトリウムが用いられる高速増殖炉に使用されるものであることを特徴とする。
(7)第7の手段は、管板間に多数の伝熱管が設けられた熱交換器の製造方法において、前記各伝熱管を前記管板及び前記管板の仕切り室側に突出した円筒状のスタブに挿入し、前記スタブ及び前記伝熱管の端面に、管状の端管の内壁面及び外壁面と隣接する端面を突き合わせて連接し、前記スタブ及び前記伝熱管の端面と前記端管の端面との突合わせ面を接合することを特徴とする。
(8)第8の手段の熱交換器の製造方法は、前記第7の手段において、前記接合部近傍の端管の内径及び外径と前記伝熱管の内径及び前記スタブの外径が同じになるようにすることを特徴とする。
(9)第9の手段の熱交換器の製造方法は、前記第7又は8の手段において、前記接合は、前記端管の前記突合わせ面の半径方向板厚幅に亘って行うことを特徴とする。
(10)第10の手段の熱交換器の製造方法は、前記第7乃至9の手段において、前記伝熱管は、多重管であることを特徴とする。
特許請求の範囲に記載の各請求項に係る発明は、上記の(1)〜(10)に記載の各手段を採用しているので、接合部周辺で肉厚が変化しない或いは許容される誤差の範囲内であるため、放射線の透過度が一定となり、放射線、または、超音波を用いた検査により接合部周辺の内部欠陥を検知することが可能となる。
特に、(6)に記載の手段においては、触れ合うと激しく反応する液体金属ナトリウムと水もしくは蒸気との間で熱交換を行う高速増殖炉の熱交換器では、伝熱管に施行される溶接等の接合部の検査には極めて高い信頼性が要求されるため、放射線等による検査は、是非とも実施したいものであるが、その放射線等による検査が可能となる。
また、溶接部は、胴部内の多数の伝熱管が配設された側ではなく、出口側の仕切り室、入口側の仕切り室内に位置しているため、補修も簡単に行うことができる。
更に、従来は伝熱管1本毎に拡管処理作業と溶接接合作業と放射線による検査とを行う必要があったが、多数の伝熱管の拡管処理作業、溶接等の接合作業、検査作業が独自に自由に行えるため、製作性と信頼性に優れている。
以下、本発明の各実施の形態を図1〜8を参照して説明する。
図1は、本発明の各実施の形態を一部断面で示す熱交換器の全体図である。
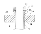
図2は、本発明の第1の実施の形態を示す接合部断面図、図3は、図2の接合部拡大図、図4は、図2の接合部における放射線による検査方法を示す図である。
図5は、本発明の第2の実施の形態を示す要部拡大断面図、図6は、図5における溶接前の突合せ部の形状を示す図である。
図7は、本発明の第3の実施の形態を示す要部拡大断面図である。
図8は、本発明をFBR用に適用した蒸気発生装置の部分拡大断面図である。
(熱交換器の全体の構成)
先ず、図1に基づき、本発明の各実施の形態に係る熱交換器の全体の構成を説明する。
なお、本発明における熱交換器は、蒸気発生器、加熱器、過熱器、温水器、冷却器、復水器等の、温度の異なる流体の間接的な接触によって熱の交換を行うシェル・アンド・チューブ型のものを含む。
加熱流体としては、熱水、ボイラ等における火炎、高温気体、高温蒸気、原子力発電設備における液体ナトリウム、等が用いられる。
被加熱流体としては、水、蒸気、反応のために加熱する化学物質(流体)等が用いられる。
図1に図示のように、熱交換器1は、中央部の胴部2、胴部2の上端に気密或いは液密に取り付けられた上部の出口側の管板5及び上部の出口側の仕切り室3(又は、プレナム、水室、ヘッダー、マニホールドともいう)、胴部2の下端に液密に取り付けられた下部の入口側の管板6及び下部の入口側の仕切り室4(又は、プレナム、水室、ヘッダー、マニホールドともいう)により構成されている。
入口側の仕切り室4には、被加熱流体9を導入する被加熱流体導入管12が接続され、出口側の仕切り室3には、被加熱流体排出管13が接続されている。
また、胴部2の上端部には、加熱流体8を導入する加熱流体導入管10が接続され、胴部2の下端部には、加熱流体排出管11が接続されている。
胴部2内には、多数の伝熱管7が配設されており、この各伝熱管7の上端は、出口側の管板5に穿設された孔及びスタブ20を貫通し出口側の仕切り室3内に突出している。
また、各伝熱管7の下端も同様に、入口側の管板6に穿設された孔及びスタブ20を貫通し入口側の仕切り室4内に突出している。
そして、スタブ20及び伝熱管7の全ての両端には、後述するように端管21が溶接、溶金等により接合されている。
上述の熱交換器1において、加熱流体8は、加熱流体導入管10から胴部2内に導入されて、伝熱管7内の被加熱流体9を加熱した後、加熱流体排出管11から排出される。
また、被加熱流体9は、被加熱流体導入管12から入口側の仕切り室4に導入され、多数の伝熱管7を流れながら加熱流体8により加熱された後、出口側の仕切り室3を通り被加熱流体排出管13から排出される。
なお、図1に図示の伝熱管7は、直管型の例を示しているが、これに限定されるものではなく、U字管型、ヘリカルコイル型、1重管型、多重管型(2重管以上のもの)等、各種の形状のものとすることができる。
(本発明の第1の実施の形態)
次に、図2〜図4に基づき、本発明の第1の実施の形態に係る熱交換器及び伝熱管と管板との接合構造、接合方法につき説明する。
図2は、図1における各スタブ20及び伝熱管7の端部の接合部を拡大したものである。
上述のごとく、出口側の管板5又は入口側の管板6には、各伝熱管7を通すための多数の孔が穿設されている。
この各孔の周囲には、出口側の仕切り室3又は入口側の仕切り室4に突出したスタブ20が、出口側の管板5、入口側の管板6に形成されている。
そして、出口側の管板5、入口側の管板6に穿設された孔及び各スタブ20には各々伝熱管7の端部が挿入され、各伝熱管7は周知の拡管装置により拡管部24が拡張されて出口側の管板5、入口側の管板6に穿設された各孔の内面に液密に密着固定されている。
これにより、胴部2内の加熱流体8が出口側の仕切り室3、入口側の仕切り室4内に混入しないように、或いは出口側の仕切り室3、入口側の仕切り室4内の被加熱流体9が胴部2内に混入しないようになっている。
更に、本実施の形態においては、出口側の管板5、入口側の管板6或いはスタブ20と伝熱管7との液密性を高めるために、各スタブ20及び各伝熱管7の端面には板厚の厚いリング状の端管21(又は、単管、短管或いはストッパーリングと称する)が突き合わされ連接され、スタブ20、伝熱管7及び端管21の突き合わせ部分は、溶接或いは溶金等により接合22されている。
この端管21は、その外径がスタブ20の外径とほぼ一致し、内径が伝熱管7の内径とほぼ一致するものとなっている。
また、溶接等による接合部22は、スタブ20の外面から伝熱管7の内面に達するように(或いは、端管21の半径方向板厚幅に亘って)形成されている。
即ち、端管21は、図3に図示のように、端管の外径Do=スタブの外径Ds、端管の内径Di=伝熱管の内径Dp、端管の板厚t3=スタブの板厚t1+伝熱管の板厚t2となるように、端管21をスタブ20及び伝熱管7の端面に突き合わせて連接することが最も好ましい。
なお、本発明における連接とは、以下に述べるように、許容されるずれ、即ち製作公差の範囲内で接合するものを意味するものであり、また、放射線等による溶接部の検査において、スタブ20及び伝熱管7と端管21との段差による影響を受けない範囲内のものを含むものとする。
また、端管の長さLは、長くても構わないが、少なくとも溶接接合(或いは溶金接合)後の放射線検査時に誤検出値が発生せず、取り扱い性の良い長さとする。
即ち、少なくとも、端管の長さL≧t1+t2とすべきである。
なお、端管21が長い場合、接合部近傍以外の部分、即ち長さL≧t1+t2の部分については、放射線等による検査に影響を与えないので、端管21の板厚は、公差以下にする必要はなく、薄くても厚くても、更には、後記するようにオリフィスを設けても良い。
端管21の各寸法は、上述のようにすることが最も好ましいが、図4に図示のように、放射線等を用いた検査に支障のない範囲内であればよく、必ずしも各寸法を完全に一致させる必要はない。
即ち、スタブの外径Dsと端管の外径Doとの外径差δo、及び伝熱管の内径Dpと端管の内径Diとの内径差δiとの合計(外径差δo+内径差δi)が、1.5mm以下であれば良い。
この1.5mmという数値は、総理府令第121号「研究開発段階にある発電の用に供する原子炉の溶接の技術水準に関する規則」において、厚さ15mm以下の母材に関する管または管台の周継手に示されている「越えてはならない食い違いの値」である。
なお、図2、図3、図4に記載のものは、溶接による接合22のための開先を外側に開くように構成したものであるが、逆に内側に開くような構成としても良い。
更には、端管21の突合せ側端面及びスタブ20及び伝熱管7の突合せ側端面の両方ともに水平に研削、切断し、入熱により突き合わせ面を接合しても良い。
(熱交換器の製造、検査)
上述の、熱交換器1の製造においては、出口側の管板5、入口側の管板6間に伝熱管7が配設され、各伝熱管7の各端部は出口側の管板5、入口側の管板6に穿設された孔及びスタブ20内に挿入される。
そして、各伝熱管7は、周知の拡管装置により図2に図示の拡管部24が拡張されて出口側の管板5、入口側の管板6に穿設された各孔の内面に液密に密着固定される。
その後、スタブ20及び伝熱管7の端部の全周囲について開先処理、即ち、端面を斜めに研削、切断する処理が行なわれる。
そして、予め開先処理された端管21が、スタブ20及び伝熱管7の端部に突き合わされ、溶接作業を行う側の反対側に円筒状の図示略の裏当て材が当接される。
その後、スタブ20、伝熱管7及び端管21は、突き合わされた開先部が全周囲に亘ってTig溶接等により肉盛り溶接され接合22される。
溶接接合された後に、図4に示すように放射線による検査が行われる。
先ず、スタブ20、接合部22及び端管21の外周面を覆うように、全周に亘ってX線フィルム16が配設される。
そして、X線15の発生源が伝熱管7内部に挿入され、X線フィルム16に向かってX線15が照射されて検査が行なわれる。
上述の本発明の第1の実施の形態に係る熱交換器及び伝熱管と管板との接合構造、接合方法によれば、接合部22周辺で肉厚が変化しない或いは許容される誤差の範囲内であるため、放射線の透過度が一定となり、放射線等を用いた検査により接合部22周辺の内部欠陥を検知することが可能となる。
また、接合部22は、胴部2内の多数の伝熱管7が配設された側ではなく、出口側の仕切り室3、入口側の仕切り室4内に位置しているため、補修、再検査等も簡単に行うことができ、接合部22の欠陥を無くすことができる。
従来は、伝熱管1本毎に拡管処理作業と溶接接合作業と放射線による検査とを行う必要があったが、本発明の第1の実施の形態に係る熱交換器では、多数の伝熱管7の拡管処理作業、溶接接合作業、検査作業が独自に自由に行えるため、製作性に優れている。
また、特許文献2に記載の従来のものでは、中央部付近の伝熱管の補修、再点検は事実上不可能であった。
これに対し、本発明の第1の実施の形態に係る熱交換器及び伝熱管と管板との接合構造、接合方法は、製作性、信頼性、及び補修性を向上或いは可能とすることができるものである。
(本発明の第2の実施の形態)
次に、図5、図6に基づき、本発明の第2の実施の形態に係る熱交換器及び伝熱管と管板との接合構造、接合方法につき説明する。
本発明の第2の実施の形態に係る熱交換器及び伝熱管と管板との接合構造、接合方法は、本質的には本発明の第1の実施の形態に係るものと同じであり、異なる点は、伝熱管7を2重の伝熱管7a、7bとしたことにある。
即ち、熱交換器1の信頼性を高めるために、伝熱管7を2重化することがあるが、溶接部の信頼性を更に高める構造、製造方法がこれまでになかった。
しかしながら、本実施の形態に係る構造、製造方法を採用することによって、信頼性を更に高めた伝熱管の2重化が可能となった。
なお、伝熱管7を2重化する目的は、熱応力等により伝熱管7がひび割れ等を起こす可能性があるが、伝熱管7を2重化することにより、一方(内側或いは外側)の伝熱管に万が一ひび割れが生じても、他方の伝熱管(外側或いは内側)により加熱流体8と被加熱流体9との接触を更に確実に防止することにある。
本発明の第2の実施の形態においては、図5に図示のように、出口側の管板5、入口側の管板6に穿設された孔及び各スタブ20には、外側の伝熱管7a及び内側の伝熱管7bが挿入され、各伝熱管7a、7bは周知の拡管装置により拡管部24が拡張されて出口側の管板5、入口側の管板6に穿設された各孔の内面に液密に密着固定されている。
これにより、胴部2内の加熱流体8が、例え外側の伝熱管7aにひび割れが生じても、出口側の仕切り室3、4内に混入しないように、或いは出口側の仕切り室3、入口側の仕切り室4内の被加熱流体9が胴部2内に混入しないようになっている。
更に、本実施の形態においても、出口側の管板5、入口側の管板6或いはスタブ20と伝熱管7a、7bとの液密性を高めるために、各スタブ20及び各伝熱管7a、7bの端面には板厚の厚いリング状の端管21が突き合わされ、スタブ20、伝熱管7及び端管21は、溶接により接合22されている。
この端管21は、その外径がスタブ20の外径とほぼ一致し、内径が内側の伝熱管7bの内径とほぼ一致するものとなっている。
また、接合部22は、スタブ20の外面から内側の伝熱管7bの内面に達するように(或いは、端管21の半径方向板厚幅に亘って)形成されている。
この端管21の板厚は、本発明の第1の実施の形態に係るものと同様に、スタブ20の板厚+外側の伝熱管7aの板厚+内側の伝熱管7bの板厚となるような形状とすることが最も好ましい。
なお、端管21の板厚と、スタブ20の板厚+外側の伝熱管7aの板厚+内側の伝熱管7bの板厚との外径差、内径差も、第1の実施の形態に係るものと同様に許容の範囲内であれば必ずしも各寸法を完全に一致させる必要はない。
次に、図6に基づき、端管21と、スタブ20、伝熱管7a、7bとの溶接、溶金等による接合前の突合せ時の形状に付き説明する。
図6(a)は、端管21、スタブ20及び伝熱管7a、7bの双方の突合せ側端面を、斜めに研削、切断し、貫通した溶接による接合22を行うために外側に向く開先を形成した例である。
図6(b)は、端管21の突合せ側端面は、水平(管の半径方向)に研削、切断し、スタブ20及び伝熱管7a、7bの突合せ側端面のみを、斜めに或いは段状に研削、切断し、貫通した溶接による接合22を行うために外側に向く開先を形成した例である。
図6(c)は、スタブ20及び伝熱管7a、7bの突合せ側端面を水平(管の半径方向)に研削、切断すると共に、スタブ20、伝熱管7a、7bと同じ材料を用いそれらを短く切断してスタブ20、伝熱管7a、7bの突合せ側端面を斜めに研削、或いは段状に重ね合わせて端管21を形成して、貫通した溶接による接合22を行うために外側に向く開先を形成した例である。
図6(d)は、端管21の突合せ側端面及びスタブ20及び伝熱管7a、7bの突合せ側端面の両方ともに水平に研削、切断し、入熱により突き合わせ面を接合する例である。
なお、図6(a)、図6(b)、図6(c)において括弧内の符号のように、端管21、伝熱管7b、7a及びスタブ20の突合せ側端面の少なくともどちらか一方を、斜めに或いは段状に研削、切断し、貫通した溶接による接合22を行うために、内側に向く開先を形成しても良い。
本発明の第2の実施の形態に係る熱交換器及び伝熱管と管板との接合構造、接合方法によれば、第1の実施の形態に係るものと同様の作用効果を奏すると共に、熱交換器1として更に信頼性を高めた伝熱管の2重化が可能となる。
また、2重管の場合、従来のものでは、スタブ20、外側の伝熱管7a及び内側の伝熱管7bの端部を、順序よく段違いに揃える必要があり、スタブ20の端部を外側の伝熱管7aの外周面に隅肉溶接し、外側の伝熱管7aの端部を内側の伝熱管7bの外周面に隅肉溶接する必要があった。
しかしながら、本発明の第2の実施の形態によれば、スタブ20、外側の伝熱管7a及び内側の伝熱管7bの端部を合わせて一緒に研削、切断し、端管7を付き合わせて溶接接合することができるため、溶接作業も1箇所でよく、作業性が向上する。
(本発明の第3の実施の形態)
次に、図7に基づき、本発明の第3の実施の形態に係る熱交換器につき説明する。
本発明の第3の実施の形態に係る熱交換器及び伝熱管と管板との接合構造、接合方法は、本質的には本発明の第1の実施の形態に係るものと同じであり、異なる点は、本発明の第1の実施の形態における端管21をオリフィス付の端管21aとし、オリフィス機能を付加させたものである。
即ち、蒸気発生器及びボイラなどの熱交換器1の伝熱管7の入口には、伝熱管7内の流動を安定させるためオリフィスを設置することがあるが、本発明の第3の実施の形態においては、図7に図示のように、オリフィス付の端管21aを採用してオリフィス機能を付加している。
伝熱管7の入口にオリフィスが必要な熱交換器の場合、オリフィス機能が付加された端管21aを採用することにより部品点数及び加工工数を低減することが可能となる。
本発明の第3の実施の形態においては、図7に図示のように、下部の入口側の管板6に穿設された孔及び各スタブ20には、伝熱管7が挿入され、各伝熱管7は周知の拡管装置により拡管部24が拡張されて入口側の管板6に穿設された各孔の内面に液密に密着固定されている。
更に、本発明の第3の実施の形態においては、伝熱管7内の流動を安定させるために、オリフィス23を有するオリフィス付の端管21aが、スタブ20及び伝熱管7に突き合わされ、溶接等により接合22されている。
この端管21aは、上述の本発明の第1の実施の形態と同様に、その外径がスタブ20の外径とほぼ一致し、内径が内側の伝熱管7の内径とほぼ一致するものとなっている。
また、接合部22は、スタブ20の外面から伝熱管7の内面に達するように(或いは、端管21aの半径方向板厚幅に亘って)形成されている。
なお、上部の出口側の管板5側は、オリフィス機能は必要無いため、上述の本発明の第1の実施の形態と同様の構造となっている。
なお、図7に図示のものは、オリフィス23は端管21aの開放端に取り付けられているが、これに限定されるものではなく、端管21aの内部の中央付近に設けるようにしても良い。
また、伝熱管7も、本発明の第2の実施の形態のものと同様に、図5に図示の2重管7a、7bを採用しても良い。
本発明の第3の実施の形態に係る熱交換器及び伝熱管と管板との接合構造、接合方法によれば、第1或いは第2の実施の形態に係るものと同様の作用効果を奏すると共に、伝熱管7内の流動を安定させるためのオリフィス付の端管21aを予め準備しておくことにより、部品点数及び加工工数を低減することが可能となる。
(適用例)
次に、図8に基づき、上述の本発明の各実施の形態をFBR(高速増殖炉)の2次冷却系統に適用した蒸気発生装置につき説明する。
この場合、加熱流体としては、高温の液体ナトリウムが使用され、被加熱流体としては水が使用される。
図8に図示のように、熱交換器1としての蒸気発生器の上部には、断面楕円状の上部の出口側の仕切り室3が配設されており、出口側の仕切り室3の下半分は出口側の管板5を形成している。
この出口側の仕切り室3の頂部には、蒸気である被加熱流体排出管13が取り付けられている。
一方、蒸気発生器の下部には、断面楕円状の下部の入口側の仕切り室4が配設されており、入口側の仕切り室4の上半分は入口側の管板6を形成している。
この入口側の仕切り室4の下部には、水である被加熱流体導入管12が取り付けられている。
出口側の仕切り室3と入口側の仕切り室4との間の外側には、胴部2が取り付けられており、胴部2の下方には加熱流体排出管11が取り付けられ、胴部2の上方には高温の液体ナトリウムが流入する加熱流体導入管10が取り付けられている。
そして、胴部2内部の出口側の仕切り室3と入口側の仕切り室4との間には、数百〜数千本の伝熱管7(或いは、外側の伝熱管7a及び内側の伝熱管7bよりなる2重管)が配設される。
そして、伝熱管7(或いは、伝熱管7a、7b)の上端部は、図2〜図6に図示の上述の本発明の第1(或いは第2)の実施の形態のごとく、出口側の仕切り室3に穿設された孔を貫通すると共に拡管装置により拡張されて出口側の管板5に液密に密着固定される。
この伝熱管7(或いは、伝熱管7a、7b)及びスタブ20の先端には、端管21が突き合わされ、スタブ20の外面から伝熱管7の内面に達するように肉盛り溶接等により接合される。
一方、伝熱管7(或いは、伝熱管7a、7b)の下端部は、図2〜図7に図示の上述の本発明の第1(或いは第2、3)の実施の形態のごとく、入口側の仕切り室4に穿設された孔を貫通すると共に拡管装置により拡張されて入口側の管板6に液密に密着固定される。
この伝熱管7(或いは、伝熱管7a、7b)及びスタブ20の先端には、端管21(或いはオリフィス付の端管21a)が突き合わされ、スタブ20の外面から伝熱管7(或いは、内側の伝熱管7b)の内面に達するように肉盛り溶接により接合される。
以上、FBR(高速増殖炉)の2次冷却系統に適用した例につき説明したが、この構造は、FBR(高速増殖炉)の1次冷却系統にも適用可能であり、また、加熱流体としては、熱水、蒸気とする場合もある。
上述のFBR用の蒸気発生装置によれば、第1、2、3の実施の形態に係るものと同様の作用効果を奏することができ、原子力発電設備において、更に、安全性を確保し、製作性、信頼性、補修性を向上できる、熱交換器を得ることができるものである。
特に、高温の液体ナトリウムと水との間で熱交換を行う伝熱管において、伝熱管と管板との間の溶接等による接合を施行することが可能となり、原子力発電設備における熱交換器の安全性、信頼性が格段に高くなる。
特に、触れ合うと激しく反応する液体金属ナトリウムと水もしくは蒸気との間で熱交換を行う高速増殖炉の熱交換器では、伝熱管に施行される溶接等の接合部の検査には極めて高い信頼性が要求されるが、本発明の溶接、接合構造を採用することにより、放射線等による検査が可能となり、信頼性を格段に向上することができる。
以上、本発明の第1〜3の実施の形態につき説明したが、本発明は上記の実施の形態に限定されず、本発明の範囲内でその具体的構造に種々の変更を加えてよいことはいうまでもない。
例えば、熱交換器1の形状としては、縦型のみならず、横置型等も採用可能である。
また、加熱流体8を冷熱流体、被加熱流体9を被冷熱流体とした空調機等の熱交換器1としての冷却器にも採用可能である。
本発明の各実施の形態を一部断面で示す熱交換器の全体図である。 本発明の第1の実施の形態を示す接合部断面図である。 図2の接合部拡大図である。 図2の接合部における放射線による検査方法を示す図である。 本発明の第2の実施の形態を示す要部拡大断面図である。 図5における溶接前の突合せ部の形状を示す図である。 本発明の第3の実施の形態を示す要部拡大断面図である。 本発明をFRB用に適用した蒸気発生装置の部分拡大断面図である。 従来の多管式熱交換器における管板の管台と伝熱管との接合を示す図である。 図9の接合部拡大図である。 従来の管板のスタブ部と伝熱管との接合を示す図である。
符号の説明
1 熱交換器
2 胴部
3 出口側の仕切り室
4 入口側の仕切り室
5 出口側の管板
6 入口側の管板
7 伝熱管
7a 外側の伝熱管
7b 内側の伝熱管
8 加熱流体
9 被加熱流体
10 加熱流体導入管
11 加熱流体排出管
12 被加熱流体導入管
13 被加熱流体排出管
15 X線
16 X線フィルム
20 スタブ
21 端管
21a オリフィス付の端管
22 接合(部)
23 オリフィス
24 拡管部
t1 スタブの板厚
t2 伝熱管の板厚
t3 端管の板厚
Ds スタブの外径
Dp 伝熱管の内径
Do 端管の外径
Di 端管の内径
L 端管の長さ
δo 外径差
δi 内径差

Claims (10)

  1. 管板間に伝熱管が設けられた熱交換器において、
    前記管板の仕切り室側に突出した円筒状のスタブと、
    前記管板及び前記スタブを貫通して配設された前記伝熱管と、
    管状の部材であって、その内壁面及び外壁面と隣接する端面が前記スタブ及び前記伝熱管の端面に突き合わせて連接された端管と、
    前記スタブ及び前記伝熱管の端面と前記端管の端面との突合わせ面に形成された接合部と
    を備えたことを特徴とする熱交換器。
  2. 前記接合部近傍の端管の内径及び外径と前記伝熱管の内径及び前記スタブの外径が同じになるように連接されていることを特徴とする請求項1に記載の熱交換器。
  3. 前記接合部は、前記端管の前記突合わせ面の半径方向板厚幅に亘って形成されていることを特徴とする請求項1又は2に記載の熱交換器。
  4. 前記伝熱管は、多重管であることを特徴とする請求項1乃至3に記載の熱交換器。
  5. 前記端管にオリフィスが形成されていることを特徴とする請求項1乃至4に記載の熱交換器。
  6. 前記管板は、加熱流体として高温の液体ナトリウムが用いられる高速増殖炉に使用されるものであることを特徴とする請求項1乃至5に記載の熱交換器。
  7. 管板間に多数の伝熱管が設けられた熱交換器の製造方法において、
    前記各伝熱管を前記管板及び前記管板の仕切り室側に突出した円筒状のスタブに挿入し、
    前記スタブ及び前記伝熱管の端面に、管状の端管の内壁面及び外壁面と隣接する端面を突き合わせて連接し、
    前記スタブ及び前記伝熱管の端面と前記端管の端面との突合わせ面を接合することを特徴とする熱交換器の製造方法。
  8. 前記接合部近傍の端管の内径及び外径と前記伝熱管の内径及び前記スタブの外径が同じになるようにすることを特徴とする請求項7に記載の熱交換器の製造方法。
  9. 前記接合は、前記端管の前記突合わせ面の半径方向板厚幅に亘って行うことを特徴とする請求項7又は8に記載の熱交換器の製造方法。
  10. 前記伝熱管は、多重管であることを特徴とする請求項7乃至9に記載の熱交換器の製造方法。
JP2005165399A 2005-06-06 2005-06-06 熱交換器及び熱交換器の製造方法 Expired - Lifetime JP4865256B2 (ja)

Priority Applications (1)

Application Number Priority Date Filing Date Title
JP2005165399A JP4865256B2 (ja) 2005-06-06 2005-06-06 熱交換器及び熱交換器の製造方法

Applications Claiming Priority (1)

Application Number Priority Date Filing Date Title
JP2005165399A JP4865256B2 (ja) 2005-06-06 2005-06-06 熱交換器及び熱交換器の製造方法

Publications (2)

Publication Number Publication Date
JP2006337000A JP2006337000A (ja) 2006-12-14
JP4865256B2 true JP4865256B2 (ja) 2012-02-01

Family

ID=37557699

Family Applications (1)

Application Number Title Priority Date Filing Date
JP2005165399A Expired - Lifetime JP4865256B2 (ja) 2005-06-06 2005-06-06 熱交換器及び熱交換器の製造方法

Country Status (1)

Country Link
JP (1) JP4865256B2 (ja)

Cited By (1)

* Cited by examiner, † Cited by third party
Publication number Priority date Publication date Assignee Title
WO2014132772A1 (ja) 2013-02-28 2014-09-04 三菱重工業株式会社 熱交換器及び熱交換器の製造方法

Families Citing this family (11)

* Cited by examiner, † Cited by third party
Publication number Priority date Publication date Assignee Title
SE532900C2 (sv) * 2008-03-31 2010-05-04 Titanx Engine Cooling Holding Värmeväxlare innefattande ändplåt.
CA2767174C (en) * 2009-07-16 2015-02-17 Lockheed Martin Corporation Helical tube bundle arrangements for heat exchangers
KR20150040376A (ko) 2009-07-17 2015-04-14 록히드 마틴 코포레이션 열 교환기 및 제작 방법
US9777971B2 (en) 2009-10-06 2017-10-03 Lockheed Martin Corporation Modular heat exchanger
US9388798B2 (en) 2010-10-01 2016-07-12 Lockheed Martin Corporation Modular heat-exchange apparatus
US9670911B2 (en) 2010-10-01 2017-06-06 Lockheed Martin Corporation Manifolding arrangement for a modular heat-exchange apparatus
JP2014081102A (ja) * 2012-10-15 2014-05-08 Mitsubishi Electric Building Techno Service Co Ltd 熱交換器の修理方法及び修理治具
WO2014136527A1 (ja) * 2013-03-08 2014-09-12 住友重機械工業株式会社 熱交換器の腐食対策方法、及び熱交換器の腐食対策構造
JP2014214924A (ja) * 2013-04-24 2014-11-17 株式会社コロナ 潜熱熱交換器
WO2017025184A1 (de) * 2015-08-11 2017-02-16 Linde Aktiengesellschaft Verfahren zum verbinden von rohren eines rohrbündelwärmetauschers mit einem rohrboden des rohrbündelwärmetauschers
CN115574649B (zh) * 2022-11-24 2023-03-14 四川科新机电股份有限公司 一种双管板换热器及其加工成型方法

Family Cites Families (3)

* Cited by examiner, † Cited by third party
Publication number Priority date Publication date Assignee Title
JPS53139401A (en) * 1977-05-11 1978-12-05 Pioneer Electronic Corp Tuning amplifying circuit
JPH07103401A (ja) * 1993-10-07 1995-04-18 Ishikawajima Harima Heavy Ind Co Ltd 二重管式蒸気発生器における二重管板部閉塞方法
JPH09222292A (ja) * 1996-02-15 1997-08-26 Mitsubishi Heavy Ind Ltd 管寄せ装置

Cited By (2)

* Cited by examiner, † Cited by third party
Publication number Priority date Publication date Assignee Title
WO2014132772A1 (ja) 2013-02-28 2014-09-04 三菱重工業株式会社 熱交換器及び熱交換器の製造方法
JP2014163655A (ja) * 2013-02-28 2014-09-08 Mitsubishi Heavy Ind Ltd 熱交換器及び熱交換器の製造方法

Also Published As

Publication number Publication date
JP2006337000A (ja) 2006-12-14

Similar Documents

Publication Publication Date Title
CN101371097B (zh) 管束式换热器
CN100535500C (zh) 具有管状部件的设备,其修复方法和形成层压管板的方法
JP4865256B2 (ja) 熱交換器及び熱交換器の製造方法
JP6086197B2 (ja) 熱交換器およびその製造方法
JP5741931B2 (ja) 熱交換器
US4579087A (en) Corrosion resistant steam generator and method of making same
KR101727276B1 (ko) 열교환기용 튜브시트 제조방법
JP6150380B2 (ja) 熱交換器及び熱交換器の製造方法
US4639992A (en) Corrosion resistant steam generator and method of making same
RU2675952C2 (ru) Трубчатый теплообменник и установка, в частности реактор для производства меламина, содержащая такой теплообменник
US4538674A (en) Heat exchanger having tubular members concentric with fluid carrying tubes to prevent mixing of the heat exchange fluids and method of construction thereof
JP2005061825A (ja) 熱交換器及びその製造方法
JPH0353794Y2 (ja)
JP2746970B2 (ja) 二重壁伝熱管の溶接方法及び熱交換器
JPH09133491A (ja) 熱交換器の製造方法
KR20090047050A (ko) 열교환기 및 이를 구성하는 열교환배관
JP3477665B2 (ja) フェライト鋼管板とオーステナイト鋼管との溶接構造
JP7759240B2 (ja) 熱交換器
JP7319139B2 (ja) 配管構造体及び熱交換器
JPH0711281Y2 (ja) 二重管型伝熱管を有する熱交換器
JPH06300480A (ja) 熱交換器補修方法
WO2019031090A1 (ja) 熱交換器
JPS5844199B2 (ja) 溶接による盲栓が可能な多管式熱交換器
JPH0285696A (ja) 二重伝熱管と管板の接続構造
JPS5944951B2 (ja) 管と管板の溶接方法

Legal Events

Date Code Title Description
A621 Written request for application examination

Free format text: JAPANESE INTERMEDIATE CODE: A621

Effective date: 20080605

RD02 Notification of acceptance of power of attorney

Free format text: JAPANESE INTERMEDIATE CODE: A7422

Effective date: 20090330

RD02 Notification of acceptance of power of attorney

Free format text: JAPANESE INTERMEDIATE CODE: A7422

Effective date: 20090428

A521 Request for written amendment filed

Free format text: JAPANESE INTERMEDIATE CODE: A821

Effective date: 20090428

RD02 Notification of acceptance of power of attorney

Free format text: JAPANESE INTERMEDIATE CODE: A7422

Effective date: 20090527

A521 Request for written amendment filed

Free format text: JAPANESE INTERMEDIATE CODE: A821

Effective date: 20090527

RD02 Notification of acceptance of power of attorney

Free format text: JAPANESE INTERMEDIATE CODE: A7422

Effective date: 20090825

A521 Request for written amendment filed

Free format text: JAPANESE INTERMEDIATE CODE: A821

Effective date: 20090825

A977 Report on retrieval

Free format text: JAPANESE INTERMEDIATE CODE: A971007

Effective date: 20101209

A131 Notification of reasons for refusal

Free format text: JAPANESE INTERMEDIATE CODE: A131

Effective date: 20110111

A521 Request for written amendment filed

Free format text: JAPANESE INTERMEDIATE CODE: A523

Effective date: 20110314

A131 Notification of reasons for refusal

Free format text: JAPANESE INTERMEDIATE CODE: A131

Effective date: 20110614

A521 Request for written amendment filed

Free format text: JAPANESE INTERMEDIATE CODE: A523

Effective date: 20110809

TRDD Decision of grant or rejection written
A01 Written decision to grant a patent or to grant a registration (utility model)

Free format text: JAPANESE INTERMEDIATE CODE: A01

Effective date: 20111018

A01 Written decision to grant a patent or to grant a registration (utility model)

Free format text: JAPANESE INTERMEDIATE CODE: A01

A61 First payment of annual fees (during grant procedure)

Free format text: JAPANESE INTERMEDIATE CODE: A61

Effective date: 20111110

FPAY Renewal fee payment (event date is renewal date of database)

Free format text: PAYMENT UNTIL: 20141118

Year of fee payment: 3

R150 Certificate of patent or registration of utility model

Free format text: JAPANESE INTERMEDIATE CODE: R150

Ref document number: 4865256

Country of ref document: JP

Free format text: JAPANESE INTERMEDIATE CODE: R150

R250 Receipt of annual fees

Free format text: JAPANESE INTERMEDIATE CODE: R250

R250 Receipt of annual fees

Free format text: JAPANESE INTERMEDIATE CODE: R250

S533 Written request for registration of change of name

Free format text: JAPANESE INTERMEDIATE CODE: R313533

R350 Written notification of registration of transfer

Free format text: JAPANESE INTERMEDIATE CODE: R350

R250 Receipt of annual fees

Free format text: JAPANESE INTERMEDIATE CODE: R250

R250 Receipt of annual fees

Free format text: JAPANESE INTERMEDIATE CODE: R250

R250 Receipt of annual fees

Free format text: JAPANESE INTERMEDIATE CODE: R250

R250 Receipt of annual fees

Free format text: JAPANESE INTERMEDIATE CODE: R250

S531 Written request for registration of change of domicile

Free format text: JAPANESE INTERMEDIATE CODE: R313531

R350 Written notification of registration of transfer

Free format text: JAPANESE INTERMEDIATE CODE: R350

R250 Receipt of annual fees

Free format text: JAPANESE INTERMEDIATE CODE: R250

R250 Receipt of annual fees

Free format text: JAPANESE INTERMEDIATE CODE: R250

R250 Receipt of annual fees

Free format text: JAPANESE INTERMEDIATE CODE: R250

R250 Receipt of annual fees

Free format text: JAPANESE INTERMEDIATE CODE: R250

R250 Receipt of annual fees

Free format text: JAPANESE INTERMEDIATE CODE: R250

EXPY Cancellation because of completion of term