JP4864483B2 - 車両のドア部構造 - Google Patents

車両のドア部構造 Download PDF

Info

Publication number
JP4864483B2
JP4864483B2 JP2006043631A JP2006043631A JP4864483B2 JP 4864483 B2 JP4864483 B2 JP 4864483B2 JP 2006043631 A JP2006043631 A JP 2006043631A JP 2006043631 A JP2006043631 A JP 2006043631A JP 4864483 B2 JP4864483 B2 JP 4864483B2
Authority
JP
Japan
Prior art keywords
door
vehicle
exterior
cover
terminal portion
Prior art date
Legal status (The legal status is an assumption and is not a legal conclusion. Google has not performed a legal analysis and makes no representation as to the accuracy of the status listed.)
Expired - Fee Related
Application number
JP2006043631A
Other languages
English (en)
Other versions
JP2007223353A (ja
Inventor
浩宣 佐藤
Current Assignee (The listed assignees may be inaccurate. Google has not performed a legal analysis and makes no representation or warranty as to the accuracy of the list.)
Honda Motor Co Ltd
Original Assignee
Honda Motor Co Ltd
Priority date (The priority date is an assumption and is not a legal conclusion. Google has not performed a legal analysis and makes no representation as to the accuracy of the date listed.)
Filing date
Publication date
Application filed by Honda Motor Co Ltd filed Critical Honda Motor Co Ltd
Priority to JP2006043631A priority Critical patent/JP4864483B2/ja
Publication of JP2007223353A publication Critical patent/JP2007223353A/ja
Application granted granted Critical
Publication of JP4864483B2 publication Critical patent/JP4864483B2/ja
Anticipated expiration legal-status Critical
Expired - Fee Related legal-status Critical Current

Links

Images

Landscapes

  • Vehicle Interior And Exterior Ornaments, Soundproofing, And Insulation (AREA)

Description

この発明は、ドアの端末部に樹脂製の外装部材が設けられている車両のドア部構造に関するものである。
ミニバン等の車両後部にテールゲート(バックドア)を備えた車両として、テールゲートの下方の端末部に、その端末部に沿った長尺状の外装部材が取り付けられたものが知られている。この種の車両においては、多くの場合、外装部材が樹脂材料によって一体に形成され、外装部材の外表面を車体のドア開口縁の外表面と同一高さまで滑らかに膨出させることにより、ドア部の端末形状が外観上、車体外表面と自然に連続するようになっている(例えば、特許文献1参照。)。
特開2005−59781号公報
しかし、この従来のドア部構造においては、外装部材が一体の樹脂部品として形成されているため、樹脂部品の熱変形やその他の加工誤差等によって外装部材の長手方向に寸法誤差が生じ易く、この寸法誤差が大きくなると車体側のドア開口部との隙間寸法がばらつき、外観品質の低下を来たすことが懸念される。
また、前記のドア部構造の場合、外装部材を専用の成形型によって造形しなければならず、他部品からの外装部材の流用が難しい。このため、製造コストの高騰を招くことが懸念され、この点の改善が望まれている。
そこでこの発明は、樹脂製の外装部材の熱変形や加工誤差等に起因したドア側の部材と車体側ドア開口部との隙間寸法のばらつきを無くし、かつ、他の樹脂部材からの外装部品への流用を容易化して、車両の外観品質の向上と製造コストの低減を図ることのできる車両のドア部構造を提供しようとするものである。
上記目的を達成するために、請求項1に記載の発明は、ドア部材(例えば、後述の実施形態におけるテールゲート)の端末部(例えば、後述の実施形態におけるドア延長部材10)の車外側面に樹脂製の外装部材(例えば、後述の実施形態におけるロアガーニッシュ11)が設けられ、この外装部材が前記ドア部材に沿って長尺状に形成されるとともに、その外表面が、ドア閉時に車体のドア開口縁の外面に連続するように形成されている車両のドア部構造において、前記外装部材が前記ドア部材の幅とほぼ同長さの板状に形成され、前記端末部の側端(例えば、後述の実施形態における側端部17)と前記外装部材の長手方向の端部(例えば、後述の実施形態における端部18)の間の空間を塞ぎ、かつ、前記端末部の側端と前記外装部材の長手方向の端部の外側を覆うカバー部材(例えば、後述の実施形態におけるカバー部材19)が設けられ、前記車体のドア開口縁を構成するバンパー部材の長手方向の略中間位置には凹部(例えば、後述の実施形態における凹部12)が形成され、前記ドア部材は、ドア本体(例えば、後述の実施形態におけるゲート本体7)と、ドア本体に取り付けられて前記端末部を成す別体のドア延長部材(例えば、後述の実施形態におけるドア延長部材10)と、を備え、このドア延長部材は、ドア閉時に前記バンパー部材の凹部に介入される位置に配置され、前記外装部材は、前記ドア延長部材に設けられて、ドア閉時に前記凹部を覆い前記バンパー部材の外表面とほぼ連続した面を形成するようにした。
この発明の場合、カバー部材がドア部材の端末部の側端と外装部材の長手方向の端部の間の空間を塞ぐことによって、外装部材の長手方向の端部がドア部材に対して連続した造形となり、さらに、カバー部材がドア部材の端末部の側端と外装部材の長手方向の端部の外側を覆うことにより、外装部材の長手方向の寸法誤差や組付け誤差によるばらつき代が外部から隠されるようになる。
また、この構造を採用する車両においては、バンパー部材に凹部が形成されておらず、凹部に対応するドア本体の下端が延長されていない基準車両から容易に改造することができる。即ち、改造にあたっては、バンパー部材の長手方向の略中間位置を切除して凹部を形成し、ドア本体の下端にドア延長部材を取り付ける一方で、バンパー部材の切除片を外装部材としてドア延長部材に取り付ける。このとき、切除片の長手方向の端部とドア延長部材の側端にはカバー部材を装着する。
請求項2に記載の発明は、請求項1に記載の車両のドア部構造において、前記カバー部材は、前記ドア部材に固定される取付ベース部(例えば、後述の実施形態における取付ベース部21)と、前記外装部材の長手方向の端部を車外側から包み込んで係止する外装側係止部(例えば、後述の実施形態における外側係止フランジ22)と、前記ドア部材の端末部の側端を車内側から包み込んで係止するドア側係止部(例えば、後述の実施形態における内側係止フランジ23)と、を備えた構成とした。
この場合、カバー部材は取付ベース部でドア部材に強固に固定され、外装側係止部とドア側係止部で外装部材の端部とドア部材側の側端に係止される。このとき、外装部材とドア部材の長手方向の寸法誤差や組付け誤差によるばらつき代が外装側係止部とドア側係止部によって覆い隠されるようになる。
請求項3に記載の発明は、請求項1または2に記載の車両のドア部構造において、前記カバー部材と前記外装部材の間に弾性部材(例えば、後述の実施形態における弾性部材27)が介装されるようにした。
この場合、外装部材やカバー部材に加わる衝撃や振動が弾性部材によって吸収されるようになる。
請求項4に記載の発明は、請求項1〜3のいずれか1項に記載の車両のドア部構造において、前記ドア部材の端末部の側端にはヘミング加工が施され、このヘミング加工部(例えば、後述の実施形態におけるヘミング加工部13)に前記カバー部材が係合されるようにした。
この場合、カバー部材が剛性及び強度の高いヘミング加工部によって確実に支持されるようになる。
請求項1に記載の発明によれば、ドア部材の端末部の側端と外装部材の長手方向の端部の外側を別体のカバー部材によって覆うことで、外装部材の長手方向の寸法誤差や組付け誤差によるばらつき代を外部から覆い隠すことができるため、ドア側の部材と車体側ドア開口部との隙間寸法のばらつきを無くし、車両の外観品質を向上させることが可能になる。また、この発明においては、外装部材として板状の部品を用いるため、他の樹脂部材からの外装部品への流用が容易になり、製造コストの低減を図ることが可能になる。
また、請求項1に記載の発明によれば、ドア本体にドア延長部材を取りつけ、そのドア延長部材にバンパー部材の切除片とカバー部材を装着することによって基準車両から容易に改造することができるため、少量生産等の場合に車両の製造コストの低減を図ることが可能になる。また、ドア延長部材に対するカバー部材の取り位置を調整すれば、バンパー部材の切除時の誤差等も吸収することが可能とになる。
請求項2に記載の発明によれば、外装側係止部とドア側係止部によって外装部材やドア部材の各種の誤差によるばらつき代を覆い隠すことができるうえ、取付ベース部をドア部材に固定することでドア開閉に伴う衝撃に充分に耐えうるカバー部材の取付強度を確保することができ、しかも、カバー部材がドア部材を基準にして取り付けられることから、カバー部材と車体の見切り幅の寸法精度を高めることができる。
請求項3に記載の発明によれば、外装部材やカバー部材に加わる衝撃や振動を弾性部材で吸収することによってガタつきを防止することができるうえ、カバー部材の変形や移動を弾性部材によって抑えることで外観品質の低下を防止することができる。
請求項4に記載の発明によれば、カバー部材をヘミング加工部に支持させることにより、カバー部材の取付強度を高めることができるうえ、カバー部材の位置ずれや変形等による外観品質の低下を防止することができる。
以下、この発明の一実施形態を図面に基づいて説明する。
図1は、この発明に係るドア部構造を採用した車両を後部上方から見た図であり、同図において、1は、車体後部面のゲート開口部(ドア開口部)であり、2は、このゲート開口部1に開閉可能に取り付けられた跳上げ式のテールゲート(バックドア)である。ゲート開口部1の周縁は、車両のアウトサイドパネル3と、同パネル3に装着されたリヤクウォータガラス4やリヤコンビネーションランプ5、リヤバンパー6(バンパー部材)等によって囲まれている。この実施形態の場合、テールゲート2がこの発明におけるドア部材を構成している。
テールゲート2は、ゲート本体7(ドア本体)にリヤウィンドガラス8とリヤガーニッシュ9が取り付けられるとともに、ゲート本体7の下端中央部に後述するドア延長部材10(図2参照。)を介して樹脂製のロアガーニッシュ11(外装部材)が取り付けられている。
リヤバンパー6の上面のうちの長手方向略中央位置には、設定幅に亙って凹部12が形成され、前記ドア延長部材10の下端とロアガーニッシュ11がテールゲート2の閉時に凹部12内に進入するようになっている。ロアガーニッシュ11は、テールゲート2の閉時に凹部12の車外側面をほぼ閉塞し、その状態において同ガーニッシュ11の車外側面がリヤバンパー6の車外側面に連続する形状となっている。
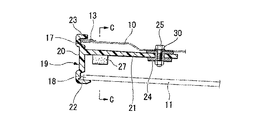
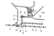
図2,図3に示すように、ドア延長部材10は金属製の2枚のパネル材10a,10b(図3参照。)が閉断面を成すように接合されて成り、その上部がゲート本体7の下端側の裏面にボルト結合されるとともに、ゲート本体7から下方に突出した下縁部が車外側から見て横長の長方形状に形成されている。このドア延長部材10の下縁部は、車外側のパネル10aの周域がヘミング加工によって車内側に折り折り返され、車内側のパネル10bに接合されている。なお、図3中、13は、ドア延長部材10のヘミング加工部を示し、14は、ドア閉時にドア延長部材10の裏面に密接する車体側のウエザーストリップを示す。また、この実施形態の場合、ドア延長部材10がドア部材の端末部を構成している。
ロアガーニッシュ11は、ドア延長部材10の車幅方向の延出長さと同長さの長尺な板状に形成され、ドア延長部材10の下縁部の上下端に設けられたブラケット15,16を介してドア延長部の表面側(車体後方側)にビス止めされるようになっている。ロアガーニッシュ11は、こうしてドア延長部材10に取り付けられると、ドア延長部材10との間に空間部を形成することとなるが、ドア延長部材10の車幅方向両側の側端部17とロアガーニッシュ11の長手方向の端部18の間には、樹脂製のカバー部材19が設けられ、そのカバー部材19によって空間部が外部から隠されている。
カバー部材19は、空間部の側方を覆う平板状のカバー本体20と、このカバー本体20の裏面からドア延長部材10の前面(車体後方側面)に沿うように延出する取付ベース部21と、カバー本体20の車外側と上下の領域からロアガーニッシュ11の車外面を覆うように屈曲した外側係止フランジ22と、カバー本体20の車内側の領域からドア延長部材10の車内側面を覆うように屈曲した内側係止フランジ23と、を備えている。
取付ベース部21の上下の端縁(以下、「上端縁21a」と「下端縁21b」と呼ぶ。)は車内側に段差状に屈曲しており、この上端縁21aと下端縁21bには夫々固定用ナット24が固着され、ドア延長部材10の裏面側からねじ込まれたボルト25がこの各固定用ナット24に螺合されるようになっている。取付ベース部21の上端縁21aと下端縁21bの屈曲部分は取付ベース部21の曲げ剛性を高めるのに寄与している。また、固定用ナット24はこのボルト締結時にドア延長部材10の前面の偏平部分に当接し、それによってカバー部材19をドア延長部材10に対して安定的に固定する。
外側係止フランジ22と内側係止フランジ23は、ロアガーニッシュ11とドア延長部材10の端部に対して嵌合され、それによって両部材11,10の端部を係止するようになっている。この実施形態の場合、外側係止フランジ22が外装側係止部を構成し、内側係止フランジ23がドア側係止部を構成している。
また、図5に示すように、取付ベース部21の上端縁21aと下端縁21bには夫々車幅方向に沿ったリブ26が突設されており、取付ベース部21の車外側面のカバー本体20に近接した位置にはスポンジゴム等から成る紐状の弾性部材27が取り付けられている。この弾性部材27は、ドア延長部材10とカバー部材19に対してロアガーニッシュ11が取り付けられたときに、ロアガーニッシュ11に当接して同ガーニッシュ11を裏面側から支持するように機能する。なお、同様の弾性部材28はドア延長部材10の上下端の左右にも取り付けられ、同様にロアガーニッシュ11を裏面側から支持するようになっている。
ところで、この実施形態の車両は量産される基準車両のテールゲート部を部分的に改造することによって製造される。以下、このテールゲート部の改造の行程を説明するが、基になる基準車両は、テールゲート2側にはドア延長部材10とロアガーニッシュ11が無く、リヤバンパー6は凹部12のない平坦な形状となっている。
まず、リヤバンパー6は、その略中央部が設定幅に亙って切除され、凹部12が形成される。
一方、テールゲート2の下端にはドア延長部材10が取り付けられ、そのドア延長部材10の表面側にロアガーニッシュ11が取り付けられる。このロアガーニッシュ11にはリヤバンパー6を切除した際の切除片が用いられる。
ロアガーニッシュ11の取り付けに際しては、ブラケット15,16や弾性部材28が予めドア延長部材10に取り付けられ、その状態でロアガーニッシュ11が各ブラケット15,16にビス止めされ、その後に両側のカバー部材19がドア延長部材10に固定される。
このとき、各カバー部材19は、内側係止フランジ23と外側係止フランジ22が夫々ドア延長部材10の側端部17とロアガーニッシュ11の端部18を覆うようにして両者17,18に嵌合され、その状態において取付ベース部21がドア延長部材10の前面にボルト25によって結合される。このボルト25のねじ込み作業はドア延長部材10の裏面側から行われるが、ドア延長部材10側のボルト挿通孔30は車幅方向に延出する長孔となっており、ボルト締結はリヤバンパー6の凹部12との幅方向の見切り幅を考慮してカバー部材19の位置を長孔(ボルト挿通孔30)の範囲内で微調整しつつ行われる。
この車両のテールゲート部においては、ドア延長部材10の側端部17とロアガーニッシュ11の端部18の各周囲がカバー部材19の内側係止フランジ23と外側係止フランジ22によって覆われるため、ロアガーニッシュ11の熱変形等による寸法誤差や組付け誤差によるばらつき代をカバー部材19によって吸収しつつ、ロアガーニッシュ11の側方とゲート開口部1との隙間精度を高めることができる。したがって、これによりテールゲート部の外観品質は確実に高まる。
また、このテールゲート部においては、カバー部材19の取付ベース部21がドア延長部材10の前面にボルト結合されるため、カバー部材19を、ドア延長部材10を基準として正確にかつ強固に取り付けることができる。特に、この実施形態においては、ドア延長部材10側のボルト挿通孔30が長孔となっており、カバー部材19のボルト結合時にカバー部材19の取付位置を幅方向で微調整することができるため、ドア延長部材10等に若干の製造誤差や組付け誤差があってもその誤差分を吸収し、テールゲート部の外観品質のさらなる向上を図ることができる。
さらに、この実施形態のテールゲート部の構造の場合、カバー部材19が内側係止フランジ23と外側係止フランジ22でドア延長部材10の側端部17とロアガーニッシュ11の端部18に嵌合状態で支持されるため、カバー部材19の位置ずれや変形を防止することができる。特に、この実施形態の場合、ドア延長部材10側にあってはカバー部材19がヘミング加工部13に支持されるため、カバー部材19の取付強度が高まり、カバー部材19の位置ずれや変形がより確実に防止される。
また、このテールゲート部においては、ロアガーニッシュ11が長尺な板状の部材によって形成されるため、リヤバンパー6の切除片をロアガーニッシュ11として流用することができ、特に少量生産の車両を製造する場合には、製造コストの大幅な低減を図ることが可能になる。
また、このテールゲート部の構造においては、カバー部材19の取付ベース部21の表面側に、ロアガーニッシュ11の裏面を支持する弾性部材27が取り付けられているため、テールゲート2の閉操作時等に加わる衝撃や振動をこの弾性部材27によって吸収することができるとともに、ロアガーニッシュ11の変形等も同時に防止することができる。したがって、ロアガーニッシュ11のガタつきと変形を防止できることから、車両の商品性をより高めることができる。
なお、この発明は上記の実施形態に限定されるものではなく、その要旨を逸脱しない範囲で種々の設計変更が可能である。例えば、上記の実施形態はこの発明に係るドア部構造をテールゲート部に採用したものであるが、この発明に係るドア部構造は他のドアにも採用することができる。
この発明の一実施形態を示すものであり、車体を後部上方から見た斜視図。 同実施形態のテールゲート下端の分解斜視図。 同実施形態を示す図1のA−A断面に相当する断面図。 同実施形態のカバー部材の図5のB−B断面に相当する横断面図。 同実施形態のカバー部材の図4のC−C断面に相当する縦断面図。
符号の説明
2…テールゲート(ドア部材)
6…リヤバンパー(バンパー部材)
7…ゲート本体(ドア本体)
10…ドア延長部材
11…ロアガーニッシュ(外装部材)
12…凹部
13…ヘミング加工部
17…側端部(端末部の側端)
18…端部(外装部材の長手方向の端部)
19…カバー部材
21…取付ベース部
22…外側係止フランジ(外装側係止部)
23…内側係止フランジ(ドア側係止部)
27…弾性部材

Claims (4)

  1. ドア部材の端末部の車外側面に樹脂製の外装部材が設けられ、この外装部材が前記ドア部材に沿って長尺状に形成されるとともに、その外表面が、ドア閉時に車体のドア開口縁の外面に連続するように形成されている車両のドア部構造において、
    前記外装部材が前記ドア部材の幅とほぼ同長さの板状に形成され、
    前記端末部の側端と前記外装部材の長手方向の端部の間の空間を塞ぎ、かつ、前記端末部の側端と前記外装部材の長手方向の端部の外側を覆うカバー部材が設けられ、
    前記車体のドア開口縁を構成するバンパー部材の長手方向の略中間位置には凹部が形成され、
    前記ドア部材は、ドア本体と、ドア本体に取り付けられて前記端末部を成す別体のドア延長部材と、を備え、
    このドア延長部材は、ドア閉時に前記バンパー部材の凹部に介入される位置に配置され、
    前記外装部材は、前記ドア延長部材に設けられて、ドア閉時に前記凹部を覆い前記バンパー部材の外表面とほぼ連続した面を形成することを特徴とする車両のドア部構造。
  2. 前記カバー部材は、前記ドア部材に固定される取付ベース部と、前記外装部材の長手方向の端部を車外側から包み込んで係止する外装側係止部と、前記ドア部材の端末部の側端を車内側から包み込んで係止するドア側係止部と、を備えて成ることを特徴とする請求項1に記載の車両のドア部構造。
  3. 前記カバー部材と前記外装部材の間に弾性部材が介装されていることを特徴とする請求項1または2に記載の車両のドア部構造。
  4. 前記ドア部材の端末部の側端にはヘミング加工が施され、このヘミング加工部に前記カバー部材が係合されることを特徴とする請求項1〜3のいずれか1項に記載の車両のドア部構造。
JP2006043631A 2006-02-21 2006-02-21 車両のドア部構造 Expired - Fee Related JP4864483B2 (ja)

Priority Applications (1)

Application Number Priority Date Filing Date Title
JP2006043631A JP4864483B2 (ja) 2006-02-21 2006-02-21 車両のドア部構造

Applications Claiming Priority (1)

Application Number Priority Date Filing Date Title
JP2006043631A JP4864483B2 (ja) 2006-02-21 2006-02-21 車両のドア部構造

Publications (2)

Publication Number Publication Date
JP2007223353A JP2007223353A (ja) 2007-09-06
JP4864483B2 true JP4864483B2 (ja) 2012-02-01

Family

ID=38545572

Family Applications (1)

Application Number Title Priority Date Filing Date
JP2006043631A Expired - Fee Related JP4864483B2 (ja) 2006-02-21 2006-02-21 車両のドア部構造

Country Status (1)

Country Link
JP (1) JP4864483B2 (ja)

Families Citing this family (5)

* Cited by examiner, † Cited by third party
Publication number Priority date Publication date Assignee Title
US8646831B2 (en) 2010-04-26 2014-02-11 Honda Motor Co., Ltd. Mounting structure for an automotive exterior member
KR101421959B1 (ko) * 2013-08-20 2014-07-22 현대자동차주식회사 도어 아웃사이드 벨트 구조
JP6055747B2 (ja) * 2013-09-20 2016-12-27 株式会社豊田自動織機 バックドアガーニッシュ
CN105751867A (zh) * 2016-04-19 2016-07-13 杭州恒宏机械有限公司 一种房车尾门的翻转装置
CN111605488B (zh) * 2019-02-25 2024-11-08 标致雪铁龙汽车股份有限公司 一种用于车辆的后备箱盖结构及车辆

Family Cites Families (4)

* Cited by examiner, † Cited by third party
Publication number Priority date Publication date Assignee Title
JPS61129612A (ja) * 1984-11-29 1986-06-17 Konishiroku Photo Ind Co Ltd 前群交換式変倍レンズ
JPS63114717A (ja) * 1986-10-29 1988-05-19 Fudo Constr Co Ltd 不同沈下量に対応した地盤改良工法
JPS63172780A (ja) * 1987-01-12 1988-07-16 Iwao Maruyama 塗料
JP3781267B2 (ja) * 2000-09-11 2006-05-31 トヨタ車体株式会社 車両の後部構造

Also Published As

Publication number Publication date
JP2007223353A (ja) 2007-09-06

Similar Documents

Publication Publication Date Title
US8132845B2 (en) Vehicle door structure
JP4836917B2 (ja) 車両のドアミラー取付構造
JP4202360B2 (ja) 車両のドア構造
JP5443397B2 (ja) 車両用ドア構造体
US7537267B2 (en) Hatchback door structure for vehicles
JP6700979B2 (ja) 自動車ドア用グラスラン
JP5769005B2 (ja) 自動車用バックドア
CN108928223B (zh) 汽车玻璃导槽的安装结构
CN104736421A (zh) 车辆用开闭体结构
JP4221003B2 (ja) 車両の後部ドア構造
CN106193957A (zh) 车门结构
WO2014112341A1 (ja) 車両の前部車体構造
JP4850533B2 (ja) 自動車のバックドア
JP6170535B2 (ja) 自動車用ドア構造
JP4864483B2 (ja) 車両のドア部構造
JP2012171611A (ja) 自動車のロッカ構造
JP4388048B2 (ja) 車両用ガーニッシュ
CN110072721B (zh) 车门构造
CN114633808B (zh) 发动机罩安装结构
JP4118831B2 (ja) ストライカの取付構造
JP2008068762A (ja) 車両の樹脂ルーフ構造
KR100931806B1 (ko) 자동차의 쿼터 글라스부 사이드 차체구조
JP5533228B2 (ja) 自動車のドア構造
JP5621578B2 (ja) ウエスト部補強構造
JP4053488B2 (ja) カウルトップガーニッシュ構造

Legal Events

Date Code Title Description
A621 Written request for application examination

Free format text: JAPANESE INTERMEDIATE CODE: A621

Effective date: 20081127

A977 Report on retrieval

Free format text: JAPANESE INTERMEDIATE CODE: A971007

Effective date: 20110214

A131 Notification of reasons for refusal

Free format text: JAPANESE INTERMEDIATE CODE: A131

Effective date: 20110308

A521 Written amendment

Free format text: JAPANESE INTERMEDIATE CODE: A523

Effective date: 20110426

TRDD Decision of grant or rejection written
A01 Written decision to grant a patent or to grant a registration (utility model)

Free format text: JAPANESE INTERMEDIATE CODE: A01

Effective date: 20111101

A01 Written decision to grant a patent or to grant a registration (utility model)

Free format text: JAPANESE INTERMEDIATE CODE: A01

A61 First payment of annual fees (during grant procedure)

Free format text: JAPANESE INTERMEDIATE CODE: A61

Effective date: 20111109

FPAY Renewal fee payment (event date is renewal date of database)

Free format text: PAYMENT UNTIL: 20141118

Year of fee payment: 3

R150 Certificate of patent or registration of utility model

Free format text: JAPANESE INTERMEDIATE CODE: R150

LAPS Cancellation because of no payment of annual fees