JP4864129B2 - 誘導加熱調理器 - Google Patents

誘導加熱調理器 Download PDF

Info

Publication number
JP4864129B2
JP4864129B2 JP2009245482A JP2009245482A JP4864129B2 JP 4864129 B2 JP4864129 B2 JP 4864129B2 JP 2009245482 A JP2009245482 A JP 2009245482A JP 2009245482 A JP2009245482 A JP 2009245482A JP 4864129 B2 JP4864129 B2 JP 4864129B2
Authority
JP
Japan
Prior art keywords
infrared sensor
heating coil
induction heating
cooling
cooling air
Prior art date
Legal status (The legal status is an assumption and is not a legal conclusion. Google has not performed a legal analysis and makes no representation as to the accuracy of the status listed.)
Active
Application number
JP2009245482A
Other languages
English (en)
Other versions
JP2011090991A (ja
Inventor
貴晶 日下
章 片岡
和範 武智
Current Assignee (The listed assignees may be inaccurate. Google has not performed a legal analysis and makes no representation or warranty as to the accuracy of the list.)
Panasonic Corp
Panasonic Holdings Corp
Original Assignee
Panasonic Corp
Matsushita Electric Industrial Co Ltd
Priority date (The priority date is an assumption and is not a legal conclusion. Google has not performed a legal analysis and makes no representation as to the accuracy of the date listed.)
Filing date
Publication date
Application filed by Panasonic Corp, Matsushita Electric Industrial Co Ltd filed Critical Panasonic Corp
Priority to JP2009245482A priority Critical patent/JP4864129B2/ja
Publication of JP2011090991A publication Critical patent/JP2011090991A/ja
Application granted granted Critical
Publication of JP4864129B2 publication Critical patent/JP4864129B2/ja
Active legal-status Critical Current
Anticipated expiration legal-status Critical

Links

Images

Classifications

    • HELECTRICITY
    • H05ELECTRIC TECHNIQUES NOT OTHERWISE PROVIDED FOR
    • H05BELECTRIC HEATING; ELECTRIC LIGHT SOURCES NOT OTHERWISE PROVIDED FOR; CIRCUIT ARRANGEMENTS FOR ELECTRIC LIGHT SOURCES, IN GENERAL
    • H05B6/00Heating by electric, magnetic or electromagnetic fields
    • H05B6/02Induction heating
    • H05B6/06Control, e.g. of temperature, of power
    • H05B6/062Control, e.g. of temperature, of power for cooking plates or the like
    • HELECTRICITY
    • H05ELECTRIC TECHNIQUES NOT OTHERWISE PROVIDED FOR
    • H05BELECTRIC HEATING; ELECTRIC LIGHT SOURCES NOT OTHERWISE PROVIDED FOR; CIRCUIT ARRANGEMENTS FOR ELECTRIC LIGHT SOURCES, IN GENERAL
    • H05B2213/00Aspects relating both to resistive heating and to induction heating, covered by H05B3/00 and H05B6/00
    • H05B2213/07Heating plates with temperature control means

Landscapes

  • Physics & Mathematics (AREA)
  • Electromagnetism (AREA)
  • Induction Heating Cooking Devices (AREA)

Description

本発明は、赤外線センサを備えた誘導加熱調理器に関する。
従来、この種の誘導加熱調理器は、調理容器を載置するトッププレートと、載置部の下方に設けられた加熱コイルと、加熱コイルの近傍に設けられ加熱コイルからの磁束漏れを抑制する防磁部材と、トッププレート上の調理容器から放出される赤外線を受光し、その光量に応じた検出信号を出力する赤外線センサと、検出信号に基づいて加熱コイルの出力を制御する制御回路とを備え、赤外線センサは防磁部材より下に配置する構成としたものがある(例えば、特許文献1参照)。
図6は、従来の誘導加熱調理器を示すものである。外郭を形成する本体1上面には調理容器2を載置するトッププレート3が設けられ、トッププレート3の下部には調理容器2を誘導加熱する加熱コイル4が設けられている。加熱コイル4の下部には強磁性体であり、磁束を集める作用を有するフェライト5が上方から見て加熱コイル4の中心から放射状に設けられており、加熱コイル4から発生し下方へ向かう磁束を抑制している。
また、調理容器2の底面を誘導加熱する加熱コイル4の下部には赤外線センサ6が設けられており、調理容器2の底面から放射される赤外線をトッププレート3越しに検知して、調理容器2の底面温度に応じた信号を出力する。赤外線センサ6の下部には赤外線センサ6から出力された信号に基づいて加熱コイル4の出力を制御する制御回路7が設けられている。
制御回路7は、加熱コイル4の下方に設けられた仕切り板10と本体1底部との間に形成される冷却風路11内に配置されている。ヒートシンク8aに取り付けられたIGBTや、共振コンデンサ等のような制御回路7を構成する発熱部品8は、制御基板7aに載置固定され、本体1内に設けられた送風装置9により所望の温度に冷却される。
加熱コイル4はフェライト5を収容するコイルベース13上面に載置され、接着等で固定されており、コイルベース13は加熱コイル4上面とトッププレート3との間に空間を形成するためのスペーサー16を介して仕切り板10上に設けられたバネ12によってトッププレート3下面に押さえつけられるように支持されている。赤外線センサ6はフェライト5よりも下かつ仕切り板10よりも上に配置されている。赤外線センサ6はフェライト5の磁束の収束作用により磁束の影響が軽減されている。
更に、漏れ磁束の影響を無くすために、赤外線センサ6は磁界遮蔽作用を有するアルミ等でできた防磁ケース14で覆われた構成となっている。赤外線センサ6は加熱コイル4や調理容器2で発生する熱の影響により加熱され温度上昇するため、所望の温度に冷却する必要がある。従って仕切り板10には赤外線センサ6近傍に通風孔15が設けられており、冷却風路11を流れる冷却風の一部が通風孔15を通り赤外線センサ6を冷却するようになっている。
前記従来の赤外線センサを備えた誘導加熱調理器は、上記構成により、加熱コイルからの漏洩磁束の影響を受けることなく、赤外線センサが安定した温度検知を行うことができるものであった。
特開2004−273303号公報
しかしながら、前記従来の構成では、赤外線センサ6が防磁ケース14で囲まれており、更に制御回路7との間に仕切り板10が介在しているため、赤外線センサ6と制御回路7とをつなぐ信号配線の引き回しが複雑になる等、組立性に課題を有していた。
また、赤外線センサ6の冷却は冷却風路11から流れる冷却風の一部を利用して通風孔15を介して行っているため、十分な風を防磁ケース14に送れないことから冷却効果が得られにくく、正確な温度検知が困難になるという課題も有していた。
本発明は、従来技術の有するこのような問題点に鑑みてなされたものであり、構成が簡単で組立性が良好であり、かつ赤外線センサの温度上昇を抑制し正確な温度検知が可能な誘導加熱調理器を提供することを目的としている。
上記目的を達成するために、本発明の誘導加熱調理器は、赤外線センサは、加熱コイルの下部に設けられたフェライトと、制御回路との間に設けられた防磁板よりも低い位置に配置され、冷却風を防磁板の下面に沿って赤外線センサの方向に送る構成としたものである。
この構成により、同一空間内に赤外線センサと制御回路が配置されることになり、赤外線センサと制御回路との間の介在物を少なくすることができるため、組立性の向上を図ることができる。また、防磁板の下面に沿った空間を赤外線センサの冷却風路としており、その冷却風路には制御回路をも配置しているため、同一冷却装置からの冷却風で制御回路と赤外線センサを効率よく冷却することになり、赤外線センサの温度上昇が抑制され、正確な温度検知が可能となる。
本発明の誘導加熱調理器は、構成が簡単で組立性が良好であり、かつ赤外線センサの電磁界の影響と温度上昇を抑制し、正確な温度検知を実現することができるものである。
本発明の実施の形態1における誘導加熱調理器の構成を示す断面図 本発明の実施の形態2における誘導加熱調理器の冷却風路内を上方から見た平面図 本発明の実施の形態3における誘導加熱調理器の冷却風路内を上方から見た平面図 本発明の実施の形態4における誘導加熱調理器の上方から見た平面外観図 本発明の実施の形態5における誘導加熱調理器の構成を示す断面図 従来の誘導加熱調理器の構成を示す断面図
第1の発明は、本体上面に設けられ調理容器を載置するトッププレートと、前記トッププレートの下部に設けられ前記調理容器を加熱する加熱コイルと、前記加熱コイルの下部に設けられ上方から見て前記加熱コイルの中心から放射状に配置されたフェライトと、前記加熱コイルと前記フェライトを保持する加熱コイル保持板と、前記トッププレートの下部に設けられ前記調理容器から放射される赤外線を検知する赤外線センサと、前記加熱コイルに供給するインバータ回路を駆動し冷却フィンに取り付けられて冷却される半導体素子を含み、前記フェライトの下部に設けられ前記赤外線センサの出力に応じて前記加熱コイルの出力を制御する制御回路と、前記フェライトと前記制御回路の間に設けられ前記フェライトの下部に漏れる磁界を遮蔽する金属板で形成された防磁板と、前記制御回路を冷却する冷却風を送る送風装置と、とを備え、前記赤外線センサは前記防磁板よりも低い位置に配置され、前記送風装置は、冷却風を前記防磁板の下面に沿って前記赤外線センサの方向に送る構成としたことにより、防磁板が赤外線センサと制御回路との間に介在しないようにすることができるため、組立性の向上を図ることができ、また、防磁板の下面に沿った空間を赤外線センサの冷却風路としており、その冷却風路には制御回路をも配置しているため、同一冷却装置からの冷却風で制御回路と赤外線センサを効率よく冷却することになり、赤外線センサの冷却効率が向上し、正確な温度検知が可能となるものである。
第2の発明は、特に、第1の発明の赤外線センサとトッププレートとの間に、防磁板を貫通する筒体を設け、筒体の内部を調理容器から放射される赤外線が通過するようにしたことにより、筒体の端面を赤外線センサの近傍まで近づけ、調理容器以外からの赤外線が赤外線センサに入射するのを抑制することができるので、赤外線センサの周辺からの外乱光の影響を抑制することができる。従って、赤外線センサの上下方向における配置の自由度が高まり、冷却性能の最適化が図りやすくなるものである。
第3の発明は、特に、第1の発明の送風装置から出て前記赤外線センサを冷却する冷却風の流れ方向と前記送風装置から出て前記制御回路の冷却フィンを冷却する冷却風の流れ方向が並行となるように、赤外線センサと冷却フィンとを送風装置に向かって並列に配置したことにより、発熱部品近傍の強い冷却風を利用することができるため、効果的に赤外線センサを冷却することができるものである。
第4の発明は、特に、第3の発明の送風装置から赤外線センサに向かって冷却風を導くダクトを冷却フィンに並設したことにより、送風装置の強い冷却風を赤外線センサに直接導くことができ、赤外線センサの冷却効率が一層向上するものである。
第5の発明は、特に、第1〜第4のいずれかの発明において、加熱コイルの外周を取り囲む発光部をさらに備え、トッププレートは、加熱コイルに対向する部分の下面及びその周辺の下面に光の透過を妨げる遮蔽膜を備え、かつ発光部に対向する下面の部分において遮蔽膜を取り除いて光を透過するようにした光透過部を備え、防磁板は、光透過部に対向するように構成したことにより、トッププレートから入射する外乱光を防磁板で遮断して、防磁板よりも下にある赤外線センサに対する外乱光の影響を軽減することができるため、安定した温度検知が可能となるものである。
第6の発明は、特に、第5の発明の遮蔽膜を光吸収性の塗膜としたことにより、トッププレートから入射する外乱光が防磁板に吸収されるため、外乱光の遮断効果が一層高まり、さらに安定した温度検知が可能となるものである。
第7の発明は、特に、第1の発明において、赤外線センサを収納するとともにコイル保持板の下面側に取り付けられるケーシングを備え、ケーシングは防磁板を貫通する構成としたことにより、赤外線センサをコイル保持板に取り付けた状態で組み立てることができ、組み立てや分解作業が簡単になるものである。
第8の発明は、特に、第7の発明のケーシングが導電金属材料で形成されるとともに赤外線センサの出力を検知する検知回路に接続され、かつ防磁板と電気的に絶縁されてなることにより、防磁板を経由して検知回路に電流が流れ込むことを防止することができる。
以下、本発明の実施の形態について、図面を参照しながら説明する。なお、この実施の形態によって本発明が限定されるものではない。
(実施の形態1)
図1は、本発明の第1の実施の形態における誘導加熱調理器の構成を示す要部断面図である。
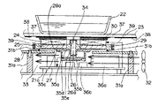
誘導加熱調理器の本体21は、底面を形成する底部21aと側面を形成する側部(図示せず)を有し、上面が開口している箱状の外郭を形成しており、本体21の上面には、調理容器22を載置するトッププレート23が設けられている。トッププレート23の下部には調理容器22を誘導加熱する加熱コイル24が設けられている。加熱コイル24の下部には、強磁性体であり、磁束を集める作用を有する複数の棒状のフェライト25が上方から見て加熱コイル24の中心から放射状に設けられている。フェライト25は、加熱コイル24から発生し下方へ向かう磁束が加熱コイル24から下方に離れて広がるのを抑制する防磁効果を有している。
加熱コイル24の下部には赤外線センサ26が設けられている。赤外線センサ26は、調理容器22の底面から放射されトッププレート23を透過する赤外線を検知して、調理容器22の底面温度に応じた信号を出力する。加熱コイル24の下部で赤外線センサ26の近傍にはプリント配線板上に形成された制御回路27が設けられている。制御回路27は、ヒートシンク(冷却フィン)36aに取り付けられて冷却されるIGBT、整流器のような半導体素子36c(図2参照)及び共振コンデンサ36bで形成されるインバータ回路とその制御部を含み、加熱コイル24に供給する高周波電流を発生する。制御回路27は、赤外線センサ26から出力された信号に基づいて加熱コイル24の出力を制御する。
赤外線センサ26および制御回路27は、フェライト25よりも下に配置されており、フェライト25の防磁効果により加熱コイル24の発生する磁束の影響が軽減されている。更に、フェライト25の下部への磁束漏れの影響を無くすために、磁束の透過を遮断する防磁効果を有する金属板、例えばアルミニウム板でできた防磁板28が、加熱コイル24側の空間と制御回路27側の空間とを仕切るように、フェライト25と制御回路27との間に設けられている。加熱コイル24とフェライト25は、コイルベース(加熱コイル保持板)29により保持される。加熱コイル24は、コイルベース29の上面に載置され接着等で取り付けられる。フェライト25は、コイルベース29にインサート成型により埋め込まれてもよいし、コイルベース29の下面に接着されてもよい。
加熱コイル24とトッププレート23との間には、加熱された調理容器22から加熱コイル24への熱影響を軽減するための、例えばセラミックファイバーからなる、断熱材30が設けられている。防磁板28に、コイルベース29が載置され、加熱コイル24はコイルベース29に載置される。このように、防磁板28は、コイルベース29を介して加熱コイル24を下方から支持している。また、防磁板28は本体21の底部21aに設けられたバネ31によって上方に付勢されている。これにより、防磁板28は加熱コイル24をトッププレート23下面に向かって断熱材30越しに押さえつける。
防磁板28と本体21の底部21aとの間の空間は冷却風路33を形成しており、冷却風路33内に制御回路27が配置され、冷却風は防磁板28の下面に沿って制御基板27aと赤外線センサ26の方向に送られる。ヒートシンク36aに固定され熱的に接合されたIGBTや整流器などの半導体素子36c(図2参照)や共振コンデンサ36bのような制御回路27を構成する発熱部品及び赤外線センサ26は、本体21内に設けられた送風装置32が発生する冷却風により冷却される。
赤外線センサ26とトッププレート23との間には、樹脂からなる筒体34が防磁板28を貫通するように設けられている。この筒体34は赤外線センサ26を覆うケーシング35aと一体構成になっており、ケーシング35aは防磁板28の下面に図示されていない固定片とネジで固定されている。赤外線センサ26は増幅回路を含む検知回路が構成されているプリント配線板26aに半田付けされ、プリント配線板26aはケーシング35bに載置され固定されている。ケーシング35aの下面開口部にケーシング35bが嵌合されることにより、赤外線センサ26は、ケーシング35aとケーシング35bとで形成されるケーシング内に収納される。ケーシング35aは樹脂で筒体34と一体に成型加工される。ケーシング35bは樹脂で形成してもよいし、導電金属で形成してもよい。ケーシング35bをアルミニウムなどの導電金属で形成することにより赤外線センサ26に及ぶ外来雑音(例えばインバータの発生する電磁波)を低減するという防磁効果を得ることができる。
以上のように構成された誘導加熱調理器について、以下その動作、作用を説明する。
本実施の形態に示す誘導加熱調理器は、フェライト25と制御回路27の間に設けられ、フェライト25の下部に漏れる磁界を遮蔽する金属板で形成された防磁板28により、制御回路27に及ぶ加熱コイル24からの漏れ磁束の量を低減して制御回路27の誤動作を防止する。また、赤外線センサ26と制御回路27は共に防磁板28の下部に配置され、送風装置32から冷却風を防磁板28の下面に沿って赤外線センサ26の方向に送っている。このように同一空間内に赤外線センサ26と制御回路27が配置されることにより、赤外線センサ26と制御回路27との間に防磁板28が介在しなくなるため、赤外線センサ26と制御基板27aとの間の配線の引き回しが簡単になり、組立性の向上を図ることができる。また、防磁板28と本体21の底部21aにより形成される空間を冷却風路33としており、そこに赤外線センサ26と制御回路27を配置しているため、冷却風路33を通過する主たる冷却風で赤外線センサ26を冷却することになり、赤外線センサ26の冷却効率が向上し、正確な温度検知が可能となる。
また、本実施の形態では、赤外線センサ26とトッププレート23との間に、防磁板28を貫通する筒体34を設け筒体34の内部を赤外線が通過するようにしたことにより、筒体34の下部端面を赤外線センサ26の近傍まで近づけ、筒体34の上部端面をトッププレート23に近づけることにより、調理容器22の温度を測定したい部分以外から赤外線センサ26近傍に侵入してくる光を遮断することができ、外乱光の影響による赤外線センサ26出力の不安定化を抑制することができる。また、この構成により確実に赤外線センサ26の近傍まで筒体34の下部端面を近づけ、筒体34の上部端面をトッププレート23に近づけることができるため、赤外線センサ26の上下方向における配置の自由度が高まり、風速の高い場所への配置が可能になり、冷却性能の最適化が図りやすくなるものである。
尚、本実施の形態では、筒体34は防磁板28の上下で連続した一体の構成としているが、例えば防磁板28の上下で分割可能な構成となっていてもよい。要するに防磁板28の上下で連続した穴が形成されていれば所望の効果が得られるものである。
(実施の形態2)
図2は、第2の実施の形態における誘導加熱調理器の冷却風路内を上方から見た平面図である。尚、実施の形態1と基本構成は同じなので説明は省略し、異なる点を中心に説明する。また、実施の形態1の図1と同じ構成部品には同じ符号を付している。
図2において、送風装置32から出て赤外線センサ26を冷却する冷却風の流れ方向と送風装置32から出て制御回路27上の発熱部品であるIGBTや整流器などの半導体素子36cが固定されたヒートシンク(冷却フィン)36aを冷却する冷却風は、図中の矢印に示すように並行に流れている。赤外線センサ26とヒートシンク36aとを送風装置32に向かって並列になるように配置している。この構成により送風装置32の冷却風を赤外線センサ26の冷却に効率よく利用することができるため、赤外線センサ26の冷却効果を高めることができる。
(実施の形態3)
図3は第3の実施の形態における誘導加熱調理器の冷却風路内を上方から見た平面図である。尚、実施の形態2と基本構成は同じなので説明は省略し、異なる点を中心に説明する。また、実施の形態2の図2と同じ構成部品には同じ符号を付している。
図3において、送風装置32からの冷却風は、制御回路27上のヒートシンク36aに固定接合された発熱部品であるIGBTや整流器等の半導体素子36cを冷却するために発熱部品冷却用ダクト32bを経て図中の矢印に示すような流れ方向で流れている。本実施の形態では、発熱部品冷却用ダクト32bとは別に、赤外線センサ26に向かって冷却風を導くダクト32aを設けている。この構成により送風装置32の冷却風を直接赤外線センサ26近傍まで直接導くことができるため、赤外線センサ26の冷却効率が一層向上する。
(実施の形態4)
図4は第4の実施の形態における誘導加熱調理器の上方から見た平面外観図である。尚、実施の形態1と基本構成は同じなので説明は省略し、異なる点を中心に説明する。また、実施の形態1の図1と同じ構成部品には同じ符号を付している。
図4において、トッププレート23は調理容器22を載置するための4箇所の加熱ゾーン40と加熱の操作や表示を行うための操作・表示部41を前部に設けている。各々の加熱ゾーンの下部には実施の形態1で説明したように加熱コイル(図示せず)が防磁板28(図中に破線で表示)で支持されている。また、本実施の形態では、加熱ゾーン40を使用者に分かりやすくするために、トッププレート23の下部にLED、環状の導光体を用いた円形状の発光部39(図5参照)を搭載しており、トッププレート23の光透過部37を通して円形形状に発光させる構成となっている。また、トッププレート23下面の光透過部37以外の部分には塗装等で光を透過しない遮光膜38(図5参照)を形成する処理を施している。防磁板28は光透過部37に対向するように設けられている。
このように本実施の形態では、トッププレート23の光透過部37に対向する位置に防磁板28を配置したことにより、トッププレート23の光透過部37から入射する外乱光を防磁板28で遮断して、防磁板28よりも下にある赤外線センサ26に対する外乱光の影響を軽減することができるため、安定した温度検知が可能となる。また、上記構成に加えて、防磁板28のトッププレート23に対向する面に黒色塗装、黒色印刷等の光吸収性材料で表面を覆う処理を施すと、トッププレート23から入射する外乱光が防磁板28に吸収されるため、外乱光の遮断効果が一層高まり、さらに安定した温度検知が可能となる。
尚、本実施の形態では、光透過部37は円形形状の発光部39としたが、光透過部37の形状や位置、目的はこれに限定されるものではないことは明らかである。
(実施の形態5)
図5は第5の実施の形態における誘導加熱調理器の構成を示す要部断面図である。尚、実施の形態1と基本構成は同じなので説明は省略し、異なる点を中心に説明する。また、実施の形態1の図1と同じ構成部品には同じ符号を付している。
図5において、防磁板28は本体底部21aに取り付けられた支持部31aで支持され、防磁板28の上面に取り付けられたバネ31bにより、コイルベース29が保持されかつトッププレート23方向に付勢される。
赤外線センサ26を収納するケーシング35a、35bは、導電金属材料であるアルミニウムにより形成される。筒体34は樹脂成型によりコイルベース29に一体的に形成される。
ケーシング35bの固定片35cをコイルベース29の下面にネジで締め付けることにより、ケーシング35a、35bはコイルベース29の下面側に取り付けられる。その際、ケーシング35bの上面35dに設けられた穴35eに筒体34の下端が挿入され、その下端が防磁板28よりも低い位置に設けられた赤外線センサ26に近接配置される。コイルベース29をバネ31bの上端に載置する際に、防磁板28に設けられた穴28aにケーシング35a、35bが挿入される。
以上の構成とすることにより、本実施の形態における誘導加熱調理器は、実施の形態1と同様の効果を得ることができる。また、防磁板28が固定されるので組み立てやすい。また、赤外線センサ26がコイルベース29に取り付けられるので、赤外線センサ26をコイルベース29に取り付けた状態で組み立てることができ、組み立てや分解作業が簡単になる。
また、導電性の防磁板28と、導電性のケーシング35a、35bとの間を絶縁することができるので、導電性のケーシング35a、35bの電位を赤外線センサ28の検知回路の電位に接続する一方、防磁板28の電位を赤外線センサ28の検知回路26aの電位と異なる電位、例えば、大地と同電位にすることが多い本体21と同電位にすることができる。これにより、赤外線センサ26の動作を安定させて精度良く調理容器の温度制御をおこなうことができる。
尚、第1〜第5の実施の形態の構成は、適宜組み合わせて実施することができる。
以上のように、本発明にかかる誘導加熱調理器は、赤外線センサを使用した機器の性能や組立性を向上させるものであり、赤外線センサを有するあらゆる装置に適用できる。
21 本体
21a 本体底部
22 調理容器
23 トッププレート
24 加熱コイル
25 フェライト
26 赤外線センサ
26a プリント配線板(検知回路)
27 制御回路
27a 制御基板
28 防磁板
28a 穴(防磁板)
29 コイルベース(加熱コイル保持板)
30 断熱材
31 バネ
31a 支持部
31b バネ
32 送風装置
32a、32b ダクト
33 冷却風路
34 筒体
35a、35b ケーシング
35c 固定片(ケーシング)
35d 上面(ケーシング)
35e 穴(ケーシング)
36a ヒートシンク(冷却フィン)
36b 共振コンデンサ(発熱部品)
36c 半導体素子(発熱部品)
37 光透過部
38 遮光膜
39 発光部
40 加熱ゾーン
41 操作・表示部

Claims (8)

  1. 本体上面に設けられ調理容器を載置するトッププレートと、前記トッププレートの下部に設けられ前記調理容器を加熱する加熱コイルと、前記加熱コイルの下部に設けられ上方から見て前記加熱コイルの中心から放射状に配置されたフェライトと、前記加熱コイルと前記フェライトを保持する加熱コイル保持板と、前記トッププレートの下部に設けられ前記調理容器から放射される赤外線を検知する赤外線センサと、前記加熱コイルに供給するインバータ回路を駆動し冷却フィンに取り付けられて冷却される半導体素子を含み、前記フェライトの下部に設けられ前記赤外線センサの出力に応じて前記加熱コイルの出力を制御する制御回路と、前記フェライトと前記制御回路の間に設けられ前記フェライトの下部に漏れる磁界を遮蔽する金属板で形成された防磁板と、前記制御回路を冷却する冷却風を送る送風装置と、を備え、前記赤外線センサは前記防磁板よりも低い位置に配置され、前記送風装置は冷却風を前記防磁板の下面に沿って前記赤外線センサの方向に送る構成とした誘導加熱調理器。
  2. 前記赤外線センサと前記トッププレートとの間に、前記防磁板を貫通する筒体を設け、前記筒体の内部を前記赤外線が通過するようにした請求項1に記載の誘導加熱調理器。
  3. 前記送風装置から出て前記赤外線センサを冷却する冷却風の流れ方向と前記送風装置から出て前記制御回路の冷却フィンを冷却する冷却風の流れ方向が並行となるように前記赤外線センサと前記冷却フィンとを前記送風装置に向かって並列に配置した請求項1に記載の誘導加熱調理器。
  4. 前記送風装置から前記赤外線センサに向かって冷却風を導くダクトを前記冷却フィンに並設した請求項3に記載の誘導加熱調理器。
  5. 前記加熱コイルの外周を取り囲む発光部をさらに備え、前記トッププレートは、前記加熱コイルに対向する部分の下面及びその周辺の下面に光の透過を妨げる遮蔽膜を備え、かつ前記発光部に対向する前記下面の部分において前記遮蔽膜を取り除いて光を透過するようにした光透過部を備え、前記防磁板は、前記光透過部に対向するように構成した請求項1〜4のいずれか1項に記載の誘導加熱調理器。
  6. 前記遮蔽膜を光吸収性の塗膜とした請求項5に記載の誘導加熱調理器。
  7. 前記赤外線センサを収納するとともに前記コイル保持板の下面側に取り付けられるケーシングを備え、前記ケーシングは前記防磁板を貫通する構成とした請求項1に記載の誘導加熱調理器。
  8. 前記ケーシングは、導電金属材料で形成されるとともに前記赤外線センサの出力を検知する検知回路に接続され、かつ前記防磁板と電気的に絶縁されてなる請求項7に記載の誘導加熱調理器。
JP2009245482A 2009-10-26 2009-10-26 誘導加熱調理器 Active JP4864129B2 (ja)

Priority Applications (1)

Application Number Priority Date Filing Date Title
JP2009245482A JP4864129B2 (ja) 2009-10-26 2009-10-26 誘導加熱調理器

Applications Claiming Priority (1)

Application Number Priority Date Filing Date Title
JP2009245482A JP4864129B2 (ja) 2009-10-26 2009-10-26 誘導加熱調理器

Publications (2)

Publication Number Publication Date
JP2011090991A JP2011090991A (ja) 2011-05-06
JP4864129B2 true JP4864129B2 (ja) 2012-02-01

Family

ID=44109044

Family Applications (1)

Application Number Title Priority Date Filing Date
JP2009245482A Active JP4864129B2 (ja) 2009-10-26 2009-10-26 誘導加熱調理器

Country Status (1)

Country Link
JP (1) JP4864129B2 (ja)

Families Citing this family (7)

* Cited by examiner, † Cited by third party
Publication number Priority date Publication date Assignee Title
JP2014146532A (ja) * 2013-01-30 2014-08-14 Panasonic Corp 誘導加熱調理器
US20160113070A1 (en) * 2013-08-22 2016-04-21 Panasonic Intellectual Property Management Co., Ltd. Induction-heating cooker
KR102208563B1 (ko) * 2014-05-30 2021-01-28 삼성전자주식회사 조리기기
JP6393626B2 (ja) * 2015-01-19 2018-09-19 日立アプライアンス株式会社 誘導加熱調理器
KR102641091B1 (ko) * 2018-11-08 2024-02-26 엘지전자 주식회사 절연 구조가 개선된 유도 가열 장치
WO2023249310A1 (en) * 2022-06-23 2023-12-28 Kt & G Corporation Cartridge for aerosol generating device including vibrator and method of manufacturing vibrator
KR102743407B1 (ko) * 2022-06-23 2024-12-17 주식회사 케이티앤지 진동자를 포함하는 에어로졸 발생 장치용 카트리지 및 진동자의 제조 방법

Family Cites Families (5)

* Cited by examiner, † Cited by third party
Publication number Priority date Publication date Assignee Title
US3710062A (en) * 1971-04-06 1973-01-09 Environment One Corp Metal base cookware induction heating apparatus having improved power supply and gating control circuit using infra-red temperature sensor and improved induction heating coil arrangement
JP4125646B2 (ja) * 2003-07-04 2008-07-30 松下電器産業株式会社 誘導加熱装置
JP4356419B2 (ja) * 2003-10-15 2009-11-04 パナソニック株式会社 誘導加熱調理器
JP4228883B2 (ja) * 2003-11-13 2009-02-25 パナソニック株式会社 誘導加熱調理器
JP4345504B2 (ja) * 2004-01-28 2009-10-14 パナソニック株式会社 誘導加熱調理器

Also Published As

Publication number Publication date
JP2011090991A (ja) 2011-05-06

Similar Documents

Publication Publication Date Title
WO2009144916A1 (ja) 誘導加熱調理器
JP5398821B2 (ja) 誘導加熱調理器
JP4864129B2 (ja) 誘導加熱調理器
JP4125646B2 (ja) 誘導加熱装置
JP5136210B2 (ja) 誘導加熱調理器
JP4917923B2 (ja) 誘導加熱調理器
JP2009289424A5 (ja)
JP5469822B2 (ja) 誘導加熱調理器
JP5417855B2 (ja) 誘導加熱調理器
JP2010170697A5 (ja)
JP5239515B2 (ja) 誘導加熱調理器
JP2009289522A5 (ja)
JP5210967B2 (ja) 誘導加熱調理器
WO2012147335A1 (ja) 誘導加熱調理器
JP6131467B2 (ja) 誘導加熱調理器
JP5206336B2 (ja) 誘導加熱調理器
JP5851362B2 (ja) 誘導加熱調理器
HK1157119B (en) Induction heating cooking apparatus
JP2010114017A5 (ja)
JP6866511B2 (ja) 誘導加熱調理器
JP2009259836A (ja) 誘導加熱調理器
CN108937534A (zh) 一种感应加热炊具

Legal Events

Date Code Title Description
TRDD Decision of grant or rejection written
A01 Written decision to grant a patent or to grant a registration (utility model)

Free format text: JAPANESE INTERMEDIATE CODE: A01

Effective date: 20111101

A01 Written decision to grant a patent or to grant a registration (utility model)

Free format text: JAPANESE INTERMEDIATE CODE: A01

A61 First payment of annual fees (during grant procedure)

Free format text: JAPANESE INTERMEDIATE CODE: A61

Effective date: 20111108

FPAY Renewal fee payment (event date is renewal date of database)

Free format text: PAYMENT UNTIL: 20141118

Year of fee payment: 3

R150 Certificate of patent or registration of utility model

Ref document number: 4864129

Country of ref document: JP

Free format text: JAPANESE INTERMEDIATE CODE: R150

Free format text: JAPANESE INTERMEDIATE CODE: R150