JP4847113B2 - 組立て紙箱 - Google Patents

組立て紙箱 Download PDF

Info

Publication number
JP4847113B2
JP4847113B2 JP2005345079A JP2005345079A JP4847113B2 JP 4847113 B2 JP4847113 B2 JP 4847113B2 JP 2005345079 A JP2005345079 A JP 2005345079A JP 2005345079 A JP2005345079 A JP 2005345079A JP 4847113 B2 JP4847113 B2 JP 4847113B2
Authority
JP
Japan
Prior art keywords
plate
side plate
paper box
folded
piece
Prior art date
Legal status (The legal status is an assumption and is not a legal conclusion. Google has not performed a legal analysis and makes no representation as to the accuracy of the status listed.)
Expired - Fee Related
Application number
JP2005345079A
Other languages
English (en)
Other versions
JP2007145389A (ja
Inventor
美智子 石迫
Original Assignee
柳井紙工株式会社
Priority date (The priority date is an assumption and is not a legal conclusion. Google has not performed a legal analysis and makes no representation as to the accuracy of the date listed.)
Filing date
Publication date
Application filed by 柳井紙工株式会社 filed Critical 柳井紙工株式会社
Priority to JP2005345079A priority Critical patent/JP4847113B2/ja
Publication of JP2007145389A publication Critical patent/JP2007145389A/ja
Application granted granted Critical
Publication of JP4847113B2 publication Critical patent/JP4847113B2/ja
Anticipated expiration legal-status Critical
Expired - Fee Related legal-status Critical Current

Links

Images

Landscapes

  • Cartons (AREA)
  • Packaging Frangible Articles (AREA)

Description

この発明は、洋菓子店等において、菓子やその他の食品等の持ち運びに使用される組立て自在な紙箱に関するものである。
従来、洋菓子店において、ケーキなどを販売する際、持ち運びに便利な紙製の組立て箱を使用している。この様な組立て紙箱においては、紙箱の上部に把手部が付いたキャリーデコタイプやボックスタイプと言われるものなどがある。これらの紙箱は、利便性の観点から、いわゆる、サイドオープンと呼ばれる、主に前側面を開放してケーキ等を出し入れしている。
具体的には、図13に示すように、底板31の左端縁に折り目を介して左側板32を設け、当該左側板32の左端縁に折り目を介して天板33を設け、当該天板33の左端縁に折り目を介して右側板34を設け、上記底板31の前後の端縁に夫々折り目を介して前後側板35を夫々設け、上記左側板32の前後の端縁に折り目を介して折り込み片36を夫々設け、上記天板33の前後の端縁に折り目を介して前後側係止板37を夫々設け、上記右側板34の前後の端縁に折り目を介して折り込み片38を夫々設けている。
また、前後側係止板37の各先端には、係止片37aを夫々設け、この組立て箱を組立てる時、前後側板35に設けた各切り込み35aに差し入れる。また、上記底板31の右端縁に折り目を介して貼着片39を設け、これらの各側板及び各折り込み片を夫々の折り目により折り込み、さらに、貼着片39を右側板34に接着して組立てる紙箱Eがある。
実用新案登録第3058681号公報
しかしながら、この組立て紙箱Eでは、図14に示すように、当該紙箱の前側係止板37に当たる個所を開いて中にケーキ等を入れた後、左右の折り込み片36、38を閉じ、前側板35、前側係止板37を閉じ、前側係止板37の先端の係止片37aを前側板35の切り込み35aに入れた際、この前側係止板37の係止片37aが左右の折り込み片36、38を内側方向へ押し、中に入れられたケーキ等と接触して当該ケーキ等を傷付けることがあった。
そこで、この発明は、組立て紙箱において、当該紙箱の一側面を容易かつ確実に開閉でき、さらに、中に入れられたケーキ等を傷つけることの無い組み立て紙箱を提供するものである。
請求項1の発明は、各側板及び底板を夫々の折り目により折り込んで形成した天板付又は天板無しの略直方体形状の組立て紙箱の一側板を当該一側板の底板側の端縁を折り目にして開閉自在に設け、当該一側板の左右の両端縁に折り目を介して当該各折り目により内側に折り込まれたフラップを夫々設け、当該一側板が隣接する、相対向する両側板の、当該一側板側の各側端縁に当該一側板の各フラップを差し入れて係止する鞘状の挿入部を夫々設け、上記各フラップを上記各挿入部に出し入れ自在に挿入して上記一側板を上記隣接する両側板の端縁に係止して上記底板上に立設した組立て紙箱において、上記鞘状の各挿入部は、上記相対向する各両側板の外端縁に折り目を介して、当該紙箱を組み立てた際縦方向の長さが上記両側板と比べて短い内側板を夫々設け、当該各内側板を上記各両側板の内側に折り込んで重ねて形成し、当該各両側板と各内側板の、上記一側板と反対側の個所を相互に貼着し、上記一側板の外端縁に折り目を介して内側板を設け、当該内側板の左右の両端縁であって当該内側板の外端縁近くに折り目を介して係止片を夫々設け、上記内側板を一側板の内側に折り込んで重ねて貼着し、上記各係止片を各折り目により折り込んで上記一側板の両端の各フラップに重ね、上記各フラップを上記鞘状の各挿入部に差し入れた際、上記各係止片の上縁が上記各挿入部を形成する内側板の各下端縁に当接して上記各フラップが挿入部に係止される構成とした組立て紙箱とした。
請求項2の発明は、上記一側板の各フラップを略扇形状に設けた上記請求項1に記載の組立て紙箱とした。
請求項1の発明によれば、紙箱の一側板を開閉自在に設け、当該一側板の左右の両端縁にフラップを夫々設け、当該一側板が隣接する、相対向する両側板に鞘状の挿入部を夫々設けたので、当該一側板を折り目により回転させ、当該一側板の両側の各フラップの先端縁が挿入部内に少し入れば、フラップ自体がガイドとなって、その後確実に挿入部内に入り、挿入部内に係止される。その結果、各フラップを各挿入部から容易に入れることが出来、非常に便利である。また、紙箱内側にフラップが挿入されるものではないので、紙箱内に収められたケーキ等が傷つく恐れがなく、安心して、ケーキ等を持ち運ぶことが出来る。
また、上記鞘状の挿入部として、上記相対向する各両側板の外端縁に当該紙箱を組み立てた際縦方向の長さが上記両側板と比べて短い内側板を夫々設け、当該各内側板を上記各両側板の内側に折り込んで重ね、当該各両側板と各内側板の、上記一側板と反対側の個所を貼着したので、簡単な構成及び少ない材料で鞘状の挿入部を形成することが出来、経済的である。
さらに、上記一側板の内側板の左右の両端縁に係止片を夫々設け、上記各フラップを上記鞘状の各挿入部に差し入れた際、上記各係止片が上記内側板の各下端縁に当接して上記各フラップが挿入部に係止されるようにしたので、無闇に一側板が開くことがなく、紙箱として信頼出来、安心してケーキ等を入れることが出来る。
請求項2の発明によれば、上記一側板等の各フラップを略扇形状に設けたので、当該フラップを上記鞘状の挿入部から円滑に出し入れ出来、紙箱の一側板等の開閉を極めて容易に行うことが出来る。その結果、当該紙箱からより円滑かつ容易にケーキ等を出し入れ出来るものである。
各側板及び底板を夫々の折り目により折り込んで形成した天板付又は天板無しの直方体形状の組立て紙箱において、当該紙箱の一側板を当該一側板の底板側の端縁を折り目にして開閉自在に設け、当該一側板の左右の両端縁に折り目を介して当該各折り目により内側に折り込まれたフラップを夫々設ける。
また、当該一側板が隣接する、相対向する両側板の、当該一側板側の各側端縁に当該一側板の各フラップを差し入れて係止する鞘状の挿入部を夫々設け、当該一側板の各フラップを上記各挿入部に着脱自在に差し入れて、当該一側板を上記折り目により閉じたことにより、紙箱内側にフラップが挿入されず、紙箱内に収められたケーキ等が傷つく恐れがなく、安心して、ケーキ等を持ち運ぶことが出来る。
以下、この発明の実施例1を図に基づいて説明する。
この発明の実施例1の組立て紙箱A(以下、「紙箱A」と言う。)は、図3に示すように、天板部を開口させており、この天板部に、別途、設けた蓋体を着脱自在とした扁平な直方体から成る。
図2に示すのは、この紙箱Aの展開図であり、正方形状の底板1の左端縁に折り目aを介して左側板2を設け、この左側板2の左端縁に折り目bを介して左内側板3を設けている。この左内側板3の後側の左側の角部を、斜めに切り欠いて傾斜端縁3aとしている。また、この左内側板3の切り欠いて短くなった左端縁に折り目cを介して、細幅の折り込み左側片4を設けている。この折り込み左側片4の前端の角部を斜めに切り欠いている。
同様に、底板1の右端縁に折り目dを介して右側板5を設け、この右側板5の右端縁に折り目eを介して、右内側板6を設け、この右内側板6の後端の右側の角部を斜めに切り欠いて傾斜端縁6aとしている。また、この右内側板6の切り欠いて短くなった右端縁に折り目fを介して、細幅の折り込み右側片7を設けている。この折り込み右側片7の前端の角部を斜めに切り欠いている。
また、底板1の後端縁に折り目gを介して後側板8を設け、この後側板8の後端縁に折り目hを介して後内側板9を設け、この後内側板9の後端縁に折り目iを介して細幅の折り込み後側片10を設けている。また、上記後内側板9の左右の両端縁に折り目jを介して、三角形状の折り込み小片11を夫々設けている。これらの折り込み片11は、上記折り目j側の後側角部が直角な三角形状である。
上記後側板8の左右の両端縁に折り目kを介して変形四角形状の連結折り込み片12を夫々設け、これらの各連結折り込み片12の前端縁は、上記左側板2又は右側板5の各後端縁と折り目l、mを介して接続されており、これらの各連結折り込み片12に、上記底板1の後端縁の折り目gの各端部から連結折り込み片12の外側角部に向けて対角線折り目nを夫々設けている。
上記底板1の前端縁に折り目oを介して前側板13を設け、この前側板13の前端縁に折り目pを介して前内側板14を設け、この前内側板14の前端縁に折り目qを介して細幅の折り込み前側片15を設けている。また、折り込み前側片15の先端縁15aの左右の角部を切り欠いている。さらに、上記前側板13の左右の両端縁に折り目rを介して、上記折り目oの各端部を中心とした略扇形状のフラップ16を夫々設けている。
次に、この様な紙箱Aを組立てる。
上記折り込み左側片4を折り目cにより外側(底板1と反対側、以下、同じ)に折り込み、図4に示すように、上記左内側板3を折り目bにより上記左側板2上に折り畳んで重ね、この状態で左内側板3と左側板2の後部を貼り合わせる。同様に、上記折り込み右側片7を折り目fにより外側に折り込み、上記右内側板6を折り目eにより上記右側板5上に折り畳んで重ね、この状態で右内側板6と右側板5の後部を貼り合わせる。
これらの様に、一体に成った上記左側板2と左内側板3を当該底板1側の折り目aにより折り込んで底板1上に立設させ、一体に成った右側板5と右内側板6を上記底板1側の折り目dにより折り込んで底板1上に立設させる。この時、折り込み左側片4及び折り込み右側片7は、底板1上に当接している。
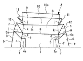
この様にして、上記相対向する左右の両側板を設け、上記左側板2と左内側板3、及び右側板5と右内側板6を夫々重ねて形成した上記両側板の前側板13側の側端縁内側に、図1に示すように、当該前側板13の上記各フラップ16を差し入れる鞘状の挿入部17を夫々形成している。
次に、上記折り込み後側片10を折り目iにより外側に略直角に折り込み、上記後内側板9の両端の各折り込み小片11を折り目jにより外側に折り込み、上記後側板8の各連結折り込み片12を各折り目k、l、n、k、m、nにより内側に折り込みつつ、上記後側板8を底板1側の折り目gにより内側に折り込んで底板1上に立設し、上記後内側板9を、折り目hにより上記後側板8両端の各連結折り込み片12の上から後側板8の内側に折り込んで、上記折り込み後側片10を上記底板1上に当接させる。
この時、図5に示すように、折り込み後側片10が略直角に折り込まれているので、当該折り込み後側片10の左側部は、底板1の後端縁の折り目gと上記折り込み左側片4の後端縁4aとの間に設けられた凹部に嵌合され、同様に、折り込み後側片10の右側部は、底板1の後端縁の折り目gと上記折り込み右側片7の後端縁7aとの間に設けられた凹部に嵌合される。
この折り込み後側片10の左右の先端縁10aは、上記折り込み左側片4の後端縁4aと折り込み右側片7の後端縁7aに突き合わされて係止され、上記後内側板9の両端の各折り込み小片11が上記左内側板3又は右内側板6の夫々切り欠いた角部分に嵌合し、当該各折り込み小片11の傾斜端縁11aが上記左内側板3又は右内側板6の各傾斜端縁3a、6aに突き合わされて夫々係止される。
折り込み前側片15を折り目qにより外側に略直角に折り込み、前内側板14を折り目pにより前側板13上に折り込んで、前内側板14と前側板13を貼り付ける。また、前側板13の左右両端の各フラップ16を折り目rにより夫々略直角に折り上げる(図1参照)。
この状態で、図6に示すように、前側板13と前内側板14を底板1側の折り目oにより折り上げて、この前側板13の左右の各フラップ16を左右の両側板の挿入部17の中に差し入れる。この時、前側板13を折り目oを軸として回転させるだけで、各フラップ16の先端縁が挿入部17内に少し入ると、当該フラップ16自体がガイドとなり、容易に挿入部17内に差し込まれ、前内側板14と一体となった前側板13は、底板1上に立設する。
また、折り込み前側片15が略直角に折り込まれているので、底板1上に重合し、当該折り込み前側片15の左側部は、底板1の前端縁の折り目oと上記折り込み左側片4の前端縁4bとの間に形成された凹部に嵌合され、同様に、折り込み前側片15の右側部は、底板1の前端縁の折り目oと上記折り込み右側片7の前端縁7bとの間に形成された凹部に嵌合される。これにより、この折り込み前側片15の先端縁15aの左右は、上記折り込み左側片4の前端縁4bと折り込み右側片7の前端縁7bに突き合わされて夫々係止される。
この様にして、組立てられた紙箱Aに、例えば、図6に示すように、前側板13を開閉して、図3に示すように、トレー18を利用してケーキを出し入れする。そして、図7に示すように、別途設けた紙蓋Dを被せて、当該紙蓋D及び有底の紙箱Aから形成される、いわゆる、ツーピース形態の紙箱として使用する。
以下、この発明の実施例2を図に基づいて説明する。
この発明の実施例2の紙箱Bは、図8及び図9に示すように、開閉自在な天板を設けていること、前側板の構成が異なる外は、上記実施例1とほぼ同様の構成である。よって、上記実施例1と異なる構成について説明する。
具体的に説明すると、この実施例2の紙箱Bは、後側板8の後端縁に折り目hを介して底板1と同形同大の開閉天板20を設けており、この開閉天板20は、この折り目hにより開閉自在に設けられており、この開閉天板20の後端縁に折り目sを介して細幅の折り込み片21を設けている。また、開閉天板20の後端縁の折り目sの中央部分には、前側板13の前端縁の中央部分に折り目pを介して設けられた係止片22を差し入れる切り込み20aを設けている。
この紙箱Bを組立てる。
各側板及び各折り込み片を夫々の折り目により折り込んで組立てるのは、上記実施例1と同様である。そして、図9に示すように、左右の両側板を立設した後、後側板8の左右の連結折り込み片12を各折り目k、l、n、k、m、nにより内側に折り込みつつ、その上から、上記後側板8を底板1側の折り目gにより内側に折り込んで底板1上に立設し、上記開閉天板20を折り目hにより底板1側に折り込んで、上記折り込み片21を折り目sにより内側に折り込む。
続いて、前側板13の係止片22を折り目pにより内側に折り込み、前側板13の左右両端の各フラップ16を折り目rにより夫々略直角に折り上げる。この状態で、前側板13を底板1側の折り目oにより折り上げて、この前側板13の左右の各フラップ16を左右の両側板の挿入部17の中に差し入れる。この時、前側板13を折り目oを軸として回転させるだけで、フラップ16の先端縁が挿入部17内に少し入ると、当該フラップ16自体がガイドとなり、容易に挿入部17内に差し込まれる。これにより、前側板13は、底板1上に立設し、開閉天板20の折り込み片21を前側板13の内側に挿入し、係止片22を開閉天板20の切り込み20aに入れて開閉天板20を閉じる。
続いて、この発明の実施例3を図に基づいて説明する。
この発明の実施例3の紙箱Cは、図10及び図11に示すように、左内側板及び右内側板を幅狭なものとして設け、折り込み左側片や折り込み右側片を設けていない。また、一旦、挿入部に差し入れられたフラップ16が容易に開かないようにストッパーとして係止片を前内側板に設けている。他の構成は、上記実施例1とほぼ同様の構成である。よって、上記実施例1と異なる構成について説明する。
この実施例3の紙箱Cは、左側板2の左端縁に折り目bを介して当該左側板2と比べ幅狭な、すなわち、図10における左右方向の幅が狭い左内側板24を設けており、この左内側板24の後端の角部を一定長斜めに、また、残りを水平に切り欠いて端縁24aを形成している。右内側板25、端縁25aも同様に設けられている。また、この紙箱Cでは、折り込み後側板は設けられておらず、後内側板26両端の折り込み小片27の形状も三角形状ではなく、台形状である。
そして、前内側板28の左右の両端縁の各前端部に折り目tを介して、夫々左右方向に長細く突出した係止片29を設けている。また、前内側板28の前端縁には折り込み前側片は設けていない。
この紙箱Cを組立てる。
各側板及び各折り込み片を夫々の折り目により折り込んで組立てるのは、上記実施例1とほぼ同様である。図10及び図11に示すように、左右の内側板24、25を各折り目b、eにより、夫々左右側板2、5上に折り込んで重ね、後部を貼着して鞘状の挿入部30を形成する。さらに、後内側板26の両端の各折り込み小片27を折り目uにより外側に折り込み、上記後側板8の各連結折り込み片12を各折り目k、l、n、k、m、nにより内側に折り込みつつ、上記後側板8を底板1側の折り目gにより内側に折り込んで底板1上に立設し、上記後内側板26を、折り目hにより上記後側板8両端の各連結折り込み片12の上から後側板8の内側に折り込む。
上記後内側板26の両端の各折り込み小片27が、上記左内側板24又は右内側板25の夫々切り欠いた角部分に嵌合し、当該各折り込み小片27の端縁27aが上記左内側板24又は右内側板25の各端縁24a、25aに突き合わされて夫々係止される。
また、前内側板28を折り目pにより前側板13上に折り込んで、前内側板28と前側板13を貼り付ける。さらに、前側板13の左右両端の各フラップ16を折り目rにより内側に直角に折り上げ、前内側板28の各係止片29を折り目tにより外側に直角に折り上げる。これにより、各係止片29は各フラップ16の内側に重なる。
この状態で、図11に示すように、前側板13と前内側板28を底板1側の折り目oにより折り上げて、この前側板13の左右の各フラップ16を左右の両側板の挿入部30の中に差し入れる。この時、前側板13を折り目oを軸として回転させるだけで、各フラップ16の先端縁が挿入部30内に少し入ると、当該フラップ16自体がガイドとなり、容易に挿入部30内に差し込まれ、前内側板28と一体となった前側板13は、底板1上に立設する。また、各係止片29は、一旦、各フラップ16と共に各挿入部30内に入るが、前側板13が底板1の端縁に立設すると、図12に示すように(図12においては、紙箱Cの左側のみを示す)、各係止片29は各挿入部30から外れ、左右の内側板24、25の下の凹部に入る。
そして、一旦、各フラップが挿入部30内に差し入れられた後は、各フラップ16が開こうとすると、図12に示すように、各係止片29が左右の内側板24、25の下端縁24a、25aに係止されて無闇に開かないようになっている。しかしながら、開く際には、少し力を入れて前側板13を回転させれば、開くようになっている。
なお、上記実施例1及び3において、天板部を開口させた扁平な直方体から成る紙箱A、Cを使って説明し、また、上記実施例2においては、開閉自在な開閉天板20を設けた紙箱Bを使って説明しているが、この発明の構成を設ける紙箱としては、この発明の構成を設けることが出来る紙箱であれば、何れのものでもよい。また、紙箱A、B及びCを直方体形状としているが、紙箱としては、上方又は下方へ行くほど開いたテーパー形状に設けたものでもよい。
また、上記実施例1において、フラップ16の形状を略扇形状に設けているが、フラップの形状としては、略扇形状に限るものではなく、挿入部17内に容易に出し入れ出来るものであるならば、舌片状や略方形状などでもよく、他の形状のものでも良い。さらに、後内側板8側の折り込み小片11、後側板8の連結折り込み片12、左内側板3と右内側板6の後部の傾斜端縁3a、6a、折り込み左側片4と折り込み右側片7の前後の端縁4a、4b、7a、7b、折り込み前側片15の先端縁15aの左右の角部の切り欠き部の構成などは、必ずしも必要とするものではなく、これらの構成のうち何れかを選択して設けてもよく、また、設けなくとも良い。さらに、組立てられた紙箱A内にケーキを出し入れするのにトレー18を使用しているが、トレー18については、必ずしも使用する必要はない。
さらに、上記実施例2において、開閉天板20を設けた紙箱Bとして、後側板8、連結折り込み片12、開閉天板20、切り込み20a、折り込み片21、前側板13、係止片22を設けたものを使用したが、開閉天板20を設けた紙箱Bとしては、この構成に限るものではなく、この発明の構成を設けることが出来るものであるならば、他の構成からなる紙箱でももちろん良い。
上記実施例3において、左右方向に長細く突出した係止片29を設けているが、係止片としては、必ずしも長細く突出させる必要はなく、短い突起のようなものでも良い。また、各フラップ16が各挿入部30内に差し込まれる際、当該各フラップ16の内側に重ねられた各係止片29が、各フラップ16と共に各挿入部30内に入るとしているが、状況によっては、各係止片29は、各フラップ16と共に各挿入部30内に入らず、各挿入部30より底板1側の位置で回転して左右の内側板24、25の下の凹部に入る場合もある。
この発明の実施例1の紙箱の組立て途中を示す斜視図である。 この発明の実施例1の紙箱の展開図である。 この発明の実施例1の紙箱を組み立て、中にケーキを載置するトレーを入れた状態の斜視図である。 この発明の実施例1の紙箱の後側板側の構成を示す一部斜視図である。 この発明の実施例1の紙箱の後側板側を組み立てた状態の一部斜視図である。 この発明の実施例1の紙箱を組み立て、前側板を閉じつつある状態の斜視図である。 この発明の実施例1の紙箱の開口部である天板部に、別途設けた紙蓋を被せた状態の斜視図である。 この発明の実施例2の紙箱の展開図である。 この発明の実施例2の紙箱の組立て途中を示す斜視図である。 この発明の実施例3の紙箱の展開図である。 この発明の実施例3の紙箱の組立て途中を示す斜視図である。 この発明の実施例3の紙箱の前内側板の係止片が左内側板の下端縁に係止されている状態を示す斜視図である。 従来の紙箱の展開図である。 従来の紙箱の組立て途中を示す斜視図である。
符号の説明
A 紙箱 B 紙箱
C 紙箱
1 底板 2 左側板
3 左内側板 5 右側板
6 右内側板 13 前側板
16 フラップ 17 挿入部
24 左内側板 25 右内側板
29 係止片 30 挿入部

Claims (2)

  1. 各側板及び底板を夫々の折り目により折り込んで形成した天板付又は天板無しの略直方体形状の組立て紙箱の一側板を当該一側板の底板側の端縁を折り目にして開閉自在に設け、当該一側板の左右の両端縁に折り目を介して当該各折り目により内側に折り込まれたフラップを夫々設け、当該一側板が隣接する、相対向する両側板の、当該一側板側の各側端縁に当該一側板の各フラップを差し入れて係止する鞘状の挿入部を夫々設け、上記各フラップを上記各挿入部に出し入れ自在に挿入して上記一側板を上記隣接する両側板の端縁に係止して上記底板上に立設した組立て紙箱において、
    上記鞘状の各挿入部は、上記相対向する各両側板の外端縁に折り目を介して、当該紙箱を組み立てた際縦方向の長さが上記両側板と比べて短い内側板を夫々設け、当該各内側板を上記各両側板の内側に折り込んで重ねて形成し、
    当該各両側板と各内側板の、上記一側板と反対側の個所を相互に貼着し、
    上記一側板の外端縁に折り目を介して内側板を設け、当該内側板の左右の両端縁であって当該内側板の外端縁近くに折り目を介して係止片を夫々設け、上記内側板を一側板の内側に折り込んで重ねて貼着し、上記各係止片を各折り目により折り込んで上記一側板の両端の各フラップに重ね、
    上記各フラップを上記鞘状の各挿入部に差し入れた際、上記各係止片の上縁が上記各挿入部を形成する内側板の各下端縁に当接して上記各フラップが挿入部に係止される構成としたことを特徴とする、組立て紙箱。
  2. 上記一側板の各フラップを略扇形状に設けたことを特徴とする、上記請求項1に記載の組立て紙箱。
JP2005345079A 2005-11-30 2005-11-30 組立て紙箱 Expired - Fee Related JP4847113B2 (ja)

Priority Applications (1)

Application Number Priority Date Filing Date Title
JP2005345079A JP4847113B2 (ja) 2005-11-30 2005-11-30 組立て紙箱

Applications Claiming Priority (1)

Application Number Priority Date Filing Date Title
JP2005345079A JP4847113B2 (ja) 2005-11-30 2005-11-30 組立て紙箱

Publications (2)

Publication Number Publication Date
JP2007145389A JP2007145389A (ja) 2007-06-14
JP4847113B2 true JP4847113B2 (ja) 2011-12-28

Family

ID=38207274

Family Applications (1)

Application Number Title Priority Date Filing Date
JP2005345079A Expired - Fee Related JP4847113B2 (ja) 2005-11-30 2005-11-30 組立て紙箱

Country Status (1)

Country Link
JP (1) JP4847113B2 (ja)

Families Citing this family (4)

* Cited by examiner, † Cited by third party
Publication number Priority date Publication date Assignee Title
CN109677743B (zh) * 2017-10-19 2020-05-01 纬联电子科技(中山)有限公司 包装箱及可折叠板材
CN109051170B (zh) * 2018-08-13 2024-03-15 东北农业大学 带缓冲吸振结构的防摔快递盒
KR102785346B1 (ko) * 2022-03-04 2025-03-21 주식회사 신세계푸드 케이크 포장 용기
KR102760083B1 (ko) * 2023-01-09 2025-01-24 조형영 케이크 포장 박스

Family Cites Families (8)

* Cited by examiner, † Cited by third party
Publication number Priority date Publication date Assignee Title
JPS50153030A (ja) * 1974-06-03 1975-12-09
DE2830085C3 (de) * 1978-07-08 1986-07-10 Heidelberger Druckmaschinen Ag, 6900 Heidelberg Verfahren und Vorrichtung zum Anzeigen von Stellgrößen
CH665645A5 (fr) * 1981-07-09 1988-05-31 Michel Flork Derives de dipeptides et leur procede de preparation.
CA1179418A (en) * 1981-08-14 1984-12-11 Edward R. Romblom Apparatus for indicating injection timing and fuel per stroke in an internal combustion engine
JPS628910A (ja) * 1985-07-03 1987-01-16 Mitsubishi Electric Corp コンベア制御装置
JPH09169332A (ja) * 1995-12-18 1997-06-30 Nakajima Youshi Kk 紙 箱
JPH11348963A (ja) * 1998-06-02 1999-12-21 Toshiba Logistics Corp 収納用組立箱
JP4577971B2 (ja) * 2000-10-04 2010-11-10 レンゴー株式会社 身箱

Also Published As

Publication number Publication date
JP2007145389A (ja) 2007-06-14

Similar Documents

Publication Publication Date Title
US7533774B2 (en) Combined container, activity tray and mailer
KR20180087242A (ko) 소비재용 팩
JP4847113B2 (ja) 組立て紙箱
JP2009120207A (ja) 個装箱
JP3127804U (ja) ダンボール箱
JP3141543U (ja) 組立て式箱
JP4479622B2 (ja) ロックヒンジ付き紙箱
KR20110121268A (ko) 덮개판이 원터치로 동시에 접혀지는 포장용 박스
JP5928410B2 (ja) 包装箱
KR102066243B1 (ko) 접시모듈이 구비된 치킨 박스
JP2008207819A (ja) 包装箱の備品収納構造
JP3210971U (ja) 仕切付き折畳箱
JP2546787B2 (ja) 把手付き組立て箱
JP5009528B2 (ja) 備品収納部付組立て紙箱
JP4832258B2 (ja) 包装箱
CN209972997U (zh) 包装
JP7409665B2 (ja) 保冷剤収容部付包装箱
JPH0630657Y2 (ja) 包装用箱体
JP5040680B2 (ja) カートン
JP3118748U (ja) 組立式紙箱
JP3144451U (ja) 包装用容器
JP3132839U (ja) 把手付き組み立て紙箱
JP3122125U (ja) 組立式収納箱
JP2011173634A (ja) 包装箱
JP3218842U (ja) 包装箱及びブランク

Legal Events

Date Code Title Description
A621 Written request for application examination

Free format text: JAPANESE INTERMEDIATE CODE: A621

Effective date: 20080801

A977 Report on retrieval

Free format text: JAPANESE INTERMEDIATE CODE: A971007

Effective date: 20110225

A131 Notification of reasons for refusal

Free format text: JAPANESE INTERMEDIATE CODE: A131

Effective date: 20110301

A521 Request for written amendment filed

Free format text: JAPANESE INTERMEDIATE CODE: A523

Effective date: 20110502

TRDD Decision of grant or rejection written
A01 Written decision to grant a patent or to grant a registration (utility model)

Free format text: JAPANESE INTERMEDIATE CODE: A01

Effective date: 20110913

A01 Written decision to grant a patent or to grant a registration (utility model)

Free format text: JAPANESE INTERMEDIATE CODE: A01

A61 First payment of annual fees (during grant procedure)

Free format text: JAPANESE INTERMEDIATE CODE: A61

Effective date: 20111013

FPAY Renewal fee payment (event date is renewal date of database)

Free format text: PAYMENT UNTIL: 20141021

Year of fee payment: 3

R150 Certificate of patent or registration of utility model

Ref document number: 4847113

Country of ref document: JP

Free format text: JAPANESE INTERMEDIATE CODE: R150

Free format text: JAPANESE INTERMEDIATE CODE: R150

R250 Receipt of annual fees

Free format text: JAPANESE INTERMEDIATE CODE: R250

R250 Receipt of annual fees

Free format text: JAPANESE INTERMEDIATE CODE: R250

R250 Receipt of annual fees

Free format text: JAPANESE INTERMEDIATE CODE: R250

R250 Receipt of annual fees

Free format text: JAPANESE INTERMEDIATE CODE: R250

R250 Receipt of annual fees

Free format text: JAPANESE INTERMEDIATE CODE: R250

R250 Receipt of annual fees

Free format text: JAPANESE INTERMEDIATE CODE: R250

R250 Receipt of annual fees

Free format text: JAPANESE INTERMEDIATE CODE: R250

R250 Receipt of annual fees

Free format text: JAPANESE INTERMEDIATE CODE: R250

R250 Receipt of annual fees

Free format text: JAPANESE INTERMEDIATE CODE: R250

LAPS Cancellation because of no payment of annual fees