JP4836498B2 - 固体撮像装置及びカメラ - Google Patents

固体撮像装置及びカメラ Download PDF

Info

Publication number
JP4836498B2
JP4836498B2 JP2005175435A JP2005175435A JP4836498B2 JP 4836498 B2 JP4836498 B2 JP 4836498B2 JP 2005175435 A JP2005175435 A JP 2005175435A JP 2005175435 A JP2005175435 A JP 2005175435A JP 4836498 B2 JP4836498 B2 JP 4836498B2
Authority
JP
Japan
Prior art keywords
solid
state imaging
imaging device
color
multilayer
Prior art date
Legal status (The legal status is an assumption and is not a legal conclusion. Google has not performed a legal analysis and makes no representation as to the accuracy of the status listed.)
Expired - Lifetime
Application number
JP2005175435A
Other languages
English (en)
Other versions
JP2006351800A (ja
Inventor
雄一 稲葉
真弘 笠野
Current Assignee (The listed assignees may be inaccurate. Google has not performed a legal analysis and makes no representation or warranty as to the accuracy of the list.)
Panasonic Corp
Panasonic Holdings Corp
Original Assignee
Panasonic Corp
Matsushita Electric Industrial Co Ltd
Priority date (The priority date is an assumption and is not a legal conclusion. Google has not performed a legal analysis and makes no representation as to the accuracy of the date listed.)
Filing date
Publication date
Application filed by Panasonic Corp, Matsushita Electric Industrial Co Ltd filed Critical Panasonic Corp
Priority to JP2005175435A priority Critical patent/JP4836498B2/ja
Priority to CNB2006100936888A priority patent/CN100539168C/zh
Priority to US11/452,952 priority patent/US7623166B2/en
Publication of JP2006351800A publication Critical patent/JP2006351800A/ja
Application granted granted Critical
Publication of JP4836498B2 publication Critical patent/JP4836498B2/ja
Anticipated expiration legal-status Critical
Expired - Lifetime legal-status Critical Current

Links

Images

Classifications

    • HELECTRICITY
    • H04ELECTRIC COMMUNICATION TECHNIQUE
    • H04NPICTORIAL COMMUNICATION, e.g. TELEVISION
    • H04N23/00Cameras or camera modules comprising electronic image sensors; Control thereof
    • H04N23/80Camera processing pipelines; Components thereof
    • H04N23/84Camera processing pipelines; Components thereof for processing colour signals
    • HELECTRICITY
    • H04ELECTRIC COMMUNICATION TECHNIQUE
    • H04NPICTORIAL COMMUNICATION, e.g. TELEVISION
    • H04N25/00Circuitry of solid-state image sensors [SSIS]; Control thereof
    • HELECTRICITY
    • H10SEMICONDUCTOR DEVICES; ELECTRIC SOLID-STATE DEVICES NOT OTHERWISE PROVIDED FOR
    • H10FINORGANIC SEMICONDUCTOR DEVICES SENSITIVE TO INFRARED RADIATION, LIGHT, ELECTROMAGNETIC RADIATION OF SHORTER WAVELENGTH OR CORPUSCULAR RADIATION
    • H10F39/00Integrated devices, or assemblies of multiple devices, comprising at least one element covered by group H10F30/00, e.g. radiation detectors comprising photodiode arrays
    • H10F39/80Constructional details of image sensors
    • H10F39/805Coatings
    • H10F39/8053Colour filters
    • HELECTRICITY
    • H10SEMICONDUCTOR DEVICES; ELECTRIC SOLID-STATE DEVICES NOT OTHERWISE PROVIDED FOR
    • H10FINORGANIC SEMICONDUCTOR DEVICES SENSITIVE TO INFRARED RADIATION, LIGHT, ELECTROMAGNETIC RADIATION OF SHORTER WAVELENGTH OR CORPUSCULAR RADIATION
    • H10F39/00Integrated devices, or assemblies of multiple devices, comprising at least one element covered by group H10F30/00, e.g. radiation detectors comprising photodiode arrays
    • H10F39/80Constructional details of image sensors
    • H10F39/806Optical elements or arrangements associated with the image sensors
    • HELECTRICITY
    • H04ELECTRIC COMMUNICATION TECHNIQUE
    • H04NPICTORIAL COMMUNICATION, e.g. TELEVISION
    • H04N25/00Circuitry of solid-state image sensors [SSIS]; Control thereof
    • H04N25/10Circuitry of solid-state image sensors [SSIS]; Control thereof for transforming different wavelengths into image signals
    • H04N25/11Arrangement of colour filter arrays [CFA]; Filter mosaics
    • H04N25/13Arrangement of colour filter arrays [CFA]; Filter mosaics characterised by the spectral characteristics of the filter elements
    • H04N25/134Arrangement of colour filter arrays [CFA]; Filter mosaics characterised by the spectral characteristics of the filter elements based on three different wavelength filter elements

Landscapes

  • Engineering & Computer Science (AREA)
  • Multimedia (AREA)
  • Signal Processing (AREA)
  • Solid State Image Pick-Up Elements (AREA)
  • Color Television Image Signal Generators (AREA)
  • Blocking Light For Cameras (AREA)
  • Optical Filters (AREA)

Description

本発明は、固体撮像装置及びカメラに関し、特に、固体撮像装置が備えるカラーフィルタが透過させる光の帯域幅を拡大する技術に関する。
近年、デジタルカメラや携帯電話機等、固体撮像装置の適用範囲が爆発的に拡大しつつあり、いずれの分野においてもカラー化が必須となっている。
図8は従来技術に係る固体撮像装置の画素部分を示す断面図である。図8に示されるように、固体撮像装置8の画素部分はN型半導体層801上にP型半導体層802、層間絶縁膜804、有機顔料タイプのカラーフィルタ806及び集光レンズ807を順次積層した構成を採っている。なお、P型半導体802の層間絶縁膜804側にはフォトダイオード803が形成されており、層間絶縁膜804中には遮光膜805が形成されている。
固体撮像装置8に入射した光は集光レンズ807にて集光され、カラーフィルタ806にて特定の色に分光された後、フォトダイオード803に入射する(例えば、非特許文献1参照)。
「固体撮像素子の基礎」日本理工出版会、安藤・菰淵著、映像情報メディア学会編、1999年12月発行、p.183−188。
しかしながら、固体撮像装置は常に画質の向上が求められているため、高画素化し、かつ色の再現性を高めてゆかねばならない。このような要請に対して、従来技術に係る固体撮像装置は、有機顔料タイプのカラーフィルタを用いており、画素を小型化するとカラーフィルタの色選択性が低下するので、色の再現性が低下する。すなわち、従来構成では高画素化と色の再現性とを両立させることができないという問題がある。
本発明は、上記のような問題に鑑みて為されたものであって、高画素で、かつ色の再現性が高いカラーフィルタを備えた固体撮像装置を提供することを目的とする。
上記目的を達成するため、本発明に係る固体撮像装置は、所定の波長の入射光を透過させる多層膜干渉フィルタを備える固体撮像装置であって、多層膜干渉フィルタは、光学膜厚を同じくすると共に屈折率を異にする2種類の誘電体層が交互に積層されてなるN層のλ/4多層膜と、(N−1)層の絶縁体層と、を備え、(N−1)層の絶縁体層の光学膜厚は何れもN層のλ/4多層膜を構成する誘電体層の光学膜厚と異なり、(N−1)層の絶縁体層はN層のλ/4多層膜と交互に積層されており、Nが3以上であることを特徴とする。
このようにすれば、多層膜干渉フィルタを用いるので、カラーフィルタを小型化して高画素化を図ることができる。また、多層膜干渉フィルタに絶縁体層(スペーサ層)を複数設けているので、光色毎の透過帯域幅を拡大して色の再現性を向上させることができる。
この場合において、Nが3であるとしても良い。このようにすれば、カラーフィルタをより小型化しつつ、色の再現性を向上させることができる。
また、本発明に係る固体撮像装置は、2次元配列され、それぞれ3原色の何れかを検出する画素を備え、多層膜干渉フィルタは青色光を検出する画素に配設されていることを特徴とする。多層膜干渉フィルタは特に青色光について透過帯域幅が狭くなる傾向があるのに対して、このようにすれば、青色光について透過帯域幅を拡大することができる。従って、光色による光量のバラツキを無くして色の再現性を向上させることができる。この場合において、他の光色については多層膜干渉フィルタのスペーサ層の数を1層としても良い。
また、本発明に係る固体撮像装置は、2次元配列された画素を備え、多層膜干渉フィルタは対応する画素が検出すべき色の光を選択的に透過させ、対応する画素が異なっても多層膜干渉フィルタの膜厚が略同じであることを特徴とする。このようにすれば、多層膜干渉フィルタ上に集光レンズ等を容易に形成することができる。
また、本発明に係る固体撮像装置は、絶縁体層はλ/4多層膜に用いられる材料からなることを特徴とする。このようにすれば、多層膜干渉フィルタの製造コストを低減することができる。
本発明に係るカメラは、所定の波長の入射光を透過させる多層膜干渉フィルタを備える固体撮像装置であって、多層膜干渉フィルタは、光学膜厚を同じくすると共に屈折率を異にする2種類の誘電体層が交互に積層されてなるN層のλ/4多層膜と、(N−1)層の絶縁体層と、を備え、(N−1)層の絶縁体層の光学膜厚は何れもN層のλ/4多層膜を構成する誘電体層の光学膜厚と異なり、(N−1)層の絶縁体層はN層のλ/4多層膜と交互に積層されている固体撮像装置を備えることを特徴とする。このようにすれば、カメラを小型化することができるので、携帯機器その他、カメラを搭載する際にそのサイズが問題となるような機器にも適用することができる。また、より高い色の再現性を有する画像を撮像することができる。
以下、本発明に係る固体撮像装置及びカメラの実施の形態について、デジタルスチルカメラを例にとり、図面を参照しながら説明する。
[1] デジタルスチルカメラの構成
先ず、本発明の実施の形態に係るデジタルスチルカメラの構成について説明する。図1は、本実施の形態に係るデジタルスチルカメラの主要な機能構成を示すブロック図である。
図1に示されるように、本実施の形態に係るデジタルスチルカメラ1は、レンズ101、固体撮像装置102、色信号合成部103、映像信号作成部104及び素子駆動部105を備えている。
レンズ101はデジタルカメラ1に入射した光を固体撮像装置102の撮像領域上に結像させる。固体撮像装置102は入射光を光電変換して色信号を生成する。素子駆動部105は固体撮像装置102から色信号を取り出す。色信号合成部103は固体撮像装置102から受け付けた色信号に色シェーディングを施す。映像信号作成部104は色信号合成部103にて色シェーディングを施された色信号からカラー映像信号を生成する。カラー映像信号は最終的にカラー画像データとして記録媒体に記録される。
[2] 固体撮像装置の構成
次に、固体撮像装置102の構成について説明する。
図2は、固体撮像装置102の概略構成を示す図である。図2に示されるように、固体撮像装置102は2次元配列された単位画素201の各行を垂直シフトレジスタ202により選択し、その行信号を水平シフトレジスタ203により選択して、画素毎のカラー信号を出力アンプ204から出力する。なお、固体撮像装置102は駆動回路205にて垂直シフトレジスタ202、水平シフトレジスタ203及び出力アンプ204を駆動する。
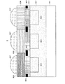
図3は、本実施の形態に係る固体撮像装置102の画素部分を示す断面図である。図3に示されるように、固体撮像装置102は、N型半導体層301上にP型半導体層302、層間絶縁膜304、多層膜干渉フィルタ306及び集光レンズ307が順次積層されてなる。なお、P型半導体層302の層間絶縁膜304側にはN型不純物がイオン注入されてなるフォトダイオード303が画素毎に形成されている。隣り合うフォトダイオード303の間にはP型半導体層が介在しており、これを素子分離領域という。
また、層間絶縁膜304中には遮光膜305が形成されている。個々のフォトダイオード303と集光レンズ307とは対応関係にあり、遮光膜305は集光レンズ307を透過した光が対応関係に無いフォトダイオード303に入射するのを防ぐ。
多層膜干渉フィルタ306は所定の波長λの1/4に略等しい光学膜厚を有し、屈折率を異にする2種類の誘電体層を11層だけ交互に積層したλ/4多層膜にてスペーサ層306a、306bを挟んだ構造を備えている。2種類の誘電体層のうち高屈折率層は二酸化チタン(TiO2)からなり、低屈折率層は二酸化シリコン(SiO2)からなっている。ここで、光学膜厚とは、物理膜厚に屈折率を乗じて得られる指数を意味する。
スペーサ層は透過させる光色に応じた光学膜厚を有するので、多層膜干渉フィルタ306全体の物理膜厚も透過させる光色毎に異なっており、赤色領域、緑色領域及び青色領域のそれぞれについて691nm、682nm、874nmとなっている。
なお、緑色領域にはスペーサ層306aがなく、λ/4多層膜を構成する2層の二酸化チタン層が相接して光学膜厚がλ/2の二酸化チタン層となっている。すなわち、赤色領域並びに青色領域に存するスペーサ層は何れも二酸化シリコンからなるのに対して、緑色領域に存するスペーサ層のうち1層は二酸化チタンからなっている。
[2] 多層膜干渉フィルタ306の分光特性
次に、本実施の形態に係る多層膜干渉フィルタ306の分光特性について、マトリックス法を用いて算出された評価結果を説明する。
図4は、多層膜干渉フィルタの分光特性を示すグラフであって、図4(a)は多層膜干渉フィルタ306の分光特性を示し、図4(b)はスペーサ層が1層である多層膜干渉フィルタの分光特性を示す。いずれのグラフも縦軸が透過率を表わし、横軸が透過光の波長を表わす。
図4(a)において、グラフ401、402及び403はそれぞれ青色領域、緑色領域及び赤色領域の分光特性を示す。また、図4(b)において、グラフ404、405及び406はそれぞれ青色領域、緑色領域及び赤色領域の分光特性を示す。
なお、分光特性の算出にあたって、図4(a)についてはλ/4多層膜の層数を11層とし、図4(b)については8層とした。また、設定中心波長λは530nmとした。
図4(b)に示されるように、スペーサ層が1層だと緑色領域や赤色領域の透過帯域幅に比べて青色領域の透過帯域幅は狭くなっている。これに対して、スペーサ層を2層とすれば、図4(a)に示されるように、青色領域の透過帯域幅を拡大することができる。
また、多層膜干渉フィルタ306を用いれば、透過させたい波長域以外の光の透過率を低減することができる。例えば、青色領域(グラフ401)であれば、波長500m以上の光の透過率がグラフ404と比べて低減されている。
従って、優れた色分離特性を有するので、デジタルカメラ1は忠実に色を再現するデジタル画像を撮像することができる。
[3] 多層膜干渉フィルタ306の製造方法
次に、多層膜干渉フィルタ306の製造方法について説明する。図5は多層膜干渉フィルタ306を製造する諸工程を示す図である。図5において、多層膜干渉フィルタ306の製造工程は(a)から(e)へと進む。また、N型半導体層301、P型半導体層302、フォトダイオード303及び遮光膜305は図示を省略した。
先ず、層間絶縁膜304上に、高周波(RF: Radio Frequency)スパッタ装置を用いて、二酸化チタン層501、二酸化シリコン層502及び二酸化チタン層503を順次積層してλ/4多層膜を形成し、二酸化チタン層503上にスペーサ層306aを形成する(図5(a))。
次に、透過させるべき波長域に応じた膜厚となるようにスペーサ層306aをエッチングする。すなわち、スペーサ層306a上にレジスト504を形成し、スペーサ層306aの赤色領域をエッチングして膜厚を整える(図5(b))。
次に、スペーサ層306a上にレジスト505を形成し、スペーサ層306aの緑色領域をエッチングして除去する(図5(c))。
レジスト504、505を形成するには、例えば、ウエハ一面にレジスト剤を塗布し、露光前ベーク(プリベーク)の後、ステッパなどの露光装置によって露光を行い、レジスト現像、および最終ベーク(ポストベーク)すれば良い。そして、4フッ化メタン(CF4)系のエッチングガスを用いれば、スペーサ層306aをエッチングすることができる。
次に、スペーサ層306a上、及び緑色領域にあっては二酸化チタン層503上に、二酸化チタン層506、二酸化シリコン層507及び二酸化チタン層508を順次積層してλ/4多層膜を形成し、二酸化チタン層508上にスペーサ層306bを形成する(図5(d))。
スペーサ層306bの青色領域と緑色領域との膜厚をエッチングにより整えた後、スペーサ層306b上に二酸化チタン層509、二酸化シリコン層510及び二酸化チタン層511を順次積層してλ/4多層膜を形成すれば、多層膜干渉フィルタ506が完成する。
[4] 変形例
以上、本発明を実施の形態に基づいて説明してきたが、本発明が上述の実施の形態に限定されないのは勿論であり、以下のような変形例を実施することができる。
(1) 上記実施の形態においては、高屈折率層の材料として二酸化チタンをい用いる場合について説明したが、本発明がこれに限定されないのは言うまでもなく、これに代えて次のようにしても良い。
すなわち、高屈折率層の材料として、二酸化チタンに代えて、窒化シリコン(Si34)や三酸化二タンタル(Ta23)、二酸化ジルコニウム(ZrO2)等、他の材料を用いても良い。また、低屈折率層の材料についても二酸化シリコン以外の材料を用いても良い。多層膜干渉フィルタに用いる材料の如何に関わらず本発明の効果を得ることができる。
(2) 上記実施の形態においては、多層膜干渉フィルタの膜厚が透過させる光色毎に異なる場合について説明したが、本発明がこれに限定されないのは言うまでもなく、これに代えて次のようにしても良い。
図6は、本変形例に係る多層膜干渉フィルタの構成を示す断面図である。図6に示されるように、多層膜干渉フィルタ6の膜厚は透過させる光色に関わらず一定となっている。スペーサ層601の膜厚は赤色領域で324nm、緑色領域で182nm、青色領域で252nmであり、スペーサ層602の膜厚は赤色領域で40nm、緑色領域で182nm、青色領域で112nmである。
従って、スペーサ層601、602の膜厚の合計は何れの領域も364nmとなり、多層膜干渉フィルタ6の膜厚が一定となる。このようにすれば、多層膜干渉フィルタ上に集光レンズ等を容易に形成することができる。
図7は、多層膜干渉フィルタ6の分光特性を示すグラフである。上記実施の形態に係る多層膜干渉フィルタ306と同様に透過帯域幅が拡大されており、かつ、良好な色分離特性を示していることが分かる。
なお、言うまでも無く上記実施の形態並びに本変形例に挙げた膜厚は一例に過ぎず他の膜厚としても本発明の効果に変わりは無い。
(3) 上記実施の形態においては、透過させる光色に関わらずスペーサ層を2層設ける場合について説明したが、本発明がこれに限定されないのは言うまでもなく、これに代えて、透過させる光色に応じてスペーサ層の層数を異ならせても良い。例えば、スペーサ層を1層だけにすると青色光は他の色の光に比べて透過帯域幅が狭くなるので、青色領域のみスペーサ層を2層にして透過帯域幅を拡大しても良い。
(4) 上記実施の形態においては、専らλ/4多層膜が11層である場合について説明したが、本発明がこれに限定されないのは言うまでもなく、11層に代えて15層や19層、23層、或いはそれ以上など11層以外の層数のλ/4多層膜を用いても良い。
また、上記実施の形態においては、多層膜干渉フィルタが2つのスペーサ層を備える場合について説明したが、本発明がこれに限定されないのは言うまでもなく、これに代えてスペーサ層を3つ以上備えても良い。
(5) 上記実施の形態においては、スペーサ層の材料として二酸化シリコンを用いる場合について説明したが、本発明がこれに限定されないのは言うまでもなく、これに代えて他の材料を用いても良い。また、スペーサ層の材料はλ/4多層膜を構成する高屈折率層と低屈折率層との何れと同じ材料を用いても良いし、何れとも異なる材料を用いても良い。また、上述のように、2つのスペーサ層で異なる材料を用いても良い。
(6) 上記実施の形態においては特に言及しなかったが、色ごとの画素は例えばベイヤ配列すれば良い。この場合において、4画素からなる矩形領域のうち2画素を占める色は分光特性において最も透過帯域幅が狭い色としても良い。このようにすれば、透過帯域幅が狭いことにより生じる光量の不足を、画素を増やして補うことができる。
本発明に係る固体撮像装置及びカメラは、固体撮像装置が備えるカラーフィルタが透過させる光の帯域幅を拡大して、より忠実に色を再現する技術として有用である。
本発明の実施の形態に係るデジタルスチルカメラの主要な機能構成を示すブロック図である。 本発明の実施の形態に係るデジタルスチルカメラが備える固体撮像装置102の概略構成を示す図である。 本発明の実施の形態に係る固体撮像装置102の画素部分を示す断面図である。 多層膜干渉フィルタの分光特性を示すグラフであって、図4(a)は本発明の実施の形態に係る固体撮像装置102が備える多層膜干渉フィルタ306の分光特性を示し、図4(b)はスペーサ層が1層である多層膜干渉フィルタの分光特性を示す。 本発明の実施の形態に係る多層膜干渉フィルタ306を製造する諸工程を示す図である。 本発明の変形例(2)に係る多層膜干渉フィルタの構成を示す断面図である。 多層膜干渉フィルタ6の分光特性を示すグラフである。 従来技術に係る固体撮像装置の画素部分を示す断面図である。
符号の説明
1……………………………デジタルスチルカメラ
6、306…………………多層膜干渉フィルタ
8、102…………………固体撮像装置
101………………………レンズ
103………………………色信号合成部
104………………………映像信号作成部
105………………………素子駆動部
201………………………単位画素
202………………………垂直シフトレジスタ
203………………………水平シフトレジスタ
204………………………出力アンプ
205………………………駆動回路
301、801……………N型半導体層
302、802……………P型半導体層
303、803……………フォトダイオード
304、804……………層間絶縁膜
305、805……………遮光膜
307、807……………集光レンズ
401〜406……………グラフ
501、503、506…二酸化チタン層
508、509、511…二酸化チタン層
502、507、510…二酸化シリコン層
504、505……………レジスト
806………………………有機顔料タイプのカラーフィルタ

Claims (3)

  1. 画素毎に所定の波長の入射光を透過させるカラーフィルタを備える固体撮像装置であって、
    前記カラーフィルタは、
    光学膜厚を同じくすると共に屈折率を異にする2種類の誘電体層が交互に積層されてなり、互いに積層された3つのλ/4多層膜と、
    前記λ/4多層膜のうちの組み合わせに異なる2つにそれぞれ挟まれた2つの絶縁体層と、を備え、
    前記絶縁層は、透過させるべき波長に応じた、λ/4以外の光学膜厚を有し、
    1つのカラーフィルタが備える2つの絶縁層の光学膜厚の合計が、互いに異なるカラーフィルタ間で等しく、
    互いに異なるカラーフィルタ間で、λ/4多層膜の光学膜厚が等しい
    ことを特徴とする固体撮像装置。
  2. 2次元配列され、それぞれ3原色の何れかを検出する画素を備え、
    前記カラーフィルタは青色光を検出する画素に配設されている
    ことを特徴とする請求項1に記載の固体撮像装置。
  3. 請求項1に記載の固体撮像装置を備える
    ことを特徴とするカメラ。
JP2005175435A 2005-06-15 2005-06-15 固体撮像装置及びカメラ Expired - Lifetime JP4836498B2 (ja)

Priority Applications (3)

Application Number Priority Date Filing Date Title
JP2005175435A JP4836498B2 (ja) 2005-06-15 2005-06-15 固体撮像装置及びカメラ
CNB2006100936888A CN100539168C (zh) 2005-06-15 2006-06-15 固态成像装置和照相机
US11/452,952 US7623166B2 (en) 2005-06-15 2006-06-15 Solid-state imaging device with high pixel count that includes color filter with high color reproducibility and camera that uses it

Applications Claiming Priority (1)

Application Number Priority Date Filing Date Title
JP2005175435A JP4836498B2 (ja) 2005-06-15 2005-06-15 固体撮像装置及びカメラ

Publications (2)

Publication Number Publication Date
JP2006351800A JP2006351800A (ja) 2006-12-28
JP4836498B2 true JP4836498B2 (ja) 2011-12-14

Family

ID=37519708

Family Applications (1)

Application Number Title Priority Date Filing Date
JP2005175435A Expired - Lifetime JP4836498B2 (ja) 2005-06-15 2005-06-15 固体撮像装置及びカメラ

Country Status (3)

Country Link
US (1) US7623166B2 (ja)
JP (1) JP4836498B2 (ja)
CN (1) CN100539168C (ja)

Families Citing this family (26)

* Cited by examiner, † Cited by third party
Publication number Priority date Publication date Assignee Title
KR100819706B1 (ko) * 2006-12-27 2008-04-04 동부일렉트로닉스 주식회사 씨모스 이미지센서 및 그 제조방법
JP5018125B2 (ja) * 2007-02-21 2012-09-05 ソニー株式会社 固体撮像装置および撮像装置
JP2008276044A (ja) * 2007-05-02 2008-11-13 Hitachi Displays Ltd 液晶表示装置
JP5074106B2 (ja) * 2007-06-08 2012-11-14 パナソニック株式会社 固体撮像素子及びカメラ
JP4696104B2 (ja) * 2007-09-28 2011-06-08 富士フイルム株式会社 裏面照射型固体撮像素子及びその製造方法
WO2009128022A1 (en) * 2008-04-18 2009-10-22 Nxp B.V. Integrated circuit manufacturing method
JP4978614B2 (ja) * 2008-11-25 2012-07-18 ソニー株式会社 固体撮像装置
FR2939887B1 (fr) * 2008-12-11 2017-12-08 Silios Tech Dispositif de spectroscopie optique comportant une pluralite de sources d'emission
US8330840B2 (en) * 2009-08-06 2012-12-11 Aptina Imaging Corporation Image sensor with multilayer interference filters
JP2011100900A (ja) * 2009-11-06 2011-05-19 Sony Corp 固体撮像装置及びその製造方法と設計方法並びに電子機器
JP5663900B2 (ja) 2010-03-05 2015-02-04 セイコーエプソン株式会社 分光センサー装置及び電子機器
US9357956B2 (en) 2010-03-05 2016-06-07 Seiko Epson Corporation Spectroscopic sensor and electronic apparatus
JP5534981B2 (ja) * 2010-06-30 2014-07-02 株式会社東芝 固体撮像装置
JP5810565B2 (ja) 2011-03-16 2015-11-11 セイコーエプソン株式会社 光学センサー及び電子機器
JP5862025B2 (ja) 2011-03-16 2016-02-16 セイコーエプソン株式会社 光学センサー及び電子機器
JP5767882B2 (ja) * 2011-07-26 2015-08-26 浜松ホトニクス株式会社 分光器
JP5767883B2 (ja) 2011-07-26 2015-08-26 浜松ホトニクス株式会社 分光器
JP2013031054A (ja) * 2011-07-29 2013-02-07 Ricoh Co Ltd 撮像装置及びこれを備えた物体検出装置、並びに、光学フィルタ及びその製造方法
JP5234165B2 (ja) * 2011-12-01 2013-07-10 ソニー株式会社 固体撮像装置および撮像装置
JP2013131553A (ja) * 2011-12-20 2013-07-04 Toshiba Corp 固体撮像装置
KR102313989B1 (ko) * 2014-09-30 2021-10-15 삼성전자주식회사 이미지 센서 및 이를 포함하는 전자 장치
WO2019064771A1 (ja) * 2017-09-29 2019-04-04 日本電産株式会社 レンズ、レンズユニットおよび撮像装置
DE112018006551T5 (de) * 2017-12-22 2020-09-03 Sony Semiconductor Solutions Corporation Festkörper-bildaufnahmevorrichtung und elektronische vorrichtung
US10488560B2 (en) * 2018-02-13 2019-11-26 Visera Technologies Company Limited Optical elements
JP2019200383A (ja) 2018-05-18 2019-11-21 ソニーセミコンダクタソリューションズ株式会社 共振器構造体、撮像素子、および電子機器
US11630062B2 (en) * 2019-10-10 2023-04-18 Visera Technologies Company Limited Biosensor and method of forming the same

Family Cites Families (7)

* Cited by examiner, † Cited by third party
Publication number Priority date Publication date Assignee Title
JPS57100404A (en) * 1980-12-16 1982-06-22 Toshiba Corp Stripe filter
JPH0569376A (ja) * 1991-09-09 1993-03-23 Suzuki Motor Corp アーム駆動装置
US20070058055A1 (en) * 2003-08-01 2007-03-15 Takumi Yamaguchi Solid-state imaging device, manufacturing method for solid-state imaging device, and camera using the same
JP4547894B2 (ja) * 2003-11-10 2010-09-22 凸版印刷株式会社 固体撮像素子の製造方法
EP1592067A4 (en) * 2004-01-15 2007-05-02 Matsushita Electric Industrial Co Ltd TUBE-FREE PICTURE DEVICE, PROCESS FOR PRODUCING A TUBE-FREE PICTURE DEVICE AND CAMERA THEREWITH
JP4383194B2 (ja) * 2004-02-03 2009-12-16 古河電気工業株式会社 所定の波長光学特性を有する誘電体多層膜フィルタ、その設計方法、その設計プログラム、およびその誘電体多層膜フィルタを用いた光アド・ドロップシステム
JP4806197B2 (ja) * 2005-01-17 2011-11-02 パナソニック株式会社 固体撮像装置

Also Published As

Publication number Publication date
US7623166B2 (en) 2009-11-24
JP2006351800A (ja) 2006-12-28
CN1881604A (zh) 2006-12-20
CN100539168C (zh) 2009-09-09
US20060285005A1 (en) 2006-12-21

Similar Documents

Publication Publication Date Title
JP4836498B2 (ja) 固体撮像装置及びカメラ
US8227883B2 (en) Solid-state imaging device and camera
US7701024B2 (en) Solid-state imaging device, manufactoring method thereof and camera
JP4806197B2 (ja) 固体撮像装置
US7759679B2 (en) Solid-state imaging device, manufacturing method of solid-state imaging device, and camera employing same
CN102665083B (zh) 物理信息获取方法、物理信息获取装置和半导体器件
JP2008170979A (ja) 固体撮像装置、その製造方法およびカメラ
US20070058055A1 (en) Solid-state imaging device, manufacturing method for solid-state imaging device, and camera using the same
TW201407757A (zh) 用於具彩色濾光片之分割影像感測器之鏡片陣列
CN103004212A (zh) 固体摄像装置及摄像装置
JP2010212306A (ja) 固体撮像装置
JP2000151933A (ja) 撮像素子及びその製造方法
JP2012019113A (ja) 固体撮像装置
JP2007019143A (ja) 固体撮像装置の製造方法、固体撮像装置及びカメラ
US8350349B2 (en) Solid-state imaging device, method of manufacturing thereof, and electronic apparatus
US5237185A (en) Image pickup apparatus with different gate thicknesses
JP2013118295A (ja) 固体撮像素子の製造方法、固体撮像素子、および電子情報機器
JPWO2005013369A1 (ja) 固体撮像装置、固体撮像装置の製造方法及びこれを用いたカメラ
JP2008177362A (ja) 固体撮像装置およびカメラ
CN100470815C (zh) 固态图像传感器
JPWO2007094092A1 (ja) 固体撮像装置及びカメラ
JP2008060323A (ja) 固体撮像装置、固体撮像装置の製造方法およびカメラ
US20060164720A1 (en) Multilayer interference filter, manufacturing method for multilayer interference filter, solid-state imaging device and camera
JP2006351801A (ja) 固体撮像装置及びカメラ
JP2006229078A (ja) 固体撮像装置、その製造方法及びカメラ

Legal Events

Date Code Title Description
A621 Written request for application examination

Free format text: JAPANESE INTERMEDIATE CODE: A621

Effective date: 20080321

A131 Notification of reasons for refusal

Free format text: JAPANESE INTERMEDIATE CODE: A131

Effective date: 20101124

A977 Report on retrieval

Free format text: JAPANESE INTERMEDIATE CODE: A971007

Effective date: 20101125

A521 Request for written amendment filed

Free format text: JAPANESE INTERMEDIATE CODE: A523

Effective date: 20110124

TRDD Decision of grant or rejection written
A01 Written decision to grant a patent or to grant a registration (utility model)

Free format text: JAPANESE INTERMEDIATE CODE: A01

Effective date: 20110906

A01 Written decision to grant a patent or to grant a registration (utility model)

Free format text: JAPANESE INTERMEDIATE CODE: A01

A61 First payment of annual fees (during grant procedure)

Free format text: JAPANESE INTERMEDIATE CODE: A61

Effective date: 20110927

FPAY Renewal fee payment (event date is renewal date of database)

Free format text: PAYMENT UNTIL: 20141007

Year of fee payment: 3

R150 Certificate of patent or registration of utility model

Ref document number: 4836498

Country of ref document: JP

Free format text: JAPANESE INTERMEDIATE CODE: R150

Free format text: JAPANESE INTERMEDIATE CODE: R150

EXPY Cancellation because of completion of term