JP4828362B2 - 差込側コネクタ - Google Patents

差込側コネクタ Download PDF

Info

Publication number
JP4828362B2
JP4828362B2 JP2006250422A JP2006250422A JP4828362B2 JP 4828362 B2 JP4828362 B2 JP 4828362B2 JP 2006250422 A JP2006250422 A JP 2006250422A JP 2006250422 A JP2006250422 A JP 2006250422A JP 4828362 B2 JP4828362 B2 JP 4828362B2
Authority
JP
Japan
Prior art keywords
connector
fitting
pressing
spring member
housing
Prior art date
Legal status (The legal status is an assumption and is not a legal conclusion. Google has not performed a legal analysis and makes no representation as to the accuracy of the status listed.)
Active
Application number
JP2006250422A
Other languages
English (en)
Other versions
JP2008071665A (ja
Inventor
悟 新堂
祐二 宮崎
浩 小林
Current Assignee (The listed assignees may be inaccurate. Google has not performed a legal analysis and makes no representation or warranty as to the accuracy of the list.)
JST Mfg Co Ltd
Toyota Motor Corp
Original Assignee
JST Mfg Co Ltd
Toyota Motor Corp
Priority date (The priority date is an assumption and is not a legal conclusion. Google has not performed a legal analysis and makes no representation as to the accuracy of the date listed.)
Filing date
Publication date
Application filed by JST Mfg Co Ltd, Toyota Motor Corp filed Critical JST Mfg Co Ltd
Priority to JP2006250422A priority Critical patent/JP4828362B2/ja
Publication of JP2008071665A publication Critical patent/JP2008071665A/ja
Application granted granted Critical
Publication of JP4828362B2 publication Critical patent/JP4828362B2/ja
Active legal-status Critical Current
Anticipated expiration legal-status Critical

Links

Images

Landscapes

  • Details Of Connecting Devices For Male And Female Coupling (AREA)

Description

本発明は、押圧されることによりバネ部材の弾性変形を伴いながら相手側コネクタに嵌合される差込側コネクタに関する。
特許文献1には、互いに嵌合される一対のコネクタの形状が開示されている。この一対のコネクタのうち、作業者により押圧操作される一方のコネクタのハウジング20(特許文献1における図1参照)は、嵌合方向に押圧できるとともに押圧の際の滑り止めとなりうる部分形状をコネクタハウジングの周囲に備えている。例えば、コネクタハウジングの上面においてロックアーム40部分に形成された当て壁51、または、大フード部22の後方側端面であり嵌合方向(特許文献1の図1における矢印で示す方向)に対して垂直に形成された奥壁22A(特許文献1における図3参照)、などである。作業者はコネクタハウジングを指先で挟みこむようにして保持し、これらの部分を滑り止め等としながら嵌合方向に押圧操作を行う。
特開2001−110523号公報
しかしながら、特許文献1に記載されたコネクタのハウジング20における当て壁51部分は、「ロック解除操作(ロックアーム40を揺動させる操作)」の際における指の位置決めや滑り止めのために形成されたものである。そのため、指との接触面積が小さいものであり、嵌合方向への押圧操作を行う際の滑り止めとしては十分に機能しない可能性もある。
また、奥壁22Aは、嵌合方向と垂直面を形成しており、指と面との摩擦に頼らずにコネクタを嵌合方向に押圧することは可能である。しかし、押圧時の操作性等を向上させるために押圧面積を大きくしたい場合は、ハウジングを嵌合方向と垂直方向に大きくする必要があり、コネクタが大型化してしまうという問題がある。また、指とコネクタとの間に隙間が生じやすく、押圧操作時において指先がコネクタにフィットしにくいため操作性が悪くなる虞もある。
本発明は、上記実情に鑑みることにより、押圧操作しやすく、滑りを抑制し押圧力を確実に伝えることが可能な差込側コネクタを提供することを目的とする。
課題を解決するための手段及び効果
本発明は、相手側コネクタに嵌合し、バネ部材の係止により固定される差込側コネクタに関する。
そして、本発明に係る差込側コネクタは、上記目的を達成するために以下のようないくつかの特徴を有している。すなわち、本発明の差込側コネクタは、以下の特徴を単独で、若しくは、適宜組み合わせて備えている。
上記目的を達成するための本発明に係る差込側コネクタにおける第1の特徴は、ハウジング本体と、当該ハウジング本体に取り付けられたバネ部材と、を備え、前記ハウジング本体が相手側コネクタに向かった嵌合方向に押圧されることにより、前記バネ部材の弾性変形を伴いながら当該相手側コネクタに嵌合されるとともに当該バネ部材の弾性回復により当該相手側コネクタに対して当該バネ部材が係止されて嵌合離脱方向の変位が固定される差込側コネクタであって、前記ハウジング本体は、前記相手側コネクタに対向する嵌合側端部と逆側の端部である押圧操作側端部において、前記嵌合方向に押圧操作される押圧部を有し、前記押圧部は、前記嵌合側端部に近づくにつれて当該押圧部が広がるように形成される一対の斜面と、当該斜面から突出する突起部とを有し、前記押圧部における前記斜面の拡開側の両縁部が、前記嵌合方向から見て互いに近づくように傾斜していることである。
この構成によると、押圧部に形成された斜面を押圧して差込側コネクタを相手側コネクタに嵌合させることができる。押圧部が斜面であるため、押圧する指と押圧部との接触面積を大きくすることができるとともに、指にフィットしやすく操作性がよい。
また、押圧する際、突起部に指が引っかかるため滑りにくく、押圧する力を差込側コネクタに確実に伝えることができる。
また、押圧部の縁部における先細り側から親指と人差し指で押圧部を挟み込むように押圧した場合、各指先が押圧部にフィットしやすく、押圧操作性を向上させることが可能である。
また、本発明に係る差込側コネクタにおける第2の特徴は、前記バネ部材は、前記ハウジング本体を両側方から挟み込むように設置されており、嵌合状態への移行時に前記嵌合方向に対して垂直な方向に広がるように弾性変形するとともに嵌合状態に至ると弾性回復により前記相手側コネクタに対して係止され、前記押圧部は、前記嵌合方向から見て前記バネ部材の少なくとも一部を覆うように形成されているとともに当該バネ部材に対向する対向部は前記弾性変形の方向と平行な平面となるように形成されていることである。
この構成によると、バネ部材が嵌合方向と垂直に変位して係止・係止解除を行う構造であるため、係止するためのバネ部材の変形量をより小さくでき、変形に要する力をより小さくすることができる。また、押圧部がバネ部材の弾性変形を拘束しない形状であるため、バネ部材の変形に要する力が少なくてすむ。また、押圧時に指がバネ部材に触れにくい構造であり、指でバネ部材の変形を拘束しにくい。したがって、嵌合の際にバネ部材に作用させるべき力が小さくなるため、より小さい押圧力で嵌合することが可能である。
また、本発明に係る差込側コネクタにおける第3の特徴は、前記押圧部は、前記押圧部側端部から延出するケーブルを挟んで一対で設けられる押圧部分からなり、一対の当該押圧部分はケーブルを挟んで対称に形成されていることである。
この構成によると、差込側コネクタに対して、ケーブルを挟んで対称な押圧力を付与しやすくなるため、押圧力の偏りをなくし、より小さい力で嵌合可能となる。
以下、本発明を実施するための最良の形態について図面を参照しつつ説明する。本実施形態においては、コネクタの一例として、自動車等の車両に用いられる電気コネクタを例示する。
図1は、本発明の一実施の形態に係る差込側コネクタ1を含む一対の電気コネクタ100の一例を示す模式的斜視図である。尚、以下、図1中の矢印Xの方向をX方向、矢印Xの方向と逆向きの方向を−X方向として説明する。矢印Yの方向、Zの方向についても同様とする。
図1に示すように、電気コネクタ100は、差込側コネクタ1のメスハウジング200(ハウジング本体)が相手側コネクタ2のオスハウジング400に嵌合することにより電気的に接続されるコネクタである。差込側コネクタ1は、メスハウジング200に取り付けられた掛け止め金具300(バネ部材)を備えており、当該掛け止め金具300の作用により相手側コネクタ2に係止される。
メスハウジング200の両側面には、メスハウジング200とオスハウジング400とが嵌合する方向(X方向)に垂直な方向(Z方向)に平行な案内溝210が設けられている。このメスハウジング200の案内溝210に沿って掛け止め金具300が−Z方向に向かって圧挿される。
図2に示すように、メスハウジング200の内部には、一対の第1接続端子201a,201bが設けられている。同じく、後述するオスハウジング400の内部には、一対の第2接続端子401a,401b(図11参照)が設けられている。当該オスハウジング400の内部に設けられた第2接続端子401a,401bには、電気的配線が接続されている。
オスハウジング400にメスハウジング200が嵌挿されて嵌合することにより、第1接続端子201aおよび第2接続端子401aと、第1接続端子201bおよび第2接続端子401bとがそれぞれ接合し、電気的導通が図られる。
次に、掛け止め金具300を備えたメスハウジング200およびオスハウジング400の形状について詳細に説明する。
図2〜図7は、掛け止め金具300を備えた差込側コネクタ1の形状を説明するための模式図である。図2は、図1に示す差込側コネクタ1の正面図であり、図3は、図1に示す差込側コネクタ1の背面図であり、図4は、図1に示す差込側コネクタ1の左側面図であり、図5は、図1に示す差込側コネクタ1の平面図であり、図6は、図1に示す差込側コネクタ1の底面図である。また、図7は、図1に示す差込側コネクタ1の前方から視た斜視図である。尚、本実施形態に係る差込側コネクタ1の右側面図は図3に示す左側面図と対称である。
図2〜図7に示すメスハウジング200は、後述するオスハウジング400(図11〜図14参照)の略四角柱筒形状を外包する略四角柱筒形状を有する。
図2に示すように、メスハウジング200の内部には、第1接続端子201a,201bが設けられている。本実施の形態に係る電気コネクタ100の極数は、2極である。そのため、第1接続端子201a,201bが2つ並んで設けられている。
図2及び図7に示すように、メスハウジング200の内部には、長方形リブ202とT字リブ203とが形成されている。これらの長方形リブ202とT字リブ203とには、それぞれテーパ形状が形成されている。このテーパ形状は、第1接続端子201a,201bおよび後述するオスハウジング400の第2接続端子401a,401bとの嵌挿をスムーズにさせるとともに、嵌合時に長方形リブ202とT字リブ203と、後述するオスハウジング400の長方形溝402およびT字溝403との密着度を向上させるために設けられる。
さらに、これらの長方形リブ202とT字リブ203との形状は、オスハウジング400とメスハウジング200との逆嵌合を防止するために設けられている。すなわち、長方形リブ202とオスハウジング400のT字溝403(図11参照)とは嵌合せず、T字リブ203と長方形溝402(図11参照)とは嵌合しないからである。また、これらの長方形リブ202とT字リブ203との形状は、コネクタを嵌合させた後、相手側コネクタ2に対して差込側コネクタ1がX方向を軸として回転することを防止する効果も有する。
また、図2に示すように、メスハウジング200の4隅には、スリットリブ205a,205b,205c,205dが設けられる。これらのスリットリブ205a,205b,205c,205dは、メスハウジング200と後述するオスハウジング400との嵌合完了時にオスハウジング400のスリット405a,405b,405c,405dと当接するように設けられている。
さらに、メスハウジング200の各面のうち一の面には、スリット250a,250bが設けられ、他の一の面には、スリット250c,250dが設けられ、他の一の面には、スリット250e,250fが設けられ、他の一の面には、スリット250g,250h,250iが設けられる。
これらのスリット250a〜250iは、メスハウジング200とオスハウジング400との嵌合完了時にオスハウジング400のリブ450a〜450iと当接するように設けられている。
また、これらのメスハウジング200におけるリブ205a,205b,205c,205dおよびオスハウジング400の対応するスリット250a〜250iには、中心から外側に向けて幅が狭くなるテーパ形状が設けられる。
また、図4に示すように、メスハウジング200の側面には、Z方向と平行な方向に案内溝210が形成されている。この案内溝210は、立ち壁220,221およびハウジング内に貫通する開口部222を含む。また、開口部222は案内溝210のほぼ中央部に設けられる。
続いて、図4、図5及び図6に示すように、X方向におけるメスハウジング200の端部である押圧操作側端部200Rからは、第1接続端子201a,201b(図2(a)参照)に接続されたケーブル500が引き出されている。押圧操作側端部200Rは、X方向においてオスハウジング400に対向する嵌合側端部200Fと逆側に位置する。そして、押圧操作側端部200Rにおいて、嵌合方向(X方向)に押圧操作される押圧部600が形成されている。
押圧部600は、嵌合方向から見て後述する掛け止め金具300(バネ部材)の一部を覆うように形成されている(図3参照)。そして押圧部600における掛け止め金具300に対向する対向部601はY方向と平行な平面となるように形成されている(図4及び図5参照)。押圧部600は、ケーブル500を挟んで一対で設けられる押圧部分610・610からなり、一対の押圧部分610・610はケーブル500を挟んで対称に形成されている。また、押圧部分610は、嵌合側端部200Fに近づくにつれて押圧部分610が広がるように形成される斜面611を備えている(図3、図5、図6参照)。
また、図3及び図4に示すように、押圧部分610には、当該斜面611側から嵌合方向に向かって形成され、対向部601側に位置する側面部に貫通する貫通孔602を有している。この貫通孔602により押圧操作時における滑り止め機能が発揮されるとともに、メスハウジング200の軽量化及び成形に要する材料の削減が可能である。
図8は、図3における一点鎖線A1で示すメスハウジング200の断面を模式的に示す断面図であり、図9は、一点鎖線A2で示すメスハウジング200の断面を模式的に示す断面図である。図8及び図9に示すように、斜面611は、ケーブル500から離れた方向の端部において反った形状を有しており、当該端部において突起部611aが形成されている。突起部611aは、−X方向に向かって突出するように形成されている。
また、押圧部分610におけるケーブル500と反対側の縁部は、図3において二本の一点鎖線L1・L1で示すように、Z方向に向かうほど、それぞれ相互に近接するように傾斜している。
また、図1に示すようにメスハウジング200は、−Z方向に向かってメスハウジング200が広がるように形成される斜面230を両側面に備えている。掛け止め金具300は、斜面230を両側方から挟み込むように設置されている
掛け止め金具300は、バネ性を有する金属により構成されている。例えば、掛け止め金具300は、ばね鋼またはステンレス鋼などの金属材料により形成される。また、掛け止め金具300の使用状況に応じて、コーティング処理等が施されていてもよい。例えば、掛け止め金具300の耐候性または耐食性を向上させる場合には、亜鉛めっき、塗装またはクロメート処理等が施される。
図7に示すように、掛け止め金具300は、断面が略円形の一本の部材を屈曲させることにより形成される。掛け止め金具300には、上記の開口部222に対してメスハウジング200の中心方向に弾性を有するように湾曲して形成された掛け止め部315(図2参照)が設けられる。
図4及び図10を用いて掛け止め金具300の動きについて説明する。
図10は、図4におけるA3−A3断面における掛け止め金具300の動きを模式的に示す図である。
図4に示すように、掛け止め金具300は、メスハウジング200の案内溝210に沿ってZ方向と平行にスライド可能に設けられている。掛け止め金具300の押圧操作部301が−Z方向に向かって押圧され、掛け止め金具300が−Z方向にスライドした場合、案内溝210の開口部222からメスハウジング200の中央部に突出して設けられた掛け止め部315が案内溝210に沿って移動する。
このとき、図10に示すように、掛け止め金具300におけるメスハウジング200の側方に位置する当接部310(図4参照)が、メスハウジング200の側面に形成された、−Z方向に向かって上り坂となる斜面230に乗り上げるように移動する。これより、掛け止め金具300はY方向において開くように変形するとともに、メスハウジング200の両側面に位置する掛け止め部315も、−Z方向に変位するとともに、Y方向と平行に互いに離れるように変位して、開口部222から突出しなくなる。即ち、係止状態から非係止状態に移行することになる。
次に、相手側コネクタ2の形状について説明する。図11〜図14は、相手側コネクタ2の形状を説明するための模式図である。図11は相手側コネクタ2の正面図を示し、図12は相手側コネクタ2の左側面図を示し、図13は相手側コネクタ2の底面図を示す。また、図14は相手側コネクタ2の斜視図を示す。
オスハウジング400は、上述したメスハウジング200の略四角柱筒形状により内包される略四角柱筒形状を有する。
図11に示すように、オスハウジング400の内部には、第2接続端子401a,401bが設けられている。図2の第1の接続端子と同様に、本実施の形態に係る電気コネクタ100の極数は、2極である。そのため、第2接続端子401a,401bが、2つ並んで設けられている。オスハウジング400とメスハウジング200との嵌合時には、第2接続端子401aが、図2の第1接続端子201aと接続され、第2接続端子401bが、図2の第1接続端子201bと接続される。
図11に示すように、オスハウジング400の内部には、長方形溝402とT字溝403とが形成されている。これらの長方形溝402とT字溝403とには、テーパ形状が形成されている。このテーパ形状は、第2接続端子401a,401bおよびメスハウジング200の第1接続端子201a,201bとの嵌挿をスムーズにするとともに、嵌合時に長方形リブ202とT字リブ203との密着度を向上させるために設けられる。
さらに、オスハウジング400とメスハウジング200との逆嵌合を防止するため、長方形溝402とT字溝403との形状が異なるように設けられている。また、長方形溝402とT字溝403とを設けることによりメスハウジング200とオスハウジング400との勘合時における捩り方向の耐性を向上させることができる。
また、図11に示すように、オスハウジング400の4隅には、スリット405a,405b,405c,405dが設けられている。このスリット405a,405b,405c,405dは、オスハウジング400とメスハウジング200との嵌挿完了時にメスハウジング200の内部のスリットリブ205a,205b,205c,205dと当接するように設けられる。
さらに、オスハウジング400の各面のうち一の面には、リブ450a,450bが設けられ、他の一の面には、リブ450c,450d,450eが設けられ、他の一の面には、リブ450f,450gが設けられ、他の一の面には、リブ450h,450iが設けられる。これらのリブ450a〜450iは、オスハウジング400とメスハウジング200との嵌合完了時にメスハウジング200のスリット250a〜250iと当接するように設けられている。
また、これらのスリット405a,405b,405c,405dおよびリブ450a〜450iには、中心から外側に向けて幅が狭くなるテーパ形状が設けられる。
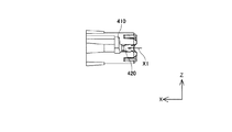
続いて、図12及び図14に示すように、オスハウジング400には、Z方向と平行な方向に固定溝410が形成されている。固定溝410は、YZ平面と平行な断面において略V字形状が形成された溝から形成されており、略V字形状の一方の傾斜が緩やかで、他方の傾斜が急に形成されている。すなわち、掛け止め金具300がZ方向に移動しやすく、−Z方向に移動し難い状態で略V字形状が形成されている。
また、図13及び図14に示すように、オスハウジング400の端部から固定溝410に向かって矢印X1の方向に凸形状部420が設けられている。凸形状部420は、XY平面における断面において略台形状からなる。
次に、メスハウジング200をオスハウジング400に嵌合させる動作について説明する。図15は、作業者が指先でメスハウジング200を嵌合方向へ押圧操作している状態を模式的に示した図である。
図15に示すように、作業者は、例えば、メスハウジング200における一対の押圧部分610・610の一方に親指を、他方に人差し指を接触させて、挟み込むように押圧部600を保持し、そのまま、オスハウジング400に向かって嵌合方向(X方向)に押圧操作することによりメスハウジング200をオスハウジング400に嵌合させる。
ここで、嵌合時に、図12に示す凸形状部420の面上をメスハウジング200の開口部222から突出した掛け止め部315が矢印X1の方向に移動するとともに、凸形状部420に沿って嵌合方向と垂直方向に変位する。そして、掛け止め部315は、凸形状部420を乗り越えて、固定溝410に滑落する。この場合、掛け止め部315は、掛け止め金具300の弾性回復により、固定溝410に落ち込み、オスハウジング400に対して、掛け止め部315が係止され、嵌合離脱方向(−X方向)へのメスハウジング200の変位が拘束されることになる。
このように、掛け止め金具300の弾性変形を伴いながら嵌合されるため、作業者は、掛け止め金具300を弾性変形させるために必要な押圧力をメスハウジング200に与える必要がある。
本実施形態のメスハウジング200の形状によれば、押圧部600には斜面611が形成されているため(図3、図5参照)、指先の接触面積を大きくすることができるとともに、指先がフィットしやすく、上記押圧力を容易に作用させることが可能となる。また、斜面611の端部に突起部611a(図3、図8、図9参照)が形成されているため、指先が引っかかりやすく、滑りにくい。これより、確実に力を伝えることが可能となる。
また、嵌合方向に対して垂直な方向(Y方向と平行な方向)に掛け止め部315が変位するように掛け止め金具300を変形させて係止を解除する構造であるため、係止状態と非係止状態との移行時における掛け止め金具300の変形量をより小さくでき、変形に要する力も小さくてすむ。その結果、嵌合の際に小さい力で嵌合することができる。
そして、押圧部600の掛け止め金具300に対向する対向部601がY方向と平行な平面として形成されているので、掛け止め金具300のY方向における変形を妨げることはなく、掛け止め金具300の変形に要する力を小さくすることができる。
さらに、掛け止め金具300は、押圧方向から押圧部600に覆われているため、押圧時に指先が掛け止め金具300に触れにくく、指で掛け止め金具300の変形を拘束しにくい。よって、より小さな押圧力で嵌合を行うことができる。
また、一対の押圧部分610・610はケーブル500を挟んで対称に形成されているため、メスハウジング200に対して、ケーブル500を挟んで対称な押圧力を付与しやすくなるため、より小さい力で嵌合可能となる。
また、一対の押圧部分610・610の縁部610aはそれぞれ相互に近接するように傾斜している。図16に、相手側コネクタ2から視た押圧部分610と作業者の指先との位置関係を説明する模式図を示す。図16に示すように、押圧部分610の縁部610aが近接する側から親指と人差し指で押圧部を挟み込むように差込側コネクタ1を保持して押圧した場合、縁部610aが傾斜していることにより、各指先で挟み込む面(点線B1、B2で示す)の角度と縁部610aの傾斜角度とが近づくため、各指先が押圧部にフィットしやすくなる。したがって、押圧しやすく、安定して押圧操作を行うことが可能となる。
特に、嵌合の際にバネ部材の変形を伴うようなコネクタにおいては、必要な押圧力が他のコネクタに比べて大きくなるため、本実施形態のようにコネクタハウジングを押圧しやすい形状にすることは効果的である。
以上、本発明の実施形態について説明したが、本発明は上述の実施の形態に限られるものではなく、特許請求の範囲に記載した限りにおいて様々に変更して実施することができるものである。
本発明の実施形態に係る電気コネクタを示す模式的斜視図である。 図1に示す差込側コネクタの正面図である。 図1に示す差込側コネクタの背面図である。 図1に示す差込側コネクタの左側面図である。 図1に示す差込側コネクタの平面図である。 図1に示す差込側コネクタの底面図である。 図1に示す差込側コネクタの前方から視た斜視図である。 図3における一点鎖線A1で示す断面を模式的に示す断面図である。 図3における一点鎖線A2で示す断面を模式的に示す断面図である。 図4におけるA3−A3断面における掛け止め金具300の動きを模式的に示す図である。 図1に示す相手側コネクタの正面図である。 図1に示す相手側コネクタの左側面図である。 図1に示す相手側コネクタの底面図である。 図1に示す相手側コネクタの斜視図である。 嵌合方向への押圧操作を説明する模式図である。 押圧部分と作業者の指先との位置関係を説明する模式図を示す。
符号の説明
1 差込側コネクタ
2 相手側コネクタ
200 メスハウジング(ハウジング本体)
200F 嵌合側端部
200R 押圧操作側端部
300 掛け止め金具(バネ部材)
400 オスハウジング
500 ケーブル
600 押圧部
601 対向部
610 押圧部分
610a 縁部
611 斜面
611a 突起部

Claims (3)

  1. ハウジング本体と、当該ハウジング本体に取り付けられたバネ部材と、を備え、
    前記ハウジング本体が相手側コネクタに向かった嵌合方向に押圧されることにより、前記バネ部材の弾性変形を伴いながら当該相手側コネクタに嵌合されるとともに当該バネ部材の弾性回復により当該相手側コネクタに対して当該バネ部材が係止されて嵌合離脱方向の変位が固定される差込側コネクタであって、
    前記ハウジング本体は、前記相手側コネクタに対向する嵌合側端部と逆側の端部である押圧操作側端部において、前記嵌合方向に押圧操作される押圧部を有し、
    前記押圧部は、前記嵌合側端部に近づくにつれて当該押圧部が広がるように形成される一対の斜面と、当該斜面から突出する突起部とを有し、
    前記押圧部における前記斜面の拡開側の両縁部が、前記嵌合方向から見て互いに近づくように傾斜していることを特徴とする差込側コネクタ。
  2. 前記バネ部材は、前記ハウジング本体を両側方から挟み込むように設置されており、嵌合状態への移行時に前記嵌合方向に対して垂直な方向に広がるように弾性変形するとともに嵌合状態に至ると弾性回復により前記相手側コネクタに対して係止され、
    前記押圧部は、前記嵌合方向から見て前記バネ部材の少なくとも一部を覆うように形成されているとともに当該バネ部材に対向する対向部は前記弾性変形の方向と平行な平面となるように形成されていることを特徴とする請求項1に記載の差込側コネクタ。
  3. 前記押圧部は、前記押圧部側端部から延出するケーブルを挟んで一対で設けられる押圧部分からなり、一対の当該押圧部分はケーブルを挟んで対称に形成されていることを特徴とする請求項1又は請求項2に記載の差込側コネクタ。
JP2006250422A 2006-09-15 2006-09-15 差込側コネクタ Active JP4828362B2 (ja)

Priority Applications (1)

Application Number Priority Date Filing Date Title
JP2006250422A JP4828362B2 (ja) 2006-09-15 2006-09-15 差込側コネクタ

Applications Claiming Priority (1)

Application Number Priority Date Filing Date Title
JP2006250422A JP4828362B2 (ja) 2006-09-15 2006-09-15 差込側コネクタ

Publications (2)

Publication Number Publication Date
JP2008071665A JP2008071665A (ja) 2008-03-27
JP4828362B2 true JP4828362B2 (ja) 2011-11-30

Family

ID=39293068

Family Applications (1)

Application Number Title Priority Date Filing Date
JP2006250422A Active JP4828362B2 (ja) 2006-09-15 2006-09-15 差込側コネクタ

Country Status (1)

Country Link
JP (1) JP4828362B2 (ja)

Families Citing this family (2)

* Cited by examiner, † Cited by third party
Publication number Priority date Publication date Assignee Title
KR101091320B1 (ko) 2009-09-16 2011-12-07 현대자동차주식회사 차량용 고전압 커넥터
JP6534301B2 (ja) * 2015-06-17 2019-06-26 矢崎総業株式会社 コネクタ装置

Family Cites Families (4)

* Cited by examiner, † Cited by third party
Publication number Priority date Publication date Assignee Title
JPS62152379A (ja) * 1985-12-25 1987-07-07 Matsushita Electric Ind Co Ltd 2方向微小変位装置
JPS63184581A (ja) * 1987-11-21 1988-07-30 ヤマハ発動機株式会社 荒地走行用車輌
JP3775345B2 (ja) * 2002-05-28 2006-05-17 住友電装株式会社 コネクタ
JP4361023B2 (ja) * 2005-01-19 2009-11-11 日本圧着端子製造株式会社 電気コネクタ

Also Published As

Publication number Publication date
JP2008071665A (ja) 2008-03-27

Similar Documents

Publication Publication Date Title
JP2000003763A (ja) コネクタのロック機構
US6676433B1 (en) Connector
KR101977535B1 (ko) 커넥터 및 커넥터 조립체
JP2006085989A (ja) Ffc用挿入ガイド
US10199768B2 (en) Connector
KR20130138673A (ko) 커넥터
US7699642B2 (en) Connector having a locking mechanism excellent in operability
JP3741351B2 (ja) 半嵌合防止コネクタ
JP5005498B2 (ja) 掛け止め金具、掛け止め金具付きコネクタハウジング及び掛け止め金具付きコネクタ
JP4755056B2 (ja) コネクタ
JPH10199622A (ja) コネクタ用二重ロック
JP2004146182A (ja) コネクタ
JP4989534B2 (ja) コネクタ
US8425248B2 (en) Plug electrical connector with elastic latch
US12199370B2 (en) Connector and electronic device
JP4828362B2 (ja) 差込側コネクタ
JP4440122B2 (ja) フレキシブル配線部材用コネクタ
JP2019023961A (ja) 接触片を有する端子、コネクタ、及びコネクタ装置
JP6244832B2 (ja) 電気コネクタ
JP2016115404A (ja) コネクタ
US12080966B2 (en) Connector and electronic device
JP2008097956A (ja) コネクタのロック機構
JP2004311113A (ja) 電気コネクタ
JP4828363B2 (ja) 差込側コネクタ
JP2008108711A (ja) カードエッジコネクタ

Legal Events

Date Code Title Description
A621 Written request for application examination

Free format text: JAPANESE INTERMEDIATE CODE: A621

Effective date: 20090826

A977 Report on retrieval

Free format text: JAPANESE INTERMEDIATE CODE: A971007

Effective date: 20110525

A131 Notification of reasons for refusal

Free format text: JAPANESE INTERMEDIATE CODE: A131

Effective date: 20110531

A521 Request for written amendment filed

Free format text: JAPANESE INTERMEDIATE CODE: A523

Effective date: 20110720

TRDD Decision of grant or rejection written
A01 Written decision to grant a patent or to grant a registration (utility model)

Free format text: JAPANESE INTERMEDIATE CODE: A01

Effective date: 20110913

A01 Written decision to grant a patent or to grant a registration (utility model)

Free format text: JAPANESE INTERMEDIATE CODE: A01

A61 First payment of annual fees (during grant procedure)

Free format text: JAPANESE INTERMEDIATE CODE: A61

Effective date: 20110914

FPAY Renewal fee payment (event date is renewal date of database)

Free format text: PAYMENT UNTIL: 20140922

Year of fee payment: 3

R150 Certificate of patent or registration of utility model

Ref document number: 4828362

Country of ref document: JP

Free format text: JAPANESE INTERMEDIATE CODE: R150

Free format text: JAPANESE INTERMEDIATE CODE: R150

R250 Receipt of annual fees

Free format text: JAPANESE INTERMEDIATE CODE: R250

R250 Receipt of annual fees

Free format text: JAPANESE INTERMEDIATE CODE: R250

R250 Receipt of annual fees

Free format text: JAPANESE INTERMEDIATE CODE: R250

R250 Receipt of annual fees

Free format text: JAPANESE INTERMEDIATE CODE: R250

R250 Receipt of annual fees

Free format text: JAPANESE INTERMEDIATE CODE: R250

R250 Receipt of annual fees

Free format text: JAPANESE INTERMEDIATE CODE: R250

R250 Receipt of annual fees

Free format text: JAPANESE INTERMEDIATE CODE: R250

R250 Receipt of annual fees

Free format text: JAPANESE INTERMEDIATE CODE: R250

R250 Receipt of annual fees

Free format text: JAPANESE INTERMEDIATE CODE: R250

R250 Receipt of annual fees

Free format text: JAPANESE INTERMEDIATE CODE: R250

R250 Receipt of annual fees

Free format text: JAPANESE INTERMEDIATE CODE: R250

R250 Receipt of annual fees

Free format text: JAPANESE INTERMEDIATE CODE: R250