JP4801573B2 - 走査電子顕微鏡 - Google Patents

走査電子顕微鏡 Download PDF

Info

Publication number
JP4801573B2
JP4801573B2 JP2006332747A JP2006332747A JP4801573B2 JP 4801573 B2 JP4801573 B2 JP 4801573B2 JP 2006332747 A JP2006332747 A JP 2006332747A JP 2006332747 A JP2006332747 A JP 2006332747A JP 4801573 B2 JP4801573 B2 JP 4801573B2
Authority
JP
Japan
Prior art keywords
objective lens
magnetic pole
coil
gap
magnetic field
Prior art date
Legal status (The legal status is an assumption and is not a legal conclusion. Google has not performed a legal analysis and makes no representation as to the accuracy of the status listed.)
Expired - Fee Related
Application number
JP2006332747A
Other languages
English (en)
Other versions
JP2008147013A (ja
Inventor
直正 鈴木
博之 伊藤
一郎 立花
Current Assignee (The listed assignees may be inaccurate. Google has not performed a legal analysis and makes no representation or warranty as to the accuracy of the list.)
Hitachi High Tech Corp
Original Assignee
Hitachi High Technologies Corp
Priority date (The priority date is an assumption and is not a legal conclusion. Google has not performed a legal analysis and makes no representation as to the accuracy of the date listed.)
Filing date
Publication date
Application filed by Hitachi High Technologies Corp filed Critical Hitachi High Technologies Corp
Priority to JP2006332747A priority Critical patent/JP4801573B2/ja
Priority to US11/953,496 priority patent/US7619219B2/en
Publication of JP2008147013A publication Critical patent/JP2008147013A/ja
Application granted granted Critical
Publication of JP4801573B2 publication Critical patent/JP4801573B2/ja
Expired - Fee Related legal-status Critical Current
Anticipated expiration legal-status Critical

Links

Images

Classifications

    • HELECTRICITY
    • H01ELECTRIC ELEMENTS
    • H01JELECTRIC DISCHARGE TUBES OR DISCHARGE LAMPS
    • H01J37/00Discharge tubes with provision for introducing objects or material to be exposed to the discharge, e.g. for the purpose of examination or processing thereof
    • H01J37/02Details
    • H01J37/04Arrangements of electrodes and associated parts for generating or controlling the discharge, e.g. electron-optical arrangement or ion-optical arrangement
    • H01J37/10Lenses
    • H01J37/14Lenses magnetic
    • H01J37/141Electromagnetic lenses
    • HELECTRICITY
    • H01ELECTRIC ELEMENTS
    • H01JELECTRIC DISCHARGE TUBES OR DISCHARGE LAMPS
    • H01J37/00Discharge tubes with provision for introducing objects or material to be exposed to the discharge, e.g. for the purpose of examination or processing thereof
    • H01J37/26Electron or ion microscopes; Electron or ion diffraction tubes
    • H01J37/28Electron or ion microscopes; Electron or ion diffraction tubes with scanning beams
    • HELECTRICITY
    • H01ELECTRIC ELEMENTS
    • H01JELECTRIC DISCHARGE TUBES OR DISCHARGE LAMPS
    • H01J2237/00Discharge tubes exposing object to beam, e.g. for analysis treatment, etching, imaging
    • H01J2237/10Lenses
    • H01J2237/14Lenses magnetic
    • H01J2237/1405Constructional details
    • HELECTRICITY
    • H01ELECTRIC ELEMENTS
    • H01JELECTRIC DISCHARGE TUBES OR DISCHARGE LAMPS
    • H01J2237/00Discharge tubes exposing object to beam, e.g. for analysis treatment, etching, imaging
    • H01J2237/10Lenses
    • H01J2237/14Lenses magnetic
    • H01J2237/1405Constructional details
    • H01J2237/141Coils
    • HELECTRICITY
    • H01ELECTRIC ELEMENTS
    • H01JELECTRIC DISCHARGE TUBES OR DISCHARGE LAMPS
    • H01J2237/00Discharge tubes exposing object to beam, e.g. for analysis treatment, etching, imaging
    • H01J2237/244Detection characterized by the detecting means

Landscapes

  • Chemical & Material Sciences (AREA)
  • Analytical Chemistry (AREA)
  • Physics & Mathematics (AREA)
  • Electromagnetism (AREA)
  • Analysing Materials By The Use Of Radiation (AREA)

Description

本発明は走査電子顕微鏡、特に試料から発生する電子の検出効率の低下を防止した走査電子顕微鏡に関する。
走査電子顕微鏡は、電子源で発生した一次電子を集束レンズおよび対物レンズにて細く絞り、試料上を走査しながら照射することにより試料から二次電子を発生させ、発生した二次電子を検出し、その検出信号を電子ビームの走査と同期して画像化処理することで試料の走査像を形成する装置である。
この走査電子顕微鏡において、二次電子の検出効率は試料像のS/N(信号ノイズ比)をあげる上で重要な要因である。二次電子の検出効率を上げるには、試料から放出される電子のうち、検出する電子の量を増やすことが必要である。
試料から放出される電子は、様々なエネルギーをもっている。一般的に50eVよりエネルギーの低い電子を二次電子、高い電子を反射電子と呼ぶ。検出器には、試料から放出された電子(特にエネルギーの低い二次電子)を引き込むために10kV程度の正の引き込み電圧が印加されている。
一方、走査電子顕微鏡では、試料像の分解能向上のための施策の一つとして、対物レンズの磁界を通る一次電子を加速させる方法がある。一次電子を加速させるために、対物レンズ内に電極を設ける方法のほかに、対物レンズの磁極の一部を電気的に絶縁させて正電圧を印加する方法がある。この方法の場合、対物レンズが作る磁界と、電圧を印加させたことによる電界のズレが少なくなり、分解能向上につながる(例えば、特許文献1参照)。
しかしながらこの場合には、電気的に絶縁させた間隙は磁気的にも絶縁されており、この間隙より磁場が漏洩してしまう。この漏洩した磁場が試料と検出器の間に存在すると、試料から発生した電子が検出器の方向へ進行する途中で、上記漏洩磁場により検出器へ向かう電子の軌道を曲げてしまい、検出器に到達する電子の量が少なくなってしまう。このため、試料像のS/Nが悪くなってしまうという問題があった。
特開平9−171791号公報
本発明は、対物レンズの間隙からの漏洩磁場が試料から発生した電子に影響が出ないようにして、検出器で検出される電子の検出効率を低下させないようにすることを目的とする。
本発明の実施態様によれば、電子源で発生した一次電子を加速させる磁極兼電極と、該磁極兼電極を含み磁極兼電極と他の磁極との間が電気的および磁気的に絶縁された間隙とを有し、該間隙と、電子の検出器の検出面との中間位置に、対物レンズと同心となる補助コイルを配置し、補助コイルに対物レンズコイルに流れる電流とは逆向きの電流を流す構成としたものである。
本発明によれば、対物レンズの間隙からの漏洩磁場が試料から発生した電子に影響が出ないため、検出器で検出される電子の検出効率の低下を防止することができる。
以下、本発明の一実施例を図面を参照しながら説明する。
図1は、本発明の第一実施例を示し、走査電子顕微鏡の構成を表す略縦断面図であり、真空カラムは省略している。各構成機器はマイクロプロセッサ50により制御される。電子源である陰極1と第一陽極2の間には、マイクロプロセッサ50で制御される高電圧制御電源30により引出電圧が印加され、所定のエミッション電流の一次電子4が陰極1から引き出される。陰極1と第二陽極3の間にはマイクロプロセッサ50で制御される高電圧制御電源30により加速電圧が印加されるため、陰極1から放出された一次電子4は加速されて後段のレンズ系に進行する。
一次電子4は、第一集束レンズ制御電源31で制御された第一集束レンズ5で集束され、絞り板6により一次電子4の不要な領域が制限される。その後、一次電子4は第二集束レンズ制御電源32で制御された第二集束レンズ7、および、対物レンズ制御電源36で制御された対物レンズコイル12を有する対物レンズ11により試料13に対して細く絞られる。また、マイクロプロセッサ50で発生された観察倍率に応じた走査信号を、走査偏向器制御電源33により制御して走査偏向器8に与えることにより、試料13は一次電子4で二次元的に走査される。
対物レンズ11の磁極には、電気的および磁気的に絶縁された間隙11aを介して磁極兼電極11bが設けられている。磁極兼電極11bには加速電極制御電源37により制御された正電圧が印加され、対物レンズ11を通る一次電子4を加速させる。対物レンズ
11と第二集束レンズ7との間であって間隙11aに隣接して、補助コイル10が配置されている。補助コイル10に流れる電流は、補助コイル制御電源35により制御される。
一次電子4の照射により試料13から発生した二次電子14は検出器9に印加された正電圧により検出器9に引き込まれ、検出される。その検出信号を走査偏向器制御電源33による一次電子4の走査と同期してマイクロプロセッサ50にて処理し、像表示装置34に試料像として表示される。
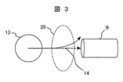
図2は図1の対物レンズ11まわりの部分を拡大した断面図であるが、図1とは補助コイル10が設けられていない点が異なり、本発明に対する従来技術を示すものである。また、図3は図2を第二集束レンズ7側の上方から見た平面図である。対物レンズ11に間隙11aがある場合、その間隙11aで対物レンズ11の磁場が漏洩する。図では漏洩磁場20の磁束線を模式的に表わしている。試料13から発生した二次電子14の軌道がこの漏洩磁場20の位置と重なるため、図3に示すように、二次電子14の軌道は本来破線のようになるべきところを実線のように曲げられてしまい、二次電子14が検出器9から外れ、検出効率が低下してしまう。
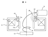
図4および図5は、図2と同じく図1の対物レンズ11まわりの部分を拡大した断面図であり、本発明の補助コイル10を設けたものである。漏洩磁場20の磁束線を実線、補助コイル10による発生磁場の磁束線を破線で表している。
対物レンズ11の間隙11aが上方、すなわち第二集束レンズ7側にある場合、漏洩磁場20は上方に向かうので、二次電子14が検出器9に向かう軌道に対して大きく影響する。したがって、補助コイル10を、間隙11aと検出器9の検出面9aとの中間位置に設けることによって、漏洩磁場20の影響を低減させる。対物レンズコイル12に流れる電流とは逆向きの電流を、補助コイル10に流すことにより、補助コイル10による磁場21が発生する。この磁場21と対物レンズ11の漏洩磁場20とが打ち消しあって、図5に示すように、漏洩磁場20を減少させることができる。これにより、二次電子14の軌道に対する漏洩磁場20の影響をなくすことができるため、検出器9による二次電子
14の検出効率の低下を防止することができる。
対物レンズ11の間隙11aで漏洩する漏洩磁場20の強度は、対物レンズ11のコイル12を流れる電流に比例して増加する。そのため、この漏洩磁場20を打ち消すためには、補助コイル10の電流も対物レンズコイル12の電流に比例して制御する。
図6は、対物レンズコイル12および補助コイル10に流す電流を対物レンズ制御電源36で制御する場合の概略構成図である。対物レンズ11の漏洩磁場20を打ち消すために必要な補助コイル10にて発生させる磁場21を、対物レンズコイル12と同じ電流を補助コイル10に流した時に発生できるように、補助コイル10の巻き数を決定しておく。そして、図6に示すように、対物レンズコイル12と補助コイル10とを直列に接続し、電流の向きが逆になるように電流を流す。このような構成により、対物レンズコイル
12と補助コイル10とを、対物レンズ制御電源36のみで制御することが可能となり、補助コイル制御電源35は不要となる。
図7は本発明の第二実施例を示すもので、図2と同様に、図1の対物レンズ11まわりの部分を拡大した断面図であるが、新たに反射板16を設けている。
試料13から発生した反射電子15を反射板16に衝突させ、そこから発生した二次電子14を検出器9で検出する構成においても、対物レンズ11からの漏洩磁場20の影響を防止するために、補助コイル10を設けることが有効である。なお、反射電子15のかわりに二次電子を反射板16に衝突させる構成であっても同様である。
対物レンズ11の間隙11aが上方、すなわち第二集束レンズ7側にある場合には、漏洩磁場20は上方に向かうので、反射電子15の軌道よりも、反射板16に衝突した後で発生する二次電子14が検出器9に向かう軌道への影響が大きい。したがって、補助コイル10を、間隙11aと検出器9の検出面9aとの中間位置に設けることによって、漏洩磁場20の影響を大きく低減することが可能となる。
以上述べたように、対物レンズに磁気的な間隙がある場合には、電子の検出効率を低下させないために、その間隙からの漏洩磁場を試料から発生した電子の軌道に影響を与えないようにする必要がある。本発明の実施態様によれば、該間隙と検出器の電子線検出面との中間位置に、漏洩磁場の磁束の方向とは逆方向の磁束を有する磁場を発生させるような補助コイルを配置することで、試料から発生した電子の軌道に影響を与えないようにでき、電子線の検出効率の低下を防止することができる。
走査電子顕微鏡の構成を表す略縦断面図。 図1の対物レンズ11まわりの部分を拡大した断面図。 図2を第二集束レンズ7側の上方から見た平面図。 図1の対物レンズ11まわりの部分を拡大した断面図。 図1の対物レンズ11まわりの部分を拡大した断面図。 対物レンズコイル12および補助コイル10に流す電流を対物レンズ制御電源36で制御する場合の概略構成図。 図1の対物レンズ11まわりの部分を拡大した断面図。
符号の説明
4 一次電子
9 検出器
10 補助コイル
11 対物レンズ
11a 間隙
11b 磁極兼電極
12 対物レンズコイル
13 試料
14 二次電子
15 反射電子
16 反射板
20 漏洩磁場
21 磁場
35 補助コイル制御電源
36 対物レンズ制御電源
50 マイクロプロセッサ

Claims (5)

  1. 電子源で発生した一次電子を加速させる磁極兼電極と、当該磁極兼電極とは異なる他の磁極とを備え、当該磁極兼電極の一端と他の磁極との間に、当該磁極兼電極と他の磁極を電気的および磁気的に絶縁する第1の間隙を有すると共に、当該第1の間隙に対して試料側に位置し、当該磁極兼電極の他端と他の磁極との間に、当該磁極兼電極と他の磁極を電気的および磁気的に絶縁し、前記一次電子を集束する漏洩磁場を生じさせる第2の間隙を有する対物レンズと、
    前記一次電子が前記試料に照射されて該試料から発生する電子を検出する検出器と、
    該検出器の検出面と前記第1の間隙との中間位置に設けられ、前記対物レンズのコイルと同心であって、前記第1の間隙で発生する漏洩磁場を打ち消す磁場を発生する補助コイルと
    を備えたことを特徴とする走査電子顕微鏡。
  2. 請求項1の記載において、
    前記対物レンズのコイルに流す電流の向きと前記補助コイルに流す電流の向きが反対であることを特徴とする走査電子顕微鏡。
  3. 請求項1の記載において、
    前記補助コイルに流れる電流は、前記対物レンズのコイルに流れる電流に比例するように制御することを特徴とする走査電子顕微鏡。
  4. 請求項1の記載において、
    前記補助コイルと前記対物レンズコイルは同一の電源から電流が供給されることを特徴とする走査電子顕微鏡。
  5. 請求項1の記載において、
    前記補助コイルと前記対物レンズコイルは電気的に直列に接続され、電流が互いに逆向きに流れるように構成したことを特徴とする走査電子顕微鏡。
JP2006332747A 2006-12-11 2006-12-11 走査電子顕微鏡 Expired - Fee Related JP4801573B2 (ja)

Priority Applications (2)

Application Number Priority Date Filing Date Title
JP2006332747A JP4801573B2 (ja) 2006-12-11 2006-12-11 走査電子顕微鏡
US11/953,496 US7619219B2 (en) 2006-12-11 2007-12-10 Scanning electron microscope

Applications Claiming Priority (1)

Application Number Priority Date Filing Date Title
JP2006332747A JP4801573B2 (ja) 2006-12-11 2006-12-11 走査電子顕微鏡

Publications (2)

Publication Number Publication Date
JP2008147013A JP2008147013A (ja) 2008-06-26
JP4801573B2 true JP4801573B2 (ja) 2011-10-26

Family

ID=39496857

Family Applications (1)

Application Number Title Priority Date Filing Date
JP2006332747A Expired - Fee Related JP4801573B2 (ja) 2006-12-11 2006-12-11 走査電子顕微鏡

Country Status (2)

Country Link
US (1) US7619219B2 (ja)
JP (1) JP4801573B2 (ja)

Families Citing this family (7)

* Cited by examiner, † Cited by third party
Publication number Priority date Publication date Assignee Title
CN102901471B (zh) * 2011-07-26 2015-06-03 中国科学院物理研究所 纳米图形化和超宽频电磁特性测量系统
JP6177817B2 (ja) 2015-01-30 2017-08-09 松定プレシジョン株式会社 荷電粒子線装置及び走査電子顕微鏡
CN108292580B (zh) 2015-12-03 2019-06-11 松定精度株式会社 荷电粒子线装置及扫描电子显微镜
CZ2016597A3 (cs) * 2016-09-26 2018-05-02 Tescan Brno, S.R.O. Objektivová čočka pro zařízení využívající nejméně jednoho svazku nabitých částic
US11621144B2 (en) * 2018-08-03 2023-04-04 Nuflare Technology, Inc. Electron optical system and multi-beam image acquiring apparatus
WO2020108801A1 (en) * 2018-11-30 2020-06-04 Arcam Ab Apparatus and method for forming a three-dimensional article
US12165831B2 (en) * 2022-05-31 2024-12-10 Kla Corporation Method and system of image-forming multi-electron beams

Family Cites Families (11)

* Cited by examiner, † Cited by third party
Publication number Priority date Publication date Assignee Title
JPS5973840A (ja) * 1982-10-20 1984-04-26 Jeol Ltd 走査電子顕微鏡用対物レンズ
JPS6364255A (ja) * 1986-09-04 1988-03-22 Tadao Suganuma 粒子線照射装置
JPH0917368A (ja) * 1995-06-29 1997-01-17 Jeol Ltd 単磁極型対物レンズおよび走査電子顕微鏡
JP3774953B2 (ja) 1995-10-19 2006-05-17 株式会社日立製作所 走査形電子顕微鏡
JP3966350B2 (ja) * 1995-10-19 2007-08-29 株式会社日立製作所 走査形電子顕微鏡
EP0769799B1 (en) * 1995-10-19 2010-02-17 Hitachi, Ltd. Scanning electron microscope
JP3515273B2 (ja) * 1996-03-27 2004-04-05 日本電子株式会社 電子顕微鏡
JPH09274881A (ja) * 1996-04-05 1997-10-21 Jeol Ltd 走査電子顕微鏡
JP2005093464A (ja) * 2003-09-12 2005-04-07 Japan Superconductor Technology Inc マグネット及びnmr分析装置、mri装置又はicr質量分析装置
JP4732917B2 (ja) 2006-02-15 2011-07-27 株式会社日立ハイテクノロジーズ 走査型電子顕微鏡及び欠陥検出装置
US7888640B2 (en) * 2007-06-18 2011-02-15 Hitachi High-Technologies Corporation Scanning electron microscope and method of imaging an object by using the scanning electron microscope

Also Published As

Publication number Publication date
US20080135755A1 (en) 2008-06-12
US7619219B2 (en) 2009-11-17
JP2008147013A (ja) 2008-06-26

Similar Documents

Publication Publication Date Title
US5387793A (en) Scanning electron microscope
JP6177817B2 (ja) 荷電粒子線装置及び走査電子顕微鏡
US6555816B1 (en) Scanning electron microscope and sample observation method using the same
CN105144336B (zh) 电子枪、带电粒子枪及利用该电子枪、带电粒子枪的带电粒子束装置
JP2010055756A (ja) 荷電粒子線の照射方法及び荷電粒子線装置
US7619219B2 (en) Scanning electron microscope
JP3372138B2 (ja) 走査形電子顕微鏡
JP6312387B2 (ja) 粒子ビームデバイス及び粒子ビームデバイスを操作する方法
JP5504277B2 (ja) 走査電子顕微鏡
JPH10302705A (ja) 走査電子顕微鏡
JP5478683B2 (ja) 荷電粒子線の照射方法及び荷電粒子線装置
JP2008234981A (ja) X線管
JP2002324510A (ja) 走査電子顕微鏡
JP5337083B2 (ja) 磁場界浸型電子銃及び電子線装置
JP6204388B2 (ja) 荷電粒子線装置及び走査電子顕微鏡
JP3136353B2 (ja) 走査型電子顕微鏡の2次電子検出装置
JPH0773841A (ja) 走査電子顕微鏡と二次電子検出系
JP2001057172A (ja) 走査電子顕微鏡
JP3898614B2 (ja) 走査形電子顕微鏡
JP6462729B2 (ja) 荷電粒子線装置及び走査電子顕微鏡
JP3101141B2 (ja) 電子ビーム装置
JP2009205936A (ja) 走査電子顕微鏡
JP2004111404A (ja) 荷電粒子線照射装置
JP2005332663A (ja) X線発生装置および電子ビーム制御方法
JP2002124200A (ja) 電子銃装置及び陰極線管

Legal Events

Date Code Title Description
A621 Written request for application examination

Free format text: JAPANESE INTERMEDIATE CODE: A621

Effective date: 20081226

A521 Request for written amendment filed

Free format text: JAPANESE INTERMEDIATE CODE: A523

Effective date: 20081226

A977 Report on retrieval

Free format text: JAPANESE INTERMEDIATE CODE: A971007

Effective date: 20110406

A131 Notification of reasons for refusal

Free format text: JAPANESE INTERMEDIATE CODE: A131

Effective date: 20110510

A521 Request for written amendment filed

Free format text: JAPANESE INTERMEDIATE CODE: A523

Effective date: 20110624

TRDD Decision of grant or rejection written
A01 Written decision to grant a patent or to grant a registration (utility model)

Free format text: JAPANESE INTERMEDIATE CODE: A01

Effective date: 20110712

A01 Written decision to grant a patent or to grant a registration (utility model)

Free format text: JAPANESE INTERMEDIATE CODE: A01

A61 First payment of annual fees (during grant procedure)

Free format text: JAPANESE INTERMEDIATE CODE: A61

Effective date: 20110805

FPAY Renewal fee payment (event date is renewal date of database)

Free format text: PAYMENT UNTIL: 20140812

Year of fee payment: 3

R150 Certificate of patent or registration of utility model

Free format text: JAPANESE INTERMEDIATE CODE: R150

LAPS Cancellation because of no payment of annual fees