JP4792195B2 - 遠隔サービス提供システムおよび課金額算出方法 - Google Patents
遠隔サービス提供システムおよび課金額算出方法 Download PDFInfo
- Publication number
- JP4792195B2 JP4792195B2 JP2002521791A JP2002521791A JP4792195B2 JP 4792195 B2 JP4792195 B2 JP 4792195B2 JP 2002521791 A JP2002521791 A JP 2002521791A JP 2002521791 A JP2002521791 A JP 2002521791A JP 4792195 B2 JP4792195 B2 JP 4792195B2
- Authority
- JP
- Japan
- Prior art keywords
- service providing
- user
- remote service
- communication line
- system user
- Prior art date
- Legal status (The legal status is an assumption and is not a legal conclusion. Google has not performed a legal analysis and makes no representation as to the accuracy of the status listed.)
- Expired - Fee Related
Links
Images
Classifications
-
- G—PHYSICS
- G06—COMPUTING OR CALCULATING; COUNTING
- G06Q—INFORMATION AND COMMUNICATION TECHNOLOGY [ICT] SPECIALLY ADAPTED FOR ADMINISTRATIVE, COMMERCIAL, FINANCIAL, MANAGERIAL OR SUPERVISORY PURPOSES; SYSTEMS OR METHODS SPECIALLY ADAPTED FOR ADMINISTRATIVE, COMMERCIAL, FINANCIAL, MANAGERIAL OR SUPERVISORY PURPOSES, NOT OTHERWISE PROVIDED FOR
- G06Q10/00—Administration; Management
- G06Q10/10—Office automation; Time management
-
- G—PHYSICS
- G16—INFORMATION AND COMMUNICATION TECHNOLOGY [ICT] SPECIALLY ADAPTED FOR SPECIFIC APPLICATION FIELDS
- G16H—HEALTHCARE INFORMATICS, i.e. INFORMATION AND COMMUNICATION TECHNOLOGY [ICT] SPECIALLY ADAPTED FOR THE HANDLING OR PROCESSING OF MEDICAL OR HEALTHCARE DATA
- G16H40/00—ICT specially adapted for the management or administration of healthcare resources or facilities; ICT specially adapted for the management or operation of medical equipment or devices
- G16H40/60—ICT specially adapted for the management or administration of healthcare resources or facilities; ICT specially adapted for the management or operation of medical equipment or devices for the operation of medical equipment or devices
- G16H40/67—ICT specially adapted for the management or administration of healthcare resources or facilities; ICT specially adapted for the management or operation of medical equipment or devices for the operation of medical equipment or devices for remote operation
Landscapes
- Engineering & Computer Science (AREA)
- Business, Economics & Management (AREA)
- Health & Medical Sciences (AREA)
- General Business, Economics & Management (AREA)
- Biomedical Technology (AREA)
- Entrepreneurship & Innovation (AREA)
- Human Resources & Organizations (AREA)
- Strategic Management (AREA)
- Economics (AREA)
- Epidemiology (AREA)
- Tourism & Hospitality (AREA)
- Physics & Mathematics (AREA)
- Operations Research (AREA)
- General Physics & Mathematics (AREA)
- Theoretical Computer Science (AREA)
- Marketing (AREA)
- Data Mining & Analysis (AREA)
- Quality & Reliability (AREA)
- General Health & Medical Sciences (AREA)
- Medical Informatics (AREA)
- Primary Health Care (AREA)
- Public Health (AREA)
- Measuring And Recording Apparatus For Diagnosis (AREA)
- Management, Administration, Business Operations System, And Electronic Commerce (AREA)
- Telephonic Communication Services (AREA)
Description
本発明は、患者等の利用者が所持する測定装置と医療機関等のサービス提供者のコンピュータとを通信回線を介して接続することにより、各利用者の測定データをサービス提供者のコンピュータへ送信して管理すると共に、この測定データに基づいた医師等の診断や指導等のサービスを、前記通信回線を介して遠隔的に提供することが可能な遠隔サービス提供システムに関する。
背景技術
旧来、医療機関外において患者が種々のデータを自己測定することができる個人用測定装置(例えば、心電図計、血圧計、血糖値計、または尿分析装置等)が知られている。
例えば、日常的に血糖コントロールを行うことが必要な糖尿病患者の場合、このような個人用測定装置(血糖値計)を用いて1日4回(朝昼夜食前または後、および就寝前)の血糖測定を行い、測定結果を診療手帳等に記録しておく。そして、1ヶ月に1回あるいはそれ以上の間隔で通院する際に、それまでの測定記録を医師に提示し、血糖値の管理状況等について指導を受ける。
しかし、患者が遠隔地に住んでいるために通院が困難であったり、測定データの記録を患者に任せる方法では患者が測定データを記録し忘れることがある、というような問題があった。
このため、個人用測定装置を、電話回線等の公衆回線を介して医療機関等のサーバに接続できるようにし、患者が測定を行う毎に個人用測定装置からサーバに測定データを送信することにより、正確な測定データを医療機関に収集すると共に、必要な場合には、収集した測定データに基づいた医師の診断結果や指導等を、サーバから患者の個人用測定装置へ送信し、患者が自宅に居ながらにして医療サービスを受けることを可能とした、いわゆる遠隔医療システムが提案され、一部では既に実用化されている。
上記した従来の遠隔医療システムは、一般的に、医療機関以外の第三者機関がシステム管理者として運営管理しており、料金体系は定額制である。また、患者が各月に受けることのできるサービスの回数が制限されているのが一般的であり、各患者は各月に決められた回数だけ医師からの指導等を受けることができるようになっている。
しかし、料金が定額であるので、当該月に一度もサービスを利用しなかったとしても、患者は決まった額の料金を支払わねばならず、そのような場合に患者が割高感を抱きやすいという問題があった。さらに、一月に受けることのできるサービスの回数が制限されているので、患者が必要とするときに十分なサービスを提供することができないという問題もあった。
本発明は、これらの問題を解決するために、システム管理者が、各システム利用者のシステム利用度に応じた課金額を算出することを可能とすることにより、システム利用者やサービス提供者(医療機関等)にとって課金額についての不公平感がなく、必要なときに十分なサービスをシステム利用者へ供与することができる遠隔指導システムを提供することを目的とする。
発明の開示
上記の目的を達成するために、本発明にかかる遠隔サービス提供システムは、システム利用者の有する測定装置とサービス提供者のサービス提供装置とを通信回線を介して接続し、前記測定装置による測定データを前記通信回線を介して前記サービス提供装置へ送信する一方、前記サービス提供装置から前記システム利用者に対し、前記通信回線を介してサービスを提供する遠隔サービス提供システムにおいて、前記サービス提供装置に、各システム利用者のシステム利用状況を含むシステム利用情報を記憶するシステム利用情報記憶部が設けられ、前記サービス提供装置と通信回線を介して接続され、前記サービス提供装置から前記通信回線を介して前記システム利用情報を取得する通信部と、前記通信部により取得した前記システム利用情報に含まれる前記システム利用状況に基づいて課金額を算出する課金情報処理部を有する管理装置を備えたことを特徴とする。
この構成によれば、管理装置が、サービス提供装置のシステム利用情報記憶部に記憶されたシステム利用情報を、通信回線を介して取得し、取得したシステム利用情報に含まれるシステム利用状況に基づいて課金額を算出する。なお、この課金額とは、システム利用者およびサービス提供者の少なくとも一方に課される金額をいう。つまり、本システムの提供者(管理者)は、末端利用者であるシステム利用者に対し、本システムを介したサービスの利用度に応じて課金することもでき、また、本システムを介したサービス提供により利益を受けるサービス提供者に対し、本システムがもたらす利益に応じた課金を行うこともできる。
このように、サービスの利用度に応じて課金額が設定されるので、従来の定額制システムと比較して、サービス利用回数が少ないときでもシステム利用者やサービス提供者(医療機関等)に割高感を抱かせることがない妥当な課金額を設定できる。また、従来の定額制システムのように、システム利用回数が制限されることがないので、システム利用者が、必要なときに必要なだけのサービスを受けることができる。この結果、各システム利用者に最適なサービスを供与することが可能な遠隔サービス提供システムを提供できる。
前記遠隔サービス提供システムにおいて、前記システム利用状況が、各システム利用者の測定装置から測定データを受信した回数を含むことが好ましい。
この構成によれば、各システム利用者やサービス提供者への課金額は、サービス提供装置へ測定データを送信した回数に応じて算出されることとなるので、システム利用者やサービス提供者が不公平感を抱かない妥当な課金額を設定することが可能となる。
前記遠隔サービス提供システムにおいて、前記システム利用状況が、各システム利用者に対して遠隔サービスを提供した回数を含むことが好ましい。
この構成によれば、各システム利用者やサービス提供者への課金額は、各システム利用者がサービス提供装置からサービスを受けた回数に応じて算出されることとなる。これにより、システム利用者の場合はこの遠隔サービス提供システムの利用度に応じた金額を課され、サービス提供者の場合はこの遠隔サービス提供システムを介してサービスを行うことによる収益に応じた金額を課されるので、システム利用者やサービス提供者にとってより妥当な課金額を設定することが可能となる。
前記遠隔サービス提供システムにおいて、前記遠隔サービスが、前記通信回線を介した医師または指導員からの指導メッセージの送信を含むことが好ましい。
この構成によれば、医師または指導員からの指導メッセージが通信回線を介して送信されるので、システム利用者は、自宅等に居ながらにして医師または指導員の指導等のサービスを受けることができる。これにより、システム利用者に対して十分なサービスを適切な料金で供与することが可能な遠隔サービス提供システムを提供できる。
前記遠隔サービス提供システムにおいて、前記遠隔サービスが医療サービスであり、前記課金情報処理部が、前記医療サービスに対する保険適用の有無に応じて前記課金額の算出を行うことが好ましい。
この構成によれば、遠隔サービスとして提供する医療サービスに保険の適用が可能な場合に、これに応じた課金額を算出することが可能となる。
前記遠隔サービス提供システムにおいて、前記システム利用情報が、各システム利用者が有する測定項目の種別を識別する測定装置情報をさらに含み、前記課金情報処理部が、各システム利用者のシステム利用状況および当該システム利用者が有する測定項目の種別に基づいて課金額を算出することが好ましい。
この構成によれば、測定項目の種別に応じた適切な課金額を算出することが可能となる。
前記遠隔サービス提供システムにおいて、前記管理装置が、前記通信部により、前記課金情報処理部により算出した課金額を前記サービス提供装置へ送信すると共に、前記サービス提供装置が前記課金額を記憶する課金情報記憶部を備えたことが好ましい。
この構成によれば、サービス提供装置へ課金額が送信されるので、サービス提供者が各システム利用者への課金額を把握することも可能となる。これにより、例えばサービス提供者が医療機関である場合、この情報を診療報酬請求等に利用することができる。
上記の目的を達成するために、本発明のサービス提供装置は、遠隔サービス提供システムにおけるサービス提供装置であって、前記遠隔サービス提供システムは、システム利用者の有する測定装置とサービス提供者のサービス提供装置とを通信回線を介して接続し、前記測定装置による測定データを前記通信回線を介して前記サービス提供装置へ送信する一方、前記サービス提供装置から前記システム利用者に対し、前記通信回線を介して遠隔サービスを提供するシステムであり、前記遠隔サービス提供システムに、各システム利用者のシステム利用状況に基づいて課金額を算出する管理装置が設けられ、各システム利用者のシステム利用状況を含むシステム利用情報を記憶するシステム利用情報記憶部と、各システム利用者の前記システム利用情報を通信回線を介して前記管理装置へ送信する通信部とを備えたことを特徴とする。
この構成によれば、サービス提供装置において、各システム利用者のシステム利用状況を含むシステム利用情報をシステム利用情報記憶部に記憶しておき、通信部により、遠隔サービス提供システムの管理装置へ前記システム利用情報を送信し、前記管理装置において、このシステム利用情報に基づき、各システム利用者やサービス提供者への課金額が算出される。
これにより、各システム利用者のサービス利用度に応じて課金額が設定されるので、従来の定額制システムと比較して、サービス利用回数が少ないときでもシステム利用者やサービス提供者に割高感を抱かせることがない妥当な課金額を算出できる。また、従来のように、システム利用回数が制限されることがないので、システム利用者が、必要なときに必要なだけのサービスを受けることができる。この結果、各システム利用者に最適なサービスを供与することが可能なサービス提供装置を提供できる。
前記サービス提供装置において、前記通信部が、前記遠隔サービス提供システムの管理装置により算出される前記課金額を、前記通信回線を介して前記管理装置から受信し、前記通信部により受信した前記課金額を記憶する課金情報記憶部を備えたことが好ましい。
この構成によれば、管理装置からサービス提供装置へ各システム利用者やサービス提供者への課金額が送信されるので、サービス提供者において各システム利用者への課金額を把握することもできる。これにより、例えばサービス提供者が医療機関である場合、この情報を診療報酬請求等に利用することが可能となる。
前記サービス提供装置において、前記システム利用状況が、各システム利用者の測定装置から測定データを受信した回数を含むことが好ましい。
この構成によれば、各システム利用者やサービス提供者への課金額は、サービス提供装置へ測定データを送信した回数に応じて算出されることとなるので、システム利用者やサービス提供者が不公平感を抱かない妥当な課金額を設定することが可能となる。
前記サービス提供装置において、前記システム利用状況が、各システム利用者に対して遠隔サービスを提供した回数を含むことが好ましい。
この構成によれば、各システム利用者やサービス提供者への課金額は、各システム利用者がサービス提供装置から遠隔サービスを受けた回数に応じて算出されることとなる。これにより、システム利用者はこの遠隔サービス提供システムの利用度に応じた金額を課され、サービス提供者はこの遠隔サービス提供システムを介して遠隔サービスを行うことによる収益に応じた金額を課されるので、システム利用者やサービス提供者にとってより妥当な課金額を設定することが可能となる。
前記サービス提供装置において、前記遠隔サービスが、前記通信回線を介した医師または指導員からの指導メッセージの送信を含むことが好ましい。
この構成によれば、医師または指導員からの指導メッセージが通信回線を介して送信されるので、システム利用者は、自宅等に居ながらにして医師または指導員の指導等の遠隔サービスを受けることができる。これにより、システム利用者に対して十分な遠隔サービスを適切な料金で供与することが可能な遠隔サービス提供システムを提供できる。
上記の目的を達成するために、本発明にかかる管理装置は、遠隔サービス提供システムの管理装置であって、前記遠隔サービス提供システムが、システム利用者の有する測定装置とサービス提供者のサービス提供装置とを通信回線を介して接続し、前記測定装置による測定データを前記通信回線を介して前記サービス提供装置へ送信する一方、前記サービス提供装置から前記システム利用者に対し、前記通信回線を介して遠隔サービスを提供するシステムであり、前記サービス提供装置から前記通信回線を介して、各システム利用者のシステム利用状況を含むシステム利用情報を取得する通信部と、前記通信部により取得した前記システム利用情報に含まれる前記システム利用状況に基づいて課金額を算出する課金情報処理部とを備えたことを特徴とする。
この構成によれば、管理装置は、サービス提供装置から、各システム利用者のシステム利用状況を含むシステム利用情報を通信回線を介して取得し、取得したシステム利用情報に基づいて各システム利用者やサービス提供者への課金額を算出する。
これにより、各システム利用者にとってはサービス利用度に応じて課金額が設定され、サービス提供者にとってはこのシステムでサービスを提供することによる収益に応じて課金額が設定されるので、従来の定額制システムと比較して、システムの利用回数が少ないときでもシステム利用者やサービス提供者に割高感を抱かせることがない。また、従来のように、システム利用回数が制限されることがないので、システム利用者が、必要なときに必要なだけのサービスを受けることができる。この結果、各システム利用者に最適なサービスを供与することが可能な遠隔サービス提供システムを提供できる。
前記遠隔サービス提供システムの管理装置において、前記通信部が、前記課金情報処理部により算出された課金額を、前記サービス提供装置へ送信することが好ましい。
この構成によれば、医療機関において例えば各システム利用者への課金額を把握することもできるので、この情報を診療報酬請求等に利用することが可能となる。
前記遠隔サービス提供システムの管理装置において、前記システム利用状況が、各システム利用者の測定装置から測定データを受信した回数を含むことが好ましい。
この構成によれば、各システム利用者やサービス提供者への課金額は、サービス提供装置へ測定データを送信した回数に応じて算出されることとなるので、システム利用者やサービス提供者が不公平感を抱かない妥当な課金額を設定することが可能となる。
前記遠隔サービス提供システムの管理装置において、前記システム利用状況が、各システム利用者に対して遠隔サービスを提供した回数を含むことが好ましい。
この構成によれば、各システム利用者やサービス提供者への課金額は、各システム利用者がサービス提供装置から遠隔サービスを受けた回数に応じて算出されることとなる。これにより、システム利用者の場合はこの遠隔サービス提供システムの利用度に応じた金額を課され、サービス提供者の場合はこの遠隔サービス提供システムを介して遠隔サービスを行うことによる収益に応じた金額を課されるので、システム利用者やサービス提供者にとってより妥当な課金額を設定することが可能となる。
前記遠隔サービス提供システムの管理装置において、前記遠隔サービスが、前記通信回線を介した医師または指導員からの指導メッセージの送信を含むことが好ましい。
この構成によれば、医師または指導員からの指導メッセージが通信回線を介して送信されるので、システム利用者は、自宅等に居ながらにして医師または指導員の指導等の遠隔サービスを受けることができる。これにより、システム利用者に対して十分なサービスを適切な料金で供与することが可能な遠隔サービス提供システムを提供できる。
上記の目的を達成するために、本発明にかかる課金額算出方法は、システム利用者の有する測定装置とサービス提供者のサービス提供装置とを通信回線を介して接続し、前記測定装置による測定データを前記通信回線を介して前記サービス提供装置へ送信する一方、前記サービス提供装置から前記システム利用者に対し、前記通信回線を介して遠隔サービスを提供する遠隔サービス提供システムにおいて、課金額を算出する方法であって、前記サービス提供装置において、各システム利用者のシステム利用状況を含むシステム利用情報を記憶し、前記サービス提供装置から、各システム利用者についての前記システム利用情報を取得し、取得した前記システム利用情報に含まれる前記システム利用状況に基づいて前記課金額を算出することを特徴とする。
この方法によれば、サービス提供装置から、各システム利用者のシステム利用状況を含むシステム利用情報を通信回線を介して取得し、取得したシステム利用情報に基づいて、各システム利用者やサービス提供者への課金額が算出される。
これにより、サービスの利用度に応じて課金額が設定されるので、従来の定額制システムと比較して、サービス利用回数が少ないときでもシステム利用者やサービス提供者に割高感を抱かせることがない妥当な課金額を設定できる。また、従来のように、システム利用回数が制限されることがないので、システム利用者が、必要なときに必要なだけのサービスを受けることができる。この結果、各システム利用者に最適なサービスを供与することが可能な遠隔サービス提供システムを提供できる。
前記の遠隔サービス提供システムにおける課金額算出方法において、前記システム利用状況が、各システム利用者の測定装置から測定データを受信した回数を含むことが好ましい。
この方法によれば、各システム利用者やサービス提供者への課金額は、サービス提供装置へ測定データを送信した回数に応じて算出されることとなるので、システム利用者やサービス提供者が不公平感を抱かない妥当な課金額を設定することが可能となる。
前記の遠隔サービス提供システムにおける課金額算出方法において、前記システム利用状況が、各システム利用者に対して遠隔サービスを提供した回数を含むことが好ましい。
この構成によれば、各システム利用者やサービス提供者への課金額は、各システム利用者がサービス提供装置から遠隔サービスを受けた回数に応じて算出されることとなる。これにより、システム利用者はこの遠隔サービス提供システムの利用度に応じた金額を課され、サービス提供者はこの遠隔サービス提供システムを介して遠隔サービスを行うことによる収益に応じた金額を課されるので、システム利用者やサービス提供者にとってより妥当な課金額を設定することが可能となる。
発明を実施するための最良の形態
(実施の形態1)
以下、本発明にかかる遠隔サービス提供システムの一実施形態としての遠隔医療システムについて、図面を参照しながら説明する。
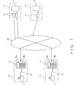
図1は、本実施形態にかかる遠隔医療システムの概略構成を示すブロック図である。図1に示すように、本遠隔医療システムでは、医療機関Aのホストコンピュータ1が、DCE(data circuit terminating equipment)4および電話回線網等の通信回線10を経由して、患者宅B,C…と接続可能に構成されている。
患者宅B,C…においては、患者が自己測定に使用する個人用測定器3が、通信ケーブル8により通信装置2に接続される。通信装置2は、前記通信回線10を通じて医療機関Aに接続し、DCE4を介してホストコンピュータ1との間でデータ等の送受信を行う。
個人用測定器3を有する患者は、自宅等で個人用測定器3による測定を行い、通信装置2を用いてその測定データを医療機関Aへ送信する。測定データの送信は、測定を行う都度に実行しても良いし、所定のタイミング(例えば1日1回や1週間に1回等)で実行しても良い。あるいは、測定を所定の回数行った後に、まとめて送信するようにしても良い。
ホストコンピュータ1は、患者の個人用測定器3から送信されたデータを受信して記憶し、患者が来院した際の診療に利用する。また、必要に応じて、患者から送信されたデータに基づき、通信回線10を介して医師が指導を行う。
また、本遠隔医療システムの運営管理者Dのコンピュータ5が、DCE6を介して通信回線10に接続されている。このコンピュータ5は、通信回線10を介して、医療機関Aのホストコンピュータ1と接続される。
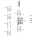
ここで、個人用測定器3の構成について説明する。図2は、個人用測定器3の構成を示すブロック図である。図2に示すように、個人用測定器3は、測定部31、変換部32、メモリ33、装置情報保持部34、制御部35、通信部36、および表示部37を備えている。
測定部31は、個人用測定器3の用途に応じたセンサにより、制御部35の制御の下で、データの測定を行う。例えば、個人用測定器3が血糖値計である場合は、患者が指先等から採取した微量な血液を付着させた試験片から電気的または光学的に血糖値を測定するものが用いられる。
変換部32は、制御部35の制御の下で、測定部31により得られた情報に対してIV変換またはAD変換等の処理を施すことによって測定対象物質の濃度を求め、これを測定データとしてメモリ33に記憶させる。
装置情報保持部34は、個人用測定器3の各々に固有に割り当てられている装置ID番号や、当該個人用測定器3を所持している患者に割り当てられている患者ID番号を記憶している。制御部35は、個人用測定器3の各部の動作を制御する。通信部36は、通信装置2にケーブル8を介して接続され、制御部35の制御の下で、測定データ等を通信装置2へ送信する。表示部37は、液晶ディスプレイ等を有し、メッセージ等を表示する。
次に、通信装置2の構成について説明する。図1に示すように、通信装置2は、液晶ディスプレイ2aと、数字や文字等の入力が可能な入力キー2bとを有している。図3は、通信装置2の構成を示すブロック図である。図3に示すように、通信装置2は、測定器接続部21、メモリ22、電話装置23、制御部24、表示部25、時計26、およびキー入力部27を備えている。
測定器接続部21は、個人用測定器3の通信部36と接続され、個人用測定器3から測定データ等を受信する。メモリ22は、測定器接続部21が個人用測定器3から受信した測定データ等を記憶する。電話装置23は、通信回線10を介して医療機関Aのホストコンピュータ1と接続すべくダイヤリングし、接続を確立してデータの送受信を行う。
制御部24は、通信装置2の各部の動作を制御する。表示部25は、液晶ディスプレイ2aを制御して各種メッセージ等を表示する。キー入力部27は、患者による入力キー2bの操作を受け付ける。すなわち、患者は、入力キー2bを操作することにより、通信装置2に対し、測定データ送信等、種々の動作の実行を指示することができる。
なお、通信装置2は、プログラミング可能な携帯電話やPHSによって実現することができる。また、本実施形態では、個々に独立した装置である通信装置2と個人用測定器3とがケーブル8により接続される構成例を示しているが、通信装置2と個人用測定器3とが一体に形成されていてもよい。また、図2に示した装置情報保持部34は通信装置2に設けられていてもよく、図3に示したキー入力部27が個人用測定器3に設けられていてもよい。
次に、医療機関Aのホストコンピュータ1の構成を説明する。図4は、ホストコンピュータ1の機能的な構成を示すブロック図である。図4に示すように、ホストコンピュータ1は、制御部11、患者データ記憶部12、データ処理部13、システム利用情報記憶部14、通信制御部15、時計16、指導メッセージ入力部17、および課金情報記憶部18を備えている。
制御部11は、ホストコンピュータ1の各部の動作を制御する。通信制御部15は、DCE4を介して、患者宅の通信装置2との間で、データ等の送受信を行う。データ処理部13は、患者から送信された測定データに対して補正を行ったり、補正後のデータの数値が正常範囲に入っているかを判断する等の、各種演算処理を行う。
患者データ記憶部12は、患者毎に、当該患者に固有に付与されている患者ID番号、当該患者が持っている個人用測定器3に固有に付与されている装置ID番号、当該患者から送信された測定データ、当該患者の氏名や住所等の患者個人情報を記憶している。システム利用情報記憶部14は、測定データ受信回数およびサービス利用回数を記憶している。課金情報記憶部18は、システム利用料金(課金額)を記憶している。
前記の患者ID番号は、各患者に固有に付与された番号である。装置ID番号は、各患者が持っている個人用測定器3に固有に付与された番号である。測定データ受信回数は、各患者から測定データの送信があった回数である。サービス利用回数は、各患者がこの遠隔医療システムを介して医療機関Aの医師の指導を受けた回数である。これらのデータは、後に説明するが、各患者のシステム利用料金を算出するために用いられる。
指導メッセージ入力部17は、医師が患者から送信された測定データに基いた指導等を行う際に、通信回線10を介して患者へ送るメッセージを入力するために設けられている。
なお、本実施形態では、患者データ記憶部12、システム利用情報記憶部14、および課金情報記憶部18を独立したブロックとして示したが、これらの記憶部が物理的に同一のメモリ上に配置されていても構わない。また、図4に示した機能ブロックの内のいくつかを、ホストコンピュータ1の周辺装置として構成することも可能である。例えば、患者データ記憶部12、システム利用情報記憶部14、および課金情報記憶部18を、ホストコンピュータ1とLAN等で接続されるディスク装置またはファイルサーバ等に配置したり、指導メッセージ入力部17を、同様にホストコンピュータ1とLAN等で接続される医療機関A内の他のコンピュータ端末等に配置した構成が考えられる。
次に、本遠隔医療システムのシステム管理業者Dのコンピュータ5の構成を説明する。図5は、コンピュータ5の機能的な構成を示すブロック図である。図5に示すように、コンピュータ5は、制御部51、課金情報記憶部52、課金情報処理部53、通信制御部55、および時計56を備えている。
制御部51は、コンピュータ5の各部の動作を制御する。通信制御部55は、DCE6および通信回線10を介して、医療機関Aのホストコンピュータ1と接続し、ホストコンピュータ1から、各患者のシステム利用状況に関する情報(システム利用情報)を受信する。この情報は、各患者のシステム利用料金を算出するために用いられ、具体的には、ホストコンピュータ1の患者データ記憶部12に記憶されている患者ID番号および装置ID番号と、システム利用情報記憶部14に記憶されている測定データ受信回数およびサービス利用回数である。通信制御部55が受け取ったこれらの情報は、課金情報記憶部52に記憶される。
課金情報処理部53は、医療機関Aのホストコンピュータ1から得た上記の情報に基づいて、各患者のシステム利用料金を算出する。算出されたシステム利用料金は、課金情報記憶部52に一旦記憶され、適当なタイミングでホストコンピュータ1へ送信される。
なお、コンピュータ5の構成についても、ホストコンピュータ1の構成と同様に、課金情報記憶部52等をコンピュータ5の周辺装置に配置することが可能である。
以下、本遠隔医療システムの動作の詳細について説明する。
まず、図6を参照しながら、個人用測定器3の動作について説明する。
患者が測定を行う際、まず、個人用測定器3の電源が投入される(ステップS1)。次に、検体および測定対象項目に応じた手順により測定を実行する(ステップS2)。例えば前述したように個人用測定器3が血糖値計である場合は、検体として、患者が指先等から採取した微量な血液を用い、この血液を測定部31のセンサに吸入させ、光学的または電気的に血糖値を測定する。
制御部35は、測定部31で得られた情報を変換部32に送り、数値データとしての測定データに変換させる。得られた測定データは、メモリ33に一旦記憶される(ステップS3)。
次に、制御部35の制御の下で、通信部36が通信装置2の測定器接続部21と接続を確立し、メモリ33に一旦記憶した測定データを読み出して通信装置2へ送信する(ステップS4)。このとき、装置情報保持部34に記憶されている装置ID番号および患者ID番号が、前記の測定データと共に通信装置2へ送られる。
測定データ等の送信が終了すると、個人用測定器3の電源がオフにされる(ステップS5)。電源オフは患者が手動で行っても良いし、何の操作もなく所定の時間が経過すると自動的にオフになるように構成されていても良い。
次に、図7を参照しながら、通信装置2の動作を説明する。
通信装置2は、複数の動作モードを有する。本実施形態では、通信装置2が、個人用測定器3から測定データを受信する「測定データ受信モード」、個人用測定器3から受信した測定データを医療機関Aのホストコンピュータ1へ送信する「測定データ送信モード」、ホストコンピュータ1から医師の指導等の各種データを受信する「ホストデータ受信モード」の3種類の動作モードを有するものとして説明を行う。
通信装置2は、電源が常時ON状態になっており、外部からの入力等の所定の条件をトリガとして、制御部24が、上記3種類の動作モードのいずれかを選択し、動作を開始する。例えば、測定データ受信モードは、個人用測定器3の通信部36から通信装置2の測定器接続部21へ、データ送信の開始が通知されることにより、選択される。測定データ送信モードは、通信装置2からホストコンピュータ1へ測定データを送信すべきタイミングとして予め決められたタイミングが来たときに選択される。ホストデータ受信モードは、ホストコンピュータ1の通信制御部15から通信装置2の電話装置23へ、データ送信の開始が通知されることにより、選択される。
以下、動作モード毎にその処理手順を説明する。
まず、測定データ受信モードの動作は次のとおりである。
図6のフローチャートに示したステップS4において、個人用測定器3の通信部36から通信装置2の測定器接続部21へデータ送信が開始されると、通信装置2の制御部24は、測定器接続部21に、個人用測定器3から送信される測定データ、患者ID番号、および装置ID番号を受信させ(図7のステップS11)、受信した測定データ、患者ID番号、および装置ID番号を、メモリ22に記憶させる(ステップS12)。ステップS12の処理が正常に終了したら、表示部25に、測定データの受信が正常に終了した旨のメッセージを表示し(ステップS13)、ステップS10に制御を戻す。
次に、測定データ送信モードの動作について説明する。
測定データ送信モードは、前述したように、通信装置2からホストコンピュータ1へ測定データを送信すべきタイミングとして予め決められたタイミング(以下、送信タイミングと称する)が来たときに選択され、処理が開始される。
前記送信タイミングは、例えば、個人用測定器3から測定データを受信する毎であっても良く、または、時計26から取得した日時情報に基づいて判断される所定のタイミング(毎日所定の時刻、毎週所定曜日の所定時刻、または毎月所定の日の所定時刻等)であっても良い。あるいは、メモリ22に記憶された測定データの数が所定の数に達したときを送信タイミングとしても良い。
通信装置2の制御部24は、送信タイミングが来ると、電話装置23により、通信回線10およびDCE4を介してホストコンピュータ1へ接続し(ステップS14)、メモリ22から、測定データ、装置ID番号、および患者ID番号を取り出し、ホストコンピュータ1へ送信する(ステップS15)。
そして、ステップS15の送信が正常終了すると、表示部25に、測定データの送信が正常に終了した旨のメッセージを表示し(ステップS16)、ステップS10に制御を戻す。
最後に、ホストデータ受信モードの動作について説明する。
ホストコンピュータ1から患者へ送信されるデータは、主に、ホストコンピュータ1へ送信した測定データに基づく検査結果や医師による指導メッセージ等である。
ホストコンピュータ1の通信制御部15から、通信回線10を介して、通信装置2の電話装置23へ接続要求がなされると、電話装置23はホストコンピュータ1と接続を確立する(ステップS17)。ホストコンピュータ1からデータ送信が開始されると、制御部24は、電話装置23にデータを受信させ(ステップS18)、受信したデータを、メモリ22に記憶させる(ステップS19)と共に、表示部25に表示する(ステップS20)。患者が表示部25の表示内容を確認した後、制御部24は、ステップS10へ制御を戻す。
このように、患者が通信装置2からホストコンピュータ1へ測定データを送信した後、測定データに基づく検査結果や医師の指導メッセージ等がホストコンピュータ1から返送され、表示部25に表示されることにより、患者が自宅に居ながらにして医療サービスを受けることが可能となっている。
次に、図8を参照しながら、医療機関Aのホストコンピュータ1の動作を説明する。
ホストコンピュータ1は、汎用コンピュータとして様々な処理を行うが、ここでは、本発明に直接的に関わる処理、すなわち、患者からの測定データ受信処理と、患者に対する医師からの指導メッセージ等の送信処理と、データシステム管理業者Dのコンピュータ5へ各患者のシステム利用情報を送信する処理とについてのみ、説明する。
患者の通信装置2から測定データを受信する処理は、通信装置2から測定データ等の送信を行うための接続要求があったとき(図7のステップS14)、開始される。制御部11は、DCE4および通信回線10を介して、通信制御部15と、通信装置2の電話装置23との間に接続を確立させ(図8のステップS22)、通信制御部15に、測定データと、これと共に送信される患者ID番号および装置ID番号を受信させる(ステップS23)。
制御部11は、受信した測定データ等を患者データ記憶部12に記憶させる(ステップS24)。このとき、患者データ記憶部12に記憶されている当該患者の「測定データ受信回数」の値に、1を加算する(ステップS25)。
また、患者に対する医師からの指導メッセージ等の送信処理は、以下のとおりである。
指導メッセージは、医療機関Aの医師が、定期的に、または患者からの要望に応じて、患者データ記憶部12に記憶されている測定データを見て、指導メッセージ入力部17より、作成・入力する(ステップS26)。
制御部11の制御の下で、通信制御部15が、DEC4および通信回線10を介して、通信装置2との間で接続を確立し(ステップS27)、医師が入力した指導メッセージを送信する(ステップS28)。メッセージの送信が正常に終了すると、制御部11は、患者データ記憶部12に記憶されている当該患者の「サービス利用回数」の値に、1を加算する(ステップS29)。
また、システム管理業者Dのコンピュータ5へ各患者のシステム利用情報を送信する処理は、以下のとおりである。後述するが、システム管理業者Dのコンピュータ5は、所定のタイミング(例えば1日1回、または1ヶ月1回等)で、医療機関Aのホストコンピュータ1に対し、各患者のシステム利用状況を含むシステム利用情報を送信するよう要求する。
ホストコンピュータ1の制御部11は、コンピュータ5からデータ送信要求を受け取ると、通信制御部15に、DCE4および通信回線10を介して、コンピュータ5と接続を確立させ(ステップS30)、患者データ記憶部12から、すべての患者のシステム利用情報(患者ID番号、装置ID番号、測定データ受信回数、およびサービス利用回数)を取り出し(ステップS31)、コンピュータ5へ送信する(ステップS32)。
送信が正常に終了すると、制御部11は、システム利用情報記憶部14に記憶されている測定データ受信回数およびサービス利用回数の値をクリアする(ステップS33)。
なお、コンピュータ5へシステム利用情報を送信した後、後述するように、コンピュータ5において各患者や医療機関に対する課金額(システム利用料金)が算出されて返送されるので、制御部11は、その値を患者データ記憶部12の「システム利用料金」の領域に記憶させる(ステップS34)。
ただし、コンピュータ5からの、各患者や医療機関のシステム利用料金の送信は、このように医療機関からシステム管理業者へシステム利用情報を送信した直後でなくても良く、適当なタイミングで、システム管理業者Dのコンピュータ5と医療機関Aのホストコンピュータ1との間で接続を確立して行えば良い。
次に、図9を参照しながら、システム管理業者Dのコンピュータ5の動作について説明する。
システム管理業者Dのコンピュータ5は、以下の手順により、医療機関Aのホストコンピュータ1から、各患者のシステム利用情報を取得し、これに基づいて、各患者や医療機関のシステム利用料金を算出する。
コンピュータ5の制御部51は、時計56から得られる日時情報から、あらかじめ定められたタイミング(例えば、毎日所定の時刻、毎週所定曜日の所定時刻、または毎月所定の日の所定時刻等)が来たことを検知すると(ステップS40)、通信制御部55に、DCE6および通信回線10を介して、医療機関Aのホストコンピュータ1に対し、データ送信要求を送らせる(ステップS41)。
そして、図8のステップS32に示したようにホストコンピュータ1から送信されるシステム利用情報(患者ID番号、装置ID番号、測定データ受信回数、およびサービス利用回数)を受信し(ステップS42)、これらを課金情報記憶部52に記憶する(ステップS43)。
さらに、制御部51の制御の下で、課金情報処理部53が、課金情報記憶部52に記憶された測定データ受信回数およびサービス利用回数に基づいて、各患者や医療機関のシステム利用料金を算出し(ステップS44)、算出した値を、課金情報記憶部52に記憶する(ステップS45)と共に、通信制御部55により、DCE6および通信回線10を介して、医療機関Aのホストコンピュータ1へ送信する(ステップS46)。
なお、前記ステップS44において、測定データ受信回数およびサービス利用回数に基づいてどのようにシステム利用料金を算出するかについては、様々な方法が考えられる。
例えば、測定データ受信1回当たりの料金、およびサービス利用1回当たりの料金を予めそれぞれ定めておき、これらに、測定データ受信回数およびサービス利用回数のそれぞれを乗じてその和をとることにより、システム利用料金を算出する方法が考えられる。
また、個人用測定器3の種別に応じて異なるシステム利用料金を課すようにすることも可能である。さらに、1つの個人用測定器3で複数項目の測定が可能な場合、測定された項目の種別に応じてさらに異なるシステム利用料金を課しても良い。この場合、個人用測定器3の種別を識別可能な装置ID番号、または測定された項目の種別を識別可能な何らかの情報を通信装置2からホストコンピュータ1に送信し、システム管理業者Dのコンピュータ5において、これらに基づいて、患者が使用している個人用測定器3の種別(血糖値計、尿測定器、心電図計等)、または個人用測定器3で測定される項目の種別を判断し、これらの種別に応じた単位料金に、測定データ受信回数を乗じるようにすれば良い。
また、本システムによる医療サービスの提供について保険が適用され得る場合も想定されるので、診療報酬請求データを参照することにより、保険が適用される場合とされない場合のそれぞれに応じたシステム利用料金を算出するようにしても良い。
なお、ここでは、システム管理業者Dのコンピュータ5が、医療機関Aのホストコンピュータ1から各患者のシステム利用情報を受信する毎に、これに基づいて算出した各患者や医療機関のシステム利用料金をホストコンピュータ1へ返送するものとしたが、ホストコンピュータ1へシステム利用料金を送信する処理は、適当なタイミングで行えばよい。
また、本実施形態では、コンピュータ5において患者や医療機関のシステム利用料金を算出するものとしたが、必ずしも患者および医療機関の両方について課金しなくても良いので、少なくとも一方についてシステム利用料金を算出すれば良い。
さらに、本実施形態では、医療サービス提供装置の構成例(図4)において、システム利用情報記憶部14にシステム利用状況を表す測定データ受信回数およびサービス利用回数が記憶されるものとしたが、本発明にかかるシステム利用情報は測定データ受信回数およびサービス利用回数のみに限定されるものではなく、患者データ記憶部12に記憶されている各種情報やその他の情報等、課金額を算出するために必要な任意の情報を含み得る。
また、本実施形態では、医療機関に設置される医療サービス提供装置の例としてホストコンピュータを挙げたが、これに限らず、ワークステーションやパーソナルコンピュータ等であってもよい。
さらに、本実施形態では、サービス利用回数としてカウントされる医療サービスの例として、医師による指導メッセージの送信を例示したが、この他に、測定データを医療機関のコンピュータで分析した結果の送信等を、カウントすべき医療サービスに含めることも可能である。
また、本実施形態では、医療機関の医師からの指導メッセージが、患者が有する通信装置の表示部へ表示される例を示したが、医療サービスの提供の形態はこれに限定されない。この他に、例えば、医師からの指導メッセージ等を、患者宅の電話装置やファクシミリ装置へ送信する構成や、患者が有するインターネット上の電子メールアドレスへ送信する構成等も可能である。
さらに、本実施形態では、遠隔サービスの例として医療サービスを挙げたが、本発明が適用される分野は医療目的に限られない。例えば、心拍数や歩数計のデータを利用者の測定装置から管理装置へ送信し、指導員が送信されたデータを遠隔地で見て、アドバイスを利用者へ送信するようなトレーニング支援システムとして、本発明を実施することも可能である。
産業上の利用可能性
以上に説明したように、本発明は、システム利用者とサービス提供者とを通信回線で接続した遠隔サービス提供システムに適用され、システム管理者のコンピュータが、サービス提供者のコンピュータから、各システム利用者のシステム利用状況に関する情報を取得し、これに基づいて課金額を算出することにより、システム利用者にとって課金額についての不公平感がなく、必要なときに十分なサービスをシステム利用者へ供与することができる遠隔サービス提供システムを提供することができる。
【図面の簡単な説明】
図1は、本発明の一実施形態にかかる遠隔医療システムの構成を示すブロック図である。
図2は、前記遠隔医療システムに含まれる個人用測定器の構成を示すブロック図である。
図3は、前記遠隔医療システムに含まれる通信装置の構成を示すブロック図である。
図4は、前記遠隔医療システムに含まれる医療機関のホストコンピュータの構成を示すブロック図である。
図5は、前記遠隔医療システムに含まれるシステム管理業者のコンピュータの構成を示すブロック図である。
図6は、前記個人用測定器の動作を示すフローチャートである。
図7は、前記通信装置の動作を示すフローチャートである。
図8は、前記医療機関のホストコンピュータの動作を示すフローチャートである。
図9は、前記システム管理業者のコンピュータの動作を示すフローチャートである。
Claims (16)
- システム利用者の有する測定装置とサービス提供者のサービス提供装置とを通信回線を介して接続し、前記測定装置による測定データを前記通信回線を介して前記サービス提供装置へ送信する一方、前記サービス提供装置から前記システム利用者に対し、前記通信回線を介してサービスを提供する遠隔サービス提供システムにおいて、
前記サービス提供装置に、各システム利用者のシステム利用状況を含むシステム利用情報を記憶するシステム利用情報記憶部が設けられ、
前記サービス提供装置と通信回線を介して接続され、前記サービス提供装置から前記通信回線を介して前記システム利用情報を取得する通信部と、前記通信部により取得した前記システム利用情報に含まれる前記システム利用状況に基づいて課金額を算出する課金情報処理部を有する管理装置を備え、
前記サービス提供装置は、各システム利用者の測定装置から前記測定データを、前記測定装置に固有の装置ID及びシステム利用者に固有の利用者IDとともに受信し、
前記システム利用状況が、各システム利用者の測定装置から測定データ、装置ID及び利用者IDの組を受信した回数を含み、前記課金情報処理部は、前記回数に基づいて課金額を算出する、遠隔サービス提供システム。 - 前記システム利用状況が、各システム利用者に対して遠隔サービスを提供した回数を含む請求項1に記載の遠隔サービス提供システム。
- 前記遠隔サービスが、前記通信回線を介した医師または指導員からの指導メッセージの送信を含む請求項2に記載の遠隔サービス提供システム。
- 前記遠隔サービスが医療サービスであり、前記課金情報処理部が、前記医療サービスに対する保険適用の有無に応じて前記課金額の算出を行う請求項3に記載の遠隔サービス提供システム。
- 前記システム利用情報が、各システム利用者が有する測定項目の種別を識別する測定装置情報をさらに含み、
前記課金情報処理部が、各システム利用者のシステム利用状況および当該システム利用者が有する測定項目の種別に基づいて前記課金額を算出する請求項1ないし4のいずれか一項に記載の遠隔サービス提供システム。 - 前記管理装置が、前記通信部により、前記課金情報処理部により算出した課金額を前記サービス提供装置へ送信すると共に、前記サービス提供装置が前記課金額を記憶する課金情報記憶部を備えた請求項1ないし5のいずれか一項に記載の遠隔サービス提供システム。
- 遠隔サービス提供システムにおけるサービス提供装置であって、
前記遠隔サービス提供システムは、システム利用者の有する測定装置とサービス提供者のサービス提供装置とを通信回線を介して接続し、前記測定装置による測定データを前記通信回線を介して前記サービス提供装置へ送信する一方、前記サービス提供装置から前記システム利用者に対し、前記通信回線を介して遠隔サービスを提供するシステムであり、
前記遠隔サービス提供システムに、各システム利用者のシステム利用状況に基づいて課金額を算出する管理装置が設けられ、
各システム利用者のシステム利用状況を含むシステム利用情報を記憶するシステム利用情報記憶部と、
各システム利用者の前記システム利用情報を通信回線を介して前記管理装置へ送信する通信部とを備え、
各システム利用者の測定装置から各前記測定データを、前記測定装置に固有の装置ID及びシステム利用者に固有の利用者IDとともに受信し、各システム利用者の測定装置から測定データ、装置ID及び利用者IDの組を受信した回数を含む前記システム利用状況を前記管理装置へ送信することを特徴とするサービス提供装置。 - 前記通信部が、前記遠隔サービス提供システムの管理装置により算出される前記課金額を、前記通信回線を介して前記管理装置から受信し、
前記通信部により受信した前記課金額を記憶する課金情報記憶部を備えた請求項7に記載のサービス提供装置。 - 前記システム利用状況が、各システム利用者に対して遠隔サービスを提供した回数を含む請求項7または8に記載のサービス提供装置。
- 前記遠隔サービスが、前記通信回線を介した医師または指導員からの指導メッセージの送信を含む請求項9に記載のサービス提供装置。
- 遠隔サービス提供システムの管理装置であって、
前記遠隔サービス提供システムは、システム利用者の有する測定装置とサービス提供者のサービス提供装置とを通信回線を介して接続し、前記測定装置による測定データを前記通信回線を介して前記サービス提供装置へ送信する一方、前記サービス提供装置から前記システム利用者に対し、前記通信回線を介して遠隔サービスを提供するシステムであり、
前記サービス提供装置から前記通信回線を介して、各システム利用者のシステム利用状況を含むシステム利用情報を取得する通信部と、
前記通信部により取得した前記システム利用情報に含まれる前記システム利用状況に基づいて課金額を算出する課金情報処理部とを備え、
前記測定データは、前記測定装置に固有の装置ID及びシステム利用者に固有の利用者IDとともに、前記サービス提供装置へ送信され、
前記システム利用状況が、各システム利用者の測定装置から測定データ、装置ID及び利用者IDの組を受信した回数を含み、前記課金情報処理部は、前記回数に基づいて前記課金額を算出する、遠隔サービス提供システムの管理装置。 - 前記通信部が、前記課金情報処理部により算出された課金額を、前記サービス提供装置へ送信する請求項11に記載の遠隔サービス提供システムの管理装置。
- 前記システム利用状況が、各システム利用者に対して遠隔サービスを提供した回数を含む請求項11または12に記載の遠隔サービス提供システムの管理装置。
- 前記遠隔サービスが、前記通信回線を介した医師または指導員からの指導メッセージの送信を含む請求項13に記載の遠隔サービス提供システムの管理装置。
- システム利用者の有する測定装置とサービス提供者のサービス提供装置とを通信回線を介して接続し、前記測定装置による測定データを前記通信回線を介して前記サービス提供装置へ送信する一方、前記サービス提供装置から前記システム利用者に対し、前記通信回線を介して遠隔サービスを提供する遠隔サービス提供システムにおいて、課金額を算出する方法であって、
前記サービス提供装置において、各システム利用者のシステム利用状況を含むシステム利用情報を記憶し、
前記サービス提供装置から、各システム利用者についての前記システム利用情報を取得し、
取得した前記システム利用情報に含まれる前記システム利用状況に基づいて前記課金額を算出するステップを含み、
前記測定データは、前記測定装置に固有の装置ID及びシステム利用者に固有の利用者IDとともに、前記サービス提供装置へ送信され、
前記システム利用状況が、各システム利用者の測定装置から測定データ、装置ID及び利用者IDの組を受信した回数を含み、前記回数に基づいて、前記課金額を算出することを特徴とする、遠隔サービス提供システムにおける課金額算出方法。 - 前記システム利用状況が、各システム利用者に対して遠隔サービスを提供した回数を含む請求項15に記載の、遠隔サービス提供システムにおける課金額算出方法。
Priority Applications (1)
| Application Number | Priority Date | Filing Date | Title |
|---|---|---|---|
| JP2002521791A JP4792195B2 (ja) | 2000-08-18 | 2001-08-17 | 遠隔サービス提供システムおよび課金額算出方法 |
Applications Claiming Priority (5)
| Application Number | Priority Date | Filing Date | Title |
|---|---|---|---|
| JP2000-248535 | 2000-08-18 | ||
| JP2000248535 | 2000-08-18 | ||
| JP2000248535 | 2000-08-18 | ||
| JP2002521791A JP4792195B2 (ja) | 2000-08-18 | 2001-08-17 | 遠隔サービス提供システムおよび課金額算出方法 |
| PCT/JP2001/007086 WO2002017171A1 (en) | 2000-08-18 | 2001-08-17 | Remote service providing system, and charge computing method |
Publications (2)
| Publication Number | Publication Date |
|---|---|
| JPWO2002017171A1 JPWO2002017171A1 (ja) | 2003-10-14 |
| JP4792195B2 true JP4792195B2 (ja) | 2011-10-12 |
Family
ID=18738426
Family Applications (1)
| Application Number | Title | Priority Date | Filing Date |
|---|---|---|---|
| JP2002521791A Expired - Fee Related JP4792195B2 (ja) | 2000-08-18 | 2001-08-17 | 遠隔サービス提供システムおよび課金額算出方法 |
Country Status (6)
| Country | Link |
|---|---|
| US (1) | US20040117200A1 (ja) |
| EP (1) | EP1327945A4 (ja) |
| JP (1) | JP4792195B2 (ja) |
| CN (1) | CN1470032A (ja) |
| AU (1) | AU2001278764A1 (ja) |
| WO (1) | WO2002017171A1 (ja) |
Families Citing this family (10)
| Publication number | Priority date | Publication date | Assignee | Title |
|---|---|---|---|---|
| WO2003079888A2 (en) * | 2002-03-18 | 2003-10-02 | Optim, Inc. | Charing a client for the use of a reusable instrument |
| US7229201B2 (en) | 2003-03-26 | 2007-06-12 | Optim Inc. | Compact, high-efficiency, high-power solid state light source using a single solid state light-emitting device |
| WO2005122034A1 (ja) | 2004-06-14 | 2005-12-22 | Olympus Corporation | データマネージメントシステム |
| US9055863B2 (en) | 2006-11-14 | 2015-06-16 | Optim, Inc. | Portable endoscope |
| US8152715B2 (en) | 2007-09-14 | 2012-04-10 | Optim, Incorporated | Endoscope with internal light source and power supply |
| FR3001317B1 (fr) * | 2013-01-18 | 2015-06-05 | Axon Cable Sa | Methode et systeme d'acquisition de donnees medicales |
| US20190108918A1 (en) * | 2016-03-16 | 2019-04-11 | Medcare, Inc. | Remote diagnostic aid system, remote diagnostic aid server, and remote diagnostic aid method |
| JP6019296B1 (ja) * | 2016-03-16 | 2016-11-02 | メドケア株式会社 | 遠隔診療支援システム及び遠隔診療支援方法 |
| CN105978972A (zh) * | 2016-05-13 | 2016-09-28 | 新智数字科技有限公司 | 一种数据采集及处理方法、装置、系统及相关设备 |
| WO2023044373A1 (en) * | 2021-09-17 | 2023-03-23 | Emed Labs, Llc | Systems, methods, and devices for remotely deployed diagnostic testing |
Citations (8)
| Publication number | Priority date | Publication date | Assignee | Title |
|---|---|---|---|---|
| JPH08275927A (ja) * | 1992-02-13 | 1996-10-22 | Seta:Kk | 在宅医療システム及びこのシステムに用いる医療装置 |
| JPH0928682A (ja) * | 1995-07-18 | 1997-02-04 | Toshiba Corp | パーソナル健康管理システム |
| JPH1139564A (ja) * | 1997-07-15 | 1999-02-12 | Omron Corp | アミューズメント施設のアトラクションの利用料金算定方法,利用料金算定システム,利用料金徴収システム及び管理支援システム |
| JPH11120261A (ja) * | 1997-10-14 | 1999-04-30 | Mitsubishi Electric Corp | 在宅医療システム |
| JPH11155824A (ja) * | 1997-11-28 | 1999-06-15 | Matsushita Electric Works Ltd | 在宅健康管理システム |
| JPH11262061A (ja) * | 1998-03-06 | 1999-09-24 | Casio Comput Co Ltd | 腕装着携帯装置、通信端末装置、通信システム、及び通信処理プログラムを記録した記録媒体 |
| JP2000029830A (ja) * | 1998-07-09 | 2000-01-28 | Hitachi Ltd | データ管理システム |
| JP2000194618A (ja) * | 1998-12-24 | 2000-07-14 | Nippon Telegr & Teleph Corp <Ntt> | 手書き認証通信システム、手書き認証通信方法、手書き認証サーバ及び手書き入力装置 |
Family Cites Families (6)
| Publication number | Priority date | Publication date | Assignee | Title |
|---|---|---|---|---|
| US5832448A (en) * | 1996-10-16 | 1998-11-03 | Health Hero Network | Multiple patient monitoring system for proactive health management |
| US5453009A (en) * | 1993-12-29 | 1995-09-26 | Feldman; Yasha | Method of and system for dental treatment |
| US5704366A (en) * | 1994-05-23 | 1998-01-06 | Enact Health Management Systems | System for monitoring and reporting medical measurements |
| FI107080B (fi) * | 1997-10-27 | 2001-05-31 | Nokia Mobile Phones Ltd | Mittauslaite |
| US6024699A (en) * | 1998-03-13 | 2000-02-15 | Healthware Corporation | Systems, methods and computer program products for monitoring, diagnosing and treating medical conditions of remotely located patients |
| US6442432B2 (en) * | 1999-12-21 | 2002-08-27 | Medtronic, Inc. | Instrumentation and software for remote monitoring and programming of implantable medical devices (IMDs) |
-
2001
- 2001-08-17 CN CNA018173616A patent/CN1470032A/zh active Pending
- 2001-08-17 AU AU2001278764A patent/AU2001278764A1/en not_active Abandoned
- 2001-08-17 EP EP01956944A patent/EP1327945A4/en not_active Withdrawn
- 2001-08-17 JP JP2002521791A patent/JP4792195B2/ja not_active Expired - Fee Related
- 2001-08-17 WO PCT/JP2001/007086 patent/WO2002017171A1/ja not_active Ceased
- 2001-08-17 US US10/344,915 patent/US20040117200A1/en not_active Abandoned
Patent Citations (8)
| Publication number | Priority date | Publication date | Assignee | Title |
|---|---|---|---|---|
| JPH08275927A (ja) * | 1992-02-13 | 1996-10-22 | Seta:Kk | 在宅医療システム及びこのシステムに用いる医療装置 |
| JPH0928682A (ja) * | 1995-07-18 | 1997-02-04 | Toshiba Corp | パーソナル健康管理システム |
| JPH1139564A (ja) * | 1997-07-15 | 1999-02-12 | Omron Corp | アミューズメント施設のアトラクションの利用料金算定方法,利用料金算定システム,利用料金徴収システム及び管理支援システム |
| JPH11120261A (ja) * | 1997-10-14 | 1999-04-30 | Mitsubishi Electric Corp | 在宅医療システム |
| JPH11155824A (ja) * | 1997-11-28 | 1999-06-15 | Matsushita Electric Works Ltd | 在宅健康管理システム |
| JPH11262061A (ja) * | 1998-03-06 | 1999-09-24 | Casio Comput Co Ltd | 腕装着携帯装置、通信端末装置、通信システム、及び通信処理プログラムを記録した記録媒体 |
| JP2000029830A (ja) * | 1998-07-09 | 2000-01-28 | Hitachi Ltd | データ管理システム |
| JP2000194618A (ja) * | 1998-12-24 | 2000-07-14 | Nippon Telegr & Teleph Corp <Ntt> | 手書き認証通信システム、手書き認証通信方法、手書き認証サーバ及び手書き入力装置 |
Also Published As
| Publication number | Publication date |
|---|---|
| EP1327945A1 (en) | 2003-07-16 |
| WO2002017171A1 (en) | 2002-02-28 |
| CN1470032A (zh) | 2004-01-21 |
| AU2001278764A1 (en) | 2002-03-04 |
| US20040117200A1 (en) | 2004-06-17 |
| EP1327945A4 (en) | 2006-03-29 |
Similar Documents
| Publication | Publication Date | Title |
|---|---|---|
| US11538563B2 (en) | Facilitating health management of subjects | |
| CN106156454B (zh) | 基于用户认证和设备与信息管理方法的健康管理系统 | |
| US8165893B1 (en) | Medical monitoring and coordinated care system | |
| AU2003267579B2 (en) | Telemedicine system | |
| CN101385637B (zh) | 远程数据管理系统和测定数据的搜集方法 | |
| EP1283023B1 (en) | Recording medium and blood glucose monitoring system | |
| JP5203185B2 (ja) | 医療データを監視するための方法およびシステム | |
| JPWO2001093557A1 (ja) | 遠隔データ管理システムおよび測定データ収集方法 | |
| JP4069722B2 (ja) | 健康管理端末 | |
| CN104915758A (zh) | 一种家庭智能终端、健康管理服务器、系统和方法 | |
| JP4792195B2 (ja) | 遠隔サービス提供システムおよび課金額算出方法 | |
| KR100561041B1 (ko) | 당뇨병 환자 원격관리 시스템 및 방법 | |
| JP2008511902A (ja) | 患者リマインダ生成 | |
| JPWO2002017171A1 (ja) | 遠隔サービス提供システムおよび課金額算出方法 | |
| Kirsch et al. | Monitoring chronically ill patients using mobile technologies | |
| JP2004213321A (ja) | 医療業務支援端末 | |
| WO2012015645A2 (en) | Computer method and system binding patient devices and physician devices | |
| JP2002159454A (ja) | 生体情報収集システム | |
| JP2002259572A (ja) | 健康支援サービスのアドバイス装置 | |
| JP5560399B2 (ja) | 心電情報通信システム運転監視システム | |
| JP2004081274A (ja) | 健康管理支援装置 | |
| JP4673865B2 (ja) | 医事会計処理システム | |
| KR20250058239A (ko) | 가정용 의료기기를 이용한 온라인 건강관리 시스템 | |
| JP2008276427A (ja) | 健康記録管理システム | |
| JP2021018552A (ja) | からだポータルサイトシステム、サーバー装置及びプログラム |
Legal Events
| Date | Code | Title | Description |
|---|---|---|---|
| A621 | Written request for application examination |
Free format text: JAPANESE INTERMEDIATE CODE: A621 Effective date: 20080626 |
|
| A131 | Notification of reasons for refusal |
Free format text: JAPANESE INTERMEDIATE CODE: A131 Effective date: 20101130 |
|
| A521 | Request for written amendment filed |
Free format text: JAPANESE INTERMEDIATE CODE: A523 Effective date: 20110131 |
|
| A02 | Decision of refusal |
Free format text: JAPANESE INTERMEDIATE CODE: A02 Effective date: 20110222 |
|
| A521 | Request for written amendment filed |
Free format text: JAPANESE INTERMEDIATE CODE: A523 Effective date: 20110520 |
|
| A911 | Transfer to examiner for re-examination before appeal (zenchi) |
Free format text: JAPANESE INTERMEDIATE CODE: A911 Effective date: 20110525 |
|
| TRDD | Decision of grant or rejection written | ||
| A01 | Written decision to grant a patent or to grant a registration (utility model) |
Free format text: JAPANESE INTERMEDIATE CODE: A01 Effective date: 20110712 |
|
| A01 | Written decision to grant a patent or to grant a registration (utility model) |
Free format text: JAPANESE INTERMEDIATE CODE: A01 |
|
| A61 | First payment of annual fees (during grant procedure) |
Free format text: JAPANESE INTERMEDIATE CODE: A61 Effective date: 20110725 |
|
| FPAY | Renewal fee payment (event date is renewal date of database) |
Free format text: PAYMENT UNTIL: 20140729 Year of fee payment: 3 |
|
| R150 | Certificate of patent or registration of utility model |
Ref document number: 4792195 Country of ref document: JP Free format text: JAPANESE INTERMEDIATE CODE: R150 Free format text: JAPANESE INTERMEDIATE CODE: R150 |
|
| R250 | Receipt of annual fees |
Free format text: JAPANESE INTERMEDIATE CODE: R250 |
|
| R250 | Receipt of annual fees |
Free format text: JAPANESE INTERMEDIATE CODE: R250 |
|
| R250 | Receipt of annual fees |
Free format text: JAPANESE INTERMEDIATE CODE: R250 |
|
| R250 | Receipt of annual fees |
Free format text: JAPANESE INTERMEDIATE CODE: R250 |
|
| R250 | Receipt of annual fees |
Free format text: JAPANESE INTERMEDIATE CODE: R250 |
|
| R250 | Receipt of annual fees |
Free format text: JAPANESE INTERMEDIATE CODE: R250 |
|
| R250 | Receipt of annual fees |
Free format text: JAPANESE INTERMEDIATE CODE: R250 |
|
| LAPS | Cancellation because of no payment of annual fees |