JP4772011B2 - 太陽電池モジュール - Google Patents

太陽電池モジュール Download PDF

Info

Publication number
JP4772011B2
JP4772011B2 JP2007209312A JP2007209312A JP4772011B2 JP 4772011 B2 JP4772011 B2 JP 4772011B2 JP 2007209312 A JP2007209312 A JP 2007209312A JP 2007209312 A JP2007209312 A JP 2007209312A JP 4772011 B2 JP4772011 B2 JP 4772011B2
Authority
JP
Japan
Prior art keywords
panel
solar cell
frame
cell module
adjacent
Prior art date
Legal status (The legal status is an assumption and is not a legal conclusion. Google has not performed a legal analysis and makes no representation as to the accuracy of the status listed.)
Expired - Fee Related
Application number
JP2007209312A
Other languages
English (en)
Other versions
JP2009044047A (ja
Inventor
聡生 柳浦
Current Assignee (The listed assignees may be inaccurate. Google has not performed a legal analysis and makes no representation or warranty as to the accuracy of the list.)
Sanyo Electric Co Ltd
Original Assignee
Sanyo Electric Co Ltd
Priority date (The priority date is an assumption and is not a legal conclusion. Google has not performed a legal analysis and makes no representation as to the accuracy of the date listed.)
Filing date
Publication date
Application filed by Sanyo Electric Co Ltd filed Critical Sanyo Electric Co Ltd
Priority to JP2007209312A priority Critical patent/JP4772011B2/ja
Publication of JP2009044047A publication Critical patent/JP2009044047A/ja
Application granted granted Critical
Publication of JP4772011B2 publication Critical patent/JP4772011B2/ja
Expired - Fee Related legal-status Critical Current
Anticipated expiration legal-status Critical

Links

Images

Classifications

    • YGENERAL TAGGING OF NEW TECHNOLOGICAL DEVELOPMENTS; GENERAL TAGGING OF CROSS-SECTIONAL TECHNOLOGIES SPANNING OVER SEVERAL SECTIONS OF THE IPC; TECHNICAL SUBJECTS COVERED BY FORMER USPC CROSS-REFERENCE ART COLLECTIONS [XRACs] AND DIGESTS
    • Y02TECHNOLOGIES OR APPLICATIONS FOR MITIGATION OR ADAPTATION AGAINST CLIMATE CHANGE
    • Y02EREDUCTION OF GREENHOUSE GAS [GHG] EMISSIONS, RELATED TO ENERGY GENERATION, TRANSMISSION OR DISTRIBUTION
    • Y02E10/00Energy generation through renewable energy sources
    • Y02E10/50Photovoltaic [PV] energy

Landscapes

  • Photovoltaic Devices (AREA)

Description

この発明は、太陽電池モジュールに関し、特に、枠状に形成されたフレームを備えた太陽電池モジュールに関する。
従来、枠状に形成されたフレームを備えた太陽電池モジュールが知られている(たとえば、特許文献1および2参照)。
上記特許文献1の太陽電池モジュールでは、1つのパネルの周縁部を支持するための枠状のフレームに、フレームを横断するように延びるリブが設けられている。上記特許文献1では、このリブによりパネルの裏面から支持することによって、パネルが変形するのを抑制している。
また、上記特許文献2においては、外枠のみにより1つのパネルの周縁部が保持される構成が開示されている。
特許第3674234号公報 特開平11−135811号公報
しかしながら、上記特許文献2のように、外枠のみにより1つのパネルの周縁部を保持する構成では、太陽電池モジュールがパネルとともに大型化した場合に、パネルに上下方向に負荷がかかることによりパネルが変形しやすくなり、その結果、パネルが破損してしまう場合があるという問題点がある。
また、上記特許文献1のように、1つのパネルの裏面からリブにより支持する構成では、パネルの上方からの負荷によりパネルが変形するのを抑制することができる一方、太陽電池モジュールがパネルとともに大型化した場合に、風圧などの下側からパネルに加わる負荷に対してはパネルが変形するのを抑制することが困難であると考えられる。この場合にも、パネルが変形することにより破損してしまう場合があるという問題点がある。
この発明は、上記のような課題を解決するためになされたものであり、この発明の1つの目的は、太陽電池モジュールが大型化した場合にも、パネルが変形して破損してしまうのを抑制することが可能な太陽電池モジュールを提供することである。
課題を解決するための手段および発明の効果
この発明の一の局面による太陽電池モジュールは、基板および発電層をそれぞれ含み、互いに隣接するように配置される第1パネルおよび第2パネルと、第1パネルおよび第2パネルの互いに隣接する領域以外の領域の外周部を支持するための枠状に形成された第1フレームと、第1パネルおよび第2パネルの互いに隣接する領域に配置され、第1パネルおよび第2パネルの互いに隣接する領域の外周部を支持するための第2フレームとを備える。
この一の局面による太陽電池モジュールでは、上記のように、第1パネルおよび第2パネルの互いに隣接する領域以外の領域の外周部を支持するための枠状に形成された第1フレームと、第1パネルおよび第2パネルの互いに隣接する領域に配置され、第1パネルおよび第2パネルの互いに隣接する領域の外周部を支持するための第2フレームとを設けることによって、第1フレームおよび第2フレームにより第1パネルおよび第2パネルを支持することができる。この場合、1枚のパネルにより太陽電池モジュールが構成されている場合と異なり、第1パネルおよび第2パネル自体を大型化することなく、パネルに対する上下方向の負荷に対して十分な強度を有する適正な大きさの第1パネルおよび第2パネルにより、大型化した太陽電池モジュールを構成することができる。このように、適正な大きさの第1パネルおよび第2パネルを第1フレームおよび第2フレームにより支持することによって、第1パネルおよび第2パネルが変形するのを抑制することができる。したがって、本発明では、太陽電池モジュールが大型化した場合にも、パネル(第1パネルおよび第2パネル)が変形して破損するのを抑制することができる。
上記構成において、好ましくは、第2フレームは、第1パネルおよび第2パネルの互いに隣接する領域の外周部の上面および下面を支持するように構成されている。
上記構成において、好ましくは、第2フレームは、絶縁性部材からなる。
上記構成において、好ましくは、第1パネルと第2パネルとは、第2フレーム内を貫通するように設けられた導線を介して電気的に接続されている。
上記構成において、好ましくは、第2フレームは、第1フレームを横断するように配置されるとともに、第1パネルおよび第2パネルの互いに隣接する領域の外周部の実質的に全域を支持するように構成され、かつ、第2フレームの両端部分が第1フレームに固定されている。
以下、本発明を具体化した実施形態を図面に基づいて説明する。
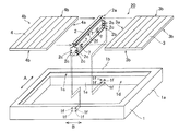
図1は、本発明の一実施形態による太陽電池モジュールの構成を示す分解斜視図である。図2は、本発明の一実施形態による太陽電池モジュールを示す平面図である。図3〜図6は、図2に示した太陽電池モジュールの構造を詳細に説明するための図である。まず、図1〜図6を参照して、本発明の一実施形態による太陽電池モジュール20の構造を説明する。
図1および図2に示すように、太陽電池モジュール20は、外側フレーム1と内側フレーム2と、互いに隣接して配置される2枚の太陽電池パネル3および4とを備えている。
外側フレーム1は、Alなどの金属からなり、平面的に見て、短手辺1aおよび長手辺1bを有する長方形状に形成されている。また、外側フレーム1は、太陽電池パネル3および4の外周部を外側から支持するための支持部1cと、脚部1dとを一体的に含んでいる。
図3および図4に示すように、支持部1cは、内側に向かって開口を有するとともに、コの字形状の断面形状を有するように形成されている。また、支持部1cは、コの字形状部分により太陽電池パネル3および太陽電池パネル4の互いに隣接する領域3aおよび4a以外の領域3b(図1参照)および4bの外周部を上下から挟むように支持している。また、支持部1cの開口部の幅(上面と下面との間の間隔)は太陽電池パネル3および4の厚みよりも大きく、支持部1cと太陽電池パネル3および4との間にはゴムなどの弾性材料からなるシール材5(図4参照)が充填されている。
また、図1に示すように、脚部1dの内側の側面1eには、互いに対向する長手辺1bの中央部に対応する位置にそれぞれ4つのネジ穴1fが設けられている。
また、内側フレーム2は、絶縁性の樹脂により形成されており、外側フレーム1を短手方向(A方向)に横断するように配置されている。この内側フレーム2は、太陽電池パネル3および4の外周部を内側から支持するための支持部2aと、脚部2bとを一体的に含んでいる。
支持部2aは、B方向の両側に向かって開口を有するとともに、H形形状の断面形状を有するように形成されており、そのH形形状部分により、太陽電池パネル3および4の互いに隣接する領域3aおよび4aの外周部の実質的に全域を上下から挟むように支持している。また、図5に示すように、外側フレーム1の場合と同様に、内側フレーム2の支持部2aの開口部の幅は太陽電池パネル3および4の厚みよりも大きく、支持部2aと太陽電池パネル3および4との間にはゴムなどの弾性材料からなるシール材6が充填されている。
また、脚部2bのA方向の両端部には、それぞれ、4つのネジ挿入穴2cが設けられている。図4および図6に示すように、この内側フレーム2のネジ挿入穴2cと外側フレーム1のネジ穴1fとがネジ7により締結されることにより、内側フレーム2の両端部が外側フレーム1に固定されている。また、図5に示すように、脚部2bのA方向の中央部には、脚部2bの一方の側面2dから他方の側面2eに貫通する穴2fが設けられている。また、一方の側面2dおよび他方の側面2eには、穴2fの開口部近傍を覆うように絶縁性の樹脂からなるカバー2gがシリコーンにより取り付けられている。
また、図1に示すように、太陽電池パネル3および4は、薄膜系の太陽電池パネルであり、A方向に延びる溝3cおよび4cにより分離された発電機能を有する複数のセル3dおよび4dがB方向に直列に接続された構造を有する。また、図5に示すように、太陽電池パネル3および4は、基板8と、表面電極層9と、発電層10と、裏面電極層11と、封止樹脂12と、バックシート13とが積層された構造を有する。
基板8は、透光性を有するガラスからなる。また、基板8の上面上には、表面電極層9が形成されている。この表面電極層8は、導電性および透光性を有する酸化錫(SnO)などのTCO(Transparent Conductive Oxide:透明酸化物導電体)からなる。
また、表面電極層9の上面上に、発電層10が形成されている。この発電層10は、pin型の非晶質(アモルファス)シリコン系半導体からなる光電変換層と、pin型の微結晶シリコン系半導体からなる光電変換層とからなる。
また、発電層10の上面上には、裏面電極層11が形成されている。また、裏面電極層11の上面上には、EVA(Ethylene−Vinyl Acetate)からなる封止樹脂12が形成されている。また、封止樹脂12の上面上には、PET(Polyethylene Terephthalate)からなるバックシート13が形成されている。また、図5に示すように、本実施形態では、太陽電池パネル3および太陽電池パネル4の内側フレーム2側のセル3dおよび4dの裏面電極層11上には、それぞれ、銅箔リードからなる集電極14および15が設けられている。集電極14の端部14aおよび集電極15の端部15aは、封止樹脂12およびバックシート13に設けられた切り込みを介してバックシート13上に露出している。また、バックシート13上に露出した集電極14の端部14aおよび集電極15の端部15aは、内側フレーム2の穴2fを介して通された接続リード線16により電気的に接続されている。上記カバー2gは、露出している接続リード線16を保護する機能を有する。
次に、本実施形態による太陽電池モジュール20の製造プロセスを説明する。
まず、図5に示すように、基板8、表面電極層9、発電層10、裏面電極層11、封止樹脂12、バックシート13を含む太陽電池パネル3および4を形成する。すなわち、ガラスからなる基板8上に表面電極層9、発電層10および裏面電極層11を積層し、レーザによるパターニングを行うことによって、複数のセル(セル3dおよび4d)が直列に接続された太陽電池パネルを形成する。この後、太陽電池パネルの端に位置するセルの裏面電極層11上に集電極14および15としての銅箔リードを超音波半田により取り付ける。
この後、この太陽電池パネル上(裏面電極層11上および集電極(集電極14および集電極15)上)にEVAシートおよびPETシートを積層し、ラミネータ(圧着装置)により約150℃で真空加熱することにより圧着を行う。この際、EVAシートおよびPETシートの集電極(集電極14および15)に対応する部分に切り込みを入れ、封止樹脂12およびバックシート13の切り込み部分から集電極14および15の端部を引き出した状態で圧着を行う。これにより、集電極14の端部14aが引き出された太陽電池パネル3と、集電極15の端部15aが引き出された太陽電池パネル4とが形成される。
そして、上記のように形成された2枚の太陽電池パネル3および4を外側フレーム1の支持部1cおよび内側フレーム2の支持部2aに、それぞれ、ゴムなどの弾性体からなるシール材5および6とともに組み込むとともに、ネジ7を外側フレーム1のネジ穴1fを介して内側フレーム2のネジ挿入穴2cに締め付ける。その後、太陽電池パネル3の表面上に引き出された集電極14の端部14aと、太陽電池パネル4の表面上に引き出された集電極15の端部15aとを内側フレーム2の穴2fを介して通された接続リード線16により接続する。そして、接続リード線16の内側フレーム2の表面に露出した部分を覆うように、端子カバー2gをシリコーンによって取り付ける。このようにして、本実施形態による太陽電池モジュール20が製造される。
本実施形態では、上記のように、太陽電池パネル3および太陽電池パネル4の互いに隣接する領域3aおよび4a以外の領域3bおよび4bの外周部を支持するための枠状に形成された外側フレーム1と、太陽電池パネル3および太陽電池パネル4の互いに隣接する領域に配置され、太陽電池パネル3および太陽電池パネル4の互いに隣接する領域3aおよび4bの外周部を支持するための内側フレーム2とを設けることによって、外側フレーム1および内側フレーム2により太陽電池パネル3および太陽電池パネル4を支持することができる。この場合、1枚のパネルにより太陽電池モジュールが構成されている場合と異なり、太陽電池パネル3および太陽電池パネル4自体を大型化することなく、太陽電池パネルに対する上下方向の負荷に対して十分な強度を有する適正な大きさの太陽電池パネル3および太陽電池パネル4により、大型化した太陽電池モジュールを構成することができる。このように、適正な大きさの太陽電池パネル3および太陽電池パネル4を外側フレーム1および内側フレーム2により支持することによって、太陽電池パネル3および太陽電池パネル4が変形するのを抑制することができる。したがって、本発明では、太陽電池モジュールが大型化した場合にも、太陽電池パネル(太陽電池パネル3および太陽電池パネル4)が変形するのを抑制することができる。これにより、外側フレーム1の強度を強化することなく、太陽電池パネル3および4の変形を抑制することができる。また、太陽電池パネル自体の強度を強化することなく太陽電池パネルが変形するのを抑制することができるので、たとえば、ガラスからなる基板8の厚みを小さくしても太陽電池パネルが変形するのを抑制することができる。基板8の厚みを小さくすることにより、基板8を透過して発電層10に入射する光の透過量を増加させることができるので、太陽電池モジュール20の出力を増加させることができる。
また、本実施形態では、上記のように、内側フレーム2の支持部2aにより、太陽電池パネル3および太陽電池パネル4の互いに隣接する領域3aおよび4aの外周部の上面および下面を支持することによって、下面からのみ太陽電池パネルを支持する場合と異なり、太陽電池パネル3および4をより強固に支持することができる。また、太陽電池パネル3および4の外周部の上面および下面を支持することによって、発電機能の無い外周部分を支持することができるので、発電機能を有する部分を遮光することなく、太陽電池パネル3および4を下面のみならず上面からも支持することができる。これにより、遮光された部分の温度が上昇することに起因して出力が低下する現象である、いわゆるホットスポットが発生するのを抑制しながら、太陽電池パネル3および4を上面からも支持することができる。
また、本実施形態では、上記のように、内側フレーム2を絶縁性の樹脂により構成することによって、内側フレームを導電性部材により構成した場合と異なり、内側フレーム2と太陽電池パネル3および4の発電機能を有する部分とを隔てる必要がない。したがって、太陽電池パネルの発電機能を有する部分を内側フレーム2側に限界まで広げることができるので、発電領域を広げることができる。
また、本実施形態では、上記のように、太陽電池パネル3と太陽電池パネル4とを、内側フレーム2内を貫通するように設けられた接続リード線16を介して電気的に接続することによって、接続リード線16が破損するのを抑制することができる。
なお、今回開示された実施形態は、すべての点で例示であって制限的なものではないと考えられるべきである。本発明の範囲は、上記した実施形態の説明ではなく特許請求の範囲によって示され、さらに特許請求の範囲と均等の意味および範囲内でのすべての変更が含まれる。
たとえば、上記実施形態では、長方形状の外側フレーム1と直線形状の内側フレーム2により、2枚の太陽電池パネル3および4を支持する例を示したが、本発明はこれに限らず、長方形状の外側フレームと十字形状の内側フレームにより、4枚の太陽電池パネルを支持してもよい。また、長方形状の外側フレームと、直線形状の2つの内側フレームにより、3枚の太陽電池パネルを支持してもよい。
また、上記実施形態では、薄膜系の太陽電池パネルを用いた例を示したが、本発明はこれに限らず、結晶系の太陽電池パネルや化合物系の太陽電池パネルなどの他の太陽電池パネルを用いてもよい。
また、上記実施形態では、内側フレーム2と太陽電池パネル3および4との間にシール材6を設けた例を示したが、本発明はこれに限らず、シール材を設けなくてもよい。
また、上記実施形態では、封止樹脂としてEVAを用いた例を示したが、本発明はこれに限らず、EEA、PVB、シリコーン、ウレタン、アクリルまたはエポキシなどを用いてもよい。
また、上記実施形態では、バックシートとしてPETを用いた例を示したが、本発明はこれに限らず、PVF、PENなどのプラスチックフィルム、金属箔との積層品、SiOなどの蒸着フィルムなどのフィルム、または、SUS、ガルバリウムなどの金属を用いてもよい。
また、上記実施形態では、外側フレームをAlにより形成した例を示したが、本発明はこれに限らず、鉄、SUSなどの他の金属または樹脂により形成してもよい。
本発明の一実施形態による太陽電池モジュールを示す分解斜視図である。 本発明の一実施形態による太陽電池モジュールを示す平面図である。 本発明の一実施形態による太陽電池モジュールを示す側面図である。 図2の100−100線に沿った断面図である。 図2の200−200線に沿った断面図である。 図3の300−300線に沿った断面図である。
符号の説明
1 外側フレーム(第1フレーム)
2 内側フレーム(第2フレーム)
3 太陽電池パネル(第1パネル)
4 太陽電池パネル(第2パネル)
8 基板
10 発電層
16 接続リード線(導線)
20 太陽電池モジュール

Claims (3)

  1. 基板および発電層をそれぞれ含み、互いに隣接するように配置される第1パネルおよび第2パネルと、
    金属からなり、前記第1パネルおよび前記第2パネルの互いに隣接する領域以外の領域の外周部を支持するための枠状に形成された第1フレームと、
    絶縁性部材からなり、前記第1パネルおよび前記第2パネルの互いに隣接する領域に配置され、前記第1パネルおよび前記第2パネルの互いに隣接する領域の外周部を支持するための第2フレームとを備え
    前記第1パネルと前記第2パネルとは、前記第2フレーム内を貫通するように設けられた導線を介して電気的に接続されている、太陽電池モジュール。
  2. 前記第2フレームは、前記第1パネルおよび前記第2パネルの互いに隣接する領域の外周部の上面および下面を支持するように構成されている、請求項1に記載の太陽電池モジュール。
  3. 前記第2フレームは、前記第1フレームを横断するように配置されるとともに、前記第1パネルおよび前記第2パネルの互いに隣接する領域の外周部の実質的に全域を支持するように構成され、かつ、前記第2フレームの両端部分が前記第1フレームに固定されている、請求項1〜のいずれか1項に記載の太陽電池モジュール。
JP2007209312A 2007-08-10 2007-08-10 太陽電池モジュール Expired - Fee Related JP4772011B2 (ja)

Priority Applications (1)

Application Number Priority Date Filing Date Title
JP2007209312A JP4772011B2 (ja) 2007-08-10 2007-08-10 太陽電池モジュール

Applications Claiming Priority (1)

Application Number Priority Date Filing Date Title
JP2007209312A JP4772011B2 (ja) 2007-08-10 2007-08-10 太陽電池モジュール

Publications (2)

Publication Number Publication Date
JP2009044047A JP2009044047A (ja) 2009-02-26
JP4772011B2 true JP4772011B2 (ja) 2011-09-14

Family

ID=40444442

Family Applications (1)

Application Number Title Priority Date Filing Date
JP2007209312A Expired - Fee Related JP4772011B2 (ja) 2007-08-10 2007-08-10 太陽電池モジュール

Country Status (1)

Country Link
JP (1) JP4772011B2 (ja)

Families Citing this family (4)

* Cited by examiner, † Cited by third party
Publication number Priority date Publication date Assignee Title
KR101036261B1 (ko) 2010-12-20 2011-05-23 (주)이맥스시스템 휨방지 장치를 구비한 평판형 태양열 집열기
JPWO2013061995A1 (ja) * 2011-10-24 2015-04-02 京セラ株式会社 太陽電池モジュールおよび太陽電池アレイ
DE102013018754A1 (de) * 2013-11-08 2015-05-28 Anton Naebauer PV-Modul bei dem Brüche von Zellen verrneiden werden und dessen Anwendung in PV-Kraftwerken
JP6869014B2 (ja) * 2016-11-25 2021-05-12 シャープ株式会社 太陽電池モジュール及びその製造方法

Family Cites Families (10)

* Cited by examiner, † Cited by third party
Publication number Priority date Publication date Assignee Title
JPS58184854A (ja) * 1982-04-23 1983-10-28 Nec Corp 温度補償形多相多値変調装置
JPS61201355A (ja) * 1985-03-05 1986-09-06 Fujitsu Ltd タ−ミナル資源の破壊防止方式
JP2798762B2 (ja) * 1989-12-27 1998-09-17 三洋電機株式会社 屋根設置型太陽電池装置
JP3457783B2 (ja) * 1995-11-28 2003-10-20 シャープ株式会社 太陽電池モジュールおよびその架台取付構造
JP3760569B2 (ja) * 1997-06-20 2006-03-29 株式会社カネカ 太陽電池モジュール
JP3121786B2 (ja) * 1997-09-19 2001-01-09 司電機産業株式会社 太陽電池装置
JP2002242355A (ja) * 2001-02-20 2002-08-28 Takechi Kogyo Gomu Co Ltd 電波吸収板および太陽電池モジュールの取付構造並びに取付施工方法
JP2003031833A (ja) * 2001-07-11 2003-01-31 Sekisui Chem Co Ltd 太陽電池モジュール
JP2004087884A (ja) * 2002-08-28 2004-03-18 Mitsubishi Heavy Ind Ltd 太陽電池パネルの支持枠構造
JP2006165171A (ja) * 2004-12-06 2006-06-22 Canon Inc 太陽電池モジュール及び、その接続方法

Also Published As

Publication number Publication date
JP2009044047A (ja) 2009-02-26

Similar Documents

Publication Publication Date Title
US9948232B2 (en) Method for fabricating flexible solar panel module
JP4989549B2 (ja) 太陽電池及び太陽電池モジュール
TWI413266B (zh) 太陽能電池模組
EP2028696A2 (en) Solar cell and solar cell module
CN100559611C (zh) 光电池模块
CN101345266B (zh) 太阳能电池模块
JP4948219B2 (ja) 太陽電池
JP6624418B2 (ja) 太陽電池モジュール
JP5879537B2 (ja) 太陽電池パネル、太陽電池モジュールおよび太陽電池モジュールの製造方法
JP4860652B2 (ja) 太陽電池モジュールおよびその製造方法
JP2005011869A (ja) 太陽電池モジュールおよびその製造方法
JP2009081205A (ja) 太陽電池モジュール
EP2590227A1 (en) Method for manufacturing solar cell module, and solar cell module manufactured by the method
JP5430326B2 (ja) 太陽電池モジュール
TWI669828B (zh) Solar battery module, solar battery module manufacturing method and wire
JP2010016246A (ja) 太陽電池モジュール及びその製造方法
JP4772011B2 (ja) 太陽電池モジュール
JP2008300449A (ja) 太陽電池モジュール及びその製造方法
JP2005191125A (ja) 太陽電池素子接続用接続タブ及び太陽電池モジュール並びに太陽電池モジュールの製造方法
US9373738B2 (en) Solar module
JP5147754B2 (ja) 太陽電池モジュール
JP7530221B2 (ja) 太陽電池ストリング及び太陽電池モジュール
CN105556683A (zh) 太阳能电池模块
JP2011044751A (ja) 太陽電池モジュール
TWI613407B (zh) 具波浪狀之光伏模組及其製法

Legal Events

Date Code Title Description
A977 Report on retrieval

Free format text: JAPANESE INTERMEDIATE CODE: A971007

Effective date: 20100728

A131 Notification of reasons for refusal

Free format text: JAPANESE INTERMEDIATE CODE: A131

Effective date: 20100803

A521 Request for written amendment filed

Free format text: JAPANESE INTERMEDIATE CODE: A523

Effective date: 20100902

TRDD Decision of grant or rejection written
A01 Written decision to grant a patent or to grant a registration (utility model)

Free format text: JAPANESE INTERMEDIATE CODE: A01

Effective date: 20110524

A01 Written decision to grant a patent or to grant a registration (utility model)

Free format text: JAPANESE INTERMEDIATE CODE: A01

A61 First payment of annual fees (during grant procedure)

Free format text: JAPANESE INTERMEDIATE CODE: A61

Effective date: 20110621

FPAY Renewal fee payment (event date is renewal date of database)

Free format text: PAYMENT UNTIL: 20140701

Year of fee payment: 3

FPAY Renewal fee payment (event date is renewal date of database)

Free format text: PAYMENT UNTIL: 20140701

Year of fee payment: 3

LAPS Cancellation because of no payment of annual fees