JP4697293B2 - 水処理装置 - Google Patents

水処理装置 Download PDF

Info

Publication number
JP4697293B2
JP4697293B2 JP2008310952A JP2008310952A JP4697293B2 JP 4697293 B2 JP4697293 B2 JP 4697293B2 JP 2008310952 A JP2008310952 A JP 2008310952A JP 2008310952 A JP2008310952 A JP 2008310952A JP 4697293 B2 JP4697293 B2 JP 4697293B2
Authority
JP
Japan
Prior art keywords
water
flow rate
channel
water channel
purified
Prior art date
Legal status (The legal status is an assumption and is not a legal conclusion. Google has not performed a legal analysis and makes no representation as to the accuracy of the status listed.)
Expired - Fee Related
Application number
JP2008310952A
Other languages
English (en)
Other versions
JP2010131545A (ja
Inventor
泰彦 江▲崎▼
良 北園
浩一 中西
Current Assignee (The listed assignees may be inaccurate. Google has not performed a legal analysis and makes no representation or warranty as to the accuracy of the list.)
Panasonic Corp
Panasonic Electric Works Co Ltd
Original Assignee
Panasonic Corp
Matsushita Electric Works Ltd
Priority date (The priority date is an assumption and is not a legal conclusion. Google has not performed a legal analysis and makes no representation as to the accuracy of the date listed.)
Filing date
Publication date
Application filed by Panasonic Corp, Matsushita Electric Works Ltd filed Critical Panasonic Corp
Priority to JP2008310952A priority Critical patent/JP4697293B2/ja
Priority to TW098141016A priority patent/TWI388369B/zh
Priority to KR1020090118029A priority patent/KR101151498B1/ko
Priority to CN2009102531466A priority patent/CN101746853B/zh
Publication of JP2010131545A publication Critical patent/JP2010131545A/ja
Priority to HK10111759.6A priority patent/HK1145314B/xx
Application granted granted Critical
Publication of JP4697293B2 publication Critical patent/JP4697293B2/ja
Expired - Fee Related legal-status Critical Current
Anticipated expiration legal-status Critical

Links

Images

Classifications

    • CCHEMISTRY; METALLURGY
    • C02TREATMENT OF WATER, WASTE WATER, SEWAGE, OR SLUDGE
    • C02FTREATMENT OF WATER, WASTE WATER, SEWAGE, OR SLUDGE
    • C02F1/00Treatment of water, waste water, or sewage
    • C02F1/46Treatment of water, waste water, or sewage by electrochemical methods
    • C02F1/461Treatment of water, waste water, or sewage by electrochemical methods by electrolysis
    • C02F1/46104Devices therefor; Their operating or servicing
    • CCHEMISTRY; METALLURGY
    • C02TREATMENT OF WATER, WASTE WATER, SEWAGE, OR SLUDGE
    • C02FTREATMENT OF WATER, WASTE WATER, SEWAGE, OR SLUDGE
    • C02F2201/00Apparatus for treatment of water, waste water or sewage
    • C02F2201/002Construction details of the apparatus
    • C02F2201/006Cartridges
    • CCHEMISTRY; METALLURGY
    • C02TREATMENT OF WATER, WASTE WATER, SEWAGE, OR SLUDGE
    • C02FTREATMENT OF WATER, WASTE WATER, SEWAGE, OR SLUDGE
    • C02F2201/00Apparatus for treatment of water, waste water or sewage
    • C02F2201/46Apparatus for electrochemical processes
    • C02F2201/461Electrolysis apparatus
    • C02F2201/46105Details relating to the electrolytic devices
    • C02F2201/4612Controlling or monitoring
    • C02F2201/46145Fluid flow

Landscapes

  • Chemical & Material Sciences (AREA)
  • Chemical Kinetics & Catalysis (AREA)
  • Electrochemistry (AREA)
  • General Chemical & Material Sciences (AREA)
  • Life Sciences & Earth Sciences (AREA)
  • Hydrology & Water Resources (AREA)
  • Engineering & Computer Science (AREA)
  • Environmental & Geological Engineering (AREA)
  • Water Supply & Treatment (AREA)
  • Organic Chemistry (AREA)
  • Water Treatment By Electricity Or Magnetism (AREA)
  • Water Treatment By Sorption (AREA)
  • Separation Using Semi-Permeable Membranes (AREA)
  • Domestic Plumbing Installations (AREA)

Description

本発明は、水道水等の原水を浄化処理や電解処理して、生成された処理水を供給する水処理装置に関する。
従来、家庭用の水処理装置として、浄水器やアルカリイオン整水器等を台所や厨房等の流し台に設けられた水栓に付設し、電解水やミネラル水、または浄水等の所定の処理水を生成するものが知られている(例えば、特許文献1参照)。
この特許文献1に記載の水処理装置は、電解水モードと浄水モードとの切り替えが可能となっており、原水が供給される吸水路をカートリッジに接続するとともに、当該吸水路の途中に内部にオリフィス等の抵抗体を有する定流量弁を取り付けることで、浄水カートリッジ以降の水路内の水圧が過剰に高まってしまうのを抑制している。
特開2006−247553号公報
しかしながら上記従来の水処理装置においては、電解水モードと浄水モードとで水路内を流れる水の流量がほぼ同一になっているため、浄水の吐出流量を大きくすると、電解槽のサイズを大きくして電解水生成機能を高める必要がある。また、電解槽のサイズを小さくすると浄水の吐出流量を少なく設定せざるを得ず、装置の使い勝手が悪化してしまう。
そこで、本発明は、浄水流量の低下を抑制しつつ小型化を図ることのできる水処理装置を得ることを目的とする。
請求項1の発明にあっては、原水を浄化する浄水カートリッジと原水または浄水を電気分解する電解槽とを有する装置本体と、浄水を吐出する際に水が流れる浄水水路と電解水を吐出する際に水が流れる電解水水路とを有する水路と、を備える水処理装置において、前記水路に、前記浄水水路と電解水水路のいずれかを選択する水路切替手段を設けるとともに、前記電解水水路に、当該電解水水路内を流れる水の流量を調節する流量調節手段を設け、前記水路切替手段を前記装置本体内に設け、前記浄水カートリッジを前記電解槽の上流側に配置し、前記浄水水路と電解水水路とを前記装置本体内の前記浄水カートリッジよりも上流側で合流させたことを特徴とする。
請求項2の発明にあっては、請求項1に記載の水処理装置において、前記装置本体に、前記水処理装置の動作状態を制御する制御部を設けるとともに、当該制御部に接続させて前記水路切替手段の位置を検知する検知手段を設けたことを特徴とする。
請求項1の発明によれば、電解水モード選択時に、電解槽に流入する水の流量を、当該電解槽による電解水の生成能力に応じた流量となるように制限することができるため、電解槽の小型化を図ることが可能となり、水処理装置の小型化を図ることが可能となる。
また、部品点数の増加を抑えるとともに構成の簡素化を図ることができ、製造コストの削減を図ることができる。
請求項2の発明によれば、水処理装置の浄水モードと電解水モードいずれかの選択を自動で制御することが可能となる。
以下、本発明の好適な実施形態について図面を参照しながら説明する。
図1は、本実施形態にかかる水処理装置としてのアルカリイオン整水器の全体構成を説明する構成図である。図2は、流量切替弁を示す拡大断面図、図3は、流路切替弁の位置を検知する検知手段を模式的に示す断面図、図4は、検知手段をレバーの裏側から見た図であって、(a)は、アルカリ水モードが選択された状態を示す図、(b)は、浄水モードが選択された状態を示す図である。
本実施形態にかかるアルカリイオン整水器(水処理装置)6は、原水からアルカリイオン水や酸性イオン水を生成したり、原水を浄水したりする電解水生成装置として利用されるものであって、水道水等の原水を処理するアルカリイオン整水器6を台所や厨房等の流し台に設けられた水栓1に付設することで、アルカリイオン整水器6で処理された処理水を吐水口20から吐水できるようになっている。なお、このアルカリイオン整水器6は、流し台上に設置してもよいし、流し台の内部に設置する、いわゆるビルトインタイプとしてもよい。
アルカリイオン整水器6は、図1に示すように、水道水等の原水を供給する水栓1に、給水管(水路)5を介して接続されている。水栓1には、原水管2を介して、水切替ユニット3が取り付けられており、この水切替ユニット3に設けられている水切替レバー4を図1に示すように上下方向に回動させることで、原水をそのまま使用する「原水」側の位置と、原水をアルカリイオン整水器6へ供給して浄水として使用する「浄水」側の位置とを切り替えている。
本実施形態では、水切替レバー4を上方に回動させると、水切替レバー4が「浄水」側の位置となり、原水がアルカリイオン整水器6へ供給されるようになる。
具体的には、水切替レバー4が「浄水」側の位置のとき、原水は、本体部(装置本体)6a内の浄水カートリッジ12に接続されている給水管5を介してアルカリイオン整水器6の本体部6aへ供給され、浄水カートリッジ12内に供給されて浄水が行われる。
ここで、本実施形態では、給水管5は、本体部6a内の浄水カートリッジ12の上流側で2つの水路に分岐した浄水水路8と電解水水路9とを備えており、当該2つの水路を選択的に塞ぐ水路切替弁を有する水質切替レバー7を操作することにより、浄水水路8と電解水水路9のうちの一方の側の水路が塞がれるとともに、他方の水路が連通されるようにしている。本実施形態では、本体部6aへ供給された水は、アルカリイオン整水器6を浄水モードで使用する場合には、浄水水路8を通過して浄水カートリッジ12内に供給され、電解水モードで使用する場合には、電解水水路9を通過して浄水カートリッジ12内に供給されるようになっている。
すなわち、水質切替レバー7は、アルカリイオン整水器から取り出す水を浄水またはアルカリイオン水のどちらにするかを選択するためのレバーである。
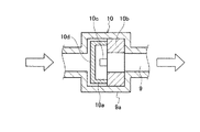
さらに、電解水水路9には、定流量弁10が設けられている。本実施形態では、定流量弁10は、樹脂等の硬質な材料で形成された有底円筒状のカップ部10aと、ゴム等の弾性材料で形成され、中心部に連通路が設けられた略円筒状の弁10bとを備えており、電解水水路9を拡径させた拡径部9aにカップ部10aを下流側に開口するように配置するとともに、弁10bを拡径部9aのカップ部10aの開口側(下流側)に配置している。
そして、カップ部10aに、スリット10cを設け、水圧の変化によって電解水水路9の開口面積を変化させるようにすることで、浄水カートリッジ12に流入する水の流量が一定となるようにしている。
具体的には、定流量弁10に流入する原水の流量が上昇し、カップ部10aの受圧面10dにかかる水圧が高まると、弁10bに当接しているカップ部10aのスリット10cが弁10bに押し付けられ、電解水水路9の開口面積が小さくなるようにしている。このように、受圧面10dにかかる水圧が高まった場合に、電解水水路9の開口面積を小さくすることで、電解水水路9を通過して浄水カートリッジ12に流入する原水の流量が一定となるように調節している。
このような定流量弁10を電解水水路9にのみ設けることで、水質切替レバー7を操作して浄水モードを選択した場合には、原水がそのまま浄水カートリッジ12に流入されるようにし、電解水モードを選択した場合には、原水が流量調節手段としての定流量弁10を介して浄水カートリッジ12に流入させ、後述する電解槽15に流入する水の流量を、当該電解槽15によるアリカリイオン水等の電解水の生成能力に応じた流量となるように制限している。
なお、カップ部10aに、水圧の変化によっても開口面積が変化しないスリットを設け、水栓1から所定流量の原水を供給した際に、電解水水路9を通過して浄水カートリッジ12に供給される流量の方が、浄水水路8を通過して浄水カートリッジ12に供給される流量よりも少なくなるようにするだけでもよい。
さらに、本実施形態では、電解槽15よりも上流側かつ浄水カートリッジ12よりも上流側で浄水水路8および電解水水路9の2つの水路を合流させ、本体部6a内に供給された水が、浄水モード、電解水モードいずれの場合においても、合流水路11を介して浄水カートリッジ12に供給されるようにすることで、1つの浄水カートリッジ12を用いることができるようにしている。
この浄水カートリッジ12は、原水中の残留塩素やトリハロメタン、カビ臭などを吸着する活性炭及び一般細菌や固形不純物を除去する中空糸膜などを備え、原水を浄化して浄水を生成する浄水部である。
そして、浄水カートリッジ12の下流には、流量センサ13が設けられており、この流量センサ13により浄水の流量が計測される。また、流量センサ13の下流には、グリセロリン酸カルシウムや乳酸カルシウムからカルシウムイオンを浄水に添加して導電率を高めるカルシウム供給部14が設けられている。流量センサ13で流量が計測された浄水の一部は、カルシウム供給部14を通過した後に、残部はそのままで、電解槽15へ流入する。
電解槽15は、電解槽15を二分して2つの電極室を形成する隔膜16と、各電極室に配置された電極板17,18を備えている。電解槽15は、通常運転時には、後述するコントローラ24から電極板17に負の直流電圧が供給され、電極板18に正の直流電圧が供給され、水の電気分解を行う電解部である。この結果、陰極側の電極室内にアルカリイオン水、陽極側の電極室内に酸性イオン水が生成されることになる。
電解槽15には、電極板17側の水(電極板17が陰極の場合、アルカリイオン水)を吐水口20から吐出する吐出管19と、電極板18側の水(電極板18が陽極の場合、酸性イオン水)と電解槽15内の滞留水や電極板洗浄時のカルシウム、マグネシウムなどからなるスケールが溶出した洗浄水を排水口23から排出するための排水管21が接続されている。そして、排水管21には、水質切替レバー7の操作と連動して開閉する切替弁22が設けられている。本実施形態では、切替弁22は、水質切替レバー7を操作して浄水モードを選択したときに閉じて、電解水モードを選択したときに開くように水質切替レバー7に連動させている。
コントローラ24は、アルカリオン整水器全体を制御すると共に、電極板17,18へ印加する直流の極性及び電圧電流を制御して、電解槽15による電気分解を制御する。またコントローラ24は、流量センサ13が検出した流量信号に基づいて、通水の有無、及び通水時の流量を検知する。
さらにコントローラ24は、演算部24aと、記憶部24bとを備えている。演算部24aは、アルカリイオン整水器6の動作状態である流量センサ13が検出した流量値、及び電極板17,18へ供給する電流値の積算値である積算電流値に基づいて、浄水カートリッジ12の寿命情報、及び電解槽15の寿命情報を演算する。記憶部24bは、演算部24aが演算した寿命情報を記憶する。記憶部24bは、EEPROMやフラッシュメモリ等を用いた記憶部であり、電源部25からの電源供給が停止しても記憶内容が消えない不揮発性の記憶部である。
本実施形態において、記憶部24bが記憶する具体的な寿命情報としては、浄水カートリッジ12の寿命情報と、電解槽15の寿命情報とがある。さらにアルカリイオン整水器6に寿命管理が必要な部品があれば、その部品の寿命情報も記憶部24bに記憶することが可能である。
浄水カートリッジ12の寿命情報としては、浄水カートリッジ12に通水した積算流量値や浄水カートリッジ12の交換後又は使用開始からの経過時間等が考えられる。したがって、表示部27aにカートリッジ交換ランプを設け、積算流量値が所定の通水限度流量値(例えば、12000リットル)、または、経過時間が所定の限界値(例えば、1年)に達したときに、当該カートリッジ交換ランプを点灯させることで、浄水カートリッジ12の寿命が尽きたことをを知らせるようにすることが可能である。また、電解槽15の寿命情報としては、電解槽15の通電時間の積算値である積算通電時間値を用いることが考えられるため、電解槽15の積算通電時間が850時間に達した際に、コントローラ24に電解槽15の寿命が尽きたと判断させて表示部27aの図示せぬ水質表示ランプを点灯させ、使用者に販売店または工事店に連絡するように促す表示を行うようにすることができる。
電源部25は、電源プラグ26から供給される商用交流電源のAC100Vから、コントローラ24が動作するための直流電圧、及びコントローラ24から電極板17,18へ供給するための直流電圧に変換して、コントローラ24へ供給する。
パネル部27は、表示部27aと、操作部27bとを備えている。表示部27aは、コントローラ24に接続され、アルカリイオン整水器6の動作状態、及び記憶部24bに記憶された寿命情報を表示することが可能である。操作部27bは、コントローラ24に接続され、アルカリイオン整水器6に対する動作設定が入力可能である。また、操作部27bは、コントローラ24の交換時に、記憶部24bに記憶された寿命情報を読み出す操作指示、或いは、使用開始日に関連する日付情報、或いは保守作業日の日付情報を入力することが可能である。
このパネル部27の表示部27aには、例えば、アルカリイオン整水器6が生成する水質を表示するために、浄水ランプと、弱酸性ランプと、弱アルカリランプと、強アルカリランプが設けられている。さらに、パネル部27の表示部には、アルカリイオン整水器6の状態として、弱酸性水またはアルカリイオン水を生成中であることを示す生成中ランプや、電解槽15の洗浄中であることを示す洗浄中ランプや、電解槽15の洗浄が必要なことを示す洗浄お知らせランプや、浄水カートリッジ12の交換が必要なことを示すカートリッジ交換ランプが設けられている。各ランプは、特に限定されないが、電力消費が小さく長寿命である発光ダイオードで構成するのが好適である。
またパネル部27の操作部27bには、アルカリイオン整水器6に対する動作設定を入力するスイッチが設けられている。例えば、アルカリイオン整水器6で生成する水質を指示するために、弱酸性イオン水の生成を指示する弱酸性ボタンと、弱アルカリイオン水または強アルカリイオン水の生成を指示するアルカリボタンとを備えるようにすることが可能である。
さらにパネル部27の操作部27bに、浄水カートリッジ12の交換後にカートリッジ交換ランプを消灯させるとともに、コントローラ24に対して、カートリッジ交換を認識させ、浄水カートリッジ12の寿命情報をリセットさせるリセットボタンを設けてもよい。各ボタンは、特に限定されないが、防水性に優れたメンブレンスイッチで構成するのが好適である。
また、本体部6aの外郭には、水路切替弁の位置を検知する検知手段31が設けられている。
本実施形態では、例えば、マグネット29が固定されたレバー28を水質切替レバー7に取り付け、レバー28を回動させることで、水質切替レバー7の水路切替弁を回動させて浄水水路8と電解水水路9の一方の水路を選択的に塞ぐようにしている。
そして、図4(a)に示すように、浄水水路8が水路切替弁によって塞がれている時に、マグネット29が近づくとともに、図4(b)に示すように、電解水水路9が水路切替弁によって塞がれている時に、マグネット29が遠ざかる位置に、マグネット29が発生する磁力を検出する磁気センサ基板30を設けている。この磁気センサ基板30は、コントローラ24に接続されており、コントローラ24は、磁気センサ基板30が検出した磁気信号に基づいて、浄水モード、電解水モードのいずれが選択されたかを検知する。このように、マグネット29と磁気センサ基板30とが水路切替弁の位置を検知する検知手段31として機能している。
次に、本実施形態における浄水動作及び電解動作について説明する。
まず使用者は、パネル部27の弱酸性ボタンとアルカリボタンとを使用して所望の水質を生成するモードを選択し、レバー28を回動させて本体部6aの水質切替レバー7を所望の水質に応じて浄水側又はアルカリ側に切り替え、水切替レバー4を浄水側へ切り替えて、水栓1を開く。
これにより、水栓1から供給された原水は、原水管2、水切替ユニット3、給水管5を経て、本体部6aに供給される。このとき、水質切替レバー7がアルカリ側である場合には定流量弁10を通過して一定の流量に制限された原水が浄水カートリッジ12へ供給され、水質切替レバー7が浄水側である場合には定流量弁10をバイパスして流量制限されない原水が浄水カートリッジ12へ供給される。浄水カートリッジ12で浄化された浄水は、流量センサ13で流量が検出され、カルシウム供給部14でカルシウム分が添加された浄水は、電解槽15へ流入する。
コントローラ24は、流量センサ13が検出した流量値が所定値を超えると通水開始を認識して、流量センサ13が一定の通過水量毎に発生するパルス信号のカウントを開始することにより積算流量値の演算を開始する。またコントローラ24は、通水開始を認識すると、パネル部27および選択されるとともに検知手段31で検知したモード(或いは水質)に応じて、電解槽15への電圧印加を開始するとともに、通電開始から通電停止までの今回の通電時間の計測を始める。但し、浄水モードであれば、コントローラ24は電解槽15の電極板17、18には電圧を印加せず、通電時間の計測もしない。そして、浄水モードでは、水質切替レバー7の浄水側への切替に応じて切替弁22は閉じられて排水管21による排水は停止し、電気分解されない浄水が電解槽15から吐出管19を介して吐出され、利用可能となる。
パネル部27で選択されたモードが、強アリカリモードまたは弱アルカリモードであれば、コントローラ24は、電極板17に負電圧、電極板18に正電圧を印加して電解槽15に電気分解を行わせる。強アリカリモードでは、弱アルカリモードよりも電極板17,18に通電する電流値が大きく、水の単位流量当たりの通電電荷量が大きくなり、この結果、生成されるアルカリイオン水のpH値が相対的に高くなる。この電気分解により生成された強アルカリイオン水または弱アルカリイオン水は、陰極となった電極板17を備えた電極室から吐出管19を介して吐出され、利用可能となる。このとき同時に、陽極となった電極板18を備えた電極室からは、酸性水が切替弁22及び排水管21を介して排出される。
逆にパネル部27で選択されたモードが弱酸性モードであれば、コントローラ24は、電極板17に正電圧、電極板18に負電圧を印加して電解槽15に電気分解を行わせる。この電気分解により生成された弱酸性イオン水は、陽極となった電極板17を備えた電極室から吐出管19を介して吐出され、利用可能となる。このとき同時に、陰極となった電極板18を備えた電極室からは、アルカリイオン水が切替弁22及び排水管21を介して排出される。
所望の水質の水の利用が終わると、使用者は水栓1を閉じて、原水の供給を止める。原水の供給が止まると、流量センサ13が検出する流量値が所定値未満となり、コントローラ24は、止水を認識する。コントローラ24は、止水を認識すると、電解槽15への通電を停止する。またコントローラ24の演算部24aは、記憶部24bに記憶した積算流量値を読み出して、読み出した値に、今回の通水開始から通水停止までの積算流量値を加算して、記憶部24bへ上書きすることにより、記憶部24bに記憶した積算流量値を更新する。
またコントローラ24の演算部24aは、記憶部24bに記憶した電解槽15の積算通電時間値を読み出して、読み出した値に今回の電解槽15への通電時間値を加算して、記憶部24bへ上書きすることにより、記憶部24bに記憶した電解槽15の積算通電時間値を更新する。
コントローラ24は、電解動作または浄水動作の終了後、記憶部24bの更新後の積算流量値と予め設定された浄水カートリッジ12の通水限度流量値とを比較し、積算流量値が通水限度流量値を超えていれば、カートリッジ交換ランプ(図示せず)を点灯させる。さらに、コントローラ24は、電解動作または浄水動作の終了後、記憶部24bに記憶された浄水カートリッジ12の使用開始日或いは前回交換日と、現在の日付とを比較し、1年以上経過していれば、表示部27aに設けたカートリッジ交換ランプを点灯させる。
以上、説明したように、本実施形態では、給水管(水路)5に、浄水水路8と電解水水路9のいずれかを選択する水質切替レバー(水路切替手段)7を設けるとともに、電解水水路9に、当該電解水水路9内を流れる水の流量を調節する定流量弁(流量調節手段)10を設けた。よって、電解水モード選択時に、電解槽15に流入する水の流量を、当該電解槽15によるアリカリイオン水等の電解水の生成能力に応じた流量となるように制限することができるため、電解槽15の小型化を図ることが可能となり、アルカリイオン整水器(水処理装置)6の小型化を図ることが可能となる。さらに、電解水モード選択時にのみ電解槽15に流入する水の流量を制限させているため、浄水モードを選択した際に浄水の吐出流量が制限されることがなくなり、アルカリイオン整水器(水処理装置)6の使い勝手を良好にすることができる。
このように、本実施形態によれば、浄水流量の低下を抑制しつつ小型化を図ることのできるアルカリイオン整水器(水処理装置)6を得ることができる。
また、本体部6a内の電解槽15よりも上流側かつ浄水カートリッジ12よりも上流側で浄水水路8と電解水水路9とを合流させているため、部品点数の増加を抑えるとともに構成の簡素化を図ることができ、アルカリイオン整水器(水処理装置)6の製造コストを削減することができる。
また、本体部6aの外郭に水質切替レバー(水路切替手段)7の水路切替弁の位置を検知する検知手段31を設けたため、アルカリイオン整水器(水処理装置)6の浄水モードと電解水モードいずれかの選択を自動で制御することが可能となる。
以上、本発明の好適な実施形態について説明したが、本発明は上記実施形態には限定されず、種々の変形が可能である。
例えば、上記実施形態では、浄水モードの際にも水が電解槽を通過する構成としたが、電解槽を迂回する水路を設け、浄水モードの際には水が電解槽を通過しない構成とすることも可能である。
本発明の一実施形態にかかる水処理装置としてのアルカリイオン整水器の全体構成を説明する構成図である。 本発明の一実施形態にかかる流量切替弁を示す拡大断面図である。 本発明の一実施形態にかかる流路切替弁の位置を検知する検知手段を模式的に示す断面図である。 本発明の一実施形態にかかる検知手段をレバーの裏側から見た図であって、(a)は、アルカリ水モードが選択された状態を示す図、(b)は、浄水モードが選択された状態を示す図である。
符号の説明
5 給水管(水路)
6 アルカリイオン整水器(水処理装置)
6a 本体部(装置本体)
7 水質切替レバー(水路切替手段)
8 浄水水路
9 電解水水路
10 定流量弁(流量調節手段)
12 浄水カートリッジ
15 電解槽
24 コントローラ(制御部)
31 検知手段

Claims (2)

  1. 原水を浄化する浄水カートリッジと原水または浄水を電気分解する電解槽とを有する装置本体と、浄水を吐出する際に水が流れる浄水水路と電解水を吐出する際に水が流れる電解水水路とを有する水路と、を備える水処理装置において、
    前記水路に、前記浄水水路と電解水水路のいずれかを選択する水路切替手段を設けるとともに、前記電解水水路に、当該電解水水路内を流れる水の流量を調節する流量調節手段を設け
    前記水路切替手段を前記装置本体内に設け、
    前記浄水カートリッジを前記電解槽の上流側に配置し、
    前記浄水水路と電解水水路とを前記装置本体内の前記浄水カートリッジよりも上流側で合流させたことを特徴とする水処理装置。
  2. 前記装置本体に、前記水処理装置の動作状態を制御する制御部を設けるとともに、当該制御部に接続させて前記水路切替手段の位置を検知する検知手段を設けたことを特徴とする請求項1に記載の水処理装置。
JP2008310952A 2008-12-05 2008-12-05 水処理装置 Expired - Fee Related JP4697293B2 (ja)

Priority Applications (5)

Application Number Priority Date Filing Date Title
JP2008310952A JP4697293B2 (ja) 2008-12-05 2008-12-05 水処理装置
TW098141016A TWI388369B (zh) 2008-12-05 2009-12-01 水處理裝置
KR1020090118029A KR101151498B1 (ko) 2008-12-05 2009-12-01 수처리 장치
CN2009102531466A CN101746853B (zh) 2008-12-05 2009-12-04 水处理装置
HK10111759.6A HK1145314B (en) 2008-12-05 2010-12-16 Water treatment apparatus

Applications Claiming Priority (1)

Application Number Priority Date Filing Date Title
JP2008310952A JP4697293B2 (ja) 2008-12-05 2008-12-05 水処理装置

Publications (2)

Publication Number Publication Date
JP2010131545A JP2010131545A (ja) 2010-06-17
JP4697293B2 true JP4697293B2 (ja) 2011-06-08

Family

ID=42343423

Family Applications (1)

Application Number Title Priority Date Filing Date
JP2008310952A Expired - Fee Related JP4697293B2 (ja) 2008-12-05 2008-12-05 水処理装置

Country Status (4)

Country Link
JP (1) JP4697293B2 (ja)
KR (1) KR101151498B1 (ja)
CN (1) CN101746853B (ja)
TW (1) TWI388369B (ja)

Families Citing this family (6)

* Cited by examiner, † Cited by third party
Publication number Priority date Publication date Assignee Title
JP5417301B2 (ja) * 2010-11-10 2014-02-12 パナソニック株式会社 水処理装置
JP2014046232A (ja) * 2012-08-30 2014-03-17 Panasonic Corp 電解水生成装置
JP2014046233A (ja) * 2012-08-30 2014-03-17 Panasonic Corp 電解水生成装置
CN108706688A (zh) * 2018-05-28 2018-10-26 佛山市顺德区悍高五金制品有限公司 一种应用于水槽的电解装置
CN109019785B (zh) * 2018-09-10 2019-08-09 佛山市顺德区悍高五金制品有限公司 一种含有可自动清洗电解装置的水槽及使用方法
KR102585707B1 (ko) * 2022-02-18 2023-10-06 대림통상 주식회사 전해수 토출 기능을 갖는 욕실 청소장치

Family Cites Families (7)

* Cited by examiner, † Cited by third party
Publication number Priority date Publication date Assignee Title
JPH0691267A (ja) * 1992-09-10 1994-04-05 Jiyanitsukusu Kk 連続式電解水生成器の制御装置
JPH0716570A (ja) * 1993-06-30 1995-01-20 Sanyo Electric Co Ltd イオン水生成器
JPH08243563A (ja) * 1995-03-15 1996-09-24 Tec Corp 電解イオン水生成器
JP2002361251A (ja) * 2001-06-07 2002-12-17 Toto Ltd 電解水生成装置
KR200330824Y1 (ko) 2003-07-30 2003-10-22 이수테크 주식회사 기능수생성장치
CN100465831C (zh) * 2007-03-21 2009-03-04 王广生 智能化水处理装置
KR20090043787A (ko) * 2007-10-30 2009-05-07 웅진코웨이주식회사 정수 기능이 있는 이온수기

Also Published As

Publication number Publication date
TWI388369B (zh) 2013-03-11
JP2010131545A (ja) 2010-06-17
CN101746853B (zh) 2012-10-03
KR101151498B1 (ko) 2012-05-30
KR20100065105A (ko) 2010-06-15
TW201028202A (en) 2010-08-01
CN101746853A (zh) 2010-06-23
HK1145314A1 (en) 2011-04-15

Similar Documents

Publication Publication Date Title
JP4697293B2 (ja) 水処理装置
TWI721195B (zh) 電解水生成裝置
JP2000317451A (ja) アルカリイオン整水器
JP4106788B2 (ja) アルカリイオン整水器
JPH01203097A (ja) 電解イオン水生成装置
JP4556569B2 (ja) 発電機及び吐水制御装置
HK1145314B (en) Water treatment apparatus
JP3882509B2 (ja) 電解水生成装置
JPH08173964A (ja) 電解水生成装置
JP3484762B2 (ja) 電解水生成装置
JP3991994B2 (ja) 電解水生成装置
JP3991995B2 (ja) 電解水生成装置
JP4474889B2 (ja) イオン整水器
JP2007000740A (ja) 殺菌洗浄装置
JP3906518B2 (ja) ビルトインアルカリ整水器
JP3835177B2 (ja) 電解水生成装置
JP4936423B2 (ja) 電解水生成装置及びそれを備えた流し台
JP2010051880A (ja) 水処理装置
JPH1043760A (ja) アルカリイオン整水器
JP2006167503A (ja) アルカリイオン整水器
JP3760676B2 (ja) アルカリイオン整水器
JP2006075700A (ja) アルカリイオン整水器
KR20050081015A (ko) 이온수기
JP3915169B2 (ja) アルカリイオン整水器
JP2006130388A (ja) アルカリイオン整水器及びその流量調節方法

Legal Events

Date Code Title Description
A621 Written request for application examination

Free format text: JAPANESE INTERMEDIATE CODE: A621

Effective date: 20100709

A977 Report on retrieval

Free format text: JAPANESE INTERMEDIATE CODE: A971007

Effective date: 20101129

A131 Notification of reasons for refusal

Free format text: JAPANESE INTERMEDIATE CODE: A131

Effective date: 20101207

A521 Request for written amendment filed

Free format text: JAPANESE INTERMEDIATE CODE: A523

Effective date: 20110112

A01 Written decision to grant a patent or to grant a registration (utility model)

Free format text: JAPANESE INTERMEDIATE CODE: A01

Effective date: 20110201

A61 First payment of annual fees (during grant procedure)

Free format text: JAPANESE INTERMEDIATE CODE: A61

Effective date: 20110214

LAPS Cancellation because of no payment of annual fees