JP4680418B2 - 遮音壁構造 - Google Patents

遮音壁構造 Download PDF

Info

Publication number
JP4680418B2
JP4680418B2 JP2001156369A JP2001156369A JP4680418B2 JP 4680418 B2 JP4680418 B2 JP 4680418B2 JP 2001156369 A JP2001156369 A JP 2001156369A JP 2001156369 A JP2001156369 A JP 2001156369A JP 4680418 B2 JP4680418 B2 JP 4680418B2
Authority
JP
Japan
Prior art keywords
sound insulation
wall structure
insulation wall
structure according
vertical beam
Prior art date
Legal status (The legal status is an assumption and is not a legal conclusion. Google has not performed a legal analysis and makes no representation as to the accuracy of the status listed.)
Expired - Fee Related
Application number
JP2001156369A
Other languages
English (en)
Other versions
JP2002348984A (ja
Inventor
浩之 矢島
哲夫 由田
良清 藤井
晴夫 玄
洋平 矢田
Current Assignee (The listed assignees may be inaccurate. Google has not performed a legal analysis and makes no representation or warranty as to the accuracy of the list.)
Daiwa House Industry Co Ltd
Original Assignee
Daiwa House Industry Co Ltd
Priority date (The priority date is an assumption and is not a legal conclusion. Google has not performed a legal analysis and makes no representation as to the accuracy of the date listed.)
Filing date
Publication date
Application filed by Daiwa House Industry Co Ltd filed Critical Daiwa House Industry Co Ltd
Priority to JP2001156369A priority Critical patent/JP4680418B2/ja
Publication of JP2002348984A publication Critical patent/JP2002348984A/ja
Application granted granted Critical
Publication of JP4680418B2 publication Critical patent/JP4680418B2/ja
Anticipated expiration legal-status Critical
Expired - Fee Related legal-status Critical Current

Links

Images

Landscapes

  • Devices Affording Protection Of Roads Or Walls For Sound Insulation (AREA)
  • Building Environments (AREA)

Description

【0001】
【産業上の利用分野】
この発明は、建物に利用される遮音壁構造に関する。
【0002】
【従来の技術】
戸建て住宅や集合住宅の間仕切壁や界壁において、石膏ボードなどを用いた乾式二重壁は、木桟や鋼製スタッドなどの下地材に面材を釘やビスを用いて留め付けることで施工される。なお、木下地の場合は接着剤を併用することもある。下地は、パネル化して成る構造もあれば、ランナーとスタッドのように下地位置を自由に設定できる構造もある。どちらの構造も面外強度を保持するために下地材の断面は壁の高さなどに応じてなるべく大きくしている。
【0003】
ところで、上記壁構造の遮音性能を向上させる手法としては、▲1▼面材を重くする(遮音基本性能の向上及び共鳴透過の回避が図れる)、▲2▼面材を厚くする(遮音基本性能の向上及び共鳴透過の回避が図れる)、▲3▼空気層を増やす(共鳴透過の回避が図れる)、▲4▼制振材を貼り付ける(遮音基本性能の向上とコインシデンス(上記▲1▼の質量則において或る周波数域になったときに透過損失が質量則より下回る現象)の抑制効果が得られる)、▲5▼表裏面の縁を切る(遮音基本性能の向上が図れる)、▲6▼壁内に吸音材を入れる(吸音効果が付加される)といった処置が考えられる。
【0004】
図5は遮音構造が施された従来の界壁構造の一例を示した断面図である。この構造では、壁厚み方向に合計で80mmにもなる木桟(縦桟)51…を千鳥状に配して表裏面の縁を切り、内部に吸音材52を充填して遮音性能を得ている。
【0005】
【発明が解決しようとする課題】
壁構造における遮音性の問題として、一般に以下ことが挙げられている。前述のごとく空気層を増したり面材重量を重くするのでは、建物の収まり、施工性、経済性の面で不利になる。制振材は、ゴムやアスファルトなどから成り一般に火に弱いため、防耐火性能が要求される場合には使えないことが多い。制振材が使えないためにコインシデンスの抑制効果が十分に得られない場合には、面材の材質を変えることとなるが、防耐火上の理由で面材の材質選びにも制約がかかる。低音域の性能は共鳴透過(太鼓的に音が発生)の他に壁面の振動形態に左右されやすいことが知られており、面外強度を保持するために剛性が高い下地材を用いると遮音性は低下する。すなわち、強度や防耐火性と遮音性は一般に二律背反の関係にある。壁面の高さ方向上下端で固定される下地(縦桟)は大抵、振れ止め等の処置を採らないと壁面を叩いたときなどに下地の共振などによって不具合を生じることがある。面材を固定するビス等は石膏ボードのコインシデンス領域等の高い音域で不利な特性を示すことが多い。このため、ビス等のピッチは大であるほうが有利であるが、防耐火上はビスピッチは小であるほうが有利である。
【0006】
この発明は、上記の事情に鑑み、建物の強度や防耐火性への影響を小さくしつつ高い遮音性を発揮する遮音壁構造を提供することを目的とする。
【0007】
【課題を解決するための手段】
この発明の遮音壁構造は、上記の課題を解決するために、壁面材を支持する縦桟が壁面構成要素として許容される弾性的挙動を示す低剛性を有してその上下端にて建物構成要素に固定されると共に、当該縦桟の非端部が水平配置部材を介して弾性的に柱に連結されて成ることを特徴とする。
【0008】
上記の構成であれば、縦桟自体が弾性的特性を有し且つ縦桟が弾性的に支持されていることにより、縦桟における振動形態は緩やかとなり(フレキシブルとなり)、略全周波数域で遮音性能が向上することになる。
【0009】
前記縦桟と前記水平配置部材とから成る構成体を二組備え、これらが表裏両面用に互いに非接触状態に設けられているのがよい。これにより、当該遮音壁構造が界壁等として用いられる場合において、表裏両側の空間(住居)の静音化に寄与できることになる。
【0010】
前記水平配置部材は、柱に直接に又は間接的に固定された横桟からなり、この横桟と前記縦桟との間に弾性体又は緩衝体が縮装されているのがよい。これによれば、縦桟と横桟の振動に対する絶縁性が良好になる。しかも縦桟の低剛性を横桟が補うことになり、全体として十分な剛性が得られる。
【0011】
前記横桟は、壁面構成要素として許容される弾性的挙動を示す低剛性を有してその左右端にて柱に直接に又は間接的に固定されていてもよい。これによれば、縦桟と横桟が共に弾性体として働き、かつこれらは縮装された弾性体を介して連結されることになり、これら各弾性の特性が異なることによって、縦桟及び横桟のビビリや共振現象を低減することになる。
【0012】
前記水平配置部材は、柱に直接に又は間接的に連結され且つ前記縦桟に連結された繊維バンドから成っていてもよい。
【0013】
前記縦桟の断面は閉口断面であってもよい。そして、かかる構成において、前記縦桟の中に発泡状制振体、粒子状物質、或いは流動性粘弾性体が充填されているのがよい。これによれば、縦桟自体が制振部材として機能し得ることになり、一層の遮音性向上が図れる。更に、上記粒子状物質にあっては、それが着磁されている場合には、内部摩擦がより大きく生じることになり、制振性が高まる。
【0014】
また、これらの構遮音壁構造を壁パネルに組み込むこととしてもよいものである。
【0015】
【発明の実施の形態】
以下、この発明の実施形態の遮音壁構造を図1及び図2に基づいて説明していく。
【0016】
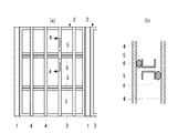
図1は遮音壁構造を示した図であって、同図(a)は正面図(壁面材である石膏ボード等は図示していない)であり、同図(b)は同図(a)のA−A矢視断面図である。柱1・1間には壁パネル2が組み込まれている。壁パネル2は方形フレーム3を有し、この方形フレーム3の左右フレーム部が柱1・1の側面に固定されている。縦桟4はその上下端が方形フレーム3の上下フレーム部に固定されている。この縦桟4は鋼製の角パイプ材からなり、比較的小さい断面積としてあり(例えば、40mm×20mmを用いることができる)、壁面構成要素として許容される範囲で弾性的挙動を示す低剛性のものとなっている。
【0017】
横桟5は溝型鋼からなり、その左右端が方形フレーム3の左右フレーム部に固定されている。この左右フレーム部は柱1に固定されているから、横桟5は間接的であるが、柱5に固定されていることになる。この実施形態では、横桟5も壁面構成要素として許容される範囲で弾性的挙動を示す低剛性(この実施形態では縦桟4よりは高剛性としている)のものとなっている。
【0018】
縦桟4と横桟5との立体交差箇所の空間部には、弾性緩衝材(例えば、柔らかめのゴム、ウレタン等)6が縮装されている。この弾性緩衝材6によって縦桟4と横桟5とが弾性的に連結されることになり、衝撃等によって縦桟4が変形するとき、弾性緩衝材6が押しつぶされていくが、やがて横桟5が受け止めてくれることになる。また、横桟5も弾性的挙動を示す低剛性(この実施形態では、縦桟よりも高剛性としている)のものとしているが、縦桟4と横桟5とによって壁全体としての剛性は十分となるようにしてある。また、縦桟4…と横桟5…と弾性緩衝材6…とからなる構成体は、表面用と裏面用とに二組設けてある。そして、表用の横桟5と裏面用の横桟5は、図1(b)に示しているように、上下方向に互いに離間して設けられており(表裏両面の縁切りがされており)、一方の側からの振動を他方の側に伝えないようになっている。
【0019】
上記の構成であれば、縦桟4と横桟5とが弾性緩衝材6を介して弾性的に連結され、且つ、縦桟4及び横桟5も弾性的挙動を示すことから、これらの関係は図2のごとく表すことができる。壁としてこのような弾性形態が得られることで、各桟4・5において”ビビリ”が抑えられるだけでなく、壁全体としての振動形態も緩やかとなり(フレキシブルとなり)、略全周波数域で遮音性能が向上することになる。
【0020】
図3は面材である石膏ボード7を二枚重ねにして角パイプの縦桟4にビス8を用いて留め付けた状態を示している。そして、この図3に示すごとく、この実施形態では、縦桟4である角パイプに粒子状物質(スラグ等)9を充填している。縦桟4は、これまで述べたごとく、低剛性とするべく断面積が小さい角パイプを用いているから、通常の断面積を持つ角パイプに粒子状物質を充填することに比べ、その量は少なくて済み、重量増大による施工性の低下やコスト高を低減することができる。また、角パイプ内が空洞のままであることに比べ、弾性座屈の防止効果も得られる。なお、粒子状物質は角パイプ内に全部充填しなくてもよく、例えば2/3程度とすることでも一定の効果を期待できる。
【0021】
縦桟4は弾性変形し得るものであり、この変形(水平変位)はその内部の粒子状物質9の摩擦状態を造り出す。この摩擦が音響エネルギーの損失効果を生じさせるため、縦桟4自体が制振部材として機能し得ることになり、一層の遮音性向上が図れる。更に、上記粒子状物質を着磁しておけば、内部摩擦がより大きく生じることになり、制振性が高まる。
【0022】
縦桟4が鋼製の角パイプから成るがゆえに(鋼製下地となるがゆえに)、音(固体伝搬音)や振動の伝達率は非常に高くなるが、上記のごとく、縦桟4が制振作用を持つことから鋼製ゆえの不利は解消される。この制振は石膏ボード7の振動に対しても作用するから、石膏ボード7のコインシデンスに対しても効果的である。すなわち、制振シートや面材タイプの制振材を使わなくても済むことになる。また、本来、ビス8は高音域の振動に対して不利な働きをするが、このビス8の先端が粒子状物質9内に存在することにより、ビス8の周辺のボード部分での制振の働きが得られ、ビス8が高音域の振動に対して有利な働きをする。従って、ビスピッチが小さいほど制振効果が期待できることになり、防耐火性向上の処置と矛盾しないことになる。なお、ビスの打ち違いや面材の張り替えなどでビスを抜いても粒子状物質9がビス穴から漏れでないように、粒子状物質9の粒径を設定しておくのが望ましい。また、粒子状物質9が着磁されている場合には、粒子間の結合力は高いため、粒子状物質9の漏出は起こりにくくなる。
【0023】
また、この実施形態では、遮音壁構造をパネル化しているため、粒子状物質は工場で予め充填することができ、現場ではクレーンの吊り上げなどで施工することができるため、現場での作業負担は殆ど増えないで済む。なお、粒子状物質9に代えてゲルなどの流動性粘弾性体を充填したり、ウレタンなどの発泡状制振体を充填することでも同様の効果が期待できる。
【0024】
図4は、横桟の代わりに引っ張りに強い性質を持つ例えばケブラー製の繊維バンド10を縦桟4の中央部に連結し、この繊維バンド10の両端を柱1・1に固定した構造を示している。かかる構造は、柱1・1が十分な強度を持つ場合に好適に用いることができる。
【0025】
【発明の効果】
以上説明したように、この発明によれば、遮音性能を得ることにおいて、制振シートや面材タイプの制振材を用いなくて済み、壁断面積も小さくできるので、施工が容易になり、コスト高も低減することができる。また、防耐火用の素材選択の余地を広げることができ、建物設計の自由度を高めることができる。また、パネル化した構成であれば、更に施工が容易になる。
【図面の簡単な説明】
【図1】この発明の実施形態における遮音壁構造を示した図であって、同図(a)は正面図、同図(b)は同図(a)のA−A矢視断面図である。
【図2】弾性的挙動を示す縦桟及び横桟が弾性緩衝材を介して弾性的に連結された状態を表した説明図である。
【図3】粒子状物質が充填された縦桟(角パイプ)に石膏ボードがビスにて留め付けられた状態を示した断面図である。
【図4】この発明の実施形態における遮音壁構造の他の例を示した斜視図である。
【図5】従来の遮音壁構造を示した断面図である。
【符号の説明】
1 柱
2 壁パネル
3 方形フレーム
4 縦桟
5 横桟
6 弾性緩衝材
7 石膏ボード
8 ビス
9 粒子状物質
10 繊維バンド

Claims (11)

  1. 壁面材を支持する縦桟が壁面構成要素として許容される弾性的挙動を示す低剛性を有してその上下端にて建物構成要素に固定されると共に、当該縦桟の非端部が水平配置部材を介して弾性的に柱に連結されて成ることを特徴とする遮音壁構造。
  2. 請求項1に記載の遮音壁構造において、前記縦桟と前記水平配置部材とから成る構成体を二組備え、これらが表裏両面用に互いに非接触状態に設けられていることを特徴とする遮音壁構造。
  3. 請求項1又は請求項2に記載の遮音壁構造において、前記水平配置部材は、柱に直接に又は間接的に固定された横桟からなり、この横桟と前記縦桟との間に弾性体又は緩衝体が縮装されていることを特徴とする遮音壁構造。
  4. 請求項3に記載の遮音壁構造において、前記横桟は、壁面構成要素として許容される弾性的挙動を示す低剛性を有してその左右端にて柱に直接に又は間接的に固定されていることを特徴とする遮音壁構造。
  5. 請求項1又は請求項2に記載の遮音壁構造において、前記水平配置部材は、柱に直接に又は間接的に連結され且つ前記縦桟に連結された繊維バンドから成ることを特徴とする遮音壁構造。
  6. 請求項1乃至請求項5のいずれかに記載の遮音壁構造において、前記縦桟の断面は閉口断面であることを特徴とする遮音壁構造。
  7. 請求項6に記載の遮音壁構造において、前記縦桟の中に発泡状制振体が充填されていることを特徴とする遮音壁構造。
  8. 請求項6に記載の遮音壁構造において、前記縦桟の中に粒子状物質が充填されていることを特徴とする遮音壁構造。
  9. 請求項6に記載の遮音壁構造において、前記縦桟の中に流動性粘弾性体が充填されていることを特徴とする遮音壁構造。
  10. 請求項8に記載の遮音壁構造において、粒子状物質が着磁されていることを特徴とする遮音壁構造。
  11. 請求項1乃至請求項10のいずれかに記載の遮音壁構造において、パネル化されたことを特徴とする遮音壁構造。
JP2001156369A 2001-05-25 2001-05-25 遮音壁構造 Expired - Fee Related JP4680418B2 (ja)

Priority Applications (1)

Application Number Priority Date Filing Date Title
JP2001156369A JP4680418B2 (ja) 2001-05-25 2001-05-25 遮音壁構造

Applications Claiming Priority (1)

Application Number Priority Date Filing Date Title
JP2001156369A JP4680418B2 (ja) 2001-05-25 2001-05-25 遮音壁構造

Publications (2)

Publication Number Publication Date
JP2002348984A JP2002348984A (ja) 2002-12-04
JP4680418B2 true JP4680418B2 (ja) 2011-05-11

Family

ID=19000384

Family Applications (1)

Application Number Title Priority Date Filing Date
JP2001156369A Expired - Fee Related JP4680418B2 (ja) 2001-05-25 2001-05-25 遮音壁構造

Country Status (1)

Country Link
JP (1) JP4680418B2 (ja)

Cited By (1)

* Cited by examiner, † Cited by third party
Publication number Priority date Publication date Assignee Title
CN110439149A (zh) * 2019-07-31 2019-11-12 上海市建筑装饰工程集团有限公司 一种装配式隔墙系统的施工方法

Families Citing this family (3)

* Cited by examiner, † Cited by third party
Publication number Priority date Publication date Assignee Title
JP4841833B2 (ja) * 2004-12-24 2011-12-21 大和ハウス工業株式会社 中空二重遮音壁の構造
CN111648547B (zh) * 2020-06-15 2024-11-15 佛山市顺德区德天建材有限公司 一种高抗压性铝塑板及其制备方法
CN119744319A (zh) * 2022-08-31 2025-04-01 吉野石膏株式会社 建筑物墙壁的交叉部结构

Family Cites Families (1)

* Cited by examiner, † Cited by third party
Publication number Priority date Publication date Assignee Title
JPS6035808U (ja) * 1983-08-16 1985-03-12 太平洋セメント株式会社 間仕切壁構造

Cited By (2)

* Cited by examiner, † Cited by third party
Publication number Priority date Publication date Assignee Title
CN110439149A (zh) * 2019-07-31 2019-11-12 上海市建筑装饰工程集团有限公司 一种装配式隔墙系统的施工方法
CN110439149B (zh) * 2019-07-31 2021-06-04 上海市建筑装饰工程集团有限公司 一种装配式隔墙系统的施工方法

Also Published As

Publication number Publication date
JP2002348984A (ja) 2002-12-04

Similar Documents

Publication Publication Date Title
KR101181987B1 (ko) 변위증폭형 제진시스템 및 이의 시공방법
KR101297416B1 (ko) 외부 부착형 제진 댐퍼 시스템 및 이의 시공방법
KR101186448B1 (ko) 층간 변형을 이용한 인방보형 이력댐퍼
CA2524547A1 (en) Fork configuration dampers and method of using same
KR20170066398A (ko) 비선형 동적 흡수체 및 그의 음향 절연을 위한 용도
KR101372087B1 (ko) 단위 모듈러 지진하중 흡수장치를 이용한 철골구조물 보강방법
JP2008088641A (ja) 建築物又は建造物の補強部材
JP4680418B2 (ja) 遮音壁構造
JP2009191584A (ja) 床スラブ構造及び床スラブ構造を有する建物
JP2019120050A (ja) 制震ユニット、制震装置および建物
JP2007046235A (ja) 制振パネル及び建物
JP2020100947A (ja) 床構造
JP5541728B2 (ja) 木造建物の制振構造
JP4902239B2 (ja) 建築物の壁面構造およびこの壁面構造に使用される制震パネル
JP2002285656A (ja) 意匠壁
JP6027061B2 (ja) 床構造および床パネル
JP3230839B2 (ja) 建物ユニットの防振構造
JP2810615B2 (ja) 振動エネルギー吸収機能を有する耐震壁
JP3215584U (ja) 制振部材及び制振構造
JP2810927B2 (ja) 制振梁
JP3245445U (ja) 制振構造
JP2010174569A (ja) 建物の制震耐力壁構造及び建物
JP7063058B2 (ja) 根太材及び天井構造
JP5301204B2 (ja) 建物の床衝撃音低減構造
KR20080057517A (ko) 슬래브 내진구조

Legal Events

Date Code Title Description
A621 Written request for application examination

Free format text: JAPANESE INTERMEDIATE CODE: A621

Effective date: 20080514

A977 Report on retrieval

Free format text: JAPANESE INTERMEDIATE CODE: A971007

Effective date: 20101129

TRDD Decision of grant or rejection written
A01 Written decision to grant a patent or to grant a registration (utility model)

Free format text: JAPANESE INTERMEDIATE CODE: A01

Effective date: 20110118

A01 Written decision to grant a patent or to grant a registration (utility model)

Free format text: JAPANESE INTERMEDIATE CODE: A01

A61 First payment of annual fees (during grant procedure)

Free format text: JAPANESE INTERMEDIATE CODE: A61

Effective date: 20110203

R150 Certificate of patent or registration of utility model

Ref document number: 4680418

Country of ref document: JP

Free format text: JAPANESE INTERMEDIATE CODE: R150

Free format text: JAPANESE INTERMEDIATE CODE: R150

FPAY Renewal fee payment (event date is renewal date of database)

Free format text: PAYMENT UNTIL: 20140210

Year of fee payment: 3

R250 Receipt of annual fees

Free format text: JAPANESE INTERMEDIATE CODE: R250

R250 Receipt of annual fees

Free format text: JAPANESE INTERMEDIATE CODE: R250

LAPS Cancellation because of no payment of annual fees