JP4635467B2 - 自動車の衝突検知センサ配設構造 - Google Patents

自動車の衝突検知センサ配設構造 Download PDF

Info

Publication number
JP4635467B2
JP4635467B2 JP2004102235A JP2004102235A JP4635467B2 JP 4635467 B2 JP4635467 B2 JP 4635467B2 JP 2004102235 A JP2004102235 A JP 2004102235A JP 2004102235 A JP2004102235 A JP 2004102235A JP 4635467 B2 JP4635467 B2 JP 4635467B2
Authority
JP
Japan
Prior art keywords
detection sensor
collision detection
mounting bracket
front side
collision
Prior art date
Legal status (The legal status is an assumption and is not a legal conclusion. Google has not performed a legal analysis and makes no representation as to the accuracy of the status listed.)
Expired - Fee Related
Application number
JP2004102235A
Other languages
English (en)
Other versions
JP2005280666A (ja
Inventor
基晴 平田
Current Assignee (The listed assignees may be inaccurate. Google has not performed a legal analysis and makes no representation or warranty as to the accuracy of the list.)
Mazda Motor Corp
Original Assignee
Mazda Motor Corp
Priority date (The priority date is an assumption and is not a legal conclusion. Google has not performed a legal analysis and makes no representation as to the accuracy of the date listed.)
Filing date
Publication date
Application filed by Mazda Motor Corp filed Critical Mazda Motor Corp
Priority to JP2004102235A priority Critical patent/JP4635467B2/ja
Publication of JP2005280666A publication Critical patent/JP2005280666A/ja
Application granted granted Critical
Publication of JP4635467B2 publication Critical patent/JP4635467B2/ja
Anticipated expiration legal-status Critical
Expired - Fee Related legal-status Critical Current

Links

Images

Landscapes

  • Body Structure For Vehicles (AREA)

Description

本発明は、エアバッグセンサ等の車両衝突検知センサの車体への配設構造に関し、特に前後方向に衝撃荷重が作用する車両の衝突を検知するセンサの車両前部への取付構造に関する。
近年、車両衝突時の二次衝突から乗員を保護すべく、エアバッグシステムが搭載された自動車が多く見受けられるようになっている。このエアバッグシステムは、衝突時の衝撃を車体に取り付けられた衝突検知センサで検知し、ECU(electrical control unit)での判定結果に基づき車内でエアバッグを展開させるものである。
このエアバッグシステムにおいて、予め設定された衝突に対してエアバッグを適正に展開させるためには、衝撃荷重が伝搬し易い車体の適正な位置に衝突検知センサが配設されることが望まれる。従来、前突(例えば正面衝突や追突)を検知するための衝突検知センサの配設構造として、衝撃荷重が入力されることが多いフロントバンパやバンパレインフォースメント等の横架部材が取り付けられる左右一対のフロントサイドフレームの前端部に衝突検知センサが配設されているものが知られている。
例えば、特許文献1には、車両前部の左右両側における前後方向に沿って延設された一対のフロントサイドフレームと、この一対のフロントサイドフレームにおける前端部間にバンパステー部材を介して横架された横架部材としてのフロントバンパと、上記フロントサイドフレームの前端部に設けられたリンフォースメントとを備え、衝突検知センサがこのフロントサイドフレームの前端部側面にリンフォースメントを介して配設されている構造が示されている。
この特許文献1に示された衝突検知センサの配設構造では、例えば前突があった場合に、まずフロントバンパに衝撃荷重が作用し、このフロントバンパに入力された衝撃荷重がバンパステー部材を介して車両の左右両側に延設されたフロントサイドフレームに伝搬され、続いてこの衝撃荷重がフロントサイドフレームの前端部であってフロントバンパとの接合部分近傍位置の側方に配設された衝突検知センサに伝搬するものとなされている。
実開平6−18165号公報
上記のように、一対のフロントサイドフレームの側面のそれぞれに衝突検知センサを配設した場合には、フロントバンパに予め設定された荷重以上の衝撃荷重が作用する前突を効果的に検知して適正にエアバッグを展開することができるとともに、例えば前突であって中心線がずれて車幅方向の一方に偏った衝突、いわゆるオフセット衝突もいずれかの衝突検知センサで検知して適正にエアバッグを展開することができるという利点がある。
しかしながら、上記衝突検知センサの配設構造によれば、前突の際に上記横架部材に衝撃荷重が作用する場合には、この衝突を適正に検知してエアバッグを展開することができるものの、例えば車高の高い車両に追突した場合等には、フロントバンパが前方の車両のフロアパネルよりも下に潜り込み衝撃荷重がフロントバンパに直接的に作用せず、予め設定された衝突であるにも拘わらず、この衝突を検知することができなかったり、フロントバンパ等の横架部材に衝撃荷重が作用する衝突と比べて応答性が悪化したりする虞があった。
本発明は、上記の事情に鑑み、前突であってフロントバンパやバンパレインフォースメント等の横架部材よりも上方に衝撃荷重が作用する衝突に対しても適正に検知することができる衝突検知センサの配設構造を提供するものである。
発明に係る衝突検知センサの配設構造は、車両前部の左右両側における前後方向に沿って延設された一対のフロントサイドフレームと、この一対のフロントサイドフレームにおける前端部間に横架された横架部材と、車両の衝突を検知すべく上記フロントサイドフレームの所定箇所に配設された衝突検知センサと、上端部が上記横架部材より上方に位置する車載部品を支持すべく上記横架部材の近傍位置であって上記一対のフロントサイドフレーム間に横架されたシュラウドとを備えた衝突検知センサの配設構造において、上記一対のフロントサイドフレームにおける前端部に上記横架部材よりも上方に突出する態様で固定された高剛性の取付ブラケットを有し、上記衝突検知センサがこの取付ブラケットを介して上記フロントサイドフレームに取り付けられているとともに、上記シュラウドが上記フロントサイドフレームに対応する所定位置よりも高い位置で上記取付ブラケットに接合されていることを特徴とするものである。
また、本発明に係る他の衝突検知センサの配設構造は、車両前部の左右両側における前後方向に沿って延設された一対のフロントサイドフレームと、この一対のフロントサイドフレームにおける前端部間に横架された横架部材と、車両の衝突を検知すべく上記フロントサイドフレームの所定箇所に配設された衝突検知センサとを備えた衝突検知センサの配設構造において、上記一対のフロントサイドフレームにおける前端部に上記横架部材よりも上方に突出する態様で固定された高剛性の取付ブラケットを有し、この取付ブラケットは上記フロントサイドフレームに取り付けられた状態で前方に開口した箱状に形成されるとともに、上記衝突検知センサがこの取付ブラケットを介して上記フロントサイドフレームに取り付けられていることを特徴とするものである。
れらの発明によれば、上記一対のフロントサイドフレームのそれぞれに上記横架部材よりも上方に突出する態様で固定された高剛性の取付ブラケットに衝突検知センサが取り付けられているので、横架部材に衝撃荷重が直接作用せず、この横架部材よりも高い位置に衝撃荷重が作用する衝突、例えば潜り込み衝突に対しても取付ブラケットに衝撃荷重が直接的に作用してこの取付ブラケットを介して衝突検知センサに衝撃荷重が入力され、予め設定された衝撃荷重以上の荷重の衝突を適正に検知することができる。しかも、衝突検知センサが高剛性の取付ブラケットを介してフロントサイドフレームも取り付けられているので、横架部材に直接的に衝撃荷重が作用する場合でもフロントサイドフレームおよび高剛性の取付ブラケットを介して衝突検知センサに確実に衝撃荷重を伝搬することができ、その精度を低下させることもない。
また、前者の場合、上端部が上記横架部材より上方に位置する車載部品を支持すべく上記横架部材の近傍位置であって上記一対のフロントサイドフレーム間に横架されたシュラウドをさらに備え、このシュラウドが上記フロントサイドフレームに対応する所定位置よりも高い位置で上記取付ブラケットに接合されるように構成されるので、シュラウドやこのシュラウドが支持する車載部品に衝撃荷重が作用する前突に対してもシュラウド等を通して衝撃荷重が取付ブラケットに伝搬され、この衝突を適正に検知することができる。しかも、フロントサイドフレームよりも高い位置で接合されているので、横架部材よりも上方に衝撃荷重が入力される衝突に対して荷重伝搬距離を短くすることができ、より迅速かつ正確に衝突を検知することができる。
一方、後者の場合、上記取付ブラケットは上記フロントサイドフレームに取り付けられた状態で前方に開口した箱状に形成されるので、軽量化を図りつつ取付ブラケットの剛性をさらに向上させることができる。
この場合、上記衝突検知センサは、この取付ブラケットの後壁部に取り付けられるのが好ましい(請求項)。
このように構成すれば、例えば衝突検知センサで検知される衝突荷重以下の荷重が作用する軽衝突によって車載部品が落下等しても衝突検知センサの破損を効果的に防止することができる。
上記横架部材は特に限定されるものではないが、前突時に衝撃荷重が入力されることが多いフロントバンパやそのバンパレインフォースメントを横架部材として採用するのが好ましく、特にバンパレインフォースメントが用いられる場合には、この高剛性のバンパレインフォースメントを基準に上方の衝突を検知できるように構成するのが好ましい(請求項)。
また、請求項1、請求項2および請求項4のいずれか1項に記載の衝突センサの配設構造において、上記シュラウドは、上記横架部材より上方に位置するアッパ部を有する前後方向開口枠状に形成されるとともに、側方に突出する突出部が設けられ、この突出部の下面が水平面として形成された上記取付ブラケットの上壁部に重ね合わされて接合されているのが好ましい(請求項)。
このように構成すれば、シュラウドをフロントサイドフレームだけでなく、これよりも上方の位置で支持することができ、当該シュラウドの支持剛性を向上させることができる。しかも、枠状に形成されたシュラウドのアッパ部に作用する衝撃荷重を適正に取付ブラケットに伝搬させることができ、所定の衝撃荷重以上の荷重が作用する衝突を迅速かつ正確に検知することができる。
さらに、請求項,請求項および請求項のいずれか1項に記載の衝突検知センサの配設構造において、車両前部の左右両側における前後方向に沿って配設されてヘッドランプまたはフェンダーボードを支持するステー部材をさらに備え、このステー部材の前端部に上記衝突検知センサがボルトとナットにより挟着されるとともに、このボルトまたはナットが挿通可能な挿通孔が上記取付ブラケットの後壁部に設けられ、この挿通孔に上記ボルトまたはナットが収められるとともに上記ステー部材の前端部が上記取付ブラケットの後壁部に重ね合わせた状態で接合されることにより、上記衝突検知センサがステー部材を介して取付ブラケットに接合されているのが好ましい(請求項)。
すなわち、ステー部材の前端部を取付ブラケットの後壁部に重ね合わせて接合するとともに、この重ね合わせ部分に上記衝突検知センサをボルトとナットで挟着するものであってもよいが、重ね合わせ部分に衝突検知センサを挟着すると、ステー部材と取付ブラケットとの接合の態様によって、或いは経時変化等に伴ってセンサの取付部分にガタが生じることがあり、このガタに起因して検知精度が悪化する虞がある。従って、上記のように構成すると、衝突検知センサはステー部材の前端部にのみ挟着されるので、このガタの発生を確実に防止することができるとともに、ステー部材を確実に取付ブラケットに接合することができる。
また、請求項1記載の衝突検知センサの配設構造において、上記車載部品は、ラジエータであることが好ましい(請求項)。
この発明に係る衝突検知センサの配設構造によれば、横架部材に直接的に衝撃荷重が作用する衝突の検知精度を低下させることなく、この横架部材よりも上方に衝撃荷重が作用する潜り込み衝突等の衝突に対しても適正に検知することができ、全体として衝突検知センサの検知精度を向上することができる。
以下、図面に基づいて本発明の実施の形態を説明する。
図1ないし図4は、本実施形態に係る衝突検知センサの配設構造を含む自動車の前部車体構造を示している。なお、本実施形態により配設される衝突検知センサはエアバッグを展開するために所定の衝突を検知する、いわゆるエアバッグセンサであるが、本発明の配設構造により配設される衝突検知センサの用途を特に限定するものではない。
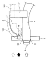
この衝突検知センサの配設構造が適用される前部車体には、車体の前後方向に沿って延設された左右一対のフロントサイドフレーム1と、両端部がこの一対のフロントサイドフレーム1の前端面に突き当てられた状態で横架されたバンパレインフォースメント2と、このバンパレインフォースメント2の後方側であって上記一対のフロントサイドフレーム1の前端部間に横架されたラジエータシュラウド3とを備え、上記バンパレインフォースメント2の前方側には、図略のフロントバンパフェースが配設されるようになっている。
具体的には、図1に示すように、閉断面を有するフロントサイドフレーム1の前端縁には、ラジエータシュラウド3を支持するためのシュラウドブラケット5が取付部50を内側に突出した状態でそれぞれ装着されるとともに、このシュラウドブラケット5の前面に車幅方向に延びるバンパレインフォースメント2の両端部が配置され、このバンパレインフォースメント2の両端部における上下両縁から延出する上下取付フランジ20によりフロントサイドフレーム1の前端部を上下から挟み込んで締結具によって固着されている。
上記シュラウドブラケット5の取付部50は、図2に示すように、高さ方向にY字状に分岐して形成され、各先端部においてラジエータシュラウド3の側部前面に接合されている。このようにシュラウドブラケット5が高さ方向にY字状に分岐して形成され、その先端部でラジエータシュラウド3を保持するので、当該シュラウド3の倒伏を効果的に防止することができる。
このラジエータシュラウド3は、後面側に配設されるラジエータRを支持するものであり(図6参照)、金属成型品等であってもよいが、本実施形態では合成樹脂成形品として構成されている。このラジエータシュラウド3は、前後方向に開口する略方形枠状に形成され、具体的には、後述する取付ブラケット4の上面よりも高い位置において車幅方向に延びるアッパ部31と、バンパレインフォースメント2よりも低い位置で上記アッパ部31に対して並設されたロア部32と、このアッパ部31およびロア部32の両端部同士を連結するサイド部33と、この各サイド部33の上端部に車幅方向外側に突出する接合突出部34とを有し、これらのアッパ部31、ロア部32およびサイド部33でラジエータRを取り囲んで上記ラジエータRを支持するとともに、上記接合突出部34が後述する取付ブラケット4に接合されることによってシュラウド3の倒伏を確実に防止している。
各接合突出部34は、図5において二点鎖線で示すように、下面が水平面として形成され取付ブラケット4の上壁部40の上面に重ね合わされる舌片状の重合部340と、この重合部340の後端縁およびサイド部33の外縁に連設されるとともに複数の面が一体形成されて剛性が高められた補強部341と、重合部340と補強部341の車幅方向外縁を接続する三角形状の補強リブ342とを有し、取付ブラケット4の上壁部40に重合部340を載置してこの上壁部40に締結具(本実施形態ではボルトとナット)により強固に接合されている。
上記前部車体には、さらに、上記一対のフロントサイドフレーム1の各前端部におけるラジエータシュラウド3に対応する部分に上方に突出して設けられた取付ブラケット4と、前端部がこの取付ブラケット4に接合されたランプステー部材6と、所定の減速度以上の減速を検出することにより衝突を検知する衝突検知センサ10とを備え、この衝突検知センサ10がランプステー部材6に接合されることにより該ランプステー部材6を介して取付ブラケット4に間接的に取り付けられているとともにこの取付ブラケット4を介してフロントサイドフレーム1に取り付けられている。
取付ブラケット4は、図5および図6に示すように、鋼板材をプレス加工することにより形成され、各フロントサイドフレーム1の前端部における上面に接合されている。この取り付けブラケット4は、上記したように、衝突検知センサ10が直接的または間接的に取り付けられるものであり、当実施形態ではさらに上記ラジエータシュラウド3およびランプステー部材6が取り付けられている。また、この取付ブラケット4は、上端縁がラジエータシュラウド3の上端部からその高さ方向4分の1程度に位置するように形成されるとともに(図2参照)、フロントサイドフレーム1に取り付けられた状態で前方が開口した箱状に形成され、このブラケット4への各種部品の取付作業性を考慮しつつ、その剛性を向上するものとなされている。
具体的には、取付ブラケット4は、図4ないし図5に示すように、上面が水平面として構成されるとともにバンパレインフォースメント2の上面よりも上方に位置するように設定された上壁部40と、この上壁部40の左右両端縁から垂下された側壁部41と、上記上壁部40の後端縁から垂下された後壁部42と、側壁部41および後壁部42の下端縁からフロントサイドフレーム1の外周面に沿って延出する接合フランジ部43,44とを有し、この接合フランジ部43,44においてフロントサイドフレーム1の外面に溶接によって接合されている。より具体的には、正面視において車幅方向外側の側壁部41が下方に向かうに従い外方に傾斜することにより正面視略台形状に形成され(図2参照)、上記ラジエータシュラウド3の支持剛性を向上させている。
後壁部42には、図6ないし図8に示すように、ランプユニット100を支持するためのランプステー部材6の前端部が重ね合わされ、この重ね合わせ部分の上下部2点であってランプステー部材6の後述する膨出部61においてスポット溶接により接合されている。
ここで、このランプステー部材6について説明すると、ランプステー部材6は、鋼板材を屈曲して形成され、図3および図4に示すように、車体の前後方向に沿って延び、上記したように前端部が取付ブラケット4に接合されるとともに、後端部がフロントサスペンション(図示せず)を収容するサスタワー部7の上面に接合されている。なお、この後端部が接合される箇所は、このサスタワー部7に限定されるものではなく、サスタワー部7の近傍位置、例えば車体の前後方向に延び、フロントフェンダーパネルを支持するエプロンレインフォースメント101やホイルハウス等に接合されるものであってもよい。
ランプステー部材6の前端部は、図7および図8に示すように、取付ブラケット4の後壁部42に重ね合わされる重合部60が設けられている。この重合部60は後方に開口した断面略コ字状に形成され、その剛性を向上するものとなされている。この重合部60には、その幅方向に沿って上下2本の膨出部61が前方に僅かに突出した状態で形成されるとともに、これらの膨出部61の間にボルト挿通孔62が当該重合部60を貫通した状態で設けられる。また、図示を省略しているが、この重合部60には、衝突検知センサ10の後述する回動防止突起111が差し込まれる突起挿入孔が当該突起111に対応した位置に設けられている。
そして、このランプステー部材6の前端部における後面側には、衝突検知センサ10が締結具としてのボルト11aとナット11bとにより取り付けられている。
この衝突検知センサ10は、所定の荷重以上の衝突荷重を検知することにより衝突を検知するエアバッグセンサであり、当実施形態では衝撃荷重が作用することにより車体の前後方向に作用する加速度や減速度を検知して電気信号を出力するGセンサが用いられている。例えば、この衝突検知センサ10として、設定減速度以上の加速度(減速度)が働くとスイッチをONにする偏心回転マスを有する機械式加速度センサが用いられる。なお、この衝突検知センサ10は、機械式加速度センサに限定するものではなく、電気式加速度センサを用いるものであってもよい。
この衝突検知センサ10は、図6ないし図8に示すように、略直方体状の本体部12と、この本体部12の一面から突出し本体部12内の回路と外部接続ケーブル(図示せず)との電気的接続を確立するコネクタ部13とを有し、本体部12で設定減速度以上の加速度を検知して電気的信号をコネクタ部13に接続された外部接続ケーブルを通じてECUに送信するものとなされている。この衝突検知センサ10は、上記コネクタ部13の開口をフロントサイドフレーム1側に向けた状態で配置されている。本体部12には、センサ取付用の上記取付用ボルト11aを挿入するためのボルト挿通孔110が本体部12を貫通した状態で設けられるとともに、本体部12の前面側に上記ボルト挿通孔110を挟む両側に、本体部12の回動を防止する回動防止突起111が設けられている。この回動防止突起111は、ランプステー部材6および取付ブラケット4の後壁部42に設けられた突起挿入孔(図示せず)に挿入されることにより上記ボルト11aを中心軸とする衝突検知センサ10の回転が防止するものとなされている。
上記ランプステー部材6に対するこの衝突検知センサ10の取付は、上記したようにボルト11aとナット11bとにより衝突検知センサ10をランプステー部材6に挟着することにより行われる。具体的には、取付用ボルト11aを後方から衝突検知センサ10およびランプステー部材6のボルト挿通孔110,62に挿入するととも、衝突検知センサ10を所定の姿勢に保ってその回動防止突起111をランプステー部材の突起挿入孔に差し込んでこの状態でボルト11aにナット11bを螺合することにより行われる。
ここで、取付ブラケット4に戻って、取付ブラケット4の後壁部42には、衝突検知センサ10のボルト挿通孔110に対向してナット逃げ孔45が後壁部42を貫通して設けられている。このナット逃げ孔45は、図8に示すように、衝突検知センサ10を取り付けるための上記ナット11bの対角距離と同等或いはこれよりも大きい直径を有し、ランプステー部材6と取付ブラケット4の後壁部42を重ね合わせたときにこのナット11bの一部を収容して、ナット11bが後壁部42に当接しないようになされている。なお、取付ブラケット4とランプステー部材6との溶接部分は、このナット逃げ孔45を挟んだ両側に配されるように設定されている。
このように、衝突検知センサ10は、高剛性のランプステー部材6を介して取付ブラケット4に取り付けられ、またこの取付ブラケット4を介してフロントサイドフレーム1に取り付けられている。従って、図4に黒矢印で示す高さ位置に衝撃荷重が作用する衝突があった場合、すなわち潜り込み衝突などバンパレインフォースメント2よりも高い位置に衝撃荷重が入力される場合、取付ブラケット4にダイレクトに衝撃荷重が入力され、この取付ブラケット4が高剛性に構成されているので、この衝撃荷重に基づく減速度を当該取付ブラケット4に高剛性のランプステー部材6を介して間接的に取り付けられた衝突検知センサ10で検知することができ、この検知結果に基づきエアバッグを適正かつ迅速に展開することができる。
一方、図4に白抜き矢印で示す高さ位置に衝撃荷重が作用する衝突があった場合、すなわちバンパレインフォースメント2に直接的に衝撃荷重が作用する場合でも、衝突検知センサ10が高剛性の取付ブラケット4を介してフロントサイドフレーム1も取り付けられているので、バンパレインフォースメント2、フロントサイドフレーム1および高剛性の取付ブラケット4を介して衝突検知センサに確実に衝撃荷重を伝搬することができ、所定の衝突を確実に検知することができ、従来の衝突検知センサの配設構造に比べてその検知精度を低下させることもない。
さらに、図4に点線の矢印で示す高さ位置に衝撃荷重が作用する衝突があった場合、すなわち同図で黒矢印よりも高い位置の潜り込み衝突があった場合でも、ラジエータシュラウド3やラジエータRを通じて衝撃荷重がフロントサイドフレーム1や取付ブラケット4に伝搬し、この衝突が所定の衝突以上のものであるときは上記衝突検知センサ10で適正に検知することができる。しかも、取付ブラケット4は、シュラウド4をフロントサイドフレーム1よりも高い位置で支持しているので、当該衝突に対してフロントサイドフレーム1を通じて衝撃荷重が伝搬される場合と比べてその荷重伝搬距離を短くすることができ、より迅速かつ適正に衝突を検知することができる。
また、衝突検知センサ10が取付ブラケット4の上壁部40ではなく後壁部42に取り付けられているので、前突があった場合にECUに対して信号を出力する前の損傷、或いはエアバッグを展開させるまでに至らない軽衝突があった場合に車載部品(例えばランプユニット100)の落下に基づく損傷を効果的に抑制することができ、衝突検知センサ10を有効に保護することができる。
さらに、この取付ブラケット4を有効に利用して、ラジエータシュラウド3が支持されるので、このラジエータシュラウド3の支持剛性が向上し、当該シュラウド3の倒伏を有効に防止することができる。
また、衝突検知センサ10がランプユニット6の前端部にのみ挟着されているので、衝突検知1センサ10の取付ガタを効果的に防止することができ、これによりその検知精度を良好なまま維持することができる。
なお、以上説明した衝突検知センサの配設構造は、本発明に係る構造の一実施形態であって、構造の具体的な構成等は、本発明の要旨を逸脱しない範囲で適宜変更可能であり、変形例を以下に説明する。
(1) 上記実施形態では、取付ブラケット4に衝突検知センサ10だけでなく、ラジエータシュラウド3等を接合するものとなされている、言い換えると衝突検知センサ10とラジエータシュラウド3等を取り付けるブラケット4を兼用しているが、衝突検知センサ10だけを取り付ける取付ブラケットを別途設けるものであってもよい。ただし、取付ブラケットを上記のように兼用することにより、コストを低く抑えることができ、しかも取付ブラケット4に接合される車載部品を通じても衝撃荷重が伝搬されるのでより前突に対するより適正な検知が可能となる。
(2) 上記実施形態では、バンパレインフォースメント2が用いられる前部車体の構造について説明しているが、バンパレインフォースメント2を設けることなく、バンパステー部材を介してフロントバンパがフロントサイドフレーム1に取り付けられる前部車体構造に対してもこの発明に係る衝突検知センサの配設構造を適用することができる。
(3) 上記実施形態では衝突検知センサがランプステー部材6を介して取付ブラケット4に取り付けられたものについて説明しているが、衝突検知センサ10が直接取付ブラケット4に取り付けられているものはもちろんのこと、ランプステー部材6の重合部60と取付ブラケット4の後壁部42とをボルト11aとナット11bとにより挟着するものであってもよい。ただし、このようにランプステー部材6と取付ブラケット4とともに挟着されるものとすると、ランプステー部材6の重合部60に設けられた膨出部61に起因して、上記したように衝突検知センサ10の取付ガタが生じる虞があるので、検知精度を向上させる観点から、一部材に直接的に取り付けるものが好ましい。
本発明に係る衝突検知センサの配設構造を含む車体構造を分解した状態で示す概略斜視図である。 同車体構造を示す正面図である。 同車体構造を示す平面図である。 同車体構造を示す側面図である。 同車体構造におけるラジエータシュラウドの支持構造を示す斜視図である。 同車体構造における衝突検知センサの配設構造を一部分解した状態で示す斜視図である。 同配設構造を示す断面図である。 図7の要部拡大図面である。
1 フロントサイドフレーム
2 バンパレインフォースメント
3 ラジエータシュラウド
4 取付ブラケット
6 ランプステー部材
10 衝突検知センサ
11b ナット
11a ボルト
31 アッパ部
34 接合突出部
45 ナット逃げ孔
100 ランプユニット
340 重合部
R ラジエータ

Claims (7)

  1. 車両前部の左右両側における前後方向に沿って延設された一対のフロントサイドフレームと、この一対のフロントサイドフレームにおける前端部間に横架された横架部材と、車両の衝突を検知すべく上記フロントサイドフレームの所定箇所に配設された衝突検知センサと、上端部が上記横架部材より上方に位置する車載部品を支持すべく上記横架部材の近傍位置であって上記一対のフロントサイドフレーム間に横架されたシュラウドとを備えた衝突検知センサの配設構造において、
    上記一対のフロントサイドフレームにおける前端部に上記横架部材よりも上方に突出する態様で固定された高剛性の取付ブラケットを有し、上記衝突検知センサがこの取付ブラケットを介して上記フロントサイドフレームに取り付けられているとともに、上記シュラウドが上記フロントサイドフレームに対応する所定位置よりも高い位置で上記取付ブラケットに接合されていることを特徴とする衝突検知センサの配設構造。
  2. 車両前部の左右両側における前後方向に沿って延設された一対のフロントサイドフレームと、この一対のフロントサイドフレームにおける前端部間に横架された横架部材と、車両の衝突を検知すべく上記フロントサイドフレームの所定箇所に配設された衝突検知センサとを備えた衝突検知センサの配設構造において、
    上記一対のフロントサイドフレームにおける前端部に上記横架部材よりも上方に突出する態様で固定された高剛性の取付ブラケットを有し、この取付ブラケットは上記フロントサイドフレームに取り付けられた状態で前方に開口した箱状に形成されるとともに、上記衝突検知センサがこの取付ブラケットを介して上記フロントサイドフレームに取り付けられていることを特徴とする衝突検知センサの配設構造。
  3. 上記横架部材は、バンパを補強するためのバンパレインフォースメントであることを特徴とする請求項1または請求項記載の衝突検知センサの配設構造。
  4. 上記衝突検知センサは、取付ブラケットの後壁部に取り付けられていることを特徴とする請求項記載の衝突検知センサの配設構造。
  5. 上記シュラウドは、上記横架部材より上方に位置するアッパ部を有する前後方向開口枠状に形成されるとともに、側方に突出する突出部が設けられ、この突出部の下面が水平面として形成された上記取付ブラケットの上壁部に重ね合わされて接合されていることを特徴とする請求項、請求項および請求項のいずれか1項に記載の衝突検知センサの配設構造。
  6. 車両前部の左右両側における前後方向に沿って配設されてヘッドランプまたはフェンダーボードを支持するステー部材をさらに備え、このステー部材の前端部に上記衝突検知センサがボルトとナットにより挟着されるとともに、このボルトまたはナットが挿通可能な挿通孔が上記取付ブラケットの後壁部に設けられ、この挿通孔に上記ボルトまたはナットが収められるとともに上記ステー部材の前端部が上記取付ブラケットの後壁部に重ね合わせた状態で接合されることにより、上記衝突検知センサがステー部材を介して取付ブラケットに接合されていることを特徴とする請求項2、請求項および請求項のいずれか1項に記載の衝突検知センサの配設構造。
  7. 上記車載部品は、ラジエータであることを特徴とする請求項1記載の衝突検知センサの配設構造。
JP2004102235A 2004-03-31 2004-03-31 自動車の衝突検知センサ配設構造 Expired - Fee Related JP4635467B2 (ja)

Priority Applications (1)

Application Number Priority Date Filing Date Title
JP2004102235A JP4635467B2 (ja) 2004-03-31 2004-03-31 自動車の衝突検知センサ配設構造

Applications Claiming Priority (1)

Application Number Priority Date Filing Date Title
JP2004102235A JP4635467B2 (ja) 2004-03-31 2004-03-31 自動車の衝突検知センサ配設構造

Publications (2)

Publication Number Publication Date
JP2005280666A JP2005280666A (ja) 2005-10-13
JP4635467B2 true JP4635467B2 (ja) 2011-02-23

Family

ID=35179505

Family Applications (1)

Application Number Title Priority Date Filing Date
JP2004102235A Expired - Fee Related JP4635467B2 (ja) 2004-03-31 2004-03-31 自動車の衝突検知センサ配設構造

Country Status (1)

Country Link
JP (1) JP4635467B2 (ja)

Families Citing this family (9)

* Cited by examiner, † Cited by third party
Publication number Priority date Publication date Assignee Title
DE102005053114A1 (de) * 2005-11-08 2007-05-10 Robert Bosch Gmbh Beschleunigungssensor und Stoßfängerverkleidung
JP4924027B2 (ja) * 2006-12-27 2012-04-25 三菱自動車工業株式会社 車体構造
JP6790342B2 (ja) * 2015-10-02 2020-11-25 トヨタ自動車株式会社 車両用センサの取り付け構造
JP6460164B2 (ja) * 2017-07-04 2019-01-30 マツダ株式会社 自動車の前部構造
FR3087402B1 (fr) * 2018-10-18 2020-10-30 Plastic Omnium Cie Renfort de parechoc destine a etre integre dans un bloc avant de vehicule comprenant une platine supportant des capteurs
US11208065B2 (en) 2020-03-05 2021-12-28 Toyota Motor Engineering & Manufacturing North America, Inc. Vehicle bumper support assemblies
JP7182655B2 (ja) * 2021-03-09 2022-12-02 本田技研工業株式会社 車両用センサの取付構造
CN115352391B (zh) * 2022-09-26 2023-06-20 岚图汽车科技有限公司 一种碰撞传感器的安装结构及车辆
CN115366994B (zh) * 2022-09-26 2023-06-23 岚图汽车科技有限公司 一种前舱区域控制器的保护结构及车辆

Family Cites Families (2)

* Cited by examiner, † Cited by third party
Publication number Priority date Publication date Assignee Title
JPH0635830Y2 (ja) * 1988-07-05 1994-09-21 マツダ株式会社 車両の衝突センサー取付構造
JP2001088637A (ja) * 1999-09-21 2001-04-03 Suzuki Motor Corp エアバッグ用センサ取付構造

Also Published As

Publication number Publication date
JP2005280666A (ja) 2005-10-13

Similar Documents

Publication Publication Date Title
JP4905372B2 (ja) 車両用衝撃センサの取付構造
JP5630721B2 (ja) 車体前部の構造
JP4635467B2 (ja) 自動車の衝突検知センサ配設構造
JP5144702B2 (ja) 車両の衝突検知センサの取付構造
WO2018155152A1 (ja) 車両用補機の配設構造
JP2007314055A (ja) 車両用衝突物体判別装置
JP2005238990A (ja) 加速度センサの取付構造
JP6597759B2 (ja) 衝突検出装置
JP4736030B2 (ja) 衝突検知センサの取付構造
JP4099781B2 (ja) 車両の牽引フック配置構造
JP5949197B2 (ja) センサ取付構造
JP2003205820A (ja) 車両のエアバッグセンサ取付構造
JP2021172156A (ja) 車両前部構造
JP5206857B2 (ja) 車両用衝撃センサの取付構造
JP3497394B2 (ja) 衝突検出センサーの取付部構造
US12172701B2 (en) Detector attachment structure for vehicle
JP7182655B2 (ja) 車両用センサの取付構造
JP4836977B2 (ja) センサーの配置構造
JP5700865B2 (ja) 車両用ヘッドライトユニット
JP3631046B2 (ja) フェンダの取付構造
JP6099244B2 (ja) エアバッグ装置の取付体
JP2019093854A (ja) 衝突検出装置
JP2025187748A (ja) ソナーセンサカバー
JP2009090853A (ja) ダイキャストステアリングハンガービーム
JP2007269097A (ja) 車体前部構造

Legal Events

Date Code Title Description
A621 Written request for application examination

Free format text: JAPANESE INTERMEDIATE CODE: A621

Effective date: 20061117

A131 Notification of reasons for refusal

Free format text: JAPANESE INTERMEDIATE CODE: A131

Effective date: 20090526

A977 Report on retrieval

Free format text: JAPANESE INTERMEDIATE CODE: A971007

Effective date: 20090528

A521 Request for written amendment filed

Free format text: JAPANESE INTERMEDIATE CODE: A523

Effective date: 20090724

A131 Notification of reasons for refusal

Free format text: JAPANESE INTERMEDIATE CODE: A131

Effective date: 20091222

A521 Request for written amendment filed

Free format text: JAPANESE INTERMEDIATE CODE: A523

Effective date: 20100218

A02 Decision of refusal

Free format text: JAPANESE INTERMEDIATE CODE: A02

Effective date: 20100629

A521 Request for written amendment filed

Free format text: JAPANESE INTERMEDIATE CODE: A523

Effective date: 20100929

A911 Transfer to examiner for re-examination before appeal (zenchi)

Free format text: JAPANESE INTERMEDIATE CODE: A911

Effective date: 20101007

TRDD Decision of grant or rejection written
A01 Written decision to grant a patent or to grant a registration (utility model)

Free format text: JAPANESE INTERMEDIATE CODE: A01

Effective date: 20101026

A01 Written decision to grant a patent or to grant a registration (utility model)

Free format text: JAPANESE INTERMEDIATE CODE: A01

A61 First payment of annual fees (during grant procedure)

Free format text: JAPANESE INTERMEDIATE CODE: A61

Effective date: 20101108

FPAY Renewal fee payment (event date is renewal date of database)

Free format text: PAYMENT UNTIL: 20131203

Year of fee payment: 3

R150 Certificate of patent or registration of utility model

Ref document number: 4635467

Country of ref document: JP

Free format text: JAPANESE INTERMEDIATE CODE: R150

Free format text: JAPANESE INTERMEDIATE CODE: R150

LAPS Cancellation because of no payment of annual fees