JP4620071B2 - 真空遮断器用接点材料 - Google Patents
真空遮断器用接点材料 Download PDFInfo
- Publication number
- JP4620071B2 JP4620071B2 JP2007068013A JP2007068013A JP4620071B2 JP 4620071 B2 JP4620071 B2 JP 4620071B2 JP 2007068013 A JP2007068013 A JP 2007068013A JP 2007068013 A JP2007068013 A JP 2007068013A JP 4620071 B2 JP4620071 B2 JP 4620071B2
- Authority
- JP
- Japan
- Prior art keywords
- alloy powder
- vacuum circuit
- circuit breaker
- contact
- contact material
- Prior art date
- Legal status (The legal status is an assumption and is not a legal conclusion. Google has not performed a legal analysis and makes no representation as to the accuracy of the status listed.)
- Expired - Fee Related
Links
Images
Landscapes
- Manufacture Of Switches (AREA)
- High-Tension Arc-Extinguishing Switches Without Spraying Means (AREA)
- Manufacture Of Metal Powder And Suspensions Thereof (AREA)
- Powder Metallurgy (AREA)
Description
表1に示すようにCuとCrとの含有比率が50:50重量%であるCu−Cr材料を電気炉で溶融した後に精練を行った。次にCuとCrの溶湯をノズルから流出させ、この金属溶湯流に対して窒素を吹き付けて金属溶湯を分散急冷することによりCu−Cr合金粉末を得た。
CuとCrとの含有比率が50:50重量%であるCu−Cr材料から成る合金棒を消費回転電極とし、高真空中で通電加熱しながら高速で回転させた。すなわち電極の一端にはW(タングステン)電極を配置し、Cu−Cr電極棒をW電極に接近させて、アークによりCu−Cr材の電極棒の先端が溶け出した液滴を回転により分散させた。その後、Heを充満させたタンク内に、上記分散した液滴を落下させることにより急冷凝固させてCu−Cr合金粉末とした。
CuとCrとの含有比率が50:50重量%であるCu−Cr合金溶湯を回転体(回転ドラム)に噴射し、分散すると同時に遠心力を利用して周囲に飛翔・冷却させることによってCu−Cr合金粉末とした。
実施例1と同様にアトマイズ法によってCu−50%Cr材料を処理することにより、Cu−Cr合金粉末を調製した。次に、アトマイズ処理後の熱処理を実施せずに、急冷処理して得たCu−Cr合金粉末をそのままプレス成形機に充填し、以下実施例1と同一条件で成形・焼結して比較例1に係るCu−Cr焼結体を調製した。また、得られたCu−Cr焼結体を加工して接触子とし、この接触子を使用して比較例1に係る真空遮断器を組み立てた。
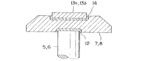
2 絶縁容器(真空容器,真空バルブ)
3a,3b 封止金属
4a,4b 蓋体
5 導電棒
6 導電棒
7 電極(固定電極)
8 電極(可動電極)
9 ベローズ
10 アークシールド
11 アークシールド
12 ろう付け部
13a,13b 接点部材
14 ろう材(Agろう材)
Claims (4)
- 高導電成分としてのCuと耐弧成分としてのCrとから成るCu−Cr材料を溶融分散し、さらに急冷することによりCu−Cr合金粉末を調整する工程と、
得られたCu−Cr合金粉末を800℃以上1080℃以下の温度で熱処理し、CuとCrを2相分離させる工程と、
上記熱処理温度から500℃以上700℃以下である温度までを30分以上の時間をかけて冷却する工程と
により製造された、Cu相におけるCrの固溶濃度が20ppm以下であり、ビッカース硬度が60Hv以下であるCu−Cr合金粉末を加圧成形して製造されたことを特徴とする真空遮断器用接点材料。 - 請求項1記載の真空遮断器用接点材料において、
前記Cu−Cr合金粉末のビッカース硬度が55Hv以上60Hv以下であることを特徴とする真空遮断器用接点材料。 - 請求項1記載の真空遮断器用接点材料において、
前記Cu−Cr合金粉末のCr含有量が20〜70重量%の範囲であることを特徴とする真空遮断器用接点材料。 - 請求項1記載の真空遮断器用接点材料において、
前記Cu−Cr合金粉末を加圧成形して得られた成形体を900℃以上1080℃以下の温度で加熱焼結する工程により製造されたことを特徴とする真空遮断器用接点材料。
Priority Applications (1)
| Application Number | Priority Date | Filing Date | Title |
|---|---|---|---|
| JP2007068013A JP4620071B2 (ja) | 2007-03-16 | 2007-03-16 | 真空遮断器用接点材料 |
Applications Claiming Priority (1)
| Application Number | Priority Date | Filing Date | Title |
|---|---|---|---|
| JP2007068013A JP4620071B2 (ja) | 2007-03-16 | 2007-03-16 | 真空遮断器用接点材料 |
Related Parent Applications (1)
| Application Number | Title | Priority Date | Filing Date |
|---|---|---|---|
| JP9343124A Division JPH11176298A (ja) | 1997-12-12 | 1997-12-12 | 真空遮断器用接点材料,その製造方法および真空遮断器 |
Publications (2)
| Publication Number | Publication Date |
|---|---|
| JP2007211348A JP2007211348A (ja) | 2007-08-23 |
| JP4620071B2 true JP4620071B2 (ja) | 2011-01-26 |
Family
ID=38490036
Family Applications (1)
| Application Number | Title | Priority Date | Filing Date |
|---|---|---|---|
| JP2007068013A Expired - Fee Related JP4620071B2 (ja) | 2007-03-16 | 2007-03-16 | 真空遮断器用接点材料 |
Country Status (1)
| Country | Link |
|---|---|
| JP (1) | JP4620071B2 (ja) |
Families Citing this family (6)
| Publication number | Priority date | Publication date | Assignee | Title |
|---|---|---|---|---|
| CN103820664B (zh) * | 2014-02-25 | 2016-04-06 | 西安理工大学 | 一种短流程制备沉淀强化铜铬合金的方法 |
| CN110699563A (zh) * | 2019-11-04 | 2020-01-17 | 西安航空学院 | 一种高Ni含量CuCr触头材料的制备方法 |
| CN113817922B (zh) * | 2021-08-30 | 2022-04-05 | 浙江省冶金研究院有限公司 | 一种铜铬触头废料的回收及利用方法 |
| CN113695582B (zh) * | 2021-11-01 | 2022-01-18 | 陕西斯瑞新材料股份有限公司 | 一种耐高温高导电CuCrNb系铜合金粉末的制备方法 |
| CN116005020B (zh) * | 2022-12-26 | 2024-03-26 | 陕西斯瑞新材料股份有限公司 | 一种用于高压直流接触器用CuTe触头材料的制备方法 |
| WO2025053146A1 (ja) * | 2023-09-08 | 2025-03-13 | 株式会社ダイセル | 合金、粒子、合金リボン、プリフォーム、焼結体、接合体、電子デバイス、及び焼結体の製造方法 |
Family Cites Families (3)
| Publication number | Priority date | Publication date | Assignee | Title |
|---|---|---|---|---|
| JPH0652644B2 (ja) * | 1983-09-30 | 1994-07-06 | 株式会社明電舎 | 真空インタラプタ |
| JP2653461B2 (ja) * | 1988-04-07 | 1997-09-17 | 株式会社東芝 | 真空バルブ用接点材料の製造方法 |
| JP3168630B2 (ja) * | 1991-10-23 | 2001-05-21 | 株式会社明電舎 | 電極材料の製造方法 |
-
2007
- 2007-03-16 JP JP2007068013A patent/JP4620071B2/ja not_active Expired - Fee Related
Also Published As
| Publication number | Publication date |
|---|---|
| JP2007211348A (ja) | 2007-08-23 |
Similar Documents
| Publication | Publication Date | Title |
|---|---|---|
| EP2492032B1 (en) | Method for manufacturing a copper-based composite material for electrical contacts | |
| JP2705998B2 (ja) | 電気接点材料の製造方法 | |
| JP4620071B2 (ja) | 真空遮断器用接点材料 | |
| CN115360035B (zh) | 一种高抗熔焊性CuCr50Te触头材料的制备方法 | |
| CN107931607A (zh) | 一种利用激光增材技术制造铜铬合金的方法 | |
| CN102171780A (zh) | 真空断路器用的电极材料及其制造方法 | |
| JP4898977B2 (ja) | 電気接点材 | |
| JPH1173830A (ja) | 真空バルブ | |
| CN107709583A (zh) | 电极材料的制造方法和电极材料 | |
| JP5134166B2 (ja) | 電気接点材 | |
| JPH11176298A (ja) | 真空遮断器用接点材料,その製造方法および真空遮断器 | |
| JP4898978B2 (ja) | 電気接点材 | |
| JP2003147407A (ja) | 電気接点部材とその製造法及びそれを用いた真空バルブ並びに真空遮断器 | |
| EP3187287B1 (en) | Method for manufacturing electrode material | |
| JP4129304B2 (ja) | 真空遮断器用接点材料,その製造方法および真空遮断器 | |
| JPH1040761A (ja) | 真空遮断器用接点材料,その製造方法および真空遮断器 | |
| JPH05217473A (ja) | 電極材料の製造方法 | |
| JP5506873B2 (ja) | 接点材料およびその製造方法 | |
| JPH09167534A (ja) | 真空遮断器用接点部材およびその製造方法 | |
| JP5002398B2 (ja) | 真空遮断器用接点材料 | |
| JP2005290461A (ja) | 高強度・低抵抗のCu−Fe系焼結体、それに用いる粉末、およびその焼結体の製造方法 | |
| CN1086247C (zh) | 真空断路器用电极材料的制造方法 | |
| JPH08127829A (ja) | 電気接点材料及びその製造方法 | |
| JPH09190730A (ja) | 真空遮断器用接点部材の製造方法 | |
| JPH1150176A (ja) | 真空遮断器用接点材料,その製造方法および真空遮断器 |
Legal Events
| Date | Code | Title | Description |
|---|---|---|---|
| A131 | Notification of reasons for refusal |
Free format text: JAPANESE INTERMEDIATE CODE: A131 Effective date: 20100202 |
|
| A521 | Request for written amendment filed |
Free format text: JAPANESE INTERMEDIATE CODE: A523 Effective date: 20100405 |
|
| TRDD | Decision of grant or rejection written | ||
| A01 | Written decision to grant a patent or to grant a registration (utility model) |
Free format text: JAPANESE INTERMEDIATE CODE: A01 Effective date: 20100928 |
|
| A01 | Written decision to grant a patent or to grant a registration (utility model) |
Free format text: JAPANESE INTERMEDIATE CODE: A01 |
|
| A61 | First payment of annual fees (during grant procedure) |
Free format text: JAPANESE INTERMEDIATE CODE: A61 Effective date: 20101027 |
|
| FPAY | Renewal fee payment (event date is renewal date of database) |
Free format text: PAYMENT UNTIL: 20131105 Year of fee payment: 3 |
|
| FPAY | Renewal fee payment (event date is renewal date of database) |
Free format text: PAYMENT UNTIL: 20131105 Year of fee payment: 3 |
|
| LAPS | Cancellation because of no payment of annual fees |
