JP4609727B2 - ラベル貼付設備 - Google Patents

ラベル貼付設備 Download PDF

Info

Publication number
JP4609727B2
JP4609727B2 JP2006083369A JP2006083369A JP4609727B2 JP 4609727 B2 JP4609727 B2 JP 4609727B2 JP 2006083369 A JP2006083369 A JP 2006083369A JP 2006083369 A JP2006083369 A JP 2006083369A JP 4609727 B2 JP4609727 B2 JP 4609727B2
Authority
JP
Japan
Prior art keywords
label
label sticking
sticking
labeling
location
Prior art date
Legal status (The legal status is an assumption and is not a legal conclusion. Google has not performed a legal analysis and makes no representation as to the accuracy of the status listed.)
Expired - Fee Related
Application number
JP2006083369A
Other languages
English (en)
Other versions
JP2007254015A (ja
Inventor
信宏 藤田
Current Assignee (The listed assignees may be inaccurate. Google has not performed a legal analysis and makes no representation or warranty as to the accuracy of the list.)
Daifuku Co Ltd
Original Assignee
Daifuku Co Ltd
Priority date (The priority date is an assumption and is not a legal conclusion. Google has not performed a legal analysis and makes no representation as to the accuracy of the date listed.)
Filing date
Publication date
Application filed by Daifuku Co Ltd filed Critical Daifuku Co Ltd
Priority to JP2006083369A priority Critical patent/JP4609727B2/ja
Publication of JP2007254015A publication Critical patent/JP2007254015A/ja
Application granted granted Critical
Publication of JP4609727B2 publication Critical patent/JP4609727B2/ja
Expired - Fee Related legal-status Critical Current
Anticipated expiration legal-status Critical

Links

Images

Landscapes

  • Labeling Devices (AREA)

Description

本発明は、走行可能な手押し台車式のラベル貼付装置と、貼付対象にラベルを貼り付けるラベル貼付用箇所にて前記ラベル貼付装置を位置決めする位置決め手段とを備えたラベル貼付設備に関する。
上記ラベル貼付設備は、コンベヤ等にて搬送される物品等の貼付対象にラベルを自動的に貼り付けるラベル貼付装置を、位置決め手段にてラベル貼付用箇所に位置決めさせた状態で設置して、ラベル貼付用箇所に対応した貼付位置に位置する貼付対象、例えばコンベヤ等により貼付位置に搬送される物品にラベルを自動的に貼り付けるものである。
上記のように構成されたラベル貼付設備の従来例として、ラベル貼付装置が、その台車部分に複数のキャスターを備えて走行可能に構成され、そして、位置決め手段として複数のジャッキボルトが、ラベル貼付装置に備えられたものがある(例えば、特許文献1参照。)。
このようなラベル貼付設備では、作業者が、手押し作業によりラベル貼付装置をラベル貼付用箇所まで移動させ、各ジャッキボルトを下向きの伸張方向に回転操作して、キャスターの下端面よりも下方に突出させて、ジャッキボルトにてラベル貼付装置を支持する状態にすることで、ラベル貼付装置をラベル貼付用箇所に位置決めできるようになっている。
特開2000−203545号公報
ところで、上述のようなラベル貼付設備においては、ラベル貼付装置が故障して設備の稼動が停止した場合には、故障したラベル貼付装置を予備のラベル貼付装置と交換して、設備の稼動を復旧させる。ラベル貼付装置の交換作業では、まず、故障したラベル貼付装置を位置決めしている位置決め手段の位置決め作用を解除し、故障したラベル貼付装置を走行移動させてラベル貼付用箇所から離脱させた後、予備のラベル貼付装置をラベル貼付用箇所まで走行移動させて、ラベル貼付用箇所にラベル貼付用の向きで正しく位置する状態で、位置決め手段を作用させて予備のラベル貼付装置を位置決めすることで、交換作業が完了する。
ところが、上記従来のラベル貼付設備であると、ラベル貼付装置が故障したときの交換作業に手間取る場合があり、設備の稼動を復旧させるまでに時間がかかる場合があった。
説明を加えると、上記従来のラベル貼付設備であると、ラベル貼付装置の走行移動を規制するものがないため、ラベル貼付装置の前後左右の位置並びに向きを自由に変更させながらラベル貼付箇所に位置させることができるものであるため、ラベル貼付装置の交換作業において、作業者がラベル貼付装置をラベル貼付箇所にラベル貼付用向きに向いた状態で正しく位置させるためには、ラベル貼付装置を単に移動させるだけでなく、ラベル貼付装置の位置及び向きが正しくなるように、交換作業を行う作業者が手押し作業により調整する必要があった。
つまり、ラベル貼付装置の位置及び向きが正しいかどうかを確認するため、位置決め手段にて位置決めした後、ラベル貼付装置を作動させ、貼付対象に実際にラベルを貼り付ける動作確認を行ってみて、ラベル貼付位置において貼付対象に対して適正にラベルが貼り付けられない場合には、位置決め手段による位置決め作用を解除して、再びラベル貼付装置を移動させて位置決めした後、改めて動作確認を行うということを繰り返すことになり、ラベル貼付装置をラベル貼付箇所に正しい位置及び向きとなる状態で位置決めするまでに時間がかかってしまい、設備の稼動を復旧させるまでに時間がかかるといった問題があった。
また、上記したラベル貼付装置の位置調整を伴う交換作業を上手く行えないユーザーにおいては、サービスマンに依頼してラベル貼付装置の交換作業を行ってもらわなければならない場合があり、そのような場合には、ラベル貼付設備の稼動が再開するまで、手動操作式のラベラーを用いた手作業によるラベルの貼付作業で対応するため、設備の稼動が再開するまでは生産性が低下してしまうという問題もあった。
ちなみに、ラベル貼付装置が、コンベヤ等の搬送装置により搬送される物品に対してラベルを貼り付けるものである場合、コンベヤの搬送速度が高速化した現在においては手作業でのラベルの貼り付けによる対応ができない場合もあり、そのような場合には、稼動中のラベル貼付装置が故障してラベル貼付設備の稼動が停止すると、ラベル貼付設備の稼動が再開されるまでの長時間に亘って生産性を極端に低下させることになるため、上述の問題が特に顕著であった。
本発明は上記実状に鑑みて為されたものであって、その目的は、ラベル貼付装置が故障して設備の稼動が停止した場合に、早期に設備の稼動を再開させることができるラベル貼付設備を提供する点にある。
本発明にかかるラベル貼付設備は、走行可能な手押し台車式のラベル貼付装置と、貼付対象にラベルを貼り付けるラベル貼付用箇所にて前記ラベル貼付装置を位置決めする位置決め手段とを備えたラベル貼付設備であって、その第1特徴構成は、前記ラベル貼付装置における被案内部を前記ラベル貼付用箇所に向けて案内する案内部材が、前記ラベル貼付装置の横幅方向での位置を規制し且つ前記ラベル貼付装置の向きをラベル貼付用向きに規制する状態で、少なくとも前記ラベル貼付用箇所の近傍から前記ラベル貼付用箇所に案内するように設けられ、前記ラベル貼付装置は、走行移動用の車輪を横幅方向の左右の夫々について前後に備えて構成され、前記案内部材は、前記ラベル貼付用箇所において前記ラベル貼付装置を載置支持する設置台に、前記左右の車輪に対応して左右一対設けられ、かつ、前記被案内部として前記走行移動用の車輪を案内自在に構成され、前記設置台は、平面視で四隅に位置する箇所に上下軸心のボスを備えて構成され、前記複数のボスの夫々には、ねじ込み量が調節可能な状態でねじ込まれて接地面に接地する高さ調整部材が備えられて、前記左右一対の案内部材が高さ調節自在に構成され、前記左右一対の案内部材の夫々の後端部には、前記車輪が転動する使用位置と収納位置とに切換自在な可倒式スロープが設けられている点にある。
本発明の第1特徴によると、案内部材によりラベル貼付装置の横幅方向での位置が規制され、且つ、ラベル貼付装置の向きがラベル貼付用向きに規制された状態でラベル貼付装置をラベル貼付用箇所に向けて案内することができるので、ラベル貼付装置を正しい位置で正しい向きとなる状態でラベル貼付用箇所に手押し作業により移動させることが簡単に行うことができる。そして、ラベル貼付装置が正しい向きでラベル貼付用箇所に正しく位置した状態で位置決め手段にてラベル貼付装置を位置決めすればよく、ラベル貼付装置の設置作業を手早く行うことができる。
そして、ラベル貼付装置が故障してラベル貼付設備の稼動が停止した場合には、位置決め手段による位置決め作用を解除して故障したラベル貼付装置の被案内部を案内部材にて案内させながらラベル貼付用箇所から離脱させた後、予備のラベル貼付装置の被案内部を案内部材にて案内させながらラベル貼付用箇所に走行移動させ、予備のラベル貼付装置が正しい向きでラベル貼付用箇所に正しく位置した状態で位置決め手段にて予備のラベル貼付装置を位置決めすれば、ラベル貼付設備の稼動を再開させることができる。
したがって、ラベル貼付装置が故障してラベル貼付設備の稼動が停止した場合には、ラベル貼付装置を案内部材にて被案内部が案内された状態で走行移動させることにより、ラベル貼付装置の交換作業を手早く行うことができ、ラベル貼付設備の稼動が停止する時間の短縮を図ることができる。
このように、本発明の第1特長構成によると、ラベル貼付装置が故障して設備の稼動が停止した場合に、早期に設備の稼動を再開させることができるラベル貼付設備を得るに至った。
本発明の第2特徴構成は、本発明の第1特徴構成において、前記位置決め手段が、前記案内部材と一体状態に設けられた連結部材を、前記ラベル貼付装置に設けられた被連結部に連結することにより、位置決めするように構成されている点にある。
本発明の第2特徴によると、ラベル貼付装置に設けられた被連結部が案内部材と一体状態に設けられた連結部材に連結されると、ラベル貼付装置がラベル貼付用箇所にて位置決めされるので、被連結部及び連結部材を適切な位置に設けることにより、ラベル貼付装置をラベル貼付用箇所に位置した状態で安定して位置決めすることができる。また、連結部材が案内部材と一体状態に設けられているので、案内部材により案内されるラベル貼付用箇所に位置するラベル貼付装置における被連結部に対して、連結部材を精度よく設けることができ、これによりラベル貼付装置をラベル貼付用箇所に精度よく位置した状態で位置決めすることができる。
このように、本発明の第2特徴構成によると、ラベル貼付装置が故障して設備の稼動が停止した場合に、ラベル貼付装置をラベル貼付用箇所に精度よく安定的に位置した状態で、早期に設備の稼動を再開させることができるラベル貼付設備を得るに至った。
本発明の第3特徴構成は、本発明の第1又は第2特徴構成において、前記案内部材にて案内されて前記ラベル貼付用箇所に向けて走行する前記ラベル貼付装置の走行に対して前記ラベル貼付用箇所にて抵抗を付与する抵抗付与手段が設けられている点にある。
本発明の第3特徴構成によると、案内部材によりラベル貼付装置がラベル貼付用箇所に案内されると、抵抗付与手段により走行抵抗が付与されるので、走行するラベル貼付装置の走行速度が減速され又は走行が停止される。
したがって、作業者が、ラベル貼付装置を、案内部材により案内された状態で手押し作業により走行させるときに、ラベル貼付装置がラベル貼付用箇所に位置すると、手押し作業による走行速度が減速され又は走行が停止され、ラベル貼付装置をラベル貼付用箇所に停止させ易くなる。これにより、ラベル貼付装置を案内部材により案内された状態でラベル貼付用箇所に短時間で位置させることができる。
このように、本発明の第3特徴構成によると、ラベル貼付装置をラベル貼付用箇所に位置させるまでの手押し作業を短時間で終えることができることになり、ラベル貼付装置が故障して設備の稼動が停止した場合に、一層早期に設備の稼動を再開させることができるラベル貼付設備を得るに至った。
本発明の第4特徴構成は、本発明の第1〜第3特徴構成のうちのいずれか一つにおいて、前記ラベル貼付装置として、異なる前記ラベル貼付用箇所に設置され、且つ、異なる形態のラベル貼付作用部を備えるものを含む複数台が設けられ、異なる形態のラベル貼付作用部を付け替え装着自在に構成された交換用の予備のラベル貼付装置が設けられている点にある。
本発明の第4特徴構成によると、複数台のラベル貼付装置に含まれる異なる形態のラベル貼付作用部の夫々を予備として用意しておけば、交換用の予備のラベル貼付装置を、異なる形態のラベル貼付作用部の数に対応した台数も備えておかなくても、予備のラベル貼付装置のラベル貼付作用部を、予備のラベル貼付作用部のうち故障したラベル貼付装置のラベル貼付作用部と同じ形態のラベル貼付作用部と付け替え装着することにより、故障したラベル貼付装置が設置されていたラベル貼付用箇所に予備のラベル貼付装置を設置することができ、ラベル貼付設備を復旧させることができる。
このように、本発明の第4特徴構成によると、ラベル貼付設備が、異なるラベル貼付用箇所に複数のラベル貼付装置が設置され、これらの複数のラベル貼付装置が異なる形態のラベル貼付作用部を備えるものを含むものを有するラベル貼付設備においても、設置コストが抑制され、しかも、いずれかのラベル貼付装置が故障して設備の稼動が停止した場合に、早期に設備の稼動を再開させることができるラベル貼付設備を得るに至った。
本発明の第5特徴構成は、本発明の第1〜第4特徴構成のうちのいずれか一つにおいて、前記ラベルの貼付対象を、貼付位置を経由して搬送する搬送装置が備えられ、前記ラベル貼付用箇所が前記貼付位置に対応して設定されている点にある。
本発明の第5特徴構成によると、ラベル貼付用箇所が搬送装置における搬送経路内の貼付位置に対応して設定されているので、ラベル貼付装置をラベル貼付方向にてラベル貼付用箇所に設置することで、搬送装置にて貼付位置に搬送されてくるラベルの貼付対象にラベル貼付装置によりラベルを貼り付けることができるようになる。しかも、前述の通り、ラベル貼付装置をラベル貼付方向にてラベル貼付用箇所に設置する場合には、案内部材より案内される位置まで手押し作業にて走行させるだけの簡単な操作と、その後の、押し作業における力の掛ける方向を、案内部材による案内方向に合わせるだけのさらに簡単な操作とにより、ラベル貼付装置をラベル貼付用箇所に移動させて、位置決め手段により位置決めすることで設置が完了する。つまり、貼付位置に対応する位置に案内部材を設けることにより、搬送装置の搬送経路内の貼付位置にてラベルが貼付対象に貼り付けられるように、ラベル貼付装置を誰でも簡単に設置することができるものとなる。
したがって、搬送装置における貼付位置にて貼付対象にラベルを貼り付けるラベル貼付装置が故障した場合でも、故障したラベル貼付装置をラベル貼付用箇所から取り除いて、予備のラベル貼付装置或いは取り除いた後に修理されたものをラベル貼付箇所に、誰でも簡単に移動させて、位置決めさせることができるので、ラベル貼付設備が設置されている現場の作業者による迅速な対応が可能となり、ラベル貼付装置が設置された搬送装置が停止する時間の短縮を図ることができる。
このように、本発明の第5特徴構成によると、ラベルの貼付対象を、貼付位置を経由して搬送する搬送装置が備えられた構成において、ラベル貼付装置が故障して設備の稼動が停止した場合に、早期に設備の稼動を再開させて、ラベルの貼付作業を再開させることができるラベル貼付設備を得るに至った。
本発明のラベル貼付設備の実施形態について図面に基づいて説明する。
本ラベル貼付設備は、食品加工等を行う工場内の作業ラインに設けられている。作業ラインは、図1に示すように、生鮮食品用の第1ラインL1及び第2ラインL2と乾燥食品用の第3ラインL3とからなり、第1ラインL1には、ラベルの貼付対象としての発泡スチロール製の冷蔵用保冷容器Ws(以下、シッパーという。)を、ラベル貼付位置としての第1貼付位置P1及び第2貼付位置P2を経由して搬送する搬送装置としての第1搬送装置T1が設けられ、同様に、第2ラインL2には、ラベルの貼付対象としてのシッパーWsを、ラベル貼付位置としての第3貼付位置P3及び第4貼付位置P4を経由して搬送する搬送装置としての第2搬送装置T2が設けられている。また、第3ラインL3には、ラベルの貼付対象としての樹脂製の折り畳み式コンテナWf(以下、オリコンという。)を、ラベル貼付位置としての第5貼付位置P5及び第6貼付位置P6を経由して搬送する搬送装置としての第3搬送装置T3が設けられている。
上記第1貼付位置P1〜第6貼付位置P6にてシッパーWsやオリコンWfにラベルを貼り付けるラベル貼付装置1が、第1貼付位置P1〜第6貼付位置P6のそれぞれに対応して設定されたラベル貼付用箇所としての第1設置位置S1〜第6設置位置S6に設置されている。また、工場内の適当なスペア置場Ssprには、稼動中のラベル貼付装置1のいずれかが故障した場合に、そのラベル貼付装置1と交換するための予備のラベル貼付装置1等が保管されている。
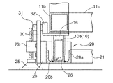
ラベル貼付装置1は、図1、図2、図6及び図7に示すように、汎用台車部Vとこれに取付けネジにより付け替え装着自在に設けられた貼付ユニット部Uとで構成されている。図3及び図6に示すように、汎用台車部Vは、車輪10a等で構成されたキャスター10を備えた台車11、台車11に固定設置された汎用装置部12、汎用装置部12の上面及び側面を覆うカバー13、ラベル貼付装置1の動作状態の正常及び異常を表示するシグナルタワー14等を備えている。
図3及び図6に示すように、台車11は、背面側の下部フレーム11a及び前面側の下部フレーム11c(図4参照)、並びに、左右両側面の下部フレーム11b等で構成され、背面側の下部フレーム11aには、後述する位置決め手段HDの被連結部としての固定板15が、下部フレーム11aの下端高さより下方に先端部15aが突出する状態で設けられている。また、台車11の左右側面の下部フレーム11bの夫々には、設置状態において後述する押付ローラ32に対応する位置に被押付板16が水平面内で外方に張り出す状態で設けられている。
なお、汎用装置部12の制御部は、図示しないコネクタを介して貼付ユニット部Uと電気的に接続されており、貼付ユニット部Uを交換する際は、取り付けネジ及びコネクタを着脱するだけの簡単な作業で交換することができるようになっている。また、カバー13の天板部分13aは背面に設けられたカバー用蝶板13bにより揺動開閉自在に取り付けられており、天板部分13aを開状態にすることで、ラベルリールの交換作業やその他のメンテナンス作業が行えるようになっている。
貼付ユニット部Uは、ラベル貼付装置1が設置されるラインで搬送される貼付対象(シッパーWs又はオリコンWf)に対応した貼付作用をするユニットである。例えば、第1ラインL1及び第2ラインL2に設置されたラベル貼付装置1であれば、貼付ユニット部Uとしてシリンダ式貼付ユニットUsが取り付けられ、第3ラインL3に設置されたラベル貼付装置1であれば、貼付ユニット部Uとしてエアブロー式貼付ユニットUaが取り付けられている。
シリンダ式貼付ユニットUsは、突出位置と引退位置とに亘って出退動作するシリンダアーム17と、その先端に設けられた吸着板18とを備えている(図7参照)。例えば、図7に示すように、第1ラインL1の第1設置位置S1に設置されたラベル貼付装置1であると、貼付対象であるシッパーWsが第1貼付位置P1に位置するときに、シリンダアーム17が装置の前方に突出して突出位置となることで、ラベルを吸引保持している吸着板18がシッパーWsに当接して、ラベルが貼り付けられる。なお、吸着板18に吸引保持されるラベルは、引退位置に位置する吸着板18が、汎用装置12にセットされたラベルリールから汎用装置12の繰り出し機構により繰り出された帯状のラベル台紙から吸引することにより吸着板18に転写され、保持される。
また、エアブロー式貼付ユニットUaは、図示による説明は省略するが、ユニット本体に位置固定状態で設けられた吸着板に吸引保持されたラベルを、吸引保持を解除すると同時に噴出空気によりラベルを貼付対処のオリコンWfに対して吹き付けることにより非接触で貼り付けることができるようになっている。
前述のスペア置場Ssprには、予備のラベル貼付装置1と、予備のエアブロー式貼付ユニットUaが保管されている。スペア置場Ssprに保管されているラベル貼付装置1は、汎用台車部Vにシリンダ式貼付ユニットUsが予め取り付けられたものである。したがって、第1設置位置S1〜第4設置位置S4のラベル貼付装置1が故障した場合には、そのまま、予備のラベル貼付装置1と入れ替え設置すればよく、第5設置位置S5及び第6設置位置S6のラベル貼付装置1が故障した場合には、予備のラベル貼付装置1の貼付ユニット部Uを、シリンダ式貼付ユニットUsから予備のエアブロー式貼付ユニットUaに交換して、予備のラベル貼付装置1と入れ替え設置すればよい。つまり、シリンダ式貼付ユニットUsが取り付けられた予備のラベル貼付装置1の1台と、予備のエアブロー式貼付ユニットUaの1つとを保管しておくことで、異なる形態の貼付ユニット部Uを備えたラベル貼付装置1を含む6台のラベル貼付装置1のいずれが故障した場合でも、そのラベル貼付装置1に代えて予備のラベル貼付装置1を設置することができるようになっている。
このように、本ラベル貼付設備は、走行可能な手押し台車式で構成されたラベル貼付装置1として、異なるラベル貼付用箇所としての第1設置位置S1〜第6設置位置S6に設置され、且つ、異なる形態のラベル貼付作用部としての貼付ユニット部U(シリンダ式貼付ユニットUs、エアブロー式貼付ユニットUa)を備えるものを含む複数台が設けられ、貼付ユニット部Uを付け替え装着自在に構成された交換用の予備のラベル貼付装置1が設けられている。
ラベル貼付装置1が設置される第1設置位置S1〜第6設置位置S6には、簡単かつ迅速にラベル貼付装置1を正しく設置できるように、設置台2が設けられている。以下に、設置台2の構成について詳しく説明する。なお、いずれの設置台2も同一の構成であるので、図1に示す第1ラインL1の第1設置位置S1に設置された設置台2を例に説明する。
図2及び図3に示すように、設置台2は、左右一対のガイドレール20及び、この一対のガイドレール20が一定間隔を隔てて平行となるように連結固定する前側横フレーム21及び後側横フレーム22等で構成されている。図4にも示すように、各ガイドレール20の前後の両端部には、取付板23を介して、内面に雌ネジが刻まれたボス24が、雌ネジの軸心が上下方向となる状態で溶着されている。そして、ボス24には、雄ネジが刻まれたネジ棒と面広の接地部とからなる高さ調整部材25がねじ込まれている。
つまり、設置台2の四隅にボス24が設けられており、これらの各ボス24にねじ込まれた高さ調整部材25のねじ込み量を調節することで、設置台2の傾斜を調整して左右のガイドレール20が同一の水平面内に収まるように、また、ラベル貼付装置1が設置台2上に載置された状態でラベル貼付装置1の貼付ユニット部Uが適切な高さで貼付作業ができるように、左右のガイドレール20の接地面からの高さを調整できるようになっている。
なお、第1設置位置S1〜第6設置位置S6の全ての設置台2の設置位置及び高さ調整部材25のねじ込み量の調節は、本ラベル貼付設備の導入時に行うことになり、設置台2は調整された設置位置において、高さ調整部材25の接地部と設置面との摩擦により摩擦保持されるようになっている。
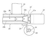
左右のガイドレール20の夫々は、図4及び図5に示すように、断面視U字形のフレーム部20a底面に、フレーム部20aと略同長の、同じく断面視U字形の案内部材20bが、フレーム部20aの底面に密着する状態で設けられている。案内部材20bは、そのU字形状により形成される溝部26の横幅Dが、ラベル貼付装置1のキャスター10の車輪10aの横幅と略同一となっている。また、左右のガイドレール20の案内部材20bにおける幅方向中心位置夫々の間の距離L(図2参照)は、ラベル貼付装置1の左右のキャスター10の取付間隔(直進状態における車輪10aの幅方向中心位置を基準とする)と同じ距離になっている。したがって、左右一対の案内部材20bは、ラベル貼付装置1における前方側の左右のキャスター10を第1設置位置S1に向けて案内することができるようになっている。前方側の左右のキャスター10は、本発明の被案内部に相当する。
左右の案内部材20bの夫々の後端には、蝶板27が設けられ、蝶板27の揺動側の板面27aを延長するように可倒式スロープ28が設けられている。可倒式スロープ28は、図5に示された使用位置と図7に示された収納位置とに切換自在となっている(図3参照)。装置後方側ほど溝部26の横幅D´が広くなる形状に加工された導入部20cが設けられており、後述するように、設置台2にラベル貼付装置1を載せる場合に、ラベル貼付装置1のキャスター10の車輪10aを可倒式スロープ28に沿って前方に転動させた後、溝部26内に入れ込め易くなっている。
本ラベル貼付設備は、上記した設置台2を設けることにより、作業者がラベル貼付装置1を第1設置位置S1に設置するときには、ラベル貼付装置1を設置台2の手間まで手押し移動させた後は、ラベル貼付装置1の前方側の左右キャスター10の車輪10aを夫々に対応する可倒式スロープ28に沿って前方に転動させた後、導入部20cの溝部26内に入れ込めるようにして前方へ手押し移動させようにすると、その位置からは、左右の案内部材20bにより前方側の左右キャスター10の車輪10aの転動による移動方向が案内されて、ラベル貼付装置1の横幅方向における走行位置及び向きが規制される状態となる。
このようにラベル貼付装置1の横幅方向における走行位置及び向きが規制される状態で、作業者がラベル貼付装置1を手押し移動させることによりさらに第1設置位置S1への移動が進行すると、後方側の左右のキャスター10の車輪10aが可倒式スロープ28を登って、導入部20cに達して、その後は、後方側の左右のキャスター10の車輪10aの転動による移動方向も左右の案内部材20bにより案内されることになる。ラベル貼付装置1の前後左右の4つのキャスター10の全てが左右の案内部材20bにより案内されることにより、ラベル貼付装置1の向きがより狭い範囲内に規制されることになる。
設置台2は、ラベル貼付装置1の横幅方向における走行位置及び向きが規制される状態でラベル貼付装置1が走行するときの横幅方向における走行位置が、ラベル貼付装置1が第1設置位置S1に位置するときの横幅方向における位置となるように、また、ラベル貼付装置1の横幅方向における走行位置及び向きが規制される状態でラベル貼付装置1が走行するときの向きが、ラベル貼付装置1が第1設置位置S1に位置するときの向きとなるように設置状態が調整されている。なお、設置台2の設置状態の調整作業は、前述の通り、本ラベル貼付設備の導入時に設置業者のサービスマン等により行われる。
このように本ラベル貼付設備では、ラベル貼付装置1における第1設置位置S1に案内する左右一対の案内部材20bが、ラベル貼付装置1の横幅方向での位置を規制し且つラベル貼付装置1の向きをラベル貼付用向きに規制する状態で、設けられている。
図2、図3及び図4に示すように、左右のガイドレール20の長手方向の前方寄りの箇所に押付ローラ32が設けられている。押付ローラ32は、その円周面の下端が、ラベル貼付装置1の前述した被押付板16の上面に当接することにより、設置台2上に載置されたラベル貼付装置1が貼付作業をする際に、貼付動作の反動等により生じるラベル貼付装置1の浮き上がり及び浮き上がりにより生じる揺れを防止するものである。
押付ローラ32は、ガイドレール20のフレーム部20aの外方側部に設けられたローラ取付部材29に高さ調節可能に設けられた高さ調節部材30を介して設けられている。高さ調節部材30には、押付ローラ32をガイドレール20の幅方向を向く水平軸心周りに回転自在に支持する支持軸31が設けられており、高さ調節部材30のローラ取付部材29に対する取付け位置を上下に変更することにより、押付ローラ32の高さを変更設定することができるようになっている。
図2、図3及び図8に示すように、左右のガイドレール20の前方側端部には、案内部材23にて案内されて第1設置位置S1に向けて走行するラベル貼付装置1の走行に対して第1設置位置S1にて抵抗を付与する抵抗付与手段としての案内終端設定用のネジ33が設けられている。ネジ33は、ガイドレール20の前方側の取付板23に設けられたネジ孔にネジ頭33aを後方に向けた状態でねじ込まれている。ネジ33の取付板23における高さ方向における位置は、第1設置位置S1に向けて走行するラベル貼付装置1の前方側のキャスター10の車輪10aの回転軸心高さ付近に合わせてあり、車輪10aがネジ頭33aに当接する位置で走行するラベル貼付装置1の走行を阻止するようになっている。
そして、ネジ33のねじ込み量を多くすれば、ネジ頭33aが前方側(図2及び図3で左方向)に位置することにより、案内部材23にて案内されて第1設置位置S1に向けて走行するラベル貼付装置1の走行をより前方側まで許容し、ネジ33のねじ込み量を少なくすれば、ネジ頭33aが後方側(図2及び図3で右方向)に位置することにより、案内部材23にて案内されて第1設置位置S1に向けて走行するラベル貼付装置1の走行をより後方側となるように制限する。したがって、後述する位置決め手段HDにてラベル貼付装置1が第1設置位置S1に位置決めされた状態で、ラベル貼付装置1の前方側キャスター10の車輪10aとネジ頭33aとの間に僅かな隙間ができるように、ネジ33のねじ込み量を設定しておくことにより、位置決め手段HDにより位置決めするにあたって、キャスター10の車輪10aが案内部材23にて案内された状態でラベル貼付装置1を、車輪10aがネジ頭33aに当接してラベル貼付装置1の走行が阻止されるまで押し当てるように手押し走行させることにより、予め、ラベル貼付装置1を第1設置位置S1から前後方向でのズレが小さい位置に簡単に停止させることができる。このように、ラベル貼付装置1を第1設置位置S1に極近い位置に停止させることにより、その後に位置決め手段HDによる位置決め操作を行い易くなる。
図8及び図9に示すように、前述の後側横フレーム22の背面における横方向中央付近位置には、トグル式のクランプ34が設けられている。クランプ34は、前方側のロック位置LPと後方側の解除位置RPとに切換操作自在に設けられたトグルレバー34a、トグルレバー34aの前後方向での位置切換操作に連動して、リンク機構の揺動端部34bを前後方向に揺動させるリンク機構、揺動端部34bに設けられたクランプ部34c等からなる。
本ラベル貼付設備では、図6、図7、及び図8に示すように、ラベル貼付装置1が設置台2に載置された状態であると、ラベル貼付装置1の背面側の下部フレーム11bに設けられた固定板15の先端部15aと設置台2の後側横フレーム22とが同じ高さとなるように構成されており、また、ラベル貼付装置1が設置台2上で第1設置位置S1に位置すると、ラベル貼付装置1の背面側の下部フレーム11bに設けられた固定板15の先端部15aが、設置台2の後側横フレーム22に当接するように、設置台2の設置位置が調節されている。
そして、ラベル貼付装置1の固定板15の先端部15aが設置台2の後側横フレーム22に当接するときに、クランプ34のトグルレバー34aをロック位置LPに位置させることにより、固定板15の先端部15aを設置台2の後側横フレーム22及びクランプ部34cの間に挟んだ状態で、ラベル貼付装置1を第1設置位置S1に位置決めすることができる。
クランプ34の作動について説明すると、図9において実線で示されたロック位置LPに位置するトグルレバー34aを、紙面上方に引くようにして後方側に揺動操作して、仮想線で示された解除位置RPに切換操作すると、リンク機構の揺動端部34bに設けられたクランプ部34cが、実線で示されたクランプ位置CPから、仮想線で示された退避位置EPにまで退避作動する。
また、クランプ部34cは、揺動端部34bにねじ込まれており、揺動端部34bを挟み込むようにクランプ部34cにおける位置が変更自在に取り付けられた一対の固定ナット35により、揺動端部34bに対するねじ込み量が適切に調節された状態で固定されている。クランプ部34cの揺動端部34bにおける固定位置は、ラベル貼付装置1が設置台2に載置された状態でトグルレバー34aがロック位置LPに位置するときに、設置台2の後側横フレーム22の背面に先端部15aに接する状態で、クランプ部34cが先端部15aに当接して、位置決め作用するように調節されている。
ラベル貼付装置1を第1設置位置S1に設置する際や、第1設置位置S1から取り除く際に、案内部材20bに案内された状態で走行移動させるときには、クランプ34のトグルレバー34aを解除位置RPに位置させる。これにより、クランプ部34cが、図9に示すように実線で示されたクランプ位置CPから、仮想線で示された退避位置EPにまで退避作動するので、クランプ34の揺動端部34bやクランプ部34cが、固定板15の先端部15aの通過経路に干渉しなくなり、問題なくラベル貼付装置1を走行移動させることができる。
このように、本ラベル貼付設備では、ラベル貼付装置1が設置台2に載置された状態で、ラベル貼付装置1を第1設置位置S1の位置で位置決めする位置決め手段HDが、後側横フレーム22、クランプ34、及び、固定板15により構成されており、案内部材20aと一体状態に設けられた連結部材が、後側横フレーム22及びクランプ34にて構成され、ラベル貼付装置1に設けられた被連結部が固定板15にて構成されている。そして、位置決め手段HDが、固定板15を後側横フレーム22及びクランプ34に連結することにより、ラベル貼付装置1を第1設置位置S1に位置決めするように構成されている。
以上に説明したように、本ラベル貼付設備が備えられた第1ラインL1では、ラベル貼付装置1が、位置決め手段HDにより設置台2上で第1設置位置S1に位置決めされており、他のラベル貼付装置1も同様に、設置台2上で第2設置位置S2〜第6設置位置S6に位置決めされている。以下に、第3ラインL3の第5設置位置S5に設置されて稼動しているラベル貼付装置1が故障した場合に、スペア置場Ssprに保管されている予備のラベル貼付装置1と交換する場合を例にラベル貼付装置1の交換作業について説明する。
本例の場合、故障したラベル貼付装置1は、乾燥食品用の第3ラインL3における第5設置位置S5に設置されているものであるので、ラベル貼付装置1の貼付ユニット部Uとしては、第3ラインL3における貼付対象であるオリコンWfに対応したエアブロー式貼付ユニットUaが取り付けられている。したがって、故障したラベル貼付装置1とスペア置場Ssprに保管されている予備のラベル貼付装置1とを交換するためには、まず、予備のラベル貼付装置1の貼付ユニット部Uとしてのシリンダ式貼付ユニットUsを、同じくスペア置場Ssprに保管されている予備のエアブロー式貼付ユニットUaに交換する。そして、第5設置位置S5に設置されている故障したラベル貼付装置1を第5設置位置S5から取り除き、貼付ユニット部Uをエアブロー式貼付ユニットUaに交換後の予備のラベル貼付装置1を第5設置位置S5に設置する。
第5設置位置S5に設置されている故障したラベル貼付装置1を第5設置位置S5から取り除くには、可倒式スロープ28を使用位置に切換え、クランプ34のトグルレバー34aをロック位置RPから解除位置RPに切換え操作して、ラベル貼付装置1を後方側に手押し走行させて、設置台2から下ろして、修理等の処置を行うため邪魔にならない場所に退避させる。この時点で、第5設置位置S5の設置台2にはラベル貼付装置1が乗っていない空き状態となっているので、貼付ユニット部Uをエアブロー式貼付ユニットUaに交換済みの予備のラベル貼付装置1を第5設置位置S5の設置台2に載せる。
予備のラベル貼付装置1を第5設置位置S5の設置台2の後方位置まで手押し走行させて、使用位置になっている左右の可倒式スロープ28を使って、前方側の左右のキャスター10を左右のガイドレール20の導入部20cまで転動させるように予備のラベル貼付装置1を手押し走行させる。その後、前方側の左右のキャスター10が左右のガイドレール20の夫々の案内部材20bに案内される状態でさらに予備のラベル貼付装置1を手押し走行させ、キャスター10の車輪10aが案内終端設定用のネジ33に当接するまで手押し走行を継続させる。ネジ33に車輪10aが当接して予備のラベル貼付装置1をそれ以上手押し走行させることができなくなったら、クランプ34のトグルレバー34aを解除位置RPからロック位置RPに切換え操作して、可倒式スロープ28を収納位置に切換えて、交換作業が完了する。
上記の交換作業は、専門的な技術を要せず、工場内で加工作業を行っている作業者が行えるものであるから、本ラベル貼付設備であると、ラベル貼付装置1が故障した際には、迅速に予備のラベル貼付装置1と交換することができ、ラインの停止時間を極力短くすることができる。しかも、予備のラベル貼付装置1を、貼付ユニット部Uの種類の数だけ用意しておく必要がないので、異なる形態の貼付ユニット部Uを備えるものを含む複数台のラベル貼付装置1が設けられているラベル貼付設備においても、ラベル貼付装置1が故障したときに迅速に対応できるものを低コストで実現することができる。
〔別実施形態〕
以下、別実施形態を列記する。
(4)上記実施形態では、案内部材としての左右一対の案内部材20bが設けられた設置台2が、高さ調整部材25の接地部と設置面との摩擦により調整された設置位置において摩擦保持されるものを例示したが、これに限らず、高さ調整部材25の接地部をアンカーボルト等により、設置台2がラベル貼付装置1の走行面に固定されたものでもよい。
(5)上記実施形態では、位置決め手段が、後側横フレーム22、クランプ34、及び、固定板15により構成されたものを例示したが、位置決め手段としては、ジャッキボルトで構成されたものの他、案内部材20bの底面に、車輪10の幅より広い幅で、車輪10の直径より短い長さの位置決め用の長穴を設けて、車輪10が位置決め穴に落ち込んだ状態で車輪10の転動を規制するようにして、ラベル貼付装置1をラベル貼付用箇所に位置決めするものなど、位置決め手段の具体的構成は種々変更可能である。
ラベル貼付設備が設置された加工ラインの全体平面図 設置台及び設置台に設置される前のラベル貼付装置の平面図 設置台及び設置台に設置される前のラベル貼付装置の側面図 ラベル貼付装置が設置台で位置決めされた状態でのガイドレール周辺の縦断背面図 ガイドレールの後端部側の拡大平面図 ラベル貼付装置が設置台上で位置決めされた状態での背面図 ラベル貼付装置が設置台上で位置決めされた状態での平面図 ラベル貼付装置が設置台に設置された状態でのガイドレール周辺の一部縦断側面図 トグル式のクランプの平面図
符号の説明
Ws,Wf 貼付対象
P1〜P6 貼付位置
T1〜T3 搬送装置
U,Us,Ua ラベル貼付作用部
S1〜S6 ラベル貼付用箇所
HD 位置決め手段
1 ラベル貼付装置
10 被案内部
15 被連結部
20b 案内部材
22,34 連結部材
33 抵抗付与手段

Claims (5)

  1. 走行可能な手押し台車式のラベル貼付装置と、
    貼付対象にラベルを貼り付けるラベル貼付用箇所にて前記ラベル貼付装置を位置決めする位置決め手段とを備えたラベル貼付設備であって、
    前記ラベル貼付装置における被案内部を前記ラベル貼付用箇所に向けて案内する案内部材が、前記ラベル貼付装置の横幅方向での位置を規制し且つ前記ラベル貼付装置の向きをラベル貼付用向きに規制する状態で、少なくとも前記ラベル貼付用箇所の近傍から前記ラベル貼付用箇所に案内するように設けられ
    前記ラベル貼付装置は、走行移動用の車輪を横幅方向の左右の夫々について前後に備えて構成され、
    前記案内部材は、前記ラベル貼付用箇所において前記ラベル貼付装置を載置支持する設置台に、前記左右の車輪に対応して左右一対設けられ、かつ、前記被案内部として前記走行移動用の車輪を案内自在に構成され、
    前記設置台は、平面視で四隅に位置する箇所に上下軸心のボスを備えて構成され、
    前記複数のボスの夫々には、ねじ込み量が調節可能な状態でねじ込まれて接地面に接地する高さ調整部材が備えられて、前記左右一対の案内部材が高さ調節自在に構成され、
    前記左右一対の案内部材の夫々の後端部には、前記車輪が転動する使用位置と収納位置とに切換自在な可倒式スロープが設けられているラベル貼付設備。
  2. 前記位置決め手段が、前記案内部材と一体状態に設けられた連結部材を、前記ラベル貼付装置に設けられた被連結部に連結することにより、位置決めするように構成されている請求項1記載のラベル貼付設備。
  3. 前記案内部材にて案内されて前記ラベル貼付用箇所に向けて走行する前記ラベル貼付装置の走行に対して前記ラベル貼付用箇所にて抵抗を付与する抵抗付与手段が設けられている請求項1又は2記載のラベル貼付設備
  4. 前記ラベル貼付装置として、異なる前記ラベル貼付用箇所に設置され、且つ、異なる形態のラベル貼付作用部を備えるものを含む複数台が設けられ、
    異なる形態のラベル貼付作用部を付け替え装着自在に構成された交換用の予備のラベル貼付装置が設けられている請求項1〜3のいずれか1項に記載のラベル貼付設備。
  5. 前記ラベルの貼付対象を、貼付位置を経由して搬送する搬送装置が備えられ、
    前記ラベル貼付用箇所が前記貼付位置に対応して設定されている請求項1〜4のいずれか1項に記載のラベル貼付設備。
JP2006083369A 2006-03-24 2006-03-24 ラベル貼付設備 Expired - Fee Related JP4609727B2 (ja)

Priority Applications (1)

Application Number Priority Date Filing Date Title
JP2006083369A JP4609727B2 (ja) 2006-03-24 2006-03-24 ラベル貼付設備

Applications Claiming Priority (1)

Application Number Priority Date Filing Date Title
JP2006083369A JP4609727B2 (ja) 2006-03-24 2006-03-24 ラベル貼付設備

Publications (2)

Publication Number Publication Date
JP2007254015A JP2007254015A (ja) 2007-10-04
JP4609727B2 true JP4609727B2 (ja) 2011-01-12

Family

ID=38628655

Family Applications (1)

Application Number Title Priority Date Filing Date
JP2006083369A Expired - Fee Related JP4609727B2 (ja) 2006-03-24 2006-03-24 ラベル貼付設備

Country Status (1)

Country Link
JP (1) JP4609727B2 (ja)

Families Citing this family (1)

* Cited by examiner, † Cited by third party
Publication number Priority date Publication date Assignee Title
CN116238773B (zh) * 2022-12-30 2024-05-17 江苏创源电子有限公司 一种标签保压装置

Family Cites Families (5)

* Cited by examiner, † Cited by third party
Publication number Priority date Publication date Assignee Title
JPH079728Y2 (ja) * 1988-06-17 1995-03-08 三田工業株式会社 移載用補助台車
JPH0651249B2 (ja) * 1989-03-14 1994-07-06 キヤノン株式会社 パレット供給装置の位置決め構造
JPH07101503A (ja) * 1993-10-01 1995-04-18 Daifuku Co Ltd クリーン装置付き台車
JP3981051B2 (ja) * 2003-07-23 2007-09-26 ヨシ電子株式会社 被装シートの貼着機
US8020601B2 (en) * 2004-01-19 2011-09-20 Krones Ag Machine for equipping articles with labels

Also Published As

Publication number Publication date
JP2007254015A (ja) 2007-10-04

Similar Documents

Publication Publication Date Title
CN112278911A (zh) 装卸货设备以及装卸货系统
WO2013168706A1 (ja) 車体用部品取付システム
TWI686349B (zh) 物品搬送設備
JP3042270B2 (ja) 車輪の組付け装置
CN108045825A (zh) 一种携带机械手的可旋转货台穿梭车
JP2011042309A (ja) 電気自動車のバッテリ交換位置決め装置
JP5626579B2 (ja) 物品搬送装置及びこれを備えた物品搬送用の移動体
JP4609727B2 (ja) ラベル貼付設備
US6368042B1 (en) Vehicle loading and unloading system
CN205555541U (zh) 码垛、拆垛机器人
KR20090100143A (ko) 패널 이송용 스토리지 장치
CN107380936B (zh) 一种应用于织布车间的智能化中转系统
CN101027242A (zh) 将基本所有液压部件安装在主机架组件上的物料搬运车辆
JP6282211B2 (ja) パネル施工機及びパネル施工方法
JP5252693B2 (ja) ワーク移動用装置
JP4247620B2 (ja) 舵板の取付取外装置
JP2006219206A (ja) ロ−ラ−コンベアの搬送物送り装置
CN113320908A (zh) 冲压trf机自动上料及空托盘自动回收设备
CN120152917A (zh) 故障搬运车移动系统
JPH026011Y2 (ja)
JP6257914B2 (ja) 搬送台車
CN218201117U (zh) 一种货物装车机用移动结构
CN222538723U (zh) 无人驾驶运输车和运输装置
CN114347559B (zh) 一种贴窗机的推规定位装置
JP2007216941A (ja) 搬送装置

Legal Events

Date Code Title Description
A621 Written request for application examination

Free format text: JAPANESE INTERMEDIATE CODE: A621

Effective date: 20071221

A977 Report on retrieval

Free format text: JAPANESE INTERMEDIATE CODE: A971007

Effective date: 20091225

A131 Notification of reasons for refusal

Free format text: JAPANESE INTERMEDIATE CODE: A131

Effective date: 20100107

A521 Request for written amendment filed

Free format text: JAPANESE INTERMEDIATE CODE: A523

Effective date: 20100303

TRDD Decision of grant or rejection written
A01 Written decision to grant a patent or to grant a registration (utility model)

Free format text: JAPANESE INTERMEDIATE CODE: A01

Effective date: 20100916

A01 Written decision to grant a patent or to grant a registration (utility model)

Free format text: JAPANESE INTERMEDIATE CODE: A01

A61 First payment of annual fees (during grant procedure)

Free format text: JAPANESE INTERMEDIATE CODE: A61

Effective date: 20100929

FPAY Renewal fee payment (event date is renewal date of database)

Free format text: PAYMENT UNTIL: 20131022

Year of fee payment: 3

R150 Certificate of patent or registration of utility model

Ref document number: 4609727

Country of ref document: JP

Free format text: JAPANESE INTERMEDIATE CODE: R150

Free format text: JAPANESE INTERMEDIATE CODE: R150

FPAY Renewal fee payment (event date is renewal date of database)

Free format text: PAYMENT UNTIL: 20131022

Year of fee payment: 3

R250 Receipt of annual fees

Free format text: JAPANESE INTERMEDIATE CODE: R250

R250 Receipt of annual fees

Free format text: JAPANESE INTERMEDIATE CODE: R250

R250 Receipt of annual fees

Free format text: JAPANESE INTERMEDIATE CODE: R250

R250 Receipt of annual fees

Free format text: JAPANESE INTERMEDIATE CODE: R250

R250 Receipt of annual fees

Free format text: JAPANESE INTERMEDIATE CODE: R250

R250 Receipt of annual fees

Free format text: JAPANESE INTERMEDIATE CODE: R250

LAPS Cancellation because of no payment of annual fees