JP4603440B2 - トリポード型等速ジョイント - Google Patents

トリポード型等速ジョイント Download PDF

Info

Publication number
JP4603440B2
JP4603440B2 JP2005220145A JP2005220145A JP4603440B2 JP 4603440 B2 JP4603440 B2 JP 4603440B2 JP 2005220145 A JP2005220145 A JP 2005220145A JP 2005220145 A JP2005220145 A JP 2005220145A JP 4603440 B2 JP4603440 B2 JP 4603440B2
Authority
JP
Japan
Prior art keywords
outer ring
constant velocity
tripod
velocity joint
track groove
Prior art date
Legal status (The legal status is an assumption and is not a legal conclusion. Google has not performed a legal analysis and makes no representation as to the accuracy of the status listed.)
Expired - Lifetime
Application number
JP2005220145A
Other languages
English (en)
Other versions
JP2007032780A (ja
Inventor
繁夫 小林
Current Assignee (The listed assignees may be inaccurate. Google has not performed a legal analysis and makes no representation or warranty as to the accuracy of the list.)
NTN Corp
Original Assignee
NTN Corp
Priority date (The priority date is an assumption and is not a legal conclusion. Google has not performed a legal analysis and makes no representation as to the accuracy of the date listed.)
Filing date
Publication date
Application filed by NTN Corp filed Critical NTN Corp
Priority to JP2005220145A priority Critical patent/JP4603440B2/ja
Priority to US11/231,813 priority patent/US7289752B2/en
Publication of JP2007032780A publication Critical patent/JP2007032780A/ja
Application granted granted Critical
Publication of JP4603440B2 publication Critical patent/JP4603440B2/ja
Anticipated expiration legal-status Critical
Expired - Lifetime legal-status Critical Current

Links

Images

Landscapes

  • Sliding-Contact Bearings (AREA)

Description

この発明は、駆動軸と被駆動軸の2軸を連結して、駆動軸の動力を被駆動軸に伝達するトリポード型等速ジョイントに関するものである。
自動車のドライブシャフトの回転トルクを車軸に伝達する部品として等速ジョイントが従来から知られている。
上記等速ジョイントは、駆動軸と被駆動軸との等速性を維持しながら両軸の角度変位を許容する部材であるため、自動車以外の各種産業機械にも多用されている。
等速ジョイントには、角度変位のみを許容する固定型等速ジョイントと、角度変位と軸方向変位を許容する摺動型等速ジョイントとが存在し、その摺動型等速ジョイントとして、特許文献1に記載されたものが知られている。
上記特許文献1に記載された等速ジョイントは、トリポード型等速ジョイントと称され、外輪の内周に軸方向に延びる3本のトラック溝を周方向に120°の間隔をおいて形成し、その外輪の内側に組込んだトリポード部材にはトラック溝のそれぞれに挿入される3本の半径方向の脚軸を突設し、各脚軸の外側にトラック溝に沿って転動可能な球面ローラを回転可能に、かつ軸方向にスライド自在に嵌合し、その球面ローラを介して外輪とトリポード部材の相互間で回転トルクの伝達を行なうようにしている。
特公平3−1528号公報
ところで、上記特許文献1に記載されたトリポード型等速ジョイントにおいては、外輪、トリポード部材および球面ローラの各種部品が鉄鋼等の金属から成るため、強度が高いものの、重く、グリース潤滑が必要であり、動作音が大きい等の問題を有し、使用箇所への制限があった。例えば、事務機、音響機器、医療機器、家庭用電化製品等への使用には問題があった。
また、食品製造機器への使用においては、グリースの漏洩によって食品が汚染されるため、ブーツ等の取付けによるグリースの漏洩防止対策が必要となり、部品点数が多くなってコストも高く、等速ジョイントが大型化するという問題があった。
この発明の課題は、グリース潤滑を不要とすることができる軽量で小型の動作音の小さな、使用の制限を受けることが少ないトリポード型等速ジョイントを提供することである。
上記の課題を解決するために、第1の発明においては、外輪の内周に軸方向に延びる3本のトラック溝を周方向に120°の間隔をおいて形成し、外輪の内側に組込まれたトリポード部材には前記各トラック溝内でスライド自在とされ、外輪とトリポード部材の相互間でトルク伝達を行なう3本の突出部を設けたトリポード型等速ジョイントにおいて、前記外輪およびトリポード部材のそれぞれを合成樹脂の成形品とし、外輪成形用の合成樹脂とトリポード部材成形用の合成樹脂のベース樹脂を相違させた構成を採用している。
ここで、合成樹脂として、射出成形可能な合成樹脂を採用すると、量産性に優れ、均一な品質の等速ジョイントを得ることができる。
また、外輪とトリポード部材のうちいずれか一方を潤滑性樹脂の成形品とすると、動作音のより小さな等速ジョイントを得ることができる。
さらに、外輪とトリポード部材のうちいずれか一方を潤滑性樹脂の成形品とし、他方を潤滑性樹脂以外のエンジニアリングプラスチックの成形品とすると、機械的強度に優れ、等速性を長期にわたって維持することができる耐久性に優れた動作音の小さな等速ジョイントを得ることができる。
上記のように、外輪とトリポード部材の双方を合成樹脂としたことにより、軽量であってトルク伝達時の動作音の小さな等速ジョイントを得ることができると共に、グリース潤滑を不要とすることができるので、ブーツの取付けを不要とすることができ、簡単な構造の小型、軽量の等速ジョイントを得ることができる。
このため、使用に制限を受けることが少なく、これまで使用が困難であった事務機、音響機器、医療機器、家庭用電化製品等の各機器への使用が可能となり、これら機器の設計の自由度を高め、小型化、低コスト化を図ることができる。
また、外輪成形用の合成樹脂とトリポード部材成形用の合成樹脂のベース樹脂を相違させたことにより、外輪とトリポード部材の摺接部での凝着を防止し、摩耗による等速性の低下を抑制することができる。このため、等速性を長期にわたって維持することができる耐久性に優れた等速ジョイントを得ることができる。
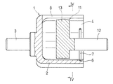
以下、この発明の実施の形態を図面に基づいて説明する。図示のように、トリポード型等速ジョイントは、外輪1と、その内側に組込まれたトリポード部材11とから成る。
外輪1は、一端が開口するカップ部2の閉塞端に第1軸3を設けた構成とされ、上記カップ部2の内周には、その開口端から軸方向に延びる3本のトラック溝4が周方向に120°の間隔をおいて形成されている。各トラック溝4の周方向で対向する一対の側面5は互に平行する平坦面とされている。
トリポード部材11は第2軸12を有している。このトリポード部材11には外輪1の各トラック溝4内に挿入される3本の突出部13が一体に設けられている。
各突出部13はトラック溝4内においてスライド自在とされ、上記トラック溝4の側面5と対向する両側は球面14とされて周方向および軸方向の2方向にわん曲している。
上記突出部13は、第1軸3と第2軸12の一方に対する回転トルクの入力時、両側の一方の球面14がトラック溝4の一側面5と係合し、その係合部において外輪1とトリポード部材11の相互間で回転トルクの伝達を行なうようになっている。
また、第1軸3と第2軸12が相対的に角度をとってトルク伝達するとき、突出部13はトラック溝4に沿って外輪1の軸方向にスライドする。このとき、突出部13とトラック溝4の側面5との接触が点接触であるため、スライド抵抗は小さく、上記突出部13はトラック溝4に沿って円滑にスライドする。
なお、実施の形態では、突出部13の両側を球面14としたが、突出部13の外周全体もしくは両側部を円筒面として周方向にのみわん曲する曲面としてもよい。
図1および図2に示すように、外輪1のカップ部2における開口端部の内周には係合溝6が形成され、その係合溝6に一部が切り離された止め輪7が取付けられている。止め輪7はカップ部2の開口端からトリポード部材11が抜け出るのを防止している。
外輪1および突出部13を含むトリポード部材11の全体は合成樹脂の成形品とされており、外輪成形用の合成樹脂とトリポード部材成形用の合成樹脂とはベース樹脂が相違している。合成樹脂はトリポード型等速ジョイントの使用条件によって適切なものを選択し、射出成形可能な合成樹脂が望ましい。射出成形可能な樹脂であれば、熱可塑性樹脂、熱硬化性樹脂のいずれでもよい。
射出成形可能な樹脂には結晶性樹脂、非結晶性樹脂があり、いずれの樹脂を使用してもよいが、非結晶性樹脂は靱性が低く、許容量以上のトルクがかかった場合急激な破壊が生じるため、結晶性樹脂を用いるのが好ましい。
好ましい合成樹脂として、潤滑特性の高い合成樹脂、例えば、ポリアセタール樹脂(POM)、ナイロン樹脂、PFAやFEP、ETFE等の射出成形可能なフッ素樹脂、射出成形可能なポリイミド樹脂、ポリフェニレンスルフィド樹脂(PPS)、全芳香族ポリエステル樹脂、ポリエーテルエーテルケトン樹脂(PEEK)、ポリアミドイミド樹脂等を挙げることができる。
これらの各樹脂は単独で使用してもよく、2種類以上混合したポリマーアロイであってもよい。あるいは、上記以外の潤滑特性の低い合成樹脂に上記の合成樹脂を配合したポリマーアロイであってもよい。
また、潤滑特性の低い合成樹脂であっても、固体潤滑剤や潤滑油を添加することで潤滑特性を高めることにより使用可能である。固体潤滑剤として、ポリテトラフルオロエチレン、黒鉛、二硫化モリブデン等を挙げることができる。
また、合成樹脂にガラス繊維、炭素繊維、各種鉱物性繊維(ウィスカー)を配合して強度を高めてもよく、固体潤滑剤等と併用してもよい。
この発明で最も使用に適した材料は、POM、ナイロン樹脂、PPS、PEEKである。ナイロン樹脂はナイロン6、ナイロン66、ナイロン610、ナイロン612、ナイロン11、ナイロン12、ナイロン46、分子鎖中に芳香族環を有する半芳香族ナイロン等のいずれでもよい。POM、ナイロン樹脂、PPSは、耐熱性、潤滑性に優れ、比較的安価であるため、コストパフォーマンスの優れた等速ジョイントを得ることができる。
上記のように、外輪1およびトリポード部材11を合成樹脂の成形品とすることによって、軽量であって、トルク伝達時の動作音の小さなトリポード型等速ジョイントを得ることができると共に、グリース潤滑を不要とすることができる。また、グリース潤滑する必要がないため、ブーツの取付けを不要とすることができ、部品点数の少ない簡単な構造の小型のトリポード型等速ジョイントを得ることができる。
このため、使用の制限を受けることが少なく、食品製造機器等の各種の機器に使用することが可能である。
なお、トリポード型等速ジョイントを医療機器や食品製造機器に使用する場合は、衛生的な印象を与えるため、合成樹脂は白色系のものを用いるのが好ましい。POMであれば、白色系であると共に、潤滑性も高く、グリースレス化が可能のため最適である。
また、外輪1とトリポード部材11のうち、一方の成形用合成樹脂としてPEEKを用いることにより、このPEEKは補強材や潤滑剤を配合しなくても機械的強度や潤滑性に優れるため、高機能なトリポード型等速ジョイントを得ることができる。
ここで、外輪1を、例えば、射出成形可能なポリイミド樹脂やPPS等で成形し、一方、トリポード部材11を全芳香族ポリエステル樹脂、PEEK、ポリアミドイミド樹脂等で成形して、外輪成形用の合成樹脂とトリポード部材成形用の合成樹脂のベース樹脂を相違させることにより、外輪1とトリポード部材11の摺接部での凝着を防止し、摩耗による等速性の低下を抑制することができる。その結果、等速性を長期にわたって維持することができる耐久性に優れた等速ジョイントを得ることができる。
実施の形態で示すように、外輪1を合成樹脂の成形品とすることにより、その外輪1の弾性を利用して突出部13とトラック溝4の側面5の接触部に予圧を付与することができる。具体的には、トラック溝4の両側面5間の寸法を突出部13の両側の球面14間の寸法より小さくすることで突出部13とトラック溝4の両側面5の接触部に予圧を付与することができる。
また、トリポード部材11を合成樹脂の成形品とすることにより、そのトリポード部材11の突出部13の弾性を利用して、突出部13とトラック溝4の側面5の接触部に予圧を付与することができる。具体的には、突出部13の両側の球面14間の寸法をトラック溝4の両側面5間の寸法より大きくすることで突出部13とトラック溝4の両側面5の接触部に予圧を付与することができる。
上記のように、突出部13に予圧を付与することによって、周方向にガタのない等速性に優れたトリポード型等速ジョイントを得ることができる。
ここで、図1および図2に示すように、カップ部2に形成されたトラック溝4の外周壁部にカップ部2の開口端から軸方向に延びる切り離し部8を形成すると、カップ部2を径方向に弾性変形可能とすることができるため、突出部13に対する予圧の付与が容易であり、トラック溝4の幅寸法を厳しく管理する必要がないため、外輪1の製作の容易化を図ることができる。
実施の形態では、外輪1のカップ部2と第1軸3を合成樹脂で一体に成形したが、第1軸3をセラミックスや鉄鋼、ステンレススチール、アルミ合金等で形成して、カップ部2に結合するようにしてもよい。また、トリポード部材11の第2軸12も、上記第1軸3と同様に金属製としてもよい。
この発明に係るトリポード型等速ジョイントの実施の形態を示す縦断正面図 図1の右側面図 図2のIII−III線に沿った断面図 図1のIV−IV線に沿った断面図
符号の説明
1 外輪
4 トラック溝
5 側面
11 トリポード部材
13 突出部
14 球面

Claims (5)

  1. 外輪の内周に軸方向に延びる3本のトラック溝を周方向に120°の間隔をおいて形成し、外輪の内側に組込まれたトリポード部材には前記各トラック溝内でスライド自在とされ、外輪とトリポード部材の相互間でトルク伝達を行なう3本の突出部を設けたトリポード型等速ジョイントにおいて、
    前記外輪および突出部を含むトリポード部材全体のそれぞれを結晶性合成樹脂の射出成形品としてグリース潤滑およびブーツを不要とし、外輪成形用の合成樹脂とトリポード部材成形用の合成樹脂のベース樹脂を相違させ、いずれか一方を潤滑性樹脂とし、他方をエンジニアリングプラスチックとしたことを特徴とするトリポード型等速ジョイント。
  2. 前記トリポード型等速ジョイントが、事務機、音響機器、医療機器、家庭用電化製品用あることを特徴とする請求項1に記載のトリポード型等速ジョイント。
  3. 前記突出部の両側の球面間の寸法をトラック溝の両側面間の寸法より大きくすることで突出部とトラック溝の両側面の接触部に予圧を付与したことを特徴とする請求項1又は2に記載のトリポード型等速ジョイント。
  4. 外輪の内周に軸方向に延びる3本のトラック溝を周方向に120°の間隔をおいて形成し、外輪の内側に組込まれたトリポード部材には前記各トラック溝内でスライド自在とされ、外輪とトリポード部材の相互間でトルク伝達を行なう3本の突出部を設けたトリポード型等速ジョイントにおいて、
    前記外輪および突出部を含むトリポード部材全体のそれぞれを合成樹脂の射出成形品としてグリース潤滑およびブーツを不要とし、外輪成形用の合成樹脂とトリポード部材成形用の合成樹脂のベース樹脂を相違させ、前記突出部の両側の球面間の寸法をトラック溝の両側面間の寸法より大きくすることで突出部とトラック溝の両側面の接触部に予圧を付与したことを特徴とするトリポード型等速ジョイント。
  5. 前記外輪に形成されたトラック溝の外周壁部に外輪の開口端から軸方向に延びる切り離し部を形成したことを特徴とする請求項3又は4に記載のトリポード型等速ジョイント。
JP2005220145A 2004-09-24 2005-07-29 トリポード型等速ジョイント Expired - Lifetime JP4603440B2 (ja)

Priority Applications (2)

Application Number Priority Date Filing Date Title
JP2005220145A JP4603440B2 (ja) 2005-07-29 2005-07-29 トリポード型等速ジョイント
US11/231,813 US7289752B2 (en) 2004-09-24 2005-09-22 Tripod type constant-velocity joint and image-forming device

Applications Claiming Priority (1)

Application Number Priority Date Filing Date Title
JP2005220145A JP4603440B2 (ja) 2005-07-29 2005-07-29 トリポード型等速ジョイント

Publications (2)

Publication Number Publication Date
JP2007032780A JP2007032780A (ja) 2007-02-08
JP4603440B2 true JP4603440B2 (ja) 2010-12-22

Family

ID=37792267

Family Applications (1)

Application Number Title Priority Date Filing Date
JP2005220145A Expired - Lifetime JP4603440B2 (ja) 2004-09-24 2005-07-29 トリポード型等速ジョイント

Country Status (1)

Country Link
JP (1) JP4603440B2 (ja)

Cited By (1)

* Cited by examiner, † Cited by third party
Publication number Priority date Publication date Assignee Title
KR101825058B1 (ko) 2017-02-17 2018-02-02 서한산업(주) 등속 조인트 어셈블리 및 등속 조인트용 하우징

Family Cites Families (2)

* Cited by examiner, † Cited by third party
Publication number Priority date Publication date Assignee Title
JPH0236976Y2 (ja) * 1985-12-11 1990-10-08
JP2002098162A (ja) * 2000-09-22 2002-04-05 Nippon Piston Ring Co Ltd オルダム継手

Cited By (1)

* Cited by examiner, † Cited by third party
Publication number Priority date Publication date Assignee Title
KR101825058B1 (ko) 2017-02-17 2018-02-02 서한산업(주) 등속 조인트 어셈블리 및 등속 조인트용 하우징

Also Published As

Publication number Publication date
JP2007032780A (ja) 2007-02-08

Similar Documents

Publication Publication Date Title
US10233974B2 (en) Tripod-type constant velocity joint
WO2013042715A1 (ja) 滑り軸受および画像形成装置
JP4515869B2 (ja) トリポード型等速ジョイント
JP5160745B2 (ja) トリポード型等速ジョイント
JP4554306B2 (ja) 等速ジョイント
JP5466427B2 (ja) 球面滑り軸受
JP2007224995A (ja) 等速ジョイント
JP4603440B2 (ja) トリポード型等速ジョイント
JP4584089B2 (ja) 等速ジョイント
JP4603441B2 (ja) 等速ジョイント
JP5395236B2 (ja) トリポード型等速ジョイント
JP2006161932A (ja) トリポード型等速ジョイント
JP2006220250A (ja) トリポード型等速ジョイント
JP2006097758A (ja) 等速ジョイント
JP4601538B2 (ja) 固定式等速ジョイント
JP2006105327A (ja) 等速ジョイント
JP5006232B2 (ja) 等速ジョイント
JP2006322613A (ja) 等速ジョイント
KR100541751B1 (ko) 슬라이딩 키 및 무단변속기
JP4650215B2 (ja) 合成樹脂製の滑り軸受
JP2007127247A (ja) 等速ジョイント
JPH08326770A (ja) 等速自在継手
JP2006194415A (ja) 等速ジョイント
JP2011021743A (ja) 滑り軸受
JP5102143B2 (ja) 等速ジョイント

Legal Events

Date Code Title Description
A621 Written request for application examination

Free format text: JAPANESE INTERMEDIATE CODE: A621

Effective date: 20080626

A977 Report on retrieval

Free format text: JAPANESE INTERMEDIATE CODE: A971007

Effective date: 20100311

A131 Notification of reasons for refusal

Free format text: JAPANESE INTERMEDIATE CODE: A131

Effective date: 20100316

A521 Request for written amendment filed

Free format text: JAPANESE INTERMEDIATE CODE: A523

Effective date: 20100507

TRDD Decision of grant or rejection written
A01 Written decision to grant a patent or to grant a registration (utility model)

Free format text: JAPANESE INTERMEDIATE CODE: A01

Effective date: 20100914

A01 Written decision to grant a patent or to grant a registration (utility model)

Free format text: JAPANESE INTERMEDIATE CODE: A01

A61 First payment of annual fees (during grant procedure)

Free format text: JAPANESE INTERMEDIATE CODE: A61

Effective date: 20101001

FPAY Renewal fee payment (event date is renewal date of database)

Free format text: PAYMENT UNTIL: 20131008

Year of fee payment: 3

R150 Certificate of patent or registration of utility model

Ref document number: 4603440

Country of ref document: JP

Free format text: JAPANESE INTERMEDIATE CODE: R150

Free format text: JAPANESE INTERMEDIATE CODE: R150

R250 Receipt of annual fees

Free format text: JAPANESE INTERMEDIATE CODE: R250

R250 Receipt of annual fees

Free format text: JAPANESE INTERMEDIATE CODE: R250

R250 Receipt of annual fees

Free format text: JAPANESE INTERMEDIATE CODE: R250

R250 Receipt of annual fees

Free format text: JAPANESE INTERMEDIATE CODE: R250

R250 Receipt of annual fees

Free format text: JAPANESE INTERMEDIATE CODE: R250

R250 Receipt of annual fees

Free format text: JAPANESE INTERMEDIATE CODE: R250

R250 Receipt of annual fees

Free format text: JAPANESE INTERMEDIATE CODE: R250

R250 Receipt of annual fees

Free format text: JAPANESE INTERMEDIATE CODE: R250

R250 Receipt of annual fees

Free format text: JAPANESE INTERMEDIATE CODE: R250

R250 Receipt of annual fees

Free format text: JAPANESE INTERMEDIATE CODE: R250

R250 Receipt of annual fees

Free format text: JAPANESE INTERMEDIATE CODE: R250

R250 Receipt of annual fees

Free format text: JAPANESE INTERMEDIATE CODE: R250

EXPY Cancellation because of completion of term