JP4589543B2 - バンパ取付構造 - Google Patents

バンパ取付構造 Download PDF

Info

Publication number
JP4589543B2
JP4589543B2 JP2001033062A JP2001033062A JP4589543B2 JP 4589543 B2 JP4589543 B2 JP 4589543B2 JP 2001033062 A JP2001033062 A JP 2001033062A JP 2001033062 A JP2001033062 A JP 2001033062A JP 4589543 B2 JP4589543 B2 JP 4589543B2
Authority
JP
Japan
Prior art keywords
bumper
vehicle body
mounting structure
body frame
cross
Prior art date
Legal status (The legal status is an assumption and is not a legal conclusion. Google has not performed a legal analysis and makes no representation as to the accuracy of the status listed.)
Expired - Fee Related
Application number
JP2001033062A
Other languages
English (en)
Other versions
JP2002234409A (ja
Inventor
一成 宮林
Current Assignee (The listed assignees may be inaccurate. Google has not performed a legal analysis and makes no representation or warranty as to the accuracy of the list.)
Subaru Corp
Original Assignee
Fuji Jukogyo KK
Priority date (The priority date is an assumption and is not a legal conclusion. Google has not performed a legal analysis and makes no representation as to the accuracy of the date listed.)
Filing date
Publication date
Application filed by Fuji Jukogyo KK filed Critical Fuji Jukogyo KK
Priority to JP2001033062A priority Critical patent/JP4589543B2/ja
Publication of JP2002234409A publication Critical patent/JP2002234409A/ja
Application granted granted Critical
Publication of JP4589543B2 publication Critical patent/JP4589543B2/ja
Anticipated expiration legal-status Critical
Expired - Fee Related legal-status Critical Current

Links

Images

Landscapes

  • Body Structure For Vehicles (AREA)

Description

【0001】
【発明の属する技術分野】
本発明は、車両用のバンパ取付構造に関するものであり、特に、衝撃時の荷重を確実に受けつつ、衝撃吸収を効率的に行うことができるバンパ取付構造に関するものである。
【0002】
【従来の技術】
従来の自動車用のバンパ取付構造としては、予めバンパフェースにバンパビーム、バンパステーをサブアッセンブリしておき、これを車体に取り付ける構造を採用している(特開平6−227333号)。サブアッセンブリしたバンパは重量が増大するため、取付作業にあたっては、一方の作業者がサブアッセンブリを保持しかつ他方の作業者が車体フレームにボルト等によって固定する作業を行うため、取付作業性に問題がある。また、バンパステーの補強リブまたは縦壁が車体フレームの縦壁とオフセットした構造を採用しているため、衝突時の衝撃荷重が面外荷重として車体フレームに伝達されることになり、衝突エネルギの吸収の点で問題がある。
【0003】
このため、取付作業性がよく、また衝突エネルギ吸収を効率よく行うことができるバンパ取付構造が提案されている(特開平9−86309号、特開平11−208392号等)。
特開平9−86309号のバンパ取付構造を図5を参照して説明すると、図 は側断面図であり、図中101はアルミ合金等の軽合金等から成形されたバンパビーム、101aはバンパフェース、102はアルミ合金等の軽合金等から成形されたバンパステー、103は車体フレームである。このバンパ取付構造は、軽金属の押出し成形にて形成されるバンパステー102を、箱形の本体部102aと、バンパビーム101の断面内に突出する突出部102bと、車体フレーム103内に嵌挿される嵌挿部102cとで構成し、嵌挿部102cを車体フレーム103内に嵌挿し、車体フレーム103と嵌挿部102cとにボルト104を貫通させ、ナット105で締付けて固定する構成とされている。この構成により衝突時にバンパステー102の突出部102bと本体部102aとが潰れることで衝突初期のエネルギ吸収を行ない、ボルト104による取付部が車体フレーム103の座屈を妨げないので、ボルト104より前方(図中左方側)の車体フレーム103がバランス良く座屈変形し、有効クラッシュストロークが増大し、衝突エネルギの吸収が効果的に行なわれるようにしている。また、バンパビームおよびバンパステーを軽合金等を使用して成形したため全体の重量が軽減化され、作業性も向上する。
【0004】
また、特開平11−208392号のバンパ取付構造は図6の平面図に示すように、車体の左右両側に各々配された閉断面形状を有するサイドメンバ(車体フレーム)203の前後方向端部に、上下方向で同一断面形状を有する軽合金等による押出成形品のバンパステー202を介して、バンパレインフォース(バンパビーム)201の両端部を取付けるバンパレインフォースの取付構造であって、前記バンパステー202の左右側壁202R、202Lを、サイドメンバの前後方向の左右側壁203a、203bと同一直線状に配置することにより、バンパレインフォース201に伝わる衝突荷重をバンパステー202からサイドメンバ203に直接入力し、衝突時の抗力を大きくしている。なお、バンパステー202はサイドメンバにボルト204により固定されている。
【0005】
【発明が解決しようとする課題】
しかしながら、前者の構造では、嵌挿部102cの衝撃吸収に寄与しているのは、車体フレームにボルト止めされている前方部分(図中ボルト104より左方側の部分)であり、ボルト止め位置より後方の嵌挿部では、衝撃吸収には寄与していないので、バンパステーの衝撃吸収効率の点で改善の余地がある。また、嵌挿部分で車体フレームにボルト止めを行うと前後荷重入力がボルトを介して車体フレームに伝達されるのでこの部位において荷重が集中して車体フレームの変形が生じる。したがって、伝達効率の点で改善の余地がある。さらに、後者の構造でも、嵌挿部分の衝撃吸収に寄与している部分はボルト部204より前方(図中ボルトより左方部分)であり、ボルト止め位置より後方部においては、寄与していないので、バンパステーの衝撃吸収効率の点で改善の余地がある。
【0006】
そこで、本発明は、車体フレーム内に嵌挿される嵌挿部の後端部を車体フレームの断面内に固定される係止部材(リンフォースメント)によって係止することにより、車体フレームの断面内に嵌挿しているバンパステーの嵌挿部全体を衝撃吸収体として機能させることを可能にしたバンパ取付構造を提供し、上記問題点を解決することを目的とする。さらにバンパステーは、上下方向に同一断面形状を有し、その断面内で車体フレームの側壁と同一直線状に補強リブを配置したことで、ステー強度を向上することができるとともに、補強リブを車体フレームの側壁と同一直線状に配置したことで、衝突荷重をリブから車体フレームにダイレクトに伝達することができるバンパ取付構造を提供し、上記問題点を解決することを目的とする。
【0007】
【課題を解決するための手段】
このため本発明が採用した課題解決手段は、車体の左右両側に配された閉断面形状の車体フレームの端部に押し出し成形のバンパステーを介してバンパビームを取り付けるバンパ取付構造において、バンパステーは、本体部と、本体部の後部に突出形成され車体フレーム内に嵌挿する嵌挿部とを有し、前記本体部はバンパビームが固定されるビーム取付面と前記ビーム取付面と一定距離離間して配される車体取付面とを備え、前記嵌挿部は前記車体取付面に形成され、前記車体フレーム内には、衝突時に前記嵌挿部の移動を阻止するための係止部材を備え、前記係止部材は、左右の車体フレームを連結するクロスメンバ取付用のブラケットで構成するとともに前記ブラケットはバンパステーの嵌挿部の端部を受け止める係止部を有していることを特徴とするバンパ取付構造である。また、前記バンパステーは、上下方向に同一断面形状を有し、その断面内で車体フレームの側壁と同一直線上となる位置に補強リブを配したことを特徴とするバンパ取付構造である。また、バンパステーの上下方向断面内は補強リブによって3つのブロックに区画され、中央のブロックは本体部から嵌挿部へと連続するとともに、左右のブロックは車体取付面を形成することを特徴とするバンパ取付構造である。そして、上記のような解決手段からなる本発明では、衝突時に、車体フレーム内に嵌挿される嵌挿部の端部が車体フレームの断面内に固定される係止部材によって係止されることで、車体フレームの断面内に嵌挿しているバンパステーの嵌挿部全体を衝撃吸収体として機能させることができる。また、バンパステーは、上下方向に同一断面形状を有し、その断面内で車体フレームの側壁と同一直線状に補強リブを配置したことで、衝突荷重を補強リブから車体フレームにダイレクトに伝達することができる。
【0008】
【発明の実施の形態】
以下、本発明の実施形態を図面に基づいて説明する。
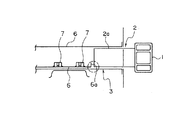
図1〜図4は、この発明の実施形態を示す図であり、図1は、車体の前方に取り付けたバンパ取付部の斜視図、図2は同平面図、図3は図2中のA−A断面図、図4は衝突時のエネルギ吸収の様子を説明する側面図である。なお、説明中、前、後とは車両の前後方向に対応している。
【0009】
図において、1はバンパビーム、2はバンパステー、3は車体フレームであり、バンパビーム1は溶接等の適宜固着手段でバンパステー2に固定され、バンパステー2の嵌挿部2aがボックス状閉断面を有する車体フレーム3内に嵌挿される構成となっている。また車体側には図示のようにバンパステー2およびバンパビーム1を固定するための複数の埋め込みボルト4が取付けられており、このボルト4がバンパステー2の後述する車体取付面2cに開けた孔5を貫通し反対のバンパビーム側から図示せぬナットによりバンパビーム1およびバンパステー2の後述するビーム取付面2bに明けた孔5を通してバンパビームおよびバンパステー2を車体に締結する。
【0010】
バンパビーム1はアルミまたはその合金等からなる軽合金等で押し出し成形され、所定の断面形状を有し車体幅方向に長い形状をしている。
バンパステー2もバンパビーム1と同様にアルミまたは軽合金等で一体成形されており、バンパステー2は、バンパビーム1と当接する左右に伸びたビーム取付面2bを備え、そのビーム取付面2bと略平行でかつ一定距離離間して形成した車体取付面2cを備えている。車体取付面2cには、車体フレーム3内に嵌挿する上下に開口した嵌挿部2aが形成されており、前記車体取付面2cは、車体側前部との当接面として構成されている。また、バンパステー2には平面視において図2に示すように、車体フレーム3の左右側壁3L、3Rと同一直線上に対応する位置に補強リブ2dが形成されており、この補強リブ2dによってバンパステー2内を三つのブロックに区画し、中央部の区画はバンパステー2内の中空部と一体に形成され、この中央部が嵌挿部2aとして形成されている。このバンパステー2は上下方向の押し出し成形によって製造される。
【0011】
車体フレーム3は、前記嵌挿部2aを嵌挿することができるボックス状の閉断面を形成しており、バンパステー2の嵌挿部2aを嵌挿した状態の嵌挿部2aの端部に対応する位置に、嵌挿部2a端部と対向する係止部材(リンフォースメント)6が固定されている。このリンフォースメント6は本例では車体側のクロスメンバを固定するための取付ブラケットを兼用しており、バンパステー2の嵌合部端部に対応する部位には起立した係止部としてのフランジ6aが形成され、嵌挿部2aの後方への移動を阻止できるようになっている。また取付ブラケット6にはクロスメンバを固定するためのナット7が溶着固定されている。
【0012】
上記の構成からなるバンパ取付構造において、衝突時には図4に示すようにバンパステー2の嵌挿部2aの端面がリンフォースメント6のフランジ6aに当接し、それ以上の移動を阻止された状態でバンパビーム1、バンパステー2さらには車体フレーム3が変形し、この変形によって衝撃エネルギが吸収される。またバンパステー2の補強リブ2dが図2に示すように車体フレーム3の側壁と同一直線上にあるため、バンパステー2の補強リブ2dから直接車体フレーム3の側壁3L、3Rに荷重を伝達することができ、衝突時の抗力を与えることができる。なお、バンパステー2を車体に取り付ける際に、本例のような構成を採用すると、バンパステー2を車体フレーム3内に挿通して仮止め状態とすることができるため組付け作業性が向上する。
【0013】
なお、上記各実施形態は本発明の実施形態の内の例示に過ぎず、他の形態とすることもできる。例えば、上記実施形態ではフロント側のバンパ取付構造について説明したが、リヤ側のバンパ取付構造にも適用できることは言うまでもなく、またバンパビームの断面形状等も変更することが可能である。またリンフォースメントもクロスメンバ取付用ブラケットと兼用することなく、単独部品とすることも可能であり、また嵌挿部と当接する係止部(フランジ)の高さも自由に変更することができる。
【0014】
【発明の効果】
以上詳細に述べた如く本発明によれば、車体フレームの断面内に嵌挿しているバンパステーの嵌挿部全体を衝撃吸収体として機能させることができ、また車体フレーム全体の抗力を向上させることができる。また、バンパステーは車体に対して面結合されるので荷重を確実に受け取ることができるとともに、捩じり剛性も向上する。リンフォースメントとして既存のクロスメンバ取付用ブラケットを使用することで部品点数の軽減を図ることができる。バンパステーの断面内に補強リブを設けたことでバンパステーの強度を向上することができるとともに、補強リブを車体フレームの側壁と同一直線状とすることで、衝突荷重を補強リブから車体フレームにダイレクトに伝達することができる。また全体として構造が簡略化され、さらに、取付作業も向上する、等の優れた効果を奏することができる。
【図面の簡単な説明】
【図1】実施形態としての自動車のフロント側のバンパ取付構造の斜視図である。
【図2】同バンパ取付部の平面断面図である。
【図3】図2中のA−A断面図である。
【図4】衝突時のバンパ取付部の変形状態を説明する図である。
【図5】従来のバンパ取付部の断面図である。
【図6】他の従来のバンパ取付部の断面図である。
【符号の説明】
1 バンパビーム
2 バンパステー
3 車体フレーム
4 埋め込みボルト
5 孔
6 係止部材(リンフォースメント、取付ブラケット)
7 ナット

Claims (3)

  1. 車体の左右両側に配された閉断面形状の車体フレームの端部に押し出し成形のバンパステーを介してバンパビームを取り付けるバンパ取付構造において、バンパステーは、本体部と、本体部の後部に突出形成され車体フレーム内に嵌挿する嵌挿部とを有し、前記本体部はバンパビームが固定されるビーム取付面と前記ビーム取付面と一定距離離間して配される車体取付面とを備え、前記嵌挿部は前記車体取付面に形成され、前記車体フレーム内には、衝突時に前記嵌挿部の移動を阻止するための係止部材を備え、前記係止部材は、左右の車体フレームを連結するクロスメンバ取付用のブラケットで構成するとともに前記ブラケットはバンパステーの嵌挿部の端部を受け止める係止部を有していることを特徴とするバンパ取付構造。
  2. 前記バンパステーは、上下方向に同一断面形状を有し、その断面内で車体フレームの側壁と同一直線上となる位置に補強リブを配したことを特徴とする請求項1に記載のバンパ取付構造。
  3. バンパステーの上下方向断面内は補強リブによって3つのブロックに区画され、中央のブロックは本体部から嵌挿部へと連続するとともに、左右のブロックは車体取付面を形成することを特徴とする請求項1または請求項2に記載のバンパ取付構造。
JP2001033062A 2001-02-09 2001-02-09 バンパ取付構造 Expired - Fee Related JP4589543B2 (ja)

Priority Applications (1)

Application Number Priority Date Filing Date Title
JP2001033062A JP4589543B2 (ja) 2001-02-09 2001-02-09 バンパ取付構造

Applications Claiming Priority (1)

Application Number Priority Date Filing Date Title
JP2001033062A JP4589543B2 (ja) 2001-02-09 2001-02-09 バンパ取付構造

Publications (2)

Publication Number Publication Date
JP2002234409A JP2002234409A (ja) 2002-08-20
JP4589543B2 true JP4589543B2 (ja) 2010-12-01

Family

ID=18896871

Family Applications (1)

Application Number Title Priority Date Filing Date
JP2001033062A Expired - Fee Related JP4589543B2 (ja) 2001-02-09 2001-02-09 バンパ取付構造

Country Status (1)

Country Link
JP (1) JP4589543B2 (ja)

Families Citing this family (8)

* Cited by examiner, † Cited by third party
Publication number Priority date Publication date Assignee Title
JP4114468B2 (ja) * 2002-12-05 2008-07-09 トヨタ自動車株式会社 車両用バンパ支持構造
JP2005205991A (ja) * 2004-01-21 2005-08-04 Honda Motor Co Ltd バンパービーム構造
JP3962040B2 (ja) * 2004-07-20 2007-08-22 本田技研工業株式会社 車両用バンパビーム取付構造
KR100747029B1 (ko) * 2005-11-25 2007-08-07 현대자동차주식회사 자동차의 프론트 엔드부 구조
JP5313817B2 (ja) * 2008-09-15 2013-10-09 住友軽金属工業株式会社 バンパーステイ
JP5267929B2 (ja) 2008-09-30 2013-08-21 スズキ株式会社 車両前部の構造
JP5880320B2 (ja) * 2012-07-06 2016-03-09 トヨタ自動車株式会社 車体前部構造
KR101399334B1 (ko) 2012-09-24 2014-06-27 주식회사 성우하이텍 차량용 범퍼빔 유닛

Family Cites Families (4)

* Cited by examiner, † Cited by third party
Publication number Priority date Publication date Assignee Title
JPS60156058U (ja) * 1984-03-28 1985-10-17 ダイハツ工業株式会社 バンパ取付け構造
JPH0547004Y2 (ja) * 1988-10-20 1993-12-09
JP3380339B2 (ja) * 1994-10-07 2003-02-24 三菱アルミニウム株式会社 自動車用バンパー取り付け金具
JP3651224B2 (ja) * 1998-01-26 2005-05-25 日産自動車株式会社 バンパレインフォースの取付構造

Also Published As

Publication number Publication date
JP2002234409A (ja) 2002-08-20

Similar Documents

Publication Publication Date Title
US8857902B2 (en) Front vehicle body structure
KR101097018B1 (ko) 측면 충돌 성능을 강화시킨 자동차용 도어
US7735902B2 (en) Front structure of a motor vehicle
KR20150134977A (ko) 스몰 오버랩 충돌대응 차체보강구조
KR20170070571A (ko) 전방 차체 구조
KR101703612B1 (ko) 전방 차체 보강구조 및 그 조립방법
JP4589543B2 (ja) バンパ取付構造
JP3870677B2 (ja) 移動体用緩衝装置
JP2005231436A (ja) 自動車の前部車体構造
KR101085819B1 (ko) 차량용 범퍼 스태이의 조립구조
KR101220005B1 (ko) 엔진룸 보강 구조
EP4316919A1 (en) Side extension for crash management system
JP4687138B2 (ja) 車両前部構造
JP4106935B2 (ja) 自動車の前部車体構造
JP2000001150A (ja) 自動車のバンパ装置
JP2002274299A (ja) フレーム先端部構造
KR100256541B1 (ko) 자동차의 리어범퍼 부착용 범퍼스테이
CN223279046U (zh) 前防撞梁总成及车辆
KR100412351B1 (ko) 프론트 필러부의 결합구조
KR0178912B1 (ko) 자동차의 프론트 범퍼 보강구조
CN210126556U (zh) 用于轿车的铝合金车架前段结构及轿车
KR100258620B1 (ko) 프런트 범퍼 취부 구조
KR100440856B1 (ko) 자동차의 범퍼
JP2008018901A (ja) 車両前部構造
JP2008132831A (ja) 車両の前部構造

Legal Events

Date Code Title Description
A621 Written request for application examination

Free format text: JAPANESE INTERMEDIATE CODE: A621

Effective date: 20080121

A977 Report on retrieval

Free format text: JAPANESE INTERMEDIATE CODE: A971007

Effective date: 20100430

A131 Notification of reasons for refusal

Free format text: JAPANESE INTERMEDIATE CODE: A131

Effective date: 20100525

A521 Request for written amendment filed

Free format text: JAPANESE INTERMEDIATE CODE: A523

Effective date: 20100721

TRDD Decision of grant or rejection written
A01 Written decision to grant a patent or to grant a registration (utility model)

Free format text: JAPANESE INTERMEDIATE CODE: A01

Effective date: 20100907

A01 Written decision to grant a patent or to grant a registration (utility model)

Free format text: JAPANESE INTERMEDIATE CODE: A01

A61 First payment of annual fees (during grant procedure)

Free format text: JAPANESE INTERMEDIATE CODE: A61

Effective date: 20100910

R150 Certificate of patent or registration of utility model

Ref document number: 4589543

Country of ref document: JP

Free format text: JAPANESE INTERMEDIATE CODE: R150

Free format text: JAPANESE INTERMEDIATE CODE: R150

FPAY Renewal fee payment (event date is renewal date of database)

Free format text: PAYMENT UNTIL: 20130917

Year of fee payment: 3

R250 Receipt of annual fees

Free format text: JAPANESE INTERMEDIATE CODE: R250

R250 Receipt of annual fees

Free format text: JAPANESE INTERMEDIATE CODE: R250

S531 Written request for registration of change of domicile

Free format text: JAPANESE INTERMEDIATE CODE: R313531

R350 Written notification of registration of transfer

Free format text: JAPANESE INTERMEDIATE CODE: R350

R250 Receipt of annual fees

Free format text: JAPANESE INTERMEDIATE CODE: R250

R250 Receipt of annual fees

Free format text: JAPANESE INTERMEDIATE CODE: R250

S533 Written request for registration of change of name

Free format text: JAPANESE INTERMEDIATE CODE: R313533

R350 Written notification of registration of transfer

Free format text: JAPANESE INTERMEDIATE CODE: R350

R250 Receipt of annual fees

Free format text: JAPANESE INTERMEDIATE CODE: R250

R250 Receipt of annual fees

Free format text: JAPANESE INTERMEDIATE CODE: R250

R250 Receipt of annual fees

Free format text: JAPANESE INTERMEDIATE CODE: R250

LAPS Cancellation because of no payment of annual fees