JP4580472B2 - 情報信号記録再生装置および記録再生方法 - Google Patents

情報信号記録再生装置および記録再生方法 Download PDF

Info

Publication number
JP4580472B2
JP4580472B2 JP02134697A JP2134697A JP4580472B2 JP 4580472 B2 JP4580472 B2 JP 4580472B2 JP 02134697 A JP02134697 A JP 02134697A JP 2134697 A JP2134697 A JP 2134697A JP 4580472 B2 JP4580472 B2 JP 4580472B2
Authority
JP
Japan
Prior art keywords
information
recording
recorded
reproducing apparatus
signal
Prior art date
Legal status (The legal status is an assumption and is not a legal conclusion. Google has not performed a legal analysis and makes no representation as to the accuracy of the status listed.)
Expired - Fee Related
Application number
JP02134697A
Other languages
English (en)
Other versions
JPH10222963A (ja
Inventor
真巳 冨田
Current Assignee (The listed assignees may be inaccurate. Google has not performed a legal analysis and makes no representation or warranty as to the accuracy of the list.)
Sony Corp
Original Assignee
Sony Corp
Priority date (The priority date is an assumption and is not a legal conclusion. Google has not performed a legal analysis and makes no representation as to the accuracy of the date listed.)
Filing date
Publication date
Application filed by Sony Corp filed Critical Sony Corp
Priority to JP02134697A priority Critical patent/JP4580472B2/ja
Priority to EP98300709A priority patent/EP0856847B1/en
Priority to AT98300709T priority patent/ATE209390T1/de
Priority to DE69802573T priority patent/DE69802573T2/de
Priority to US09/017,244 priority patent/US6031806A/en
Priority to CN98105968A priority patent/CN1112694C/zh
Priority to KR10-1998-0003004A priority patent/KR100499969B1/ko
Publication of JPH10222963A publication Critical patent/JPH10222963A/ja
Application granted granted Critical
Publication of JP4580472B2 publication Critical patent/JP4580472B2/ja
Anticipated expiration legal-status Critical
Expired - Fee Related legal-status Critical Current

Links

Images

Classifications

    • GPHYSICS
    • G11INFORMATION STORAGE
    • G11BINFORMATION STORAGE BASED ON RELATIVE MOVEMENT BETWEEN RECORD CARRIER AND TRANSDUCER
    • G11B7/00Recording or reproducing by optical means, e.g. recording using a thermal beam of optical radiation by modifying optical properties or the physical structure, reproducing using an optical beam at lower power by sensing optical properties; Record carriers therefor
    • G11B7/004Recording, reproducing or erasing methods; Read, write or erase circuits therefor
    • G11B7/006Overwriting
    • HELECTRICITY
    • H04ELECTRIC COMMUNICATION TECHNIQUE
    • H04NPICTORIAL COMMUNICATION, e.g. TELEVISION
    • H04N5/00Details of television systems
    • H04N5/76Television signal recording
    • GPHYSICS
    • G11INFORMATION STORAGE
    • G11BINFORMATION STORAGE BASED ON RELATIVE MOVEMENT BETWEEN RECORD CARRIER AND TRANSDUCER
    • G11B20/00Signal processing not specific to the method of recording or reproducing; Circuits therefor
    • GPHYSICS
    • G11INFORMATION STORAGE
    • G11BINFORMATION STORAGE BASED ON RELATIVE MOVEMENT BETWEEN RECORD CARRIER AND TRANSDUCER
    • G11B20/00Signal processing not specific to the method of recording or reproducing; Circuits therefor
    • G11B20/10Digital recording or reproducing
    • G11B20/10527Audio or video recording; Data buffering arrangements
    • GPHYSICS
    • G11INFORMATION STORAGE
    • G11BINFORMATION STORAGE BASED ON RELATIVE MOVEMENT BETWEEN RECORD CARRIER AND TRANSDUCER
    • G11B27/00Editing; Indexing; Addressing; Timing or synchronising; Monitoring; Measuring tape travel
    • G11B27/02Editing, e.g. varying the order of information signals recorded on, or reproduced from, record carriers
    • G11B27/022Electronic editing of analogue information signals, e.g. audio or video signals
    • G11B27/029Insert-editing
    • GPHYSICS
    • G11INFORMATION STORAGE
    • G11BINFORMATION STORAGE BASED ON RELATIVE MOVEMENT BETWEEN RECORD CARRIER AND TRANSDUCER
    • G11B27/00Editing; Indexing; Addressing; Timing or synchronising; Monitoring; Measuring tape travel
    • G11B27/02Editing, e.g. varying the order of information signals recorded on, or reproduced from, record carriers
    • G11B27/031Electronic editing of digitised analogue information signals, e.g. audio or video signals
    • G11B27/036Insert-editing
    • GPHYSICS
    • G11INFORMATION STORAGE
    • G11BINFORMATION STORAGE BASED ON RELATIVE MOVEMENT BETWEEN RECORD CARRIER AND TRANSDUCER
    • G11B27/00Editing; Indexing; Addressing; Timing or synchronising; Monitoring; Measuring tape travel
    • G11B27/10Indexing; Addressing; Timing or synchronising; Measuring tape travel
    • G11B27/11Indexing; Addressing; Timing or synchronising; Measuring tape travel by using information not detectable on the record carrier
    • GPHYSICS
    • G11INFORMATION STORAGE
    • G11BINFORMATION STORAGE BASED ON RELATIVE MOVEMENT BETWEEN RECORD CARRIER AND TRANSDUCER
    • G11B27/00Editing; Indexing; Addressing; Timing or synchronising; Monitoring; Measuring tape travel
    • G11B27/10Indexing; Addressing; Timing or synchronising; Measuring tape travel
    • G11B27/19Indexing; Addressing; Timing or synchronising; Measuring tape travel by using information detectable on the record carrier
    • G11B27/22Means responsive to presence or absence of recorded information signals
    • GPHYSICS
    • G11INFORMATION STORAGE
    • G11BINFORMATION STORAGE BASED ON RELATIVE MOVEMENT BETWEEN RECORD CARRIER AND TRANSDUCER
    • G11B27/00Editing; Indexing; Addressing; Timing or synchronising; Monitoring; Measuring tape travel
    • G11B27/10Indexing; Addressing; Timing or synchronising; Measuring tape travel
    • G11B27/19Indexing; Addressing; Timing or synchronising; Measuring tape travel by using information detectable on the record carrier
    • G11B27/28Indexing; Addressing; Timing or synchronising; Measuring tape travel by using information detectable on the record carrier by using information signals recorded by the same method as the main recording
    • G11B27/30Indexing; Addressing; Timing or synchronising; Measuring tape travel by using information detectable on the record carrier by using information signals recorded by the same method as the main recording on the same track as the main recording
    • G11B27/3027Indexing; Addressing; Timing or synchronising; Measuring tape travel by using information detectable on the record carrier by using information signals recorded by the same method as the main recording on the same track as the main recording used signal is digitally coded
    • GPHYSICS
    • G11INFORMATION STORAGE
    • G11BINFORMATION STORAGE BASED ON RELATIVE MOVEMENT BETWEEN RECORD CARRIER AND TRANSDUCER
    • G11B27/00Editing; Indexing; Addressing; Timing or synchronising; Monitoring; Measuring tape travel
    • G11B27/10Indexing; Addressing; Timing or synchronising; Measuring tape travel
    • G11B27/19Indexing; Addressing; Timing or synchronising; Measuring tape travel by using information detectable on the record carrier
    • G11B27/28Indexing; Addressing; Timing or synchronising; Measuring tape travel by using information detectable on the record carrier by using information signals recorded by the same method as the main recording
    • G11B27/30Indexing; Addressing; Timing or synchronising; Measuring tape travel by using information detectable on the record carrier by using information signals recorded by the same method as the main recording on the same track as the main recording
    • G11B27/3027Indexing; Addressing; Timing or synchronising; Measuring tape travel by using information detectable on the record carrier by using information signals recorded by the same method as the main recording on the same track as the main recording used signal is digitally coded
    • G11B27/3036Time code signal
    • GPHYSICS
    • G11INFORMATION STORAGE
    • G11BINFORMATION STORAGE BASED ON RELATIVE MOVEMENT BETWEEN RECORD CARRIER AND TRANSDUCER
    • G11B27/00Editing; Indexing; Addressing; Timing or synchronising; Monitoring; Measuring tape travel
    • G11B27/10Indexing; Addressing; Timing or synchronising; Measuring tape travel
    • G11B27/19Indexing; Addressing; Timing or synchronising; Measuring tape travel by using information detectable on the record carrier
    • G11B27/28Indexing; Addressing; Timing or synchronising; Measuring tape travel by using information detectable on the record carrier by using information signals recorded by the same method as the main recording
    • G11B27/32Indexing; Addressing; Timing or synchronising; Measuring tape travel by using information detectable on the record carrier by using information signals recorded by the same method as the main recording on separate auxiliary tracks of the same or an auxiliary record carrier
    • G11B27/327Table of contents
    • GPHYSICS
    • G11INFORMATION STORAGE
    • G11BINFORMATION STORAGE BASED ON RELATIVE MOVEMENT BETWEEN RECORD CARRIER AND TRANSDUCER
    • G11B27/00Editing; Indexing; Addressing; Timing or synchronising; Monitoring; Measuring tape travel
    • G11B27/10Indexing; Addressing; Timing or synchronising; Measuring tape travel
    • G11B27/19Indexing; Addressing; Timing or synchronising; Measuring tape travel by using information detectable on the record carrier
    • G11B27/28Indexing; Addressing; Timing or synchronising; Measuring tape travel by using information detectable on the record carrier by using information signals recorded by the same method as the main recording
    • G11B27/32Indexing; Addressing; Timing or synchronising; Measuring tape travel by using information detectable on the record carrier by using information signals recorded by the same method as the main recording on separate auxiliary tracks of the same or an auxiliary record carrier
    • G11B27/327Table of contents
    • G11B27/329Table of contents on a disc [VTOC]
    • GPHYSICS
    • G11INFORMATION STORAGE
    • G11BINFORMATION STORAGE BASED ON RELATIVE MOVEMENT BETWEEN RECORD CARRIER AND TRANSDUCER
    • G11B27/00Editing; Indexing; Addressing; Timing or synchronising; Monitoring; Measuring tape travel
    • G11B27/10Indexing; Addressing; Timing or synchronising; Measuring tape travel
    • G11B27/34Indicating arrangements 
    • GPHYSICS
    • G11INFORMATION STORAGE
    • G11BINFORMATION STORAGE BASED ON RELATIVE MOVEMENT BETWEEN RECORD CARRIER AND TRANSDUCER
    • G11B27/00Editing; Indexing; Addressing; Timing or synchronising; Monitoring; Measuring tape travel
    • G11B27/36Monitoring, i.e. supervising the progress of recording or reproducing
    • GPHYSICS
    • G11INFORMATION STORAGE
    • G11BINFORMATION STORAGE BASED ON RELATIVE MOVEMENT BETWEEN RECORD CARRIER AND TRANSDUCER
    • G11B2220/00Record carriers by type
    • G11B2220/20Disc-shaped record carriers
    • GPHYSICS
    • G11INFORMATION STORAGE
    • G11BINFORMATION STORAGE BASED ON RELATIVE MOVEMENT BETWEEN RECORD CARRIER AND TRANSDUCER
    • G11B2220/00Record carriers by type
    • G11B2220/90Tape-like record carriers
    • GPHYSICS
    • G11INFORMATION STORAGE
    • G11BINFORMATION STORAGE BASED ON RELATIVE MOVEMENT BETWEEN RECORD CARRIER AND TRANSDUCER
    • G11B27/00Editing; Indexing; Addressing; Timing or synchronising; Monitoring; Measuring tape travel
    • G11B27/02Editing, e.g. varying the order of information signals recorded on, or reproduced from, record carriers
    • G11B27/022Electronic editing of analogue information signals, e.g. audio or video signals
    • G11B27/024Electronic editing of analogue information signals, e.g. audio or video signals on tapes
    • GPHYSICS
    • G11INFORMATION STORAGE
    • G11BINFORMATION STORAGE BASED ON RELATIVE MOVEMENT BETWEEN RECORD CARRIER AND TRANSDUCER
    • G11B27/00Editing; Indexing; Addressing; Timing or synchronising; Monitoring; Measuring tape travel
    • G11B27/02Editing, e.g. varying the order of information signals recorded on, or reproduced from, record carriers
    • G11B27/022Electronic editing of analogue information signals, e.g. audio or video signals
    • G11B27/026Electronic editing of analogue information signals, e.g. audio or video signals on discs
    • GPHYSICS
    • G11INFORMATION STORAGE
    • G11BINFORMATION STORAGE BASED ON RELATIVE MOVEMENT BETWEEN RECORD CARRIER AND TRANSDUCER
    • G11B27/00Editing; Indexing; Addressing; Timing or synchronising; Monitoring; Measuring tape travel
    • G11B27/02Editing, e.g. varying the order of information signals recorded on, or reproduced from, record carriers
    • G11B27/031Electronic editing of digitised analogue information signals, e.g. audio or video signals
    • G11B27/032Electronic editing of digitised analogue information signals, e.g. audio or video signals on tapes
    • GPHYSICS
    • G11INFORMATION STORAGE
    • G11BINFORMATION STORAGE BASED ON RELATIVE MOVEMENT BETWEEN RECORD CARRIER AND TRANSDUCER
    • G11B27/00Editing; Indexing; Addressing; Timing or synchronising; Monitoring; Measuring tape travel
    • G11B27/02Editing, e.g. varying the order of information signals recorded on, or reproduced from, record carriers
    • G11B27/031Electronic editing of digitised analogue information signals, e.g. audio or video signals
    • G11B27/034Electronic editing of digitised analogue information signals, e.g. audio or video signals on discs
    • HELECTRICITY
    • H04ELECTRIC COMMUNICATION TECHNIQUE
    • H04NPICTORIAL COMMUNICATION, e.g. TELEVISION
    • H04N5/00Details of television systems
    • H04N5/76Television signal recording
    • H04N5/84Television signal recording using optical recording
    • H04N5/85Television signal recording using optical recording on discs or drums

Landscapes

  • Engineering & Computer Science (AREA)
  • Multimedia (AREA)
  • Signal Processing (AREA)
  • Signal Processing For Digital Recording And Reproducing (AREA)
  • Management Or Editing Of Information On Record Carriers (AREA)
  • Signal Processing Not Specific To The Method Of Recording And Reproducing (AREA)
  • Television Signal Processing For Recording (AREA)

Description

【0001】
【発明の属する技術分野】
この発明は、記録媒体に対して映像および音声信号のようなメインの信号を記録する場合に、記録媒体を有効に利用するようにした情報信号記録再生装置および記録再生方法に関する。
【0002】
【従来の技術】
磁気テープ、磁気ディスク、光ディスク等の記録媒体にアナログデータあるいはディジタルデータを記録する場合に、記録媒体にデータを新たに記録するのに必要な空き領域が存在しない場合がある。その場合には、ブランクディスクのような新たな記録媒体を使用すれば良いが、記録媒体の量が無制限に増加することになる。
【0003】
この問題を避けるために、既記録の信号の中で不要となったものを消去することが考えられる。例えば、VTRを有する監視用ビデオカメラのような自動記録装置は、エンドレステープを使用し、テープの終端まで記録した時には、テープの始端に戻って新たに画像信号を記録していた。エンドレステープに代えてリングバッファを使用し、ディジタルデータを同様に記録することも考えられる。さらに、光ディスク上に画像データを記録する時に、光ディスクに画像データと共に新旧情報を記録しておき、光ディスクの残っている記録容量が0になる時には、最も古いデータを消去することも提案されている。よりさらに、記録時刻から一定時刻を経過したものを消去する方法も提案されている。
【0004】
【発明が解決しようとする課題】
しかしながら、記録媒体に既に記録されているデータの中で、不要であるか否かを、データの新旧のみにより決定することは、妥当とはいえない。既記録の信号の内容によって、その保存したい期間の長さが影響されるからである。一例として、テレビジョン放送番組を記録するVTRを例にとると、番組の中でも、ニュース、天気予報等の即時性が要求される番組は、保存期間が短くても良く、一方、映画番組は、より長い期間保存されることが要求される。また、ユーザによっては、放送チャンネル、番組のタイトル等に基づいて、保存期間を設定したい場合もある。
【0005】
従って、この発明の目的は、記録されるメインの信号の内容によって、適切な保存期間を設定することが可能な情報信号記録再生装置および記録再生方法を提供することにある。
【0006】
【課題を解決するための手段】
かかる課題を解決するために、この発明は、記録媒体の任意の領域を選択して記録再生するようにした情報信号記録再生装置において、
記録媒体に記録されている情報信号は、メインの信号とメインの信号と対応付けられた付加情報からなり、付加情報は、メインの信号の記録時刻を示す時刻情報とメインの信号の内容を示す内容情報とからなり、
内容情報ごとの保存期間を設定する設定手段と、
内容情報ごとの保存期間情報を保持する参照情報保持手段と、
空き領域の有無を検出し、空き領域が存在する場合には、空き領域に対して信号を記録し、
空き領域が存在しない場合では、既記録領域の付加情報中の時刻情報と現在時刻情報からその既記録領域の経過時間を算出し、
経過時間と付加情報中の内容情報に対応する、保存期間情報とから、その既記録領域が消去可能かどうかを決定し、消去可能と決定された既記録領域に対して信号を記録する処理を行う制御手段とからなり、
付加情報の種類に応じて付加情報を記録する記録媒体を選択することを特徴とする情報信号記録再生装置である。
【0007】
信号を記録する処理の度に、または記録媒体の装着時に、消去可能かどうかを決定する処理がなされる。
【0008】
既記録領域中で決定された消去可能な領域を、消去可能とされる時刻の先後に応じた順位、または消去可能とされる期間の長さに応じた順位で並べたリストが作成される。
【0009】
この発明は、記録媒体の任意の領域を選択して記録再生する情報信号記録再生方法において、
記録媒体に記録されている情報信号は、メインの信号とメインの信号と対応付けられた付加情報からなり、付加情報は、メインの信号の記録時刻を示す時刻情報とメインの信号の内容を示す内容情報とからなり、
内容情報ごとの保存期間が設定され、
空き領域の有無を検出し、空き領域が存在する場合には、空き領域に対して信号を記録し、
空き領域が存在しない場合では、既記録領域の付加情報中の時刻情報と現在時刻情報からその既記録領域の経過時間を算出し、
経過時間と付加情報中の内容情報に対応する、保存期間情報とから、その既記録領域が消去可能かどうかを決定し、消去可能と決定された既記録領域に対して信号を記録する処理を行い、
付加情報の種類に応じて付加情報を記録する記録媒体を選択することを特徴とする情報信号記録再生方法である。
【0010】
共通あるいは別個の記録媒体には、メインの信号(例えば映像および音声信号)と、そのメイン信号に対応する付加情報が記録される。この付加情報は、記録時刻を示す時刻情報と内容情報からなる。従って、既記録領域に関して、記録時刻から現在までの経過時間を時刻情報から求めることができ、また、内容情報からメインの信号の内容が分かる。内容情報ごとに保存期間を指定する参照情報を持っているので、既記録領域の中で、消去可能な領域を適切に決定することができる。この決定に基づいて、不要な領域を消去し、新たな情報信号を記録することができる。このように、記録媒体の記録領域を有効に利用することができる。しかも、経過時間のみにより決定するのと異なり、より適切な処理を行うことができる。
【0011】
【発明の実施の形態】
以下、図1を参照して、メインの信号例えば映像および音声信号(以下、映像音声信号と称する)の記録再生装置に対してこの発明を適用した一実施例について説明する。記録すべき映像音声入力信号が1で示す入力信号処理部に供給される。入力信号処理部1において、信号レベルが調整され、また、信号記録時に必要となる情報が検出される。
【0012】
入力処理部1の出力信号が映像音声信号処理部2に供給される。映像音声信号処理部2は、記録するのに適した信号へ映像音声信号を変換する。記録時には、映像信号を輝度信号と色信号へ分離する処理、音声信号の記録方式に対応した変換、フィルタによる帯域制限、アナログディジタル変換、処理に必要なタイミングを生成するための同期信号の分離、記録信号の情報量を圧縮する処理等が映像音声信号処理部2においてなされる。一方、再生時では、これらの処理と逆の処理を映像音声信号処理部2が行う。映像音声信号処理部2から再生時に出力される信号が出力信号処理部3に供給され、増幅等の処理を受け、再生信号として出力される。
【0013】
記録時に映像音声信号処理部2から出力される信号が記録再生信号処理部4に供給される。記録再生信号処理部4から再生時に出力される信号が映像音声信号処理部2に供給される。記録再生信号処理部4は、映像音声信号、映像音声信号に付加する情報を記録媒体に記録できる信号形態に変換する。記録再生信号処理部4の記録時の出力信号が記録再生装置5に供給される。また、再生時に記録再生装置5からの信号が記録再生信号処理部4に入力される。
【0014】
記録再生信号処理部4の処理は、記録再生方式(アナログ記録またはディジタル記録等)、記録媒体の種類(磁気テープ、磁気ディスク、光ディスク、半導体メモリ等)によって異なる。具体的には、アナログ記録の場合におけるFM変調/復調、ディジタル記録の場合における記録単位(フレーム、ブロック等)の生成/記録単位の分解、付加情報の混合/分離、誤り訂正符号のパリティの生成/誤り訂正、記録情報の処理等が記録再生信号処理部4においてなされる。また、この発明の一実施例においては、これらの処理に必要な制御信号および付加情報がコントローラ8から記録再生信号処理部4に供給される。また、再生された付加情報が記録再生信号処理部4からコントローラ8に供給される。
【0015】
記録再生装置5は、記録再生信号処理部4で変換された信号を記録媒体6に記録するための処理を行う。記録媒体6は、映像音声信号を記録再生できる上述した媒体である。映像音声信号の記録再生に伴う付加情報を記録再生するために、付加情報記録媒体7が備えられる。記録媒体6の一部の記録領域を使用して付加情報記録媒体7としても良く、また、別個の記録媒体を使用しても良い。さらに、付加情報の種類に応じて記録媒体6と付加情報記録媒体7とを選択したり、あるいは二つの記録媒体を同時に使用しても良い。
【0016】
付加情報は、記録再生する映像音声信号の内容に関連した内容情報と時刻情報からなる。内容情報としては、放送番組の映像音声信号の場合では、タイトル、放映日時、放送チャンネル、番組の長さ等が可能である。ここでは、映像音声信号のジャンル(すなわち、映画、ドラマ、ニュース、天気予報等)を識別するものが内容情報とされている。時刻情報は、記録時刻の情報(年月日、時分秒)である。時刻情報として、記録開始時刻および/または記録終了時刻の情報が使用される。一般的には、記録終了時刻が使用される。付加情報は、符号化されたデータ(ディジタルデータ)であり、BCDコード、規格化された文字コード(例えばASCIIコード)等を使用して文字、数字、記号を表現するものである。
【0017】
コントローラ8は、マイクロコンピュータで構成されている。コントローラ8によって、記録再生信号処理部4、記録再生装置5等が制御される。また、記録再生信号処理部4に対して、コントローラ8から付加情報(時刻情報と内容情報)が供給され、記録される映像音声信号と対応して、付加情報の記録が可能とされる。
【0018】
コントローラ8と関連して、参照情報部(データベース)9と操作入力信号処理部10が設けられている。操作入力信号処理部10には、ユーザのキー等の操作に基づいて発生した操作入力が供給され、操作入力と対応する内容情報を操作入力信号処理部10が発生する。この内容情報がコントローラ8を通って記録再生信号処理部4に供給される。従って、ユーザは、記録する映像音声信号に合った内容情報(ジャンル)を付加情報記録媒体7に記録することができる。参照情報部9には、時計が含まれ、時計により発生した記録時刻(現在時刻)を示す時刻情報がコントローラ8を通って記録再生信号処理部4に供給され、時刻情報が付加情報記録媒体7に記録される。
【0019】
再生時に、コントローラ8から参照情報部9に対して、付加情報記録媒体7から再生された内容情報が与えられると、この内容情報と対応して、参照情報部9から保存期間の情報がコントローラ8に供給される。参照情報部9は、既に記録済みの領域の映像音声信号が消去可能かどうかをコントローラ8が判断するために参照される。
【0020】
上述の図1に示す一実施例では、時刻情報を時計により発生し、また、内容情報を操作(外部)入力により発生するようにしている。これに限らず、入力信号が内容情報を含む時、あるいは入力信号と並列的に内容情報が入力される時には、これらの内容情報を記録するようにしても良い。図2は、そのような場合に適用されるこの発明の他の実施例を示す。
【0021】
図2においては、入力される映像音声信号中に内容情報が含まれている。また、入力映像音声信号と並列に伝送される内容情報が入力される入力端子を備えている。入力信号処理部1は、入力映像音声信号から内容情報を分離する処理を行う。並列的に入力される内容情報および分離された内容情報を内容情報処理部11に供給する。内容情報処理部11は、これらの内容情報を付加情報として記録/再生するために適切な信号形態(データフォーマット)へ変換する。
【0022】
内容情報処理部11により発生した内容情報が記録再生信号処理部4に供給される。メイン信号が記録媒体6へ記録され、記録媒体6から再生される。記録再生信号処理部4に供給された内容情報が時刻情報と共に付加情報記録媒体7へ記録され、記録媒体7から再生される。
【0023】
入力映像音声信号の垂直ブランキング期間の一部に、内容情報がディジタルデータとして挿入される。既知の文字多重放送の所定のフォーマットを利用して内容情報を挿入することができる。また、文字多重放送のデコーダによって挿入されている文字情報を復号して、映像音声信号と並列的に内容情報を入力することができる。これ以外にも、内容情報を別の入力装置により入力して発生しても良い。さらに、記録時刻を示す時刻情報は、一実施例と同様に、参照情報部9の時計により発生する。しかしながら、内容情報と共に、映像音声信号と並列的に時刻情報を入力し、この時刻情報を記録するようにしても良い。
【0024】
上述したこの発明の一実施例および他の実施例において、参照情報部9は、図3に示すように、内容情報A、B、C、・・・と対応して保存期間a、b、c、・・・・を規定する参照情報(データベース)がメモリ例えば不揮発性半導体メモリに格納されたものである。保存期間とは、記録から消去が許可されるまでの期間である。必要とされる保存期間の長さは、記録されているメインの信号のジャンルにより異なるのが一般的である。例えばニュースや天気予報のジャンルは、即時性が必要なもので、時間経過と共に重要度が低くなる。従って、他のジャンルに比して保存期間が短いものに設定される。一方、映画の保存期間は、長いのが望まれる。
【0025】
さらに、参照情報部9の保存期間の設定の方法としては、上述したもの以外の方法が可能である。例えば記録内容の放送時間帯を内容情報として、保存期間を設定しても良い。これは、放送時間帯によって番組内容が偏っており、重要度が異なる場合があり、例えば、重要度が低いと思われる放送時間帯の番組を記録した記録領域は、他の放送時間帯のものより保存期間を短く設定する。また、このような保存期間を設定する条件としての内容情報は、複合的に適用することもでき、各内容情報の優先順位や組合せかた等を設定する。例えば上述したジャンル情報と放送時間帯情報を組み合わせることによって、保存期間の設定をより細かく設定することができる。
【0026】
さらに、番組のタイトル等の情報を使用すれば、一定の期間で繰り返し放映される連続番組を記録した場合も、次回の番組が記録されるまで、その記録領域を消去しないでおくという保存期間を設定することができる。さらに、再放送番組であるか否かの情報によって、他の条件で設定されている記録領域の保存期間を変更するようにしても良い。このように、記録される内容の手掛かりである内容情報は、全て保存期間の設定にとって利用可能である。
【0027】
上述した保存期間の設定、あるいは変更を、外部からの操作入力により行うようにしても良い。それによって、状況の差異、状況の変化等に対応でき、より有効な設定が可能となる。この場合、複数の内容情報を参照情報部9が持ち、実際に使用する内容情報を操作入力によって選択しても良い。なお、参照情報を記録媒体6または付加情報記録媒体7に記録し、記録媒体6または付加情報記録媒体7を交換した時に、適切な参照情報を参照情報部9に読み込むようにしても良い。
【0028】
次に、付加情報記録媒体7への付加情報の記録方法の例について説明する。映像音声信号の記録媒体6を複数の記録領域に分割する。記録時では、記録領域を単位として記録を行い、付加情報記録媒体7にも映像音声信号の記録領域とそれぞれ対応した領域を確保する。そして、映像音声信号を記録媒体6の各記録領域に記録すると同時に、付加情報記録媒体7の対応する記録領域に付加情報を符号化して記録する。記録媒体6から映像音声信号を再生する時には、付加情報記録媒体7の対応する記録領域から付加情報を再生する。付加情報記録媒体7は、記録媒体6の一部の記録領域を使用することでも実現できる。
【0029】
また、番組等の一連の記録ごとの時間あるいは容量の情報を利用できる場合には、この時間あるいは容量を利用して付加情報記録媒体7を実現することもできる。すなわち、付加情報記録媒体7に時間あるいは容量で識別される一連の記録ごとの領域を設けて、ここに一連の記録の付加情報を記録する。また、この一連の記録が記録媒体の記録/再生の最小単位である記録領域(セクタ等)を使用する場合には、使用する記録領域の情報(セクタ番号等)も同時に記録する。それにより複数の記録領域を使用して記録を行った場合でも、付加情報を複数の記録領域で共通とすることができ、消去可能な記録領域を選択する時になされる検索処理を容易、且つ迅速とできる。
【0030】
さらに、別の方法として、記録媒体6に映像音声信号を記録する際に、記録媒体の分割された記録領域ごとに、付加情報を映像音声信号と複合的に符号化して記録するようにしても良い。例えばディジタル信号として映像音声信号を記録する時には、記録データのフォーマット中のID信号、サブデータ等として付加情報を記録することができる。
【0031】
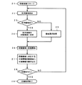
上述したこの発明の一実施例および他の実施例は、記録時に記録領域を選択し、選択された記録領域に新たに映像音声信号を記録する処理を行う。この処理は、コントローラ8においてなされる。図4および図5のフローチャートは、この処理を示す。
【0032】
図4に示すように、記録処理が開始され(ステップ21)、最初に記録媒体6の空き領域が検出される(ステップ22)。空き領域とは、未使用の領域と操作入力により記録内容が削除、消去された領域であり、記録は、空き領域を優先的に使用するようになされる。記録媒体6の空き領域には、それを区別できるデータ例えば消去データ、あるいはID、フラグ等を記録しておき、記録処理の度に、記録媒体6を装着する度に、または電源投入の度にこれらのデータに基づいて記録媒体6上の全ての空き領域を検出する。そして、検出結果が半導体メモリ等に格納され、記録終了後に使用した領域が空き領域から既記録領域に変わったことに対応してデータを書き替える。他の方法としては、記録媒体6の使用状況を記録した管理領域(ディレクトリ領域、ヘッダ領域等)を設け、記録、消去を行った時に、その旨をこの領域に記録するようにしても良い。
【0033】
空き領域の有無がステップ23で決定される。空き領域があるならば、空き領域を記録領域に設定する(ステップ24)。若し、空き領域がないならば、既記録領域の中で消去可能な領域を記録領域として選択する領域選択処理(ステップ25)がなされる。領域選択処理については、図5を参照して後述する。そして、記録領域(空き領域または選択された既記録領域)に対して新たな映像音声信号の記録が開始される(ステップ26)。
【0034】
映像音声信号の記録と共に、時計が示す現在時刻を参照し、付加情報記録媒体7の記録領域に対応する付加情報記録領域に付加情報(時刻情報および内容情報)を書き込む(ステップ27)。そして、ステップ28では、記録信号が残っているかどうかが決定される。記録信号があれば、ステップ22の空き領域の検出処理に処理が戻り、上述したような処理が繰り返される。記録信号の記録が終了すれば、記録処理が終了する(ステップ29)。
【0035】
図5のフローチャートを参照して領域選択処理25についてより詳細に説明する。記録媒体6にN個の既記録領域が存在し、記録順序に従って、1番目の既記録領域から順に、N番目の既記録領域まで記録領域として選択可能かどうかが調べられる。この領域選択処理25は、図4のフローチャートを参照して説明したように、記録処理毎になされる。
【0036】
領域選択処理が開始され(ステップ31)、ステップ32において、n=1およびNの値の初期設定がなされる。一例として、既記録領域Nの値は、記録媒体6の記録領域の総数から空き領域の数を減算した値として求められる。参照情報部9の時計により現在時刻が参照される(ステップ33)。n番目の領域の時刻情報および内容情報が取得される(ステップ34)。(現在時刻情報−取得された時刻情報)により経過時間が演算される(ステップ35)。
【0037】
参照情報部9に対して取得された内容情報を与えることによって、この内容情報に対応する保存期間情報がコントローラ8に読み込まれる(ステップ36)。ステップ35において演算された経過時間と保存期間とが比較される。例えば(経過時間−保存期間)の演算がなされる。この差を消去可能期間と称すると、(消去可能期間≧0)の場合が消去可能と決定できる。他の方法として、時刻情報が示す記録時刻に対して経過時刻を加算し、消去可能時刻を演算し、消去可能時刻と現在時刻を比較し、消去可能時刻が過去であれば、消去可能と決定することもできる。ステップ37は、このようにn番目の既記録領域が消去可能か否かを決定する。
【0038】
消去可能ならば、候補領域と経過時間の比較がなされる(ステップ38)。ここでは、消去可能な既記録領域の中で最も経過時間の長いものを最終的に記録領域として選択する。経過時間の比較は、逐次的になされ、比較された既記録領域の中で、経過時間が最長のものが候補領域とされる。最初に調べられる(n=1)の既記録領域が消去可能な場合では、当然ながらこの既記録領域が候補領域となる(ステップ39)。
【0039】
なお、経過時間の代えて、上述した消去可能期間、または消去可能となる時刻(消去可能時刻)について比較を行い、消去可能期間の長い方、または消去可能時刻が前の方の既記録領域を候補領域としても良い。
【0040】
ステップ37において消去可能でないと決定される場合、またはステップ38において候補領域より経過時間が長くないと決定される場合では、ステップ40において、(n=N?)が決定される。(n=N)の場合では、全ての既記録領域が調べられたことを意味するので、候補領域を記録領域として決定し(ステップ41)、領域選択処理が終了する(ステップ42)。(n≠N)であれば、ステップ43において、nの値がインクリメントされ、処理がステップ34((n+1)番目の記録領域の時刻情報および内容情報を取得)に移り、次の(n+1)番目の領域について、上述したのと同様の処理がなされる。
【0041】
上述の処理では、既記録領域から消去可能領域を選択する際に、参照情報が読出され、利用されている。しかしながら、映像音声信号を記録する際に参照情報を読出し、消去可能時刻を演算することによって、消去可能領域リストを作成し、このリストを参照して領域選択処理を行うようにしても良い。すなわち、空き領域、または上述の領域選択処理で決定された既記録領域に対して映像音声信号を記録する場合には、この映像音声信号と付随して記録される付加情報をリストにのせるようになされる。
【0042】
図6Aは、消去可能領域リストの一例を示す。このリストは、映像音声信号が記録された記録領域番号(番組のような一連の記録単位、トラック番号、セクタ番号等)i、j、k、・・・と、その付加情報(内容情報および時刻情報)を順位に従って掲載する例である。付加情報と参照情報とから、消去可能時刻によって、記録領域の順位付けがなされる。新たに記録される映像音声信号は、その付加情報から演算された消去可能時刻によって定まる順位の位置にリストに追加される。このようにリストの更新がなされる。記録時に領域選択処理を行う時には、このリストが参照され、第1番目の順位の既記録領域が記録領域として選択される。
【0043】
図6Bは、消去可能領域リストの他の例を示す。消去可能時刻が早い順で既記録領域の番号が並べられる。図6Bの例では、番号iの既記録領域の消去可能時刻Tiが最も早く到来し、次に、番号jの既記録領域の消去可能時刻Tjが到来する例である。記録時に領域選択処理を行う時には、このリストが参照され、第1番目の順位の既記録領域が記録領域として選択される。記録処理が終了した時点において、このリストが更新される。
【0044】
さらに、リストとして、記録領域番号のみを順位付けたものでも良い。この場合では、リストを更新する時に、付加情報記録媒体7に記録されている付加情報を再生し、参照情報から消去可能時刻を演算する必要がある。よりさらに、この消去可能領域のみならず、全ての既記録領域について、順位付けられたリストを作成し、各既記録領域に対して消去の可否を示すフラグを立てるようにしても良い。
【0045】
上述したようなリストを作成することによって、領域選択処理を簡単化、迅速化することが可能となる。このリストは、記録媒体6の交換時に、記録媒体6上に書込むようにし、次に、この記録媒体6を使用する時に、コントローラ8に読み込むようにしても良い。また、記録媒体6の交換時に、記録媒体6の全ての既記録領域に対して、領域選択処理を行い、それによりリストを作成することもできる。
【0046】
【発明の効果】
以上説明したように、この発明は、空き領域が無い場合には、既記録領域の中で消去可能な領域を適切に選択することができ、記録媒体を有効に利用することができる。また、この発明は、既記録領域の中で消去可能な領域を選択する時に、既記録の情報の記録時刻および内容と、参照情報とにより、内容に応じて消去可能かどうかを決定している。従って、単に記録の新旧のみに基づいて消去可能な領域を選択するのと異なり、内容に応じて適切に消去可能領域を選択することができる。
【図面の簡単な説明】
【図1】この発明の一実施例のブロック図である。
【図2】この発明の他の実施例のブロック図である。
【図3】この発明において使用される参照情報の一例を示す略線図である。
【図4】この発明の説明に用いるフローチャートである。
【図5】図4の一部の説明に用いるフローチャートである。
【図6】消去可能リストの一例および他の例を示す略線図である。
【符号の説明】
6・・・映像音声信号が記録される記録媒体、7・・・付加情報が記録される記録媒体、8・・・記録再生処理を制御するコントローラ、9・・・・参照情報部

Claims (16)

  1. 記録媒体の任意の領域を選択して記録再生するようにした情報信号記録再生装置において、
    上記記録媒体に記録されている情報信号は、メインの信号と上記メインの信号と対応付けられた付加情報からなり、上記付加情報は、上記メインの信号の記録時刻を示す時刻情報と上記メインの信号の内容を示す内容情報とからなり、
    上記内容情報ごとの保存期間を設定する設定手段と、
    上記内容情報ごとの保存期間情報を保持する参照情報保持手段と、
    空き領域の有無を検出し、上記空き領域が存在する場合には、上記空き領域に対して信号を記録し、
    上記空き領域が存在しない場合では、既記録領域の上記付加情報中の上記時刻情報と現在時刻情報からその既記録領域の経過時間を算出し、
    上記経過時間と上記付加情報中の内容情報に対応する、保存期間情報とから、その既記録領域が消去可能かどうかを決定し、消去可能と決定された既記録領域に対して信号を記録する処理を行う制御手段とからなり、
    上記付加情報の種類に応じて付加情報を記録する記録媒体を選択することを特徴とする情報信号記録再生装置。
  2. 請求項1の情報信号記録再生装置において、
    上記付加情報を外部から入力する手段を有し、メイン信号の記録時に上記付加情報を入力して記録することを特徴とする情報信号記録再生装置。
  3. 請求項1の情報信号記録再生装置において、
    上記付加情報は、記録されるメインの信号と付随して入力されることを特徴とする情報信号記録再生装置。
  4. 請求項1の情報信号記録再生装置において、
    上記メインの信号と上記付加情報を共通の記録媒体に記録することを特徴とする情報信号記録再生装置。
  5. 請求項1の情報信号記録再生装置において、
    上記メインの信号と上記付加情報を別個の記録媒体に記録することを特徴とする情報信号記録再生装置。
  6. 請求項1の情報信号記録再生装置において、
    上記参照情報保持手段は、外部からの入力に基づいて条件設定の選択または変更が可能とされたことを特徴とする情報信号記録再生装置。
  7. 請求項1の情報信号記録再生装置において、
    上記制御手段は、信号を記録する処理の度に、消去可能かどうかを決定する処理を行うことを特徴とする情報信号記録再生装置。
  8. 請求項1の情報信号記録再生装置において、
    上記制御手段は、記録媒体の装着時に、消去可能かどうかを決定する処理を行うことを特徴とする情報信号記録再生装置。
  9. 請求項1の情報信号記録再生装置において、
    上記制御手段は、既記録領域中で決定された消去可能な領域を、消去可能とされる時刻の先後に応じた順位で並べたリストを作成することを特徴とする情報信号記録再生装置。
  10. 請求項1の情報信号記録再生装置において、
    上記制御手段は、既記録領域中で決定された消去可能な領域を、消去可能とされる期間の長さに応じた順位で並べたリストを作成することを特徴とする情報信号記録再生装置。
  11. 請求項1の情報信号記録再生装置において、
    上記記録領域は、上記メインの信号の一連の長さを単位とすることを特徴とする情報信号記録再生装置。
  12. 請求項1の情報信号記録再生装置において、
    上記記録領域は、記録再生される最小のデータ量を単位とするものであることを特徴とする情報信号記録再生装置。
  13. 請求項1の情報信号記録再生装置において、
    上記内容情報がメイン信号のタイトル、放映日時、放送チャンネル、番組の長さ、またはジャンル情報であることを特徴とする情報信号記録再生装置。
  14. 請求項1の情報信号記録再生装置において、
    上記内容情報がメイン信号のタイトル、放映日時、放送チャンネル、番組の長さおよびジャンル情報の2以上を組み合わせた情報であることを特徴とする情報信号記録再生装置。
  15. 請求項1の情報信号記録再生装置において、
    上記参照情報保持手段が記録時刻を示す時刻情報を発生する時計を含むことを特徴とする情報信号記録再生装置。
  16. 記録媒体の任意の領域を選択して記録再生する情報信号記録再生方法において、
    上記記録媒体に記録されている情報信号は、メインの信号と上記メインの信号と対応付けられた付加情報からなり、上記付加情報は、上記メインの信号の記録時刻を示す時刻情報と上記メインの信号の内容を示す内容情報とからなり、
    上記内容情報ごとの保存期間が設定され、
    空き領域の有無を検出し、上記空き領域が存在する場合には、上記空き領域に対して信号を記録し、
    上記空き領域が存在しない場合では、既記録領域の上記付加情報中の上記時刻情報と現在時刻情報からその既記録領域の経過時間を算出し、
    上記経過時間と上記付加情報中の内容情報に対応する、保存期間情報とから、その既記録領域が消去可能かどうかを決定し、消去可能と決定された既記録領域に対して信号を記録する処理を行い、
    上記付加情報の種類に応じて付加情報を記録する記録媒体を選択することを特徴とする情報信号記録再生方法。
JP02134697A 1997-02-04 1997-02-04 情報信号記録再生装置および記録再生方法 Expired - Fee Related JP4580472B2 (ja)

Priority Applications (7)

Application Number Priority Date Filing Date Title
JP02134697A JP4580472B2 (ja) 1997-02-04 1997-02-04 情報信号記録再生装置および記録再生方法
AT98300709T ATE209390T1 (de) 1997-02-04 1998-01-30 Vorrichtung und verfahren zur aufzeichnung und wiedergabe eines informationssignals
DE69802573T DE69802573T2 (de) 1997-02-04 1998-01-30 Vorrichtung und Verfahren zur Aufzeichnung und Wiedergabe eines Informationssignals
EP98300709A EP0856847B1 (en) 1997-02-04 1998-01-30 Information signal recording and reproducing apparatus and recording and reproducing method
US09/017,244 US6031806A (en) 1997-02-04 1998-02-02 Information signal recording and reproducing apparatus and recording and reproducing method
CN98105968A CN1112694C (zh) 1997-02-04 1998-02-04 信息信号记录和重放的装置及记录和重放的方法
KR10-1998-0003004A KR100499969B1 (ko) 1997-02-04 1998-02-04 정보신호기록및재생장치와기록및재생방법

Applications Claiming Priority (1)

Application Number Priority Date Filing Date Title
JP02134697A JP4580472B2 (ja) 1997-02-04 1997-02-04 情報信号記録再生装置および記録再生方法

Publications (2)

Publication Number Publication Date
JPH10222963A JPH10222963A (ja) 1998-08-21
JP4580472B2 true JP4580472B2 (ja) 2010-11-10

Family

ID=12052542

Family Applications (1)

Application Number Title Priority Date Filing Date
JP02134697A Expired - Fee Related JP4580472B2 (ja) 1997-02-04 1997-02-04 情報信号記録再生装置および記録再生方法

Country Status (7)

Country Link
US (1) US6031806A (ja)
EP (1) EP0856847B1 (ja)
JP (1) JP4580472B2 (ja)
KR (1) KR100499969B1 (ja)
CN (1) CN1112694C (ja)
AT (1) ATE209390T1 (ja)
DE (1) DE69802573T2 (ja)

Families Citing this family (29)

* Cited by examiner, † Cited by third party
Publication number Priority date Publication date Assignee Title
US6769128B1 (en) 1995-06-07 2004-07-27 United Video Properties, Inc. Electronic television program guide schedule system and method with data feed access
BRPI9812104B1 (pt) 1997-07-21 2016-12-27 Guide E Inc método para navegar por um guia de programa interativo
TW385436B (en) 1997-12-12 2000-03-21 Toshiba Corp Digital recording system using variable recording rate
US7185355B1 (en) 1998-03-04 2007-02-27 United Video Properties, Inc. Program guide system with preference profiles
CN1867068A (zh) 1998-07-14 2006-11-22 联合视频制品公司 交互式电视节目导视系统及其方法
US6898762B2 (en) 1998-08-21 2005-05-24 United Video Properties, Inc. Client-server electronic program guide
US6151416A (en) * 1999-02-12 2000-11-21 Sony Corporation Method and apparatus for adaptive class tap selection according to multiple classification
JP2001160260A (ja) 1999-11-30 2001-06-12 Matsushita Electric Ind Co Ltd 番組記録装置、およびプログラム記録媒体
BRPI0114571B1 (pt) 2000-10-11 2016-11-08 Rovi Guides Inc sistemas e métodos para proporcionar armazenamento de dados em servidores em sistema de expedição de mídia em demanda ou por demanda
US7088910B2 (en) 2001-02-09 2006-08-08 Microsoft Corporation Optimizing use of storage space in a video data recording system
KR20130083935A (ko) 2001-02-21 2013-07-23 유나이티드 비디오 프로퍼티즈, 인크. 개인용 비디오 녹화 특징을 갖는 대화식 프로그램 가이드를 위한 시스템 및 방법
AU2013202705B2 (en) * 2001-02-21 2015-11-19 Rovi Guides, Inc. Systems and Methods for Interactive Program Guides With Personal Video Recording Features
EP1440438A1 (en) * 2001-05-18 2004-07-28 Valentin Alexandrovich Michtchenko Method for recording, distributing and reproducing information recorded on data carriers
EP1487204B1 (en) * 2002-05-22 2012-04-18 Panasonic Corporation Speculative recording device
US7493646B2 (en) 2003-01-30 2009-02-17 United Video Properties, Inc. Interactive television systems with digital video recording and adjustable reminders
JP4326236B2 (ja) * 2003-02-28 2009-09-02 ソニー株式会社 記録装置及び方法
ATE541293T1 (de) 2003-03-27 2012-01-15 Koninkl Philips Electronics Nv Playlist-synchronisation
CN100357943C (zh) * 2004-03-17 2007-12-26 联想(北京)有限公司 一种检查机群文件系统中垃圾文件的方法
US8806533B1 (en) 2004-10-08 2014-08-12 United Video Properties, Inc. System and method for using television information codes
US9015736B2 (en) 2005-12-29 2015-04-21 Rovi Guides, Inc. Systems and methods for episode tracking in an interactive media environment
WO2007103938A2 (en) 2006-03-06 2007-09-13 Veveo, Inc. Methods and systems for selecting and presenting content based on learned user preferences
US8316394B2 (en) 2006-03-24 2012-11-20 United Video Properties, Inc. Interactive media guidance application with intelligent navigation and display features
US7801888B2 (en) 2007-03-09 2010-09-21 Microsoft Corporation Media content search results ranked by popularity
JP5247370B2 (ja) 2008-11-19 2013-07-24 キヤノン株式会社 録画装置およびその制御方法
US10063934B2 (en) 2008-11-25 2018-08-28 Rovi Technologies Corporation Reducing unicast session duration with restart TV
US9166714B2 (en) 2009-09-11 2015-10-20 Veveo, Inc. Method of and system for presenting enriched video viewing analytics
WO2012094564A1 (en) 2011-01-06 2012-07-12 Veveo, Inc. Methods of and systems for content search based on environment sampling
US8805418B2 (en) 2011-12-23 2014-08-12 United Video Properties, Inc. Methods and systems for performing actions based on location-based rules
US9264656B2 (en) 2014-02-26 2016-02-16 Rovi Guides, Inc. Systems and methods for managing storage space

Family Cites Families (11)

* Cited by examiner, † Cited by third party
Publication number Priority date Publication date Assignee Title
JPS5832236A (ja) * 1981-08-18 1983-02-25 Matsushita Electric Ind Co Ltd 光学的記録再生装置
JPH052753Y2 (ja) * 1987-03-09 1993-01-22
US4947320A (en) * 1988-07-15 1990-08-07 International Business Machines Corporation Method for referential constraint enforcement in a database management system
CA2020059C (en) * 1989-06-30 1995-05-23 Shigemi Maeda Modular ceramic igniter
MY108018A (en) * 1991-05-02 1996-07-30 Thomson Consumer Electronics Inc Deletion of entries from the channel mapping list of a videocassette recorder.
JPH04337587A (ja) * 1991-05-13 1992-11-25 Fujitsu General Ltd ディスク記録再生装置の制御方法
JP3241400B2 (ja) * 1991-06-24 2001-12-25 ソニー株式会社 記録装置
EP0677848A4 (en) * 1993-10-29 1996-07-10 Toshiba Kk RECORD CARRIER AND PLAYBACK FOR SPECIAL PLAYBACK.
KR960015510A (ko) * 1994-10-27 1996-05-22 이헌조 디지탈 콤팩트 카세트의 녹음 방지 마커 기록/소거방법 및 장치
JPH09282849A (ja) * 1996-04-08 1997-10-31 Pioneer Electron Corp 情報記録媒体並びにその記録装置及び再生装置
KR19990000363A (ko) * 1997-06-05 1999-01-15 윤종용 반복 기록재생형 광디스크를 사용하는 디스크 기록재생장치에서의 정보소거 방지를 위한 제어방법

Also Published As

Publication number Publication date
JPH10222963A (ja) 1998-08-21
US6031806A (en) 2000-02-29
KR100499969B1 (ko) 2005-09-16
KR19980071044A (ko) 1998-10-26
CN1195169A (zh) 1998-10-07
DE69802573D1 (de) 2002-01-03
CN1112694C (zh) 2003-06-25
EP0856847A1 (en) 1998-08-05
DE69802573T2 (de) 2002-08-01
ATE209390T1 (de) 2001-12-15
EP0856847B1 (en) 2001-11-21

Similar Documents

Publication Publication Date Title
JP4580472B2 (ja) 情報信号記録再生装置および記録再生方法
US6999674B1 (en) Recording/reproduction apparatus and method as well as recording medium
US7889973B2 (en) Method and apparatus for partial file delete
US20060056800A1 (en) Data recording apparatus
US20060156355A1 (en) Reproduction apparatus, program, integrated circuit
KR20000050607A (ko) 기록 디지털 데이터 스트림의 탐색정보 기록방법 및 이를 이용한 탐색방법
JP2001223978A (ja) データ復号記録装置
JP2006352722A (ja) 情報記録装置、情報再生装置
KR20060043257A (ko) 기록 재생 장치
JP4738238B2 (ja) 記録再生装置
US8406612B2 (en) Broadcast recording apparatus and broadcast recording method
US20080145017A1 (en) Audio visual data recording/reproducing device
JP2004303368A (ja) 記録再生装置、記録再生装置の制御方法、記録再生装置制御プログラム、および記録再生装置制御プログラムを記録した記録媒体
JP4195059B2 (ja) 情報記録装置及び情報記録用プログラム
JP3253594B2 (ja) 情報記録方法
JP2001275079A (ja) 番組信号記録装置及び番組信号記録再生装置
JP2001266459A (ja) 蓄積媒体の再生装置および方法
JP2007288686A (ja) 放送記録装置及び放送記録方法
US20040028379A1 (en) Recording/reproducing apparatus
JP4005716B2 (ja) デジタル放送番組記録再生装置
JPH10222964A (ja) 情報信号記録再生装置および記録再生方法
JPH10228751A (ja) 情報信号記録再生装置および記録再生方法並びに記録媒体
KR100690128B1 (ko) 기록매체상에서 영상신호 기록공간을 확보하는 방법 및장치
KR100690127B1 (ko) 기록매체상에서 영상신호 기록공간을 확보하는 방법 및장치
JP2007312041A (ja) 記録再生装置及び記録再生方法

Legal Events

Date Code Title Description
A977 Report on retrieval

Free format text: JAPANESE INTERMEDIATE CODE: A971007

Effective date: 20061220

A131 Notification of reasons for refusal

Free format text: JAPANESE INTERMEDIATE CODE: A131

Effective date: 20070109

A521 Request for written amendment filed

Free format text: JAPANESE INTERMEDIATE CODE: A523

Effective date: 20070312

A02 Decision of refusal

Free format text: JAPANESE INTERMEDIATE CODE: A02

Effective date: 20070710

A521 Request for written amendment filed

Free format text: JAPANESE INTERMEDIATE CODE: A523

Effective date: 20070910

A911 Transfer to examiner for re-examination before appeal (zenchi)

Free format text: JAPANESE INTERMEDIATE CODE: A911

Effective date: 20070925

A912 Re-examination (zenchi) completed and case transferred to appeal board

Free format text: JAPANESE INTERMEDIATE CODE: A912

Effective date: 20071019

A521 Request for written amendment filed

Free format text: JAPANESE INTERMEDIATE CODE: A523

Effective date: 20100427

A01 Written decision to grant a patent or to grant a registration (utility model)

Free format text: JAPANESE INTERMEDIATE CODE: A01

R155 Notification before disposition of declining of application

Free format text: JAPANESE INTERMEDIATE CODE: R155

A61 First payment of annual fees (during grant procedure)

Free format text: JAPANESE INTERMEDIATE CODE: A61

Effective date: 20100830

FPAY Renewal fee payment (event date is renewal date of database)

Free format text: PAYMENT UNTIL: 20130903

Year of fee payment: 3

FPAY Renewal fee payment (event date is renewal date of database)

Free format text: PAYMENT UNTIL: 20130903

Year of fee payment: 3

LAPS Cancellation because of no payment of annual fees