JP4570880B2 - 画像形成装置 - Google Patents

画像形成装置 Download PDF

Info

Publication number
JP4570880B2
JP4570880B2 JP2004004547A JP2004004547A JP4570880B2 JP 4570880 B2 JP4570880 B2 JP 4570880B2 JP 2004004547 A JP2004004547 A JP 2004004547A JP 2004004547 A JP2004004547 A JP 2004004547A JP 4570880 B2 JP4570880 B2 JP 4570880B2
Authority
JP
Japan
Prior art keywords
setting
print
information
printer
network
Prior art date
Legal status (The legal status is an assumption and is not a legal conclusion. Google has not performed a legal analysis and makes no representation as to the accuracy of the status listed.)
Expired - Fee Related
Application number
JP2004004547A
Other languages
English (en)
Other versions
JP2005196068A (ja
Inventor
日出夫 須藤
Original Assignee
株式会社沖データ
Priority date (The priority date is an assumption and is not a legal conclusion. Google has not performed a legal analysis and makes no representation as to the accuracy of the date listed.)
Filing date
Publication date
Application filed by 株式会社沖データ filed Critical 株式会社沖データ
Priority to JP2004004547A priority Critical patent/JP4570880B2/ja
Priority to US11/028,937 priority patent/US20050151988A1/en
Publication of JP2005196068A publication Critical patent/JP2005196068A/ja
Application granted granted Critical
Publication of JP4570880B2 publication Critical patent/JP4570880B2/ja
Anticipated expiration legal-status Critical
Expired - Fee Related legal-status Critical Current

Links

Images

Classifications

    • GPHYSICS
    • G06COMPUTING OR CALCULATING; COUNTING
    • G06FELECTRIC DIGITAL DATA PROCESSING
    • G06F3/00Input arrangements for transferring data to be processed into a form capable of being handled by the computer; Output arrangements for transferring data from processing unit to output unit, e.g. interface arrangements
    • G06F3/12Digital output to print unit, e.g. line printer, chain printer
    • G06F3/1201Dedicated interfaces to print systems
    • G06F3/1223Dedicated interfaces to print systems specifically adapted to use a particular technique
    • G06F3/1237Print job management
    • GPHYSICS
    • G06COMPUTING OR CALCULATING; COUNTING
    • G06FELECTRIC DIGITAL DATA PROCESSING
    • G06F3/00Input arrangements for transferring data to be processed into a form capable of being handled by the computer; Output arrangements for transferring data from processing unit to output unit, e.g. interface arrangements
    • G06F3/12Digital output to print unit, e.g. line printer, chain printer
    • G06F3/1201Dedicated interfaces to print systems
    • G06F3/1202Dedicated interfaces to print systems specifically adapted to achieve a particular effect
    • G06F3/1203Improving or facilitating administration, e.g. print management
    • G06F3/1204Improving or facilitating administration, e.g. print management resulting in reduced user or operator actions, e.g. presetting, automatic actions, using hardware token storing data
    • GPHYSICS
    • G06COMPUTING OR CALCULATING; COUNTING
    • G06FELECTRIC DIGITAL DATA PROCESSING
    • G06F3/00Input arrangements for transferring data to be processed into a form capable of being handled by the computer; Output arrangements for transferring data from processing unit to output unit, e.g. interface arrangements
    • G06F3/12Digital output to print unit, e.g. line printer, chain printer
    • G06F3/1201Dedicated interfaces to print systems
    • G06F3/1278Dedicated interfaces to print systems specifically adapted to adopt a particular infrastructure
    • G06F3/1285Remote printer device, e.g. being remote from client or server

Landscapes

  • Engineering & Computer Science (AREA)
  • Theoretical Computer Science (AREA)
  • Human Computer Interaction (AREA)
  • Physics & Mathematics (AREA)
  • General Engineering & Computer Science (AREA)
  • General Physics & Mathematics (AREA)
  • Accessory Devices And Overall Control Thereof (AREA)
  • Control Or Security For Electrophotography (AREA)
  • Computer And Data Communications (AREA)
  • Facsimiles In General (AREA)
  • Record Information Processing For Printing (AREA)

Description

本発明は、ネットワーク関連の設定値一覧を印刷出力する画像形成装置に関するものである。
近年プリンタ等の画像形成装置は、LAN(ローカルエリアネットワーク)等のネットワークに接続され、複数のPC(パーソナルコンピュータ)等によって共同使用される場合が多い。このようなネットワーク環境に於いてネットワーク関連の設定値を変更する場合等、ネットワーク管理者は、設定値の印刷出力を画像形成装置に求める場合が多い。ここで設定値とは、プリンタ単体又はネットワーク中に於けるプリンタの諸性能を表す数値又は情報である。
従来の画像形成装置では、画像形成装置の操作板、或いは、ネットワークを介してネットワーク関連の設定値を出力要求されると、ネットワークインタフェースカード等に設定されている設定値の全てが、一覧表として印刷出力される。従って、必要のない設定項目の設定値まで印刷出力される。その結果、ネットワーク管理者が、必要としている情報を検出するのに余分な時間と注意力とを必要としていた。
この問題を解決するために、ネットワーク管理者が、設定値を変更する操作を簡素化する技術等も公開されている(例えば特許文献1参照)。しかし、この技術に於いても、必ずしも必要とされない項目が、表示部に表示されていた。
特開2002−323946号公報
解決しようとする問題点は、ネットワーク管理者が、画像形成装置のネットワークに関する設定値の出力要求をすると、全ての設定項目についての設定値が印刷出力されるため、必要としている情報を検出するのに余分な時間と注意力とを必要としていた点である。
本発明は、以上の点を解決するために、次の構成を採用する。
<構成1>
本発明の画像形成装置は、複数の設定項目を有する画像形成装置であって、複数の設定項目及び各設定項目の設定内容を記憶する設定項目記憶部と、設定項目記憶部が記憶する複数の設定項目の中で、設定内容が変更され、かつ少なくとも1つ以上のカテゴリに属する設定項目を示す情報を格納する変更点情報格納部と、変更された設定項目の出力要求を受け入れると、変更点情報格納部から変更された各設定項目と、該各設定項目が属する少なくとも1つ以上のカテゴリとを取得し、かつ設定項目記憶部から変更された各設定項目に対応する各設定内容を取得し、取得した当該各カテゴリとともに各カテゴリに属する変更された各設定項目と、該各設定項目に対応する各設定内容とを出力させる出力制御部とを備えることを特徴とする。
必要としている設定項目の設定値のみが印刷出力されたり、或いは、必要としている設定項目の設定値のみが特定の表示方法によって表示された設定値一覧表が印刷出力されるので、必要としている情報を検出するための時間と注意力とを節約することが出来るという効果を得る。更に、必要としている設定項目の設定値のみ印刷出力される場合には、消耗品の浪費を回避出来るという効果をも得る。
画像形成装置全体を制御するCPU(中央演算処理装置)が所定のプログラムによって動作する制御手段を用いて印刷制御部を構成することによって、部品点数を増加させることなく実現することが出来た。
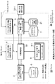
図1は、実施例1における構成のブロック図である。
図に示すように、実施例1のプリンタは、プリンタ本体の操作パネルなどから入力される設定値の印刷要求を受け入れるプリンタ設定情報印刷受託手段(1)1と、プリンタ12が接続されているネットワーク10を介して設定値の印刷要求を受け入れるプリンタ設定情報印刷受託手段(2)2と、プリンタ設定情報印刷受託手段(1)1又は、プリンタ設定情報印刷受託手段(2)2から受け入れた設定値の印刷要求の内容を解読し、印刷処理を制御する印刷制御部3と、印刷制御部3の制御に基づいて、プリンタに関する設定値の印刷形態を作成するプリンタ設定情報印刷フォーマット手段4と、プリンタ本体に関する設定項目毎の設定値を記憶するプリンタデータベース5とを備える。
更に、印刷制御部3の制御に基づいて、ネットワークに関する設定値の印刷形態を作成するネットワーク設定情報印刷フォーマット手段6と、ネットワーク10に関する設定項目毎の設定値を格納するネットワークデータベース7と、印刷制御部3の制御に基づいて、所定の設定値を印刷出力するプリントエンジン部8と、ネットワークデータベース7に記憶されている複数の設定項目を、例えば、関連するプロトコル毎に集約すべく、プロトコル毎に集約される設定項目など、予め定められているプロトコル情報を格納するプロトコル情報格納部9とを備える。プリントエンジン部8の内部には、印刷制御部3から印刷ジョブを受け入れる印刷ジョブ受付手段8−1を有する。
ここで、ネットワーク設定情報印刷フォーマット手段6と、ネットワークデータベース7と、プロトコル情報格納部9とは、プリンタ12をネットワーク10へ接続するために用いられるネットワークインタフェースカード11等の中に配置される。
通常、印刷制御部3は、プリンタ12全体を制御するCPUが所定のプログラムによって、その役割を果たしている。更に、上記、プリンタ設定情報印刷受託手段(1)1と、プリンタ設定情報印刷受託手段(2)2と、プリンタ設定情報印刷フォーマット手段4と、ネットワーク設定情報印刷フォーマット手段6と、印刷ジョブ受付手段8−1とは、所定のプログラムによって動作する、印刷制御部3の制御手段によって構成される。又、所定のプログラムは、プリンタ全体を制御するプログラムが格納されている、図示しない、ROM又はRAMの一部の領域に格納されている。
次に実施例1におけるプリンタの動作について説明する。
動作説明に先立って、設定値印刷出力の内容について説明する。
図2は、実施例1における設定値印刷出力の一例である。
図は、プロトコル毎に関係する設定項目の設定値を印刷出力した図の一例であり、(a)は、TCP/IPに関する設定項目の設定値を印刷出力した例を表し、(b)は、EtherTalkに関する設定項目の設定値を印刷出力した例を表し、(c)は、NetBEUIに関する設定項目の設定値を印刷出力した例を表している。それぞれの印刷には共通項目としてSystem Informationが印刷されている。これは、どのプリンタによって印刷されたものであるかを明確にするためである。尚、従来の技術に於いて印刷出力される設定値一覧表は、(a)(b)(c)が、全て一緒になって出力されていた。
図3は、実施例1におけるプリンタ全体動作フローチャートである。
この図は、印刷制御部3(図1)が、プリンタ設定情報印刷受託手段(1)1(図1)、又は、プリンタ設定情報印刷受託手段(2)2(図1)を介して設定値の印刷出力要求を受け入れてプリントエンジン部8(図1)にプリンタ設定情報の印刷形式を送付するまでの動作を表している。ステップS1−1からステップS1−9までステップ順に説明する。
ステップS1−1
プリンタ設定情報印刷受託手段(1)1(図1)、又は、プリンタ設定情報印刷受託手段(2)2(図1)に設定値の印刷出力要求が入力される。この印刷出力要求には、従来通りの一覧表で印刷を行うのか、プロトコル毎の印刷を行うかの情報と、プロトコル毎の印刷を行う場合には、どのプロトコルを指定するかの情報が含まれている。これらの情報は、例えばネットワーク管理者が、印刷出力要求時に、所定の選択項目を選択することによって入力される。又、同時に、印刷出力要求であることを特定するための識別情報が、印刷出力要求に付加される。
ステップS1−2
印刷制御部3(図1)は、プリンタ設定情報印刷受託手段(1)1(図1)、又は、プリンタ設定情報印刷受託手段(2)2(図1)を介して設定値の印刷出力要求を受け入れる。ここで、印刷制御部3(図1)は、印刷出力要求であることを特定するための識別情報に基づいて、受け入れた信号が設定値の印刷出力要求であることを認識する。
ステップS1−3
印刷制御部3(図1)は、プリンタ設定情報印刷フォーマット手段4(図1)へプリンタ設定情報の作成を依頼する。
ステップS1−4
印刷制御部3(図1)の制御に基づいて、プリンタ設定情報印刷フォーマット手段4(図1)は、プリンタデータベース5(図1)から設定項目とその設定値を取得し、順番に並べてプリンタに関する設定値の印刷形式を作成し、出来上がった設定値の印刷形式を印刷制御部3(図1)へ渡す。
ステップS1−5
印刷制御部3(図1)は、プリンタ設定情報印刷フォーマット手段4(図1)から受け入れたプリンタに関する設定値の印刷形式を、印刷ジョブ受付手段8−1を介してプリントエンジン部8(図1)へ送出する。更に、印刷制御部3(図1)は、プリンタに関する設定値の印刷形式を送出する前に、印刷ジョブ受付手段8−1(図1)に対して他のジョブの受付禁止命令を送出する。この理由は、プリンタに関する設定値の印刷出力要求と、後に続くネットワークに関する設定値の印刷出力要求との間に他の要求(設定値の印刷出力要求以外)が入ると混乱するからである。
ステップS1−6
印刷制御部3(図1)は、印刷出力要求にネットワークに関する設定情報の出力要求が含まれているかどうかについて判断し、含まれている場合にはステップS1−7へ進み、含まれていない場合には、フローを終了する。
ステップS1−7
印刷制御部3(図1)は、ネットワーク設定情報印刷フォーマット手段6(図1)にネットワークに関する設定値の印刷形式を作成するように要求する。
ステップS1−8
印刷制御部3(図1)の制御に基づいて、ネットワーク設定情報印刷フォーマット手段6(図1)は、所定の方法に基づいてネットワークに関する設定情報の印刷形式を作成し、出来上がった設定値の印刷形式を印刷制御部3(図1)へ渡す。ここで所定の方法については、他のフローチャートを用いて後に詳細に説明する。ここで所定の方法とは、プロトコル毎に集約された設定項目の設定値を印刷出力する方法である。
ステップS1−9
印刷制御部3(図1)は、ネットワーク設定情報の印刷フォーマット手段6(図1)から受け入れたネットワークに関する設定値の印刷形式を、印刷ジョブ受付手段8−1を介してプリントエンジン部8(図1)へ送出してフローを終了する。更に、印刷制御部3(図1)は、ネットワークに関する設定値の印刷形式を送出する前に、印刷ジョブ受付手段8−1(図1)に対して他のジョブの受付禁止解除命令を送出する。
次に、上記ステップS1−8に於ける所定の方法について説明する。
図4は、実施例1のネットワーク設定情報印刷フォーマット手段の動作フローチャートである。
この図は、上記ステップS1−8に於ける処理方法を詳細に説明するフローチャートである。ステップS1−10からステップS1−15までステップ順に説明する。
ステップS1−10
印刷制御部3(図1)は、受け入れた印刷出力要求が、従来通りの設定項目一覧の印刷出力を求めているのか、プロトコル毎の印刷出力を求めているのかを判断し、プロトコル毎の印刷出力を求めている場合にはステップS1−11へ進み、従来通りの設定項目一覧の印刷出力を求めている場合には、ステップS1−15へ進む。これらの情報は、上記ステップS1−1に於いて、例えばネットワーク管理者が印刷出力要求時に、所定の選択項目を選択することによって入力されている。
ステップS1−11
印刷制御部3(図1)の制御に基づいて、ネットワーク設定情報印刷フォーマット手段6(図1)は、全てのプロトコルに関して共通に印刷出力するSystem Information(一例)をキーとしてプロトコル情報格納部9(図1)から、System Informationに集約される設定項目を取得し、この設定項目の設定値をネットワークデータベース7(図1)から取得する。
ステップS1−12
印刷制御部3(図1)の制御に基づいて、ネットワーク設定情報印刷フォーマット手段6(図1)は、取得した設定項目と設定値を用いて、図2を用いて説明した、共通項目としてSystem Informationの印刷形式を作成する。
ステップS1−13
印刷制御部3(図1)の制御に基づいて、ネットワーク設定情報印刷フォーマット手段6(図1)は、上記ステップS1−1でネットワーク管理者が、印刷出力要求時に、どのプロトコルを選択しているかを検出する。ここでは例えば、EtherTalkを選択しているものとする。ネットワーク設定情報の印刷フォーマット手段6は、このEtherTalkをキーとしてプロトコル情報格納部9(図1)から、EtherTalkに集約される設定項目を取得し、この設定項目の設定値をネットワークデータベース7(図1)から取得する。
ステップS1−14
印刷制御部3(図1)の制御に基づいて、ネットワーク設定情報印刷フォーマット手段6(図1)は、取得した設定項目の設定値を上記共通項目の下部へ加えてEtherTalkに関する印刷形式を作成してフローを終了する。
ステップS1−15
印刷制御部3(図1)の制御に基づいて、ネットワーク設定情報印刷フォーマット手段6(図1)は、ネットワーク関連の設定値を全て羅列した従来通りの印刷形式を作成してフローを終了する。
尚、ここで、上記ステップS1−11及びステップS1−13に於ける情報検索方法に付いて説明する。
図5は、実施例1に於ける情報検索方法の説明図である。
(a)は、プロトコル情報格納部9(図1)に格納されている部分であり、(b)は、ネットワークデータベース7(図1)に格納されている部分である。
(a)に示すように、プロトコル情報格納部9(図1)には、カテゴリ(プロトコルを含む)と、それに集約される設定項目との関連が格納されている。又(b)に示すようにネットワークデータベース7(図1)には、設定項目と、その設定値が格納されている。
従って、ネットワーク設定情報印刷フォーマット手段6(図1)が、選定されたカテゴリ(プロトコルを含む)に基づいてプロトコル情報格納部9(図1)を検索して設定項目を検出し、この検出された設定項目に基づいてネットワークデータベース7(図1)を検索して設定値を検出する。このようにして検出されたカテゴリと設定項目と設定値が図2のように配置され、印刷出力されることになる。
以上説明したように、本実施例では、必要としている設定項目の設定値のみが印刷出力されるので、必要としている情報を検出するための時間と注意力とを節約することが出来るという効果を得る。更に、消耗品の浪費を回避出来るという効果をも得る。
以上の説明では、プリンタ設定情報印刷受託手段(1)1(図1)、プリンタ設定情報印刷受託手段(2)2(図1)、プリンタ設定情報印刷フォーマット手段4(図1)、及び、ネットワーク設定情報印刷フォーマット手段6(図1)の全てを印刷制御部3(図1)の制御手段によって構成するものとして説明したが、本発明は、この例に限定されるものではない。即ち、上記プリンタ設定情報印刷受託手段(1)1(図1)、プリンタ設定情報印刷受託手段(2)2(図1)、プリンタ設定情報印刷フォーマット手段4(図1)、及び、ネットワーク設定情報印刷フォーマット手段6(図1)の全て、又は一部を専用の電子回路で構成しても良い。
図6は、実施例2における構成のブロック図である。
図中実施例1と同様の構成要素には実施例1と同一の符号を付す。
図に示すように、実施例2のプリンタは、プリンタ本体の操作パネルなどから入力される設定値の印刷要求を受け入れるプリンタ設定情報印刷受託手段(1)1と、プリンタ12が接続されているネットワーク10を介して設定値の印刷要求を受け入れるプリンタ設定情報印刷受託手段(2)2と、プリンタ設定情報印刷受託手段(1)1又は、プリンタ設定情報印刷受託手段(2)2から受け入れた設定値の印刷要求の内容を解読し、印刷処理を制御する印刷制御部22と、印刷制御部22の制御に基づいて、プリンタに関する設定値の印刷形態を作成するプリンタ設定情報印刷フォーマット手段4と、プリンタ本体に関する設定項目毎の設定値を記憶するプリンタデータベース5とを備える。
更に、印刷制御部22の制御に基づいて、ネットワークに関する設定値の印刷形態を作成するネットワーク設定情報印刷フォーマット手段6と、ネットワーク10に関する設定項目毎の設定値を格納するネットワークデータベース7と、印刷制御部22の制御に基づいて、所定の設定値を印刷出力するプリントエンジン部8と、ネットワークデータベース7に記憶されている複数の設定項目を、関連するプロトコル毎に集約すべく、例えばプロトコル毎に集約される設定項目など、予め定められているプロトコル情報、及び、その設定値変更の有無を表す変更点フラグ情報を格納する変更点情報格納部21とを備える。プリントエンジン部8の内部には、印刷制御部22から印刷ジョブを受け入れる印刷ジョブ受付手段8−1を有する。
ここで、ネットワーク設定情報印刷フォーマット手段6と、ネットワークデータベース7と、変更点情報格納部21とは、プリンタ23をネットワーク10へ接続するために用いられるネットワークインタフェースカード24等の中に配置される。
通常、印刷制御部22は、プリンタ23全体を制御するCPUが所定のプログラムに基づいて、その役割を果たしている。更に、上記、プリンタ設定情報印刷受託手段(1)1と、プリンタ設定情報印刷受託手段(2)2と、プリンタ設定情報印刷フォーマット手段4と、ネットワーク設定情報印刷フォーマット手段6と、印刷ジョブ受付手段8−1とは、所定のプログラムによって動作する、印刷制御部22の制御手段によって構成される。又、所定のプログラムは、プリンタ全体を制御するプログラムが格納されている、図示しない、ROM又はRAMの一部の領域に格納されている。
次に実施例2におけるプリンタの動作について説明する。
動作説明に先立って、設定値印刷出力の内容について説明する。 図7は、実施例2における設定値印刷出力の一例である。
図は、変更された設定値を印刷出力した図の一例であり、(a)は、変更された設定値と、その設定項目と、設定項目が集約されるプロトコルとを印刷出力した例を表し、(b)は、(a)の内容に共通項目としてSystem Informationを印刷出力した例を表している。これは、どのプリンタによって印刷されたものであるかを明確にするためである。
図8は、実施例2におけるプリンタ全体動作フローチャートである。
この図は、印刷制御部22(図6)が、プリンタ設定情報印刷受託手段(1)1(図6)、又は、プリンタ設定情報印刷受託手段(2)2(図6)を介して設定値の印刷出力要求を受け入れてプリントエンジン部8(図6)にプリンタ設定情報の印刷形式を送付するまでの動作を表している。ステップS2−1からステップS2−9までステップ順に説明する。
ステップS2−1
プリンタ設定情報印刷受託手段(1)1(図6)、又は、プリンタ設定情報印刷受託手段(2)2(図6)に設定値の印刷出力要求が入力される。この印刷出力要求には、従来通りの一覧表の印刷を行うのか、変更点のみの設定値を印刷を行うのかの情報が含まれている。これらの情報は、例えばネットワーク管理者が、印刷出力要求時に、所定の選択項目を選択することによって入力される。又、同時に、印刷出力要求であることを特定するための識別情報が、印刷出力要求に付加される。
ステップS2−2
印刷制御部22(図6)は、プリンタ設定情報印刷受託手段(1)1(図6)、又は、プリンタ設定情報印刷受託手段(2)2(図6)を介して設定値の印刷出力要求を受け入れる。ここで、印刷制御部22(図6)は、印刷出力要求であることを特定するための識別情報に基づいて、受け入れた信号が設定値の印刷出力要求であることを認識する。
ステップS2−3
印刷制御部22(図6)は、プリンタ設定情報の印刷フォーマット手段4(図6)へプリンタ設定情報の作成を依頼する。 ステップS2−4
印刷制御部22(図6)の制御に基づいて、プリンタ設定情報印刷フォーマット手段4(図6)は、プリンタデータベース5(図6)から設定項目とその設定値を取得し、順番に並べてプリンタに関する設定値の印刷形式を作成し、出来上がった設定値の印刷形式を印刷制御部22(図6)へ渡す。
ステップS2−5
印刷制御部22(図6)は、プリンタ設定情報印刷フォーマット手段4(図6)から受け入れたプリンタに関する設定値の印刷形式を、印刷ジョブ受付手段8−1を介してプリントエンジン部8(図6)へ送出する。更に、印刷制御部22(図6)は、プリンタに関する設定値の印刷形式を送出する前に、印刷ジョブ受付手段8−1(図6)に対して他のジョブの受付禁止命令を送出する。この理由は、プリンタに関する設定値の印刷出力要求と、後に続くネットワークに関する設定値の印刷出力要求との間に他の要求(設定値の印刷出力要求以外)が入ると混乱するからである。
ステップS2−6
印刷制御部22(図6)は、印刷出力要求にネットワークに関する設定情報の出力要求が含まれているかどうかについて判断し、含まれている場合にはステップS2−7へ進み、含まれていない場合には、フローを終了する。
ステップS2−7
印刷制御部22(図6)は、ネットワーク設定情報印刷フォーマット手段6(図6)にネットワークに関する設定値の印刷形式を作成するように要求する。
ステップS2−8
印刷制御部22(図6)の制御に基づいて、ネットワーク設定情報印刷フォーマット手段6(図6)は、所定の方法に基づいてネットワークに関する設定情報の印刷形式を作成し、出来上がった設定値の印刷形式を印刷制御部22(図6)へ渡す。ここで所定の方法については、他のフローチャートを用いて後に詳細に説明する。ここで所定の方法とは、変更点のみの設定値について印刷する方法である。
ステップS2−9
印刷制御部22(図6)は、ネットワーク設定情報印刷フォーマット手段6(図6)から受け入れたネットワークに関する設定値の印刷形式を、印刷ジョブ受付手段8−1を介してプリントエンジン部8(図6)へ送出してフローを終了する。更に、印刷制御部22(図1)は、ネットワークに関する設定値の印刷形式を送出する前に、印刷ジョブ受付手段8−1(図6)に対して他のジョブの受付禁止解除命令を送出する。
次に、上記ステップS2−8に於ける所定の方法について説明する。
図9は、実施例2のネットワーク設定情報印刷フォーマット手段の動作フローチャートである。
この図は、上記ステップS2−8に於ける処理方法を詳細に説明するフローチャートである。ステップS2−10からステップS2−16までステップ順に説明する。
ステップS2−10
印刷制御部22(図6)は、受け入れた印刷出力要求が、従来通りの設定項目一覧の印刷出力を求めているのか、変更点のみの印刷出力を求めているのかを判断し、変更点のみの印刷出力を求めている場合にはステップS2−11へ進み、従来通りの設定項目一覧の印刷出力を求めている場合には、ステップS2−16へ進む。これらの情報は、上記ステップS2−1に於いて、例えばネットワーク管理者が印刷出力要求時に、所定の選択項目を選択することによって入力されている。
ステップS2−11
印刷制御部22(図6)の制御に基づいて、ネットワーク設定情報印刷フォーマット手段6(図6)は、全てのプロトコルに関して共通に印刷出力するSystem Information(一例)をキーとしてプロトコル情報格納部9(図6)から、System Informationに集約される設定項目を取得し、この設定項目の設定値をネットワークデータベース7(図6)から取得する。
ステップS2−12
印刷制御部22(図6)の制御に基づいて、ネットワーク設定情報印刷フォーマット手段6(図6)は、取得した設定項目と設定値を用いて、図7を用いて説明した、共通項目としてSystem Informationの印刷形式を作成する。
ステップS2−13
印刷制御部22(図6)の制御に基づいて、ネットワーク設定情報印刷フォーマット手段6(図6)は、変更点情報格納部21(図6)に格納されている変更点フラグ情報を検索し、設定値が変更されている設定項目の有無を判断し、変更されている設定項目が有ればステップS2−14へ進み、無ければフローを終了する。
ステップS2−14
印刷制御部22(図6)の制御に基づいて、ネットワーク設定情報印刷フォーマット手段6(図6)は、設定値が変更されている設定項目と、それに関連しているカテゴリ(プロトコルを含む)を検索し、検出した設定項目をキーとしてネットワークデータベース7(図6)から、この設定項目の設定値(変更されている)を取得する。
ステップS2−15
印刷制御部22(図6)の制御に基づいて、ネットワーク設定情報印刷フォーマット手段6(図6)は、取得した設定項目の設定値を上記共通項目の下部へ加えた後、再度ステップS2−13へ戻って変更点を検索し、ステップS2−14、ステップS2−15、ステップS2−13からなるループを繰り返す。変更されている設定項目の設定値を全て取得した後ループから抜け出してフローを終了する。
ステップS2−16
印刷制御部22(図6)の制御に基づいて、ネットワーク設定情報印刷フォーマット手段6(図6)は、ネットワーク関連の設定値を全て羅列した従来通りの印刷形式を作成してフローを終了する。
尚、ここで、上記ステップS2−11及びステップS2−14に於ける情報検索方法に付いて説明する。
図10は、実施例2に於ける情報検索方法の説明図(その1)である。
この図は、印刷制御部22(図6)の制御に基づいて、ネットワーク設定情報印刷フォーマット手段6(図6)が、変更点情報格納部21(図6)に格納されている変更点フラグを用いて設定値が変更されている設定項目を検索する方法を説明する図である。
図に示す通り、ネットワーク設定情報印刷フォーマット手段6(図6)が変更点フラグを図の上から順番に調べていくと、上から7番目のフラグが立っている(1に成っている)。この7番目のフラグが、設定項目Type Nameに対応し、設定項目Type Nameは、Ether Talkに集約されている。更に、ネットワーク設定情報印刷フォーマット手段6(図6)が変更点フラグを図の上から順番に調べていくと、上から10番目のフラグが立っている(1に成っている)。この10番目のフラグが、設定項目Workgroup Nameに対応し、設定項目Workgroup Nameは、NetBEUIに集約されている。このようにして、印刷制御部3(図1)の制御に基づいて、ネットワーク設定情報印刷フォーマット手段6(図6)は、変更されている設定項目を変更点情報格納部21(図6)から検出することが出来る。
図11は、実施例2に於ける情報検索方法の説明図(その2)である。
この図は、印刷制御部22(図6)の制御に基づいて、ネットワーク設定情報印刷フォーマット手段6(図6)が、変更点情報格納部21(図6)から検出した変更されている設定項目に基づいて変更されている設定値を取得する方法を説明する図である。
上記図11で求めた変更されている設定項目Type Name(図左側の列)の設定値はLaserPrinter(図右側の列)として取得される。同様にして、変更されている設定項目Workgroup Name(図左側の列)の設定値はPrintServer(図右側の列)として取得される。
従って、ネットワーク設定情報印刷フォーマット手段6(図6)が、変更点情報格納部21(図6)に格納されている変更点フラグを用いて設定値が変更されている設定項目を検索し、その検索結果に基づいてネットワークデータベース7(図6)を検索して変更された設定値を検出する。このようにして検出されたカテゴリと設定項目と変更された設定値が図7のように配置されて印刷出力されることになる。
以上説明したように、本実施例では、変更された設定項目の設定値のみが印刷出力されるので、必要としている情報を検出するための時間と注意力とを節約することが出来るという効果を得る。更に、消耗品の浪費を回避出来るという効果をも得る。
以上の説明では、プリンタ設定情報印刷受託手段(1)1(図1)、プリンタ設定情報印刷受託手段(2)2(図6)、プリンタ設定情報印刷フォーマット手段4(図6)、及び、ネットワーク設定情報印刷フォーマット手段6(図6)の全てを印刷制御部22(図6)の制御手段によって構成するものとして説明したが、本発明は、この例に限定されるものではない。即ち、上記プリンタ設定情報印刷受託手段(1)1(図6)、プリンタ設定情報印刷受託手段(2)2(図6)、プリンタ設定情報印刷フォーマット手段4(図6)、及び、ネットワーク設定情報印刷フォーマット手段6(図6)の全て、又は一部を専用の電子回路で構成しても良い。
更に、上記説明では、変更点情報格納部21(図6)には、変更点フラグ情報が格納されているが、本発明は、この例に限定されるものではない。即ち、変更点フラグ情報に限らず、設定値を変更した事実を保存出来る情報であれば、どのような情報であっても良い。
図12は、実施例3における構成のブロック図である。
図中実施例2と同様の構成要素には実施例2と同一の符号を付す。
図に示すように、実施例3のプリンタ33は、プリンタ本体の操作パネルなどから入力される設定値の印刷要求を受け入れるプリンタ設定情報印刷受託手段(1)1と、プリンタ12が接続されているネットワーク10を介して設定値の印刷要求を受け入れるプリンタ設定情報印刷受託手段(2)2と、プリンタ設定情報印刷受託手段(1)1又は、プリンタ設定情報印刷受託手段(2)2から受け入れた設定値の印刷出力要求の内容を解読し、印刷処理を制御する印刷制御部32と、印刷制御部32の制御に基づいて、プリンタに関する設定値の印刷形態を作成するプリンタ設定情報印刷フォーマット手段4と、プリンタ本体に関する設定項目毎の設定値を記憶するプリンタデータベース5とを備える。
更に、印刷制御部32の制御に基づいて、ネットワークに関する設定値の印刷形態を作成するネットワーク設定情報印刷フォーマット手段31と、ネットワーク10に関する設定項目毎の設定値を格納するネットワークデータベース7と、印刷制御部32の制御に基づいて、所定の設定値を印刷出力するプリントエンジン部8と、ネットワークデータベース7に記憶されている複数の設定項目を、関連するプロトコル毎に集約すべく、プロトコル毎に集約される設定項目など、予め定められているプロトコル情報と、その設定値変更の有無を表す変更点フラグ情報を格納する変更点情報格納部21とを備える。又、ネットワーク設定情報印刷フォーマット手段31は、その内部に所定の条件に基づいて、設定値の印刷出力に於いて表現形式を変更する表現形式変更手段31−1を有し、プリントエンジン部8は、その内部には、印刷制御部32から印刷ジョブを受け入れる印刷ジョブ受付手段8−1を有する。
ここで、ネットワーク設定情報印刷フォーマット手段31と、ネットワークデータベース7と、変更点情報格納部21とは、プリンタ33をネットワーク10へ接続するために用いられるネットワークインタフェースカード34等の中に配置される。
通常、印刷制御部32は、プリンタ33全体を制御するCPUが所定のプログラムによって、その役割を果たしている。更に、上記、プリンタ設定情報印刷受託手段(1)1と、プリンタ設定情報印刷受託手段(2)2と、プリンタ設定情報印刷フォーマット手段4と、ネットワーク設定情報印刷フォーマット手段31と、印刷ジョブ受付手段8−1とは、所定のプログラムによって動作する、印刷制御部32の制御手段によって構成される。又、所定のプログラムは、プリンタ全体を制御するプログラムが格納されている、図示しない、ROM又はRAMの一部の領域に格納されている。
次に実施例3におけるプリンタの動作について説明する。
動作説明に先立って、設定値印刷出力の内容について説明する。
図13は、実施例3における設定値印刷出力の一例である。
図は、設定値一覧表の中で変更されている設定項目の設定値のみを、他の項目を印刷している色彩とは、異なる色彩で表した例である。ここで点線枠内は、他の色彩で印刷されているものとする。(b)は、設定値一覧表の中で変更されている設定項目の設定値のみを、太字で表した例である。
図14は、実施例3におけるプリンタ全体動作フローチャートである。
この図は、印刷制御部32(図12)が、プリンタ設定情報印刷受託手段(1)1(図12)、又は、プリンタ設定情報印刷受託手段(2)2(図12)を介して設定値の印刷出力要求を受け入れてプリントエンジン部8(図12)にプリンタ設定情報の印刷形式を送付するまでの動作を表している。ステップS3−1からステップS3−9までステップ順に説明する。
ステップS3−1
プリンタ設定情報印刷受託手段(1)1(図12)、又は、プリンタ設定情報印刷受託手段(2)2(図12)に設定値の印刷出力要求が入力される。この印刷出力要求には、従来通りの一覧表の印刷を行うのか、該一覧表中で、変更点のみの設定値を表現形式を変更して印刷を行うのかの情報が含まれている。これらの情報は、例えばネットワーク管理者が、印刷出力要求時に、所定の選択項目を選択することによって入力される。又、同時に、印刷出力要求であることを特定するための識別情報が、印刷出力要求に付加される。
ステップS3−2
印刷制御部32(図12)は、プリンタ設定情報印刷受託手段(1)1(図12)、又は、プリンタ設定情報印刷受託手段(2)2(図12)を介して設定値の印刷出力要求を受け入れる。ここで、印刷制御部32(図12)は、印刷出力要求であることを特定するための識別情報に基づいて、受け入れた信号が設定値の印刷出力要求であることを認識する。
ステップS3−3
印刷制御部32(図12)は、プリンタ設定情報の印刷フォーマット手段4(図12)へプリンタ設定情報の作成を依頼する。
ステップS3−4
印刷制御部32(図12)の制御に基づいて、プリンタ設定情報印刷フォーマット手段4(図12)は、プリンタデータベース5(図12)から設定項目とその設定値を取得し、順番に並べてプリンタに関する設定値の印刷形式を作成し、出来上がった設定値の印刷形式を印刷制御部32(図12)へ渡す。
ステップS3−5
印刷制御部32(図12)は、プリンタ設定情報印刷フォーマット手段4(図12)から受け入れたプリンタに関する設定値の印刷形式を、印刷ジョブ受付手段8−1(図12)を介してプリントエンジン部8(図12)へ送出する。更に、印刷制御部32(図12)は、プリンタに関する設定値の印刷形式を送出する前に、印刷ジョブ受付手段8−1(図6)に対して他のジョブの受付禁止命令を送出する。この理由は、プリンタに関する設定値の印刷出力要求と、後に続くネットワークに関する設定値の印刷出力要求との間に他の要求(設定値の印刷出力要求以外)が入ると混乱するからである。
ステップS3−6 印刷制御部32(図12)は、印刷出力要求にネットワークに関する設定情報の出力要求が含まれているかどうかについて判断し、含まれている場合にはステップS3−7へ進み、含まれていない場合には、フローを終了する。
ステップS3−7
印刷制御部32(図12)は、ネットワーク設定情報印刷フォーマット手段31(図12)にネットワークに関する設定値の印刷形式を作成するように要求する。
ステップS3−8
印刷制御部32(図12)の制御に基づいて、ネットワーク設定情報印刷フォーマット手段31(図12)は、所定の方法に基づいてネットワークに関する設定情報の印刷形式を作成し、出来上がった設定値の印刷形式を印刷制御部32(図12)へ渡す。所定の方法については、他のフローチャートを用いて後に詳細に説明する。ここで所定の方法とは、一覧表中に於いて変更点のみの表現形式を変更して印刷を行う方法である。
ステップS3−9 印刷制御部32(図12)は、ネットワーク設定情報印刷フォーマット手段31(図12)から受け入れたネットワークに関する設定値の印刷形式を、印刷ジョブ受付手段8−1(図12)を介してプリントエンジン部8(図12)へ送出してフローを終了する。更に、印刷制御部32(図12)は、ネットワークに関する設定値の印刷形式を送出する前に、印刷ジョブ受付手段8−1(図12)に対して他のジョブの受付禁止解除命令を送出する。
次に、上記ステップS3−8に於ける所定の方法について説明する。 図15は、実施例3のネットワーク設定情報印刷フォーマット手段の動作フローチャートである。
この図は、上記ステップS3−8に於ける処理方法を詳細に説明するフローチャートである。ステップS3−10からステップS3−16までステップ順に説明する。
ステップS3−10
印刷制御部32(図12)の制御に基づいて、ネットワーク設定情報印刷フォーマット手段31(図12)は、変更点情報格納部21(図12)に格納されている順番に従ってカテゴリ(プロトコルを含む)を取得し、印刷形式を作成してステップS3−11へ進む。全てのカテゴリについて印刷形式の作成が終了すればフローを終了する。
ステップS3−11
印刷制御部32(図12)の制御に基づいて、ネットワーク設定情報印刷フォーマット手段31(図12))は、ステップS3−10で取得したカテゴリ(プロトコルを含む)に関する設定項目を取得し、ステップS3−12へ進む。全設定項目の印刷形式の作成が終了すれば、ステップS3−16へ進む。
ステップS3−12
印刷制御部32(図12)の制御に基づいて、ネットワーク設定情報印刷フォーマット手段31(図12))は、取得した設定項目にフラグが立っていれば(1になっている)ステップS3−13へ進み、取得した設定項目にフラグが立っていなければ(0になっている)ステップS−14へ跳ぶ。
ステップS3−13
印刷制御部32(図12)の制御に基づいて、ネットワーク設定情報印刷フォーマット手段31(図12))は、表示形式変更手段31−1(図12)によって表現形式を変換する。
ステップS3−14
印刷制御部32(図12)の制御に基づいて、ネットワーク設定情報印刷フォーマット手段31(図12))は、印刷形式を作成する。
ステップS3−15
印刷制御部32(図12)の制御に基づいて、ネットワーク設定情報印刷フォーマット手段31(図12))は、次の設定項目を検索してステップS3−11へ戻る。
ステップS3−16 印刷制御部32(図12)の制御に基づいて、ネットワーク設定情報印刷フォーマット手段31(図12))は、次のカテゴリを検索してステップS3−10へ戻る。
尚、ここで、上記ステップS3−10からステップS3−16に至る情報検索方法に付いて説明する。
図16は、実施例3に於ける情報検索方法の説明図(その1)である。
図17は、実施例3に於ける情報検索方法の説明図(その2)である。
この図は、印刷制御部32(図12)の制御に基づいて、ネットワーク設定情報印刷フォーマット手段31(図12)が、変更点情報格納部21(図12)に格納されている変更点フラグが立っている設定項目のみ、他の表現形式で表現した設定値一覧表の印刷形式を作成する方法を説明する図である。
図に示す通り、ネットワーク設定情報印刷フォーマット手段31(図12)が変更点情報格納部21(図12)に格納されているカテゴリを図16の上から順番に取得する。次に、そのカテゴリに含まれている設定項目を図16の上から順番に取得し、図17に基づいて、その設定項目における設定値をネットワークデータベース7(図12)から取得して印刷形式を作成する。このとき、その設定項目にフラグが立っている場合(図16のTypeNameとWorkgroupNameが該当する)には、表示形式変更手段31−1(図12)によって表現形式を変更して作成する。このようにして全てのカテゴリ、全ての設定項目について印刷形式が作成される。その結果、図13に表したように、設定値が変更されている設定項目の設定値のみを、他の項目を印刷している表現形式とは、異なる表現形式で表した設定値一覧表が印刷出力されることになる。
以上説明したように、本実施例では、変更された設定項目の設定値のみが他の項目を印刷している表現形式とは、異なる表現形式で表した設定値一覧表が印刷出力されるので、必要としている情報を検出するための時間と注意力とを節約することが出来るという効果を得る。
以上の説明では、プリンタ設定情報印刷受託手段(1)1(図12)、プリンタ設定情報印刷受託手段(2)2(図12)、プリンタ設定情報印刷フォーマット手段31(図12)、ネットワーク設定情報印刷フォーマット手段31(図12)、及び、表現形式変更手段31−1(図12)の全てを印刷制御部32(図12)の制御手段によって構成するものとして説明したが、本発明は、この例に限定されるものではない。即ち、上記プリンタ設定情報印刷受託手段(1)1(図12)、プリンタ設定情報印刷受託手段(2)2(図12)、プリンタ設定情報印刷フォーマット手段31(図12)、ネットワーク設定情報印刷フォーマット手段31(図12)、及び、表現形式変更手段31−1(図12)の全て、又は一部を専用の電子回路で構成しても良い。
更に、上記説明では、変更点情報格納部21(図6)には、変更点フラグ情報が格納されているが、本発明は、この例に限定されるものではない。即ち、変更点フラグ情報に限らず、設定値を変更した事実を保存出来る情報であれば、どのような情報であっても良い。又、上記説明では、異なる表現形式として色彩と字体のみについて説明したが、本発明は、この例に限定されるものではない。即ち、特定の符号を付加する等の表現形式であっても良い。
既に、実施例1で説明した図2の設定項目では、TCP/IPInformatonとNetBEUIInformationのカテゴリに於いて、IPAddress、SubnetMask、DefaultGatewayの3つの設定項目は、重複している。従って、上記実施例2では、TCP/IPInformatonカテゴリのTCP/IPAddressを変更しただけでは、NetBEUIInformationカテゴリのTCP/IPAddressは、変更点として印刷出力されない事になる。
又、EtherTalk(Informaton)カテゴリのPrinterNameとNetBEUIInformationカテゴリのComputerNameは、設定項目名は、異なっているか、設定値としては、共通である。この場合において、上記実施例2では、一方を変更しただけでは、他方は変更点として印刷出力されないことになる。本実施例では、このような不都合点を解決することを課題とする。
図18は、実施例4における構成のブロック図である。
図中実施例2と同様の構成要素には実施例2と同一の符号を付す。
図に示すように、実施例4のプリンタは、プリンタ本体の操作パネルなどから入力される設定値の印刷要求を受け入れるプリンタ設定情報印刷受託手段(1)1と、プリンタ12が接続されているネットワーク10を介して設定値の印刷要求を受け入れるプリンタ設定情報印刷受託手段(2)2と、プリンタ設定情報印刷受託手段(1)1又は、プリンタ設定情報印刷受託手段(2)2から受け入れた設定値の印刷要求の内容を解読し、印刷処理を制御する印刷制御部42と、印刷制御部42の制御に基づいて、プリンタに関する設定値の印刷形態を作成するプリンタ設定情報印刷フォーマット手段4と、プリンタ本体に関する設定項目毎の設定値を記憶するプリンタデータベース5とを備える。
更に、印刷制御部42の制御に基づいて、ネットワークに関する設定値の印刷形態を作成するネットワーク設定情報印刷フォーマット手段6と、ネットワーク10に関する設定項目毎の設定値を格納するネットワークデータベース7と、印刷制御部42の制御に基づいて、所定の設定値を印刷出力するプリントエンジン部8と、ネットワークデータベース7に記憶されている複数の設定項目を、関連するプロトコル毎に集約すべく、プロトコル毎に集約される設定項目など、予め定められているプロトコル情報、及び、その設定値変更の有無を表す変更点フラグ情報を格納する変更点情報格納部41とを備える。このプロトコル情報には、一つの設定項目が複数のカテゴリに集約される情報、及び設定項目の名前は異なるが設定値は同一となる情報も含まれている。プリントエンジン部8の内部には、印刷制御部42から印刷ジョブを受け入れる印刷ジョブ受付手段8−1を有する。
ここで、ネットワーク設定情報印刷フォーマット手段6と、ネットワークデータベース7と、変更点情報格納部41とは、プリンタ43をネットワーク10へ接続するために用いられるネットワークインタフェースカード44等の中に配置される。
通常、印刷制御部42は、プリンタ43全体を制御するCPUが所定のプログラムに基づいて、その役割を果たしている。更に、上記、プリンタ設定情報印刷受託手段(1)1と、プリンタ設定情報印刷受託手段(2)2と、プリンタ設定情報印刷フォーマット手段4と、ネットワーク設定情報印刷フォーマット手段6と、印刷ジョブ受付手段8−1とは、所定のプログラムによって動作する、印刷制御部42の制御手段によって構成される。又、所定のプログラムは、プリンタ全体を制御するプログラムが格納されている、図示しない、ROM又はRAMの一部の領域に格納されている。
次に実施例4におけるプリンタの動作について説明する。
動作説明に先立って、設定値印刷出力の内容について説明する。
図19は、実施例4における設定値印刷出力の一例である。
図は、変更された設定値を印刷出力した図の一例であり、(a)は、変更された設定値と、その設定項目と、設定項目が集約されるプロトコルとを印刷出力した例を表し、(b)は、(a)の内容に共通項目としてSystem Informationを印刷出力した例を表している。これは、どのプリンタによって印刷されたものであるかを明確にするためである。
図20は、実施例4におけるプリンタ全体動作フローチャートである。
この図は、印刷制御部42(図18)が、プリンタ設定情報印刷受託手段(1)1(図6)、又は、プリンタ設定情報印刷受託手段(2)2(図18)を介して設定値の印刷出力要求を受け入れてプリントエンジン部8(図18)にプリンタ設定情報の印刷形式を送付するまでの動作を表している。ステップS3−1からステップS3−9までステップ順に説明する。
ステップS4−1
プリンタ設定情報印刷受託手段(1)1(図18)、又は、プリンタ設定情報印刷受託手段(2)2(図18)に設定値の印刷出力要求が入力される。この印刷出力要求には、従来通りの一覧表の印刷を行うのか、変更点のみの設定値を印刷を行うのかの情報が含まれている。これらの情報は、例えばネットワーク管理者が、印刷出力要求時に、所定の選択項目を選択することによって入力される。又、同時に、印刷出力要求であることを特定するための識別情報が、印刷出力要求に付加される。
ステップS4−2
印刷制御部42(図18)は、プリンタ設定情報印刷受託手段(1)1(図18)、又は、プリンタ設定情報印刷受託手段(2)2(図18)を介して設定値の印刷出力要求を受け入れる。ここで、印刷制御部42(図18)は、印刷出力要求であることを特定するための識別情報に基づいて、受け入れた信号が設定値の印刷出力要求であることを認識する。
ステップS4−3
印刷制御部42(図18)は、プリンタ設定情報の印刷フォーマット手段4(図18)へプリンタ設定情報の作成を依頼する。
ステップS4−4
印刷制御部42(図18)の制御に基づいて、プリンタ設定情報印刷フォーマット手段4(図18)は、プリンタデータベース5(図18)から設定項目とその設定値を取得し、順番に並べてプリンタに関する設定値の印刷形式を作成し、出来上がった設定値の印刷形式を印刷制御部42(図18)へ渡す。
ステップS4−5
印刷制御部42(図18)は、プリンタ設定情報印刷フォーマット手段4(図18)から受け入れたプリンタに関する設定値の印刷形式を、印刷ジョブ受付手段8−1(図18)を介してプリントエンジン部8(図18)へ送出する。更に、印刷制御部42(図18)は、プリンタに関する設定値の印刷形式を送出する前に、印刷ジョブ受付手段8−1(図18)に対して他のジョブの受付禁止命令を送出する。この理由は、プリンタに関する設定値の印刷出力要求と、後に続くネットワークに関する設定値の印刷出力要求との間に他の要求(設定値の印刷出力要求以外)が入ると混乱するからである。
ステップS4−6
印刷制御部42(図18)は、印刷出力要求にネットワークに関する設定情報の出力要求が含まれているかどうかについて判断し、含まれている場合にはステップS4−7へ進み、含まれていない場合には、フローを終了する。
ステップS4−7
印刷制御部42(図18)は、ネットワーク設定情報印刷フォーマット手段6(図18)にネットワークに関する設定値の印刷形式を作成するように要求する。
ステップS4−8
印刷制御部42(図18)の制御に基づいて、ネットワーク設定情報印刷フォーマット手段6(図18)は、所定の方法に基づいてネットワークに関する設定情報の印刷形式を作成し、出来上がった設定値の印刷形式を印刷制御部42(図18)へ渡す。ここで所定の方法については、他のフローチャートを用いて後に詳細に説明する。ここで所定の方法とは、変更点のみの設定値の印刷方法であり、且つ、設定値が複数の設定項目に共通する場合、及び、設定項目の名前は異なるが設定値は同一の場合に於ける印刷方法である。
ステップS4−9
印刷制御部42(図18)は、ネットワーク設定情報印刷フォーマット手段6(図18)から受け入れたネットワークに関する設定値の印刷形式を、印刷ジョブ受付手段8−1(図18)を介してプリントエンジン部8(図18)へ送出してフローを終了する。更に、印刷制御部42(図18)は、ネットワークに関する設定値の印刷形式を送出する前に、印刷ジョブ受付手段8−1(図18)に対して他のジョブの受付禁止解除命令を送出する。
次に、上記ステップS4−8に於ける所定の方法について説明する。
図21は、実施例4のネットワーク設定情報印刷フォーマット手段の動作フローチャートである。
この図は、上記ステップS4−8に於ける処理方法を詳細に説明するフローチャートである。ステップS4−10からステップS4−18までステップ順に説明する。
ステップS4−10
印刷制御部42(図18)は、受け入れた印刷出力要求が、従来通りの設定項目一覧の印刷出力を求めているのか、変更点のみの印刷出力を求めているのかを判断し、変更点のみの印刷出力を求めている場合にはステップS4−11へ進み、従来通りの設定項目一覧の印刷出力を求めている場合には、ステップS4−18へ進む。これらの情報は、上記ステップS4−1に於いて、例えばネットワーク管理者が印刷出力要求時に、所定の選択項目を選択することによって入力されている。
ステップS4−11
印刷制御部42(図18)の制御に基づいて、ネットワーク設定情報印刷フォーマット手段6(図18)は、全てのプロトコルに関して共通に印刷出力するSystem Information(一例)をキーとしてプロトコル情報格納部9(図18)から、System Informationに集約される設定項目を取得し、この設定項目の設定値をネットワークデータベース7(図18)から取得する。
ステップS4−12
印刷制御部42(図18)の制御に基づいて、ネットワーク設定情報印刷フォーマット手段6(図18)は、取得した設定項目と設定値を用いて、図19を用いて説明した、共通項目としてSystem Informationの印刷形式を作成する。
ステップS4−13
印刷制御部42(図18)の制御に基づいて、ネットワーク設定情報印刷フォーマット手段6(図18)は、変更点情報格納部41(図18)に格納されている変更点フラグ情報を検索し、設定値が変更されている設定項目の有無を判断し、変更されている設定項目が有ればステップS4−14へ進み、無ければフローを終了する。
ステップS4−14
印刷制御部42(図18)の制御に基づいて、ネットワーク設定情報印刷フォーマット手段6(図18)は、設定値が変更されている設定項目と、それに関連しているカテゴリ(プロトコルを含む)を検索し、検出した設定項目をキーとしてネットワークデータベース7(図18)から、この設定項目の設定値(変更されている)を取得する。
ステップS4−15
印刷制御部42(図18)の制御に基づいて、ネットワーク設定情報印刷フォーマット手段6(図18)は、設定値が変更されている設定項目と、それに関連しているカテゴリ(プロトコルを含む)が他にもあるかどうかを検索し、もし有ればステップS4−16へ進み、もし無ければステップS4−17へ進む。
ステップS4−16
印刷制御部42(図18)の制御に基づいて、ネットワーク設定情報印刷フォーマット手段6(図18)は、設定値が変更されている設定項目と、それに関連している他のカテゴリ(プロトコルを含む)を検索し、検出した設定項目をキーとしてネットワークデータベース7(図18)から、この設定項目の設定値(変更されている)を取得し、更に、関連しているカテゴリ(プロトコルを含む)が他にもあるかどうかを検索するためにステップS4−15へ戻る。
ステップS4−17
印刷制御部42(図18)の制御に基づいて、ネットワーク設定情報印刷フォーマット手段6(図18)は、取得した設定項目の設定値を上記共通項目の下部へ加えた後、再度ステップS4−13へ戻って変更点を検索し、ステップS4−14、からステップS4−17までのループを繰り返す。変更されている設定項目の設定値を全て取得した後ループから抜け出してフローを終了する。
ステップS4−18
印刷制御部42(図6)の制御に基づいて、ネットワーク設定情報印刷フォーマット手段6(図18)は、ネットワーク関連の設定値を全て羅列した従来通りの印刷形式を作成してフローを終了する。
尚、ここで、上記ステップS4−11及びステップS4−14に於ける情報検索方法に付いて説明する。
図22は、実施例4に於ける情報検索方法の説明図(その1)である。
この図は、印刷制御部42(図18)の制御に基づいて、ネットワーク設定情報の印刷フォーマット手段6(図18)が、変更点情報格納部41(図18)に格納されている変更点フラグを用いて設定値が変更されている設定項目を検索する方法を説明する図である。
既に説明した実施例2に於ける図10では、一つの設定項目が複数のカテゴリに集約されることは無かったが、図22では、一つの設定項目が複数のカテゴリに集約される。例えば図中のIPアドレス、SubnetMasc、DefaultGatewayである。又、図10では、複数の設定項目が一つの変更点フラグを共有することは無かったが、図22では複数の設定項目が一つの変更点フラグを共有している。例えば図中PrinterNaneとComputerNameである。
図に示す通り、ネットワーク設定情報印刷フォーマット手段6(図18)が変更点フラグを図の上から順番に調べていくと、上から3番目のフラグが立っている(1に成っている)。この3番目のフラグが、設定項目IPアドレス、に対応し、設定項目IPアドレスは、TCP/IPとNetBEUIとに集約されている。従って、ネットワーク設定情報印刷フォーマット手段6(図18)は、最初にカテゴリTCP/IPに於ける設定値を検索し(ステップS4−14)、その後、NetBEUIに於ける設定値を検索して(ステップS4−16)同一の設定値を取得することになる。
同様にして、ネットワーク設定情報印刷フォーマット手段6(図18)が変更点フラグを図の上から順番に調べていくと、上から6番目のフラグが立っている(1に成っている)。この6番目のフラグが、設定項目PrinterNameと設定項目ComputerNameによって共有されている。これは、設定項目PrinterNameと設定項目ComputerNameとは、名前は異なるが設定値は同一であることを意味している。従って、ネットワーク設定情報印刷フォーマット手段6(図18)は、最初に設定項目PrinterNameを集約しているカテゴリEtherTalkに関連する設定値として取得する(ステップS4−14)。その後、設定項目ComputerNameを集約しているカテゴリNetBEUIに関連するComputerNameの設定値として同一の設定値を取得する(ステップS4−16)ことになる。
図23は、実施例4に於ける情報検索方法の説明図(その2)である。
この図は、印刷制御部42(図18)の制御に基づいて、ネットワーク設定情報の印刷フォーマット手段6(図18)が、変更点情報格納部21(図18)から検出した変更されている設定項目に基づいて変更されている設定値を取得する方法を説明する図である。
上記図22で求めたTCP/IP及びNetBEUIに集約される、変更されている設定項目IPアドレス(図左側の列)の設定値は202.250.100.254(図右側の列)として取得される。同様にして、変更されている設定項目PrinterName及び設定項目ComputerName(図左側の列)の設定値は、GoodyPrint(図右側の列)として取得される。
従って、ネットワーク設定情報印刷フォーマット手段6(図18)が、変更点情報格納部41(図18)に格納されている変更点フラグを用いて設定値が変更されている設定項目を検索し、その検索結果に基づいてネットワークデータベース7(図18)を検索して変更された設定値を検出する。このようにして検出されたカテゴリと設定項目と変更された設定値が図7のように配置されて印刷出力されることになる。
以上説明したように設定項目が、複数のカテゴリに重複して集約されている場合にも変更点のみの印刷出力要求で変更された設定値が印刷出力され、又、設定項目名は、異なっているが、設定値としては、共通である場合において、一方を変更すると、他方も表示されるという効果を得る。
以上の説明では、プリンタ設定情報印刷受託手段(1)1(図18)、プリンタ設定情報印刷受託手段(2)2(図18)、プリンタ設定情報印刷フォーマット手段4(図18)、及び、ネットワーク設定情報印刷フォーマット手段6(図18)の全てを印刷制御部42(図18)の制御手段によって構成するものとして説明したが、本発明は、この例に限定されるものではない。即ち、上記プリンタ設定情報印刷受託手段(1)1(図18)、プリンタ設定情報印刷受託手段(2)2(図18)、プリンタ設定情報印刷フォーマット手段4(図18)、ネットワーク設定情報印刷フォーマット手段6(図18)の全て、又は一部を専用の電子回路で構成しても良い。
更に、上記説明では、変更点情報格納部41(図18)には、変更点フラグ情報が格納されているが、本発明は、この例に限定されるものではない。即ち、変更点フラグ情報に限らず、設定値を変更した事実を保存出来る情報であれば、どのような情報であっても良い。又、上記説明では、異なる表現形式として色彩と字体のみについて説明したが、本発明は、この例に限定されるものではない。即ち、特定の符号を付加する等の表現形式であっても良い。
以上の説明では、本発明の適用例をプリンタに限定して説明したが、本発明は、この例に限定されるものではない。即ち、プリンタのみならず、ファクシミリ装置や複写装置等にも適用可能である。
実施例1における構成のブロック図である。 実施例1における設定値印刷出力の一例である。 実施例1におけるプリンタ全体動作フローチャートである。 実施例1のネットワーク設定情報印刷フォーマット手段の動作フローチャートである。 実施例1に於ける情報検索方法の説明図である。 実施例2における構成のブロック図である。 実施例2における設定値印刷出力の一例である。 実施例2におけるプリンタ全体動作フローチャートである。 実施例2のネットワーク設定情報印刷フォーマット手段の動作フローチャートである。 実施例2に於ける情報検索方法の説明図(その1)である。 実施例2に於ける情報検索方法の説明図(その2)である。 実施例3における構成のブロック図である。 実施例3における設定値印刷出力の一例である。 実施例3におけるプリンタ全体動作フローチャートである。 実施例3のネットワーク設定情報印刷フォーマット手段の動作フローチャートである。 実施例3に於ける情報検索方法の説明図(その1)である。 実施例3に於ける情報検索方法の説明図(その2)である。 実施例4における構成のブロック図である。 実施例4における設定値印刷出力の一例である。 実施例4におけるプリンタ全体動作フローチャートである。 実施例4のネットワーク設定情報印刷フォーマット手段の動作フローチャートである。 実施例4に於ける情報検索方法の説明図(その1)である。 実施例4に於ける情報検索方法の説明図(その2)である。
符号の説明
1 プリンタ設定情報印刷受託手段(1)
2 プリンタ設定情報印刷受託手段(2)
3 印刷制御部 4 プリンタ設定情報印刷フォーマット手段
5 プリンタデータベース 6 ネットワーク設定情報印刷フォーマット手段
7 ネットワークデータベース
8 プリントエンジン部
8−1 印刷ジョブ受付手段
9 プロトコル情報格納部
10 ネットワーク
11 ネットワークインタフェースカード
12 プリンタ

Claims (6)

  1. 複数の設定項目を有する画像形成装置であって、
    前記複数の設定項目及び各設定項目の設定内容を記憶する設定項目記憶部と、
    前記設定項目記憶部が記憶する複数の設定項目の中で、設定内容が変更され、かつ少なくとも1つ以上のカテゴリに属する設定項目を示す情報を格納する変更点情報格納部と、
    前記変更された設定項目の出力要求を受け入れると、前記変更点情報格納部から変更された各設定項目と、該各設定項目が属する少なくとも1つ以上のカテゴリとを取得し、かつ前記設定項目記憶部から変更された各設定項目に対応する各設定内容を取得し、前記取得した当該各カテゴリとともに各カテゴリに属する前記変更された各設定項目と、該各設定項目に対応する各設定内容とを出力させる出力制御部とを備えることを特徴とする画像形成装置。
  2. 請求項1に記載の画像形成装置に於いて、
    前記設定内容が変更された設定項目は、複数あり、
    前記複数の設定項目は、各々設定項目名が異なり、
    前記各設定項目の各設定内容は、共通であり、
    前記出力制御部は、前記複数の設定項目のうち、いずれか一つの設定項目の設定内容を変更すると、他の設定項目の設定内容をも変更し、該変更に基づく出力を行わせるべく制御することを特徴とする画像形成装置。
  3. 請求項1に記載の画像形成装置に於いて、
    前記出力制御部は、更に前記画像形成装置の固有情報をも出力させるべく制御することを特徴とする画像形成装置。
  4. 請求項1に記載の画像形成装置に於いて、
    前記印刷制御部は、前記印刷出力要求を、設定内容が変更された設定項目を指定する所定の選択項目に基づいて受け入れる選択項目受託手段と、
    前記選択項目に対応する設定内容が変更された設定項目に関する情報に基づいて、前記設定項目記憶部から設定項目を取得し、所定のフォーマットで出力する設定情報印刷フォーマット手段とを有することを特徴とする画像形成装置。
  5. 請求項1に記載の画像形成装置に於いて、
    変更点情報格納部は、設定内容が変更された設定項目の識別情報を格納することを特徴とする画像形成装置。
  6. 請求項1に記載の画像形成装置に於いて、
    変更点情報格納部は、前記設定項目が、複数のカテゴリに集約される複数集約情報と、前記設定項目が同一設定内容を共有する設定値共有情報とを更に格納することを特徴とする画像形成装置。
JP2004004547A 2004-01-09 2004-01-09 画像形成装置 Expired - Fee Related JP4570880B2 (ja)

Priority Applications (2)

Application Number Priority Date Filing Date Title
JP2004004547A JP4570880B2 (ja) 2004-01-09 2004-01-09 画像形成装置
US11/028,937 US20050151988A1 (en) 2004-01-09 2005-01-04 Image forming apparatus

Applications Claiming Priority (1)

Application Number Priority Date Filing Date Title
JP2004004547A JP4570880B2 (ja) 2004-01-09 2004-01-09 画像形成装置

Publications (2)

Publication Number Publication Date
JP2005196068A JP2005196068A (ja) 2005-07-21
JP4570880B2 true JP4570880B2 (ja) 2010-10-27

Family

ID=34737199

Family Applications (1)

Application Number Title Priority Date Filing Date
JP2004004547A Expired - Fee Related JP4570880B2 (ja) 2004-01-09 2004-01-09 画像形成装置

Country Status (2)

Country Link
US (1) US20050151988A1 (ja)
JP (1) JP4570880B2 (ja)

Families Citing this family (1)

* Cited by examiner, † Cited by third party
Publication number Priority date Publication date Assignee Title
JP4289328B2 (ja) * 2005-06-29 2009-07-01 ブラザー工業株式会社 情報取得プログラム及び情報取得装置

Family Cites Families (20)

* Cited by examiner, † Cited by third party
Publication number Priority date Publication date Assignee Title
JPH04111681A (ja) * 1990-08-31 1992-04-13 Fuji Photo Film Co Ltd 電子機器の調整装置
JP3347369B2 (ja) * 1992-09-07 2002-11-20 キヤノン株式会社 印刷装置及び方法
JPH07125390A (ja) * 1993-10-29 1995-05-16 Canon Inc 画像認識処理装置
JP3445878B2 (ja) * 1995-08-18 2003-09-08 株式会社リコー 画像形成装置
US6327051B1 (en) * 1995-12-22 2001-12-04 Canon Kabushiki Kaisha Printing control apparatus and method
US6614550B1 (en) * 1998-10-02 2003-09-02 Canon Kabushiki Kaisha Information processing apparatus, information processing method, and program storage medium
JP2000304599A (ja) * 1999-04-16 2000-11-02 Ishida Co Ltd プリンタ付電子秤
US6564232B1 (en) * 1999-06-30 2003-05-13 International Business Machines Corporation Method and apparatus for managing distribution of change-controlled data items in a distributed data processing system
JP2001273220A (ja) * 2000-01-18 2001-10-05 Canon Inc 情報処理装置及び方法及び記憶媒体並びにコンピュータプログラム
JP4174169B2 (ja) * 2000-05-12 2008-10-29 キヤノン株式会社 印刷制御装置及び印刷制御方法
JP2002077481A (ja) * 2000-08-31 2002-03-15 Ricoh Co Ltd 電気装置及びその制御方法
US7355730B2 (en) * 2001-03-21 2008-04-08 Toshiba Tec Germany Imaging Systems Gmbh Office machine that can be remote-maintenanced via a computer network and a management or/and support or/and report or/and information system comprising a plurality of office machines
JP2002335355A (ja) * 2001-05-09 2002-11-22 Murata Mach Ltd 通信端末装置
JP3880407B2 (ja) * 2002-01-25 2007-02-14 キヤノン株式会社 情報処理装置およびユーザインターフェースを制御する方法
JP3747887B2 (ja) * 2002-06-14 2006-02-22 ブラザー工業株式会社 設定情報送受信システム、送信機器、及びプログラム
JP3783665B2 (ja) * 2002-08-05 2006-06-07 ブラザー工業株式会社 画像形成装置及びネットワークシステム
JP2004133017A (ja) * 2002-10-08 2004-04-30 Seiko Epson Corp 画像形成装置の設定情報管理装置およびその管理方法
US7583396B2 (en) * 2002-10-28 2009-09-01 Canon Kabushiki Kaisha Printing system, printing method, and computer program
US20040090648A1 (en) * 2002-11-12 2004-05-13 Brett Green Systems and methods for controlling imaging device configuration
US8014023B2 (en) * 2003-06-18 2011-09-06 Hewlett-Packard Development Company, L.P. System and method for identifying attributes of a printed image

Also Published As

Publication number Publication date
US20050151988A1 (en) 2005-07-14
JP2005196068A (ja) 2005-07-21

Similar Documents

Publication Publication Date Title
US8427690B2 (en) Method for reading sequentially a manuscript group made of plural sheets
JP2024059674A (ja) 制御プログラム、情報処理装置
JP4570880B2 (ja) 画像形成装置
JP3948582B2 (ja) ネットワーク印刷システム
JP5063334B2 (ja) 電子機器システムおよび操作画面表示プログラム
JP2011077728A (ja) 情報処理装置及びその制御方法
JPH11221945A (ja) 印刷制御装置及びそのプログラムソフトの記憶媒体
JP2002149375A (ja) 画像処理装置および画像処理システム
JP4215251B2 (ja) 情報処理装置及び印刷装置及び印刷システム及び印刷方法
JPH11161585A (ja) 通信端末装置および記憶媒体
JP2000284928A (ja) 印刷処理システム及び印刷処理方法
JP2002244977A (ja) 画像形成装置及び方法
JP2007194786A (ja) 画像転送システムおよび画像送信装置
JPH11219353A (ja) 印刷処理装置
JPH09261377A (ja) ファクシミリ端末
JPH08234943A (ja) 帳票出力システム
JP4536956B2 (ja) 通信システムおよび通信装置
JPH0493853A (ja) 画像形成装置
CN102281375B (zh) 图像形成设备及其控制方法
JP2020157518A (ja) 画像処理装置および画像処理システム
JP2004243636A (ja) 画像形成装置および外部機器ならび画像形成システム
JPH10278389A (ja) 印刷装置及び印刷方法
JP2005051441A (ja) カラーファクシミリ装置
JP2004227309A (ja) プリンタ制御装置とプリンタ制御プログラム
JP2003288193A (ja) サーバ装置、画像形成装置、クライアント装置、画像形成システム、サーバ装置用プログラム、クライアント装置用プログラム、及び、画像形成装置の制御方法

Legal Events

Date Code Title Description
A621 Written request for application examination

Free format text: JAPANESE INTERMEDIATE CODE: A621

Effective date: 20061226

A131 Notification of reasons for refusal

Free format text: JAPANESE INTERMEDIATE CODE: A131

Effective date: 20090901

A521 Request for written amendment filed

Free format text: JAPANESE INTERMEDIATE CODE: A523

Effective date: 20091102

A131 Notification of reasons for refusal

Free format text: JAPANESE INTERMEDIATE CODE: A131

Effective date: 20100601

A521 Request for written amendment filed

Free format text: JAPANESE INTERMEDIATE CODE: A523

Effective date: 20100715

TRDD Decision of grant or rejection written
A01 Written decision to grant a patent or to grant a registration (utility model)

Free format text: JAPANESE INTERMEDIATE CODE: A01

Effective date: 20100810

A01 Written decision to grant a patent or to grant a registration (utility model)

Free format text: JAPANESE INTERMEDIATE CODE: A01

A61 First payment of annual fees (during grant procedure)

Free format text: JAPANESE INTERMEDIATE CODE: A61

Effective date: 20100811

FPAY Renewal fee payment (event date is renewal date of database)

Free format text: PAYMENT UNTIL: 20130820

Year of fee payment: 3

R150 Certificate of patent or registration of utility model

Ref document number: 4570880

Country of ref document: JP

Free format text: JAPANESE INTERMEDIATE CODE: R150

Free format text: JAPANESE INTERMEDIATE CODE: R150

LAPS Cancellation because of no payment of annual fees