JP4512461B2 - アンダーラン・プロテクタ - Google Patents

アンダーラン・プロテクタ Download PDF

Info

Publication number
JP4512461B2
JP4512461B2 JP2004277530A JP2004277530A JP4512461B2 JP 4512461 B2 JP4512461 B2 JP 4512461B2 JP 2004277530 A JP2004277530 A JP 2004277530A JP 2004277530 A JP2004277530 A JP 2004277530A JP 4512461 B2 JP4512461 B2 JP 4512461B2
Authority
JP
Japan
Prior art keywords
vehicle
support member
protector
intermediate portion
width direction
Prior art date
Legal status (The legal status is an assumption and is not a legal conclusion. Google has not performed a legal analysis and makes no representation as to the accuracy of the status listed.)
Expired - Fee Related
Application number
JP2004277530A
Other languages
English (en)
Other versions
JP2006088905A (ja
Inventor
裕 福嶋
Current Assignee (The listed assignees may be inaccurate. Google has not performed a legal analysis and makes no representation or warranty as to the accuracy of the list.)
Press Kogyo Co Ltd
Original Assignee
Press Kogyo Co Ltd
Priority date (The priority date is an assumption and is not a legal conclusion. Google has not performed a legal analysis and makes no representation as to the accuracy of the date listed.)
Filing date
Publication date
Application filed by Press Kogyo Co Ltd filed Critical Press Kogyo Co Ltd
Priority to JP2004277530A priority Critical patent/JP4512461B2/ja
Publication of JP2006088905A publication Critical patent/JP2006088905A/ja
Application granted granted Critical
Publication of JP4512461B2 publication Critical patent/JP4512461B2/ja
Anticipated expiration legal-status Critical
Expired - Fee Related legal-status Critical Current

Links

Images

Landscapes

  • Body Structure For Vehicles (AREA)

Description

本発明は、車両同士の衝突時に、一方の車両が他方の車両の下に潜り込むことを防止すべく、車両の前端部或いは後端部に配置されるアンダーラン・プロテクタに関する。
アンダーラン・プロテクタは、トラック等の重量級車両の前端部或いは後端部に配置され、乗用車等の中軽量級車両との衝突(追突、正面衝突等)時に、それら中軽量級車両が重量級車両の下に潜り込むことを防止するものである。すなわち、アンダーラン・プロテクタは、衝突時の車両潜り込み防止装置といえる(特許文献1等参照)。一般に、車両の前端部に配置されるものは、フロント・アンダーラン・プロテクタ(以下、FUPと略記)と称され、車両の後端部に配置されるものは、リヤ・アンダーラン・プロテクタ(以下、RUPと略記)と称される。
例えば図7及び図8に示すように、FUPは、車両の前端部に位置されるプロテクタ本体71と、車両の車体フレーム72に取り付けられ、プロテクタ本体71を支持するサポート部材73とを備える。プロテクタ本体71は、車幅方向に延出する断面略矩形状の筒体74を有している。サポート部材73は、車体フレーム72への取付けのための取付部75と、プロテクタ本体71への取付けのための取付部76と、これら取付部75、76間に位置し、下方に略真直に延出する中間部77とを有している。
特表2001−515432号公報
ところで、アンダーラン・プロテクタは、衝突時の荷重を支持するため、所定の耐荷重性能が必要となる。よって、図8に示すように、車両衝突時の模擬の一形態として、車両の最外側より所定距離内側の位置(サポート部材73よりも外側の位置)に、所定の荷重(FUP:車重の50%、RUP:車重の12.5%)Pを加える試験等が行われる。なお、欧州ではこの荷重条件で試験されることが知られている。
プロテクタ本体71の筒体74に荷重Pが加わると、筒体74におけるサポート部材73への取付部を支点とした回転モーメントM1が筒体74に作用し、符号78(一点鎖線)で示すように、筒体74の長手方向端部が後方側にたわむ。従って、プロテクタ本体71の筒体74には比較的大きな剛性(曲げ剛性)が必要とされる。
ここで、プロテクタ本体71の筒体74に作用する回転モーメントM1は、上記のように荷重Pが規定されることから、サポート部材73におけるプロテクタ本体71への取付部76から荷重Pの位置までの長さL1で概ね決まる(M1=P×L1)。また、サポート部材73の中間部77が車体フレーム72から下方に略真直に延出するように設けられており、プロテクタ本体71への取付部76が車体フレーム72への取付部75の略真下に位置することから、上記の長さL1はアンダーラン・プロテクタを取り付ける車両の車体フレーム幅に依存して概ね決まる。
そこで、プロテクタ本体71の筒体74の剛性を高めるために、筒体74の板厚を厚くしたり、より強度の高い材質で形成することが考えられるが、その場合、FUP全体の重量が増加したり、製造コストが上昇してしまうという問題があった。
そこで、本発明の目的は、重量及び製造コストを大きく上昇させることなく、耐荷重性能を向上させることができるアンダーラン・プロテクタを提供することにある。
上記目的を達成するために、本発明は、車両の前端部或いは後端部に位置され、車幅方向に延出するプロテクタ本体と、上記車両の車体フレームに取り付けられ、上記プロテクタ本体を支持するサポート部材とを備えたアンダーラン・プロテクタであって、上記サポート部材が、上記車体フレームに接合して取り付けられる第一取付部と、上記第一取付部よりも下方に位置する上記プロテクタ本体に接合して取り付けられる第二取付部と、これら第一取付部及び第二取付部の間に位置する中間部とを有し、上記第二取付部を上記第一取付部に対して車幅方向外側に離間させるために、上記中間部を上記第一取付部の下端部から斜め下方に延出するように車幅方向外側に屈曲させたものである。
ここで、上記第一取付部が上記車体フレームのサイドメンバに接合して取り付けられても良い。
また、上記サポート部材の少なくとも上記中間部が金属板からなっても良い。
さらに、上記サポート部材が、上記中間部の曲げ変形及びねじれ変形を抑制するための補強部を有しても良い。
本発明に係るアンダーラン・プロテクタによれば、重量及び製造コストを大きく上昇させることなく耐荷重性能を向上させることができるという優れた効果を発揮するものである。
以下、本発明の好適な一実施形態を添付図面に基づいて詳述する。
本実施形態のアンダーラン・プロテクタは、車両の前端部に配置されるFUPである。
図1は、本発明の一実施形態に係るFUPの斜視図である。図2は、図1の平面図である。
図1及び図2に示すように、トラック等の車体フレーム1は、車幅方向に所定間隔を隔てて配置された一対のサイドメンバ2と、サイドメンバ2間に掛け渡して設けられたクロスメンバ3とを有する。
FUPは、車両のバンパー(図示せず)よりも後方の位置で且つ車体フレーム1の前端部よりも前方の位置に配置されるプロテクタ本体4と、各サイドメンバ2の車幅方向外側の側面に取り付けられ、プロテクタ本体4を吊り下げるように支持するサポート部材5とを備えている。
プロテクタ本体4は、車幅方向に略真直に延出する断面略矩形状の筒体6を有している。筒体6の長手方向中央部よりも外側には、筒体6をサポート部材5に対して取り付けるための取付ブラケット7が取り付けられている。取付ブラケット7は、断面略コ字状に形成され、筒体6の後端部側から上下端面を挟み込むように取り付けられる。このように取付ブラケット7を筒体6に対して取り付けることで、筒体6におけるサポート部材5への取付部近傍の強度を高めることができる。
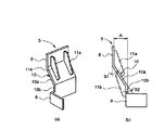
図1から図3に示すように、サポート部材5は、車両の前方或いは後方から見て、下方に向けてクランク状に屈曲されている。サポート部材5は、車体フレーム1のサイドメンバ2への取付けのための第一取付部8と、プロテクタ本体4の取付ブラケット7への取付けのための第二取付部9と、これら第一取付部8及び第二取付部9の間に位置する中間部10とを有している。本実施形態においては、一枚の金属板をプレス加工により折り曲げることにより、サポート部材5の第一取付部8、第二取付部9及び中間部10の各部を形成している。
サポート部材5の第一取付部8は、車体フレーム1のサイドメンバ2の車幅方向外側の側面にボルト・ナット、リベット或いは溶接等により接合して取り付けられる。
サポート部材5の中間部10は、第一取付部8の下端部に接続されて下方に延出されると共に、第一取付部8に対して所定の屈曲角度S1(図3(b)参照)だけ車幅方向外側に屈曲された第一中間部10aと、この第一中間部10aの下端部に接続されて下方に延出されると共に、第一中間部10aに対して所定の屈曲角度S2(図3(b)参照)だけ車幅方向内側に屈曲された第二中間部10bとから構成されている。本実施形態においては、上記の屈曲角度S1、S2は互いに等しく設定(例えば約30°)されており、第二中間部10bは第一取付部8に対して平行に設けられる。
サポート部材5の第二取付部9は、第二中間部10bの前端下部に接続されると共に、第二中間部10bに対して略90°の角度で屈曲されて、車幅方向外側に延出されている。つまり、本実施形態の第二取付部9は、第一取付部8に対して直角に設けられる。第二取付部9は、第一取付部8よりも前方及び下方に位置するプロテクタ本体4の取付ブラケット7後端面にボルト・ナット、リベット或いは溶接等により接合して取り付けられる。
サポート部材5は、中間部10の曲げ変形及びねじれ変形を抑制するための補強部を有している。本実施形態の補強部は、第一取付部8及び第一中間部10aの車幅方向外側の側面を掛け渡して設けられ、車幅方向外側に略真直に延出される第一リブ11aと、第一中間部10a及び第二中間部10bの車幅方向内側の側面を掛け渡して設けられ、車幅方向内側に略真直に延出される第二リブ11bとから構成されている。第一リブ11a及び第二リブ11bは、車両の前後方向に所定間隔を隔ててそれぞれ複数(図示例では二つずつ)取り付けられる。第一リブ11a及び第二リブ11bは金属板からなり、溶接により取り付けられる。
次に、本実施形態の作用を説明する。
本実施形態においては、サポート部材5の中間部10が、車体フレーム1への第一取付部8の下端部に接続されて下方に延出されると共に、第一取付部8に対して所定の屈曲角度S1だけ車幅方向外側に屈曲された第一中間部10aを有する。つまり、図2及び図3(b)に示すように、中間部10を車幅方向の長さ(離間長さ)Aを持つように車幅方向外側に延出させている。そして、その中間部10(第二中間部10b)の前端下部にプロテクタ本体4への第二取付部9を設けることで、第二取付部9を第一取付部8に対して車幅方向外側に離間長さAだけ離間させている。つまり、図8で示した従来のFUPと比較して、第二取付部9(図8中の符号76参照)を、第一取付部8(図8中の符号75参照)の略真下の位置から離間長さAだけ車幅方向外側の位置へとオフセットしている(ずらしている)。
このようにすることで、第二取付部9(プロテクタ本体4の支持位置であり、荷重Pが加わったときに作用する回転モーメントM2の支点となる位置)から荷重Pの位置までの長さL2を図8で示した長さL1に比べて離間長さA分だけ短くすることができる。よって、プロテクタ本体4の筒体6に荷重Pを加えたときに作用する回転モーメントM2(=P×L2)を図8で示した回転モーメントM1に比べて低減させることができる。結果として筒体6の耐荷重性能が向上するので、筒体6の板厚を厚くしたり、より強度の高い材質で形成する必要がない。従って、FUP全体の重量及び製造コストを大きく上昇させることなく、FUPの耐荷重性能を向上させることができる。また、FUPの耐荷重性能を図8で示したものと同一に維持する場合は、プロテクタ本体4の筒体6の板厚を薄くすること等により、筒体6の重量及び製造コストを削減することも可能である。
また、本実施形態のサポート部材5は、第一取付部8及び第一中間部10aの車幅方向外側の側面を掛け渡して設けられた第一リブ11aと、第一中間部10a及び第二中間部10bの車幅方向内側の側面を掛け渡して設けられた第二リブ11bとから構成される補強部を有している。サポート部材5に第一リブ11a及び第二リブ11bを設けたのは、サポート部材5の中間部10を車幅方向外側へと屈曲させた場合、上記の離間長さA分の回転モーメントが中間部10に作用する可能性があるためである。そこで、本実施形態においては、第一リブ11a及び第二リブ11bにより中間部10の曲げ変形及びねじれ変形を抑制するようにしている。
ところで、FUPを装着する車両は、車体フレーム幅が同一であっても、車重が異なる場合がある。その場合、それぞれの車種に最適に設定されたFUPを装着することが望ましいが、従来、製造コスト削減の目的から、ある一定の車種間で同一形状のFUPを共通して装着することがあった。その際、共通して装着するFUPの耐荷重性能を、最も高い耐荷重性能を必要とする車種に合わせて設定していた。そのため、車重の軽い車種によっては、必要以上に耐荷重性能が高いFUPを装着していた。このような場合、本実施形態に係るFUPを適用すれば、車種毎(車重毎)に必要とされる耐荷重性能に応じてサポート部材5を設定する(上記の離間長さAを設定する)ことにより、プロテクタ本体4を同一形状として、製造コストの低減を図りつつも、車重の違いに伴う要求性能の違いをサポート部材5で補うことが可能となる。つまり、車重が異なる車種間であっても、FUPの耐荷重性能をそれぞれの車種に対して最適に設定することができる。
また、FUPを装着する車両は、車幅が同一であっても、車体フレーム幅が異なる場合がある。従来はプロテクタ本体4におけるサポート部材5への取付位置は車体フレーム幅に依存していたため、車種毎(車体フレーム幅毎)にプロテクタ本体4におけるサポート部材5への取付位置(つまり、取付ブラケット7の位置)を設定する必要があり、車体フレーム幅が異なる車種間でFUPの共通化を図ることができなかった。このような場合、本実施形態に係るFUPを適用すれば、車体フレーム幅の異なる車種間でプロテクタ本体4(筒体6及び取付ブラケット7)を共通化し、車種毎(車体フレーム幅毎)にサポート部材5のみを設定する(上記の離間長さAを設定する)ことにより、車体フレーム幅の違いをサポート部材5で補うことが可能となる。つまり、車体フレーム幅が異なる車種間であっても、少なくともプロテクタ本体4の共通化を図ることが可能となり、製造コストを削減することができる。
本発明は以上説明した実施形態には限定はされない。
例えば、プロテクタ本体4が車両の車体フレーム1の前端部よりも後方の位置に配置されても良い。
また、プロテクタ本体4の筒体6の長手方向両端部が車両後方側に傾斜されても良い。
また、プロテクタ本体4の筒体6が断面略円形状等の他の形状に形成されても良い。
また、サポート部材5の第一取付部8、第二取付部9及び中間部10がそれぞれ別々に形成されていても良い。
さらに、サポート部材の補強部は上述の実施形態には限定はされない。
例えば、図4に示すサポート部材41のように、補強部が、第一取付部42、第一中間部43a及び第二中間部43bの車幅方向外側の側面を掛け渡すように第一取付部42、第一中間部43a及び第二中間部43bの前後端部にそれぞれ設けられたリブ44と、第一中間部43a及び第二中間部43bの車幅方向内側の側面中央部を掛け渡して設けられたビード45とから構成されても良い。リブ44は、第一取付部42、中間部43及び第二取付部46を形成する金属板の縁部をプレス加工により折り曲げることで形成され、ビード45は、第一取付部42、中間部43及び第二取付部46を形成する金属板の中央部を絞り加工により車幅方向の内側に配置される面側へと絞ることで形成される。
また、図5に示すサポート部材51のように、補強部が、第一取付部52及び第一中間部53aの車幅方向外側の側面を掛け渡して取り付けられた断面略コ字状の第一補強部54と、第一中間部53a及び第二中間部53bの車幅方向内側の側面を掛け渡して取り付けられた断面略コ字状の第二補強部55とから構成されても良い。これら第一補強部54及び第二補強部55は金属板をプレス加工により折り曲げてなる。これら第一補強部54及び第二補強部55の前後幅は、第一取付部52、第一中間部53a及び第二中間部53bの前後幅と略等しくなるように設定される。第一補強部54の開口端部が、第一取付部52及び第一中間部53aの前後端部に溶接により取り付けられる。第二補強部55の開口端部が、第一中間部53a及び第二中間部53bの前後端部に溶接により取り付けられる。
さらに、図6に示すサポート部材61のように、補強部が、第一取付部62、第一中間部63a及び第二中間部63bの車幅方向外側の側面を掛け渡すように第一取付部62、第一中間部63a及び第二中間部63bの前後端部にそれぞれ設けられたリブ64と、これらリブ64間に位置される断面略コ字状のリブ間補強部65とから構成されても良い。つまり、サポート部材61の少なくとも第一取付部62及び中間部63がボックス形状に形成される。リブ64は第一取付部62、中間部63及び第二取付部66を形成する金属板の縁部をプレス加工により折り曲げることで形成される。リブ間補強部65は金属板をプレス加工により折り曲げてなる。リブ間補強部65の前後幅が、前後のリブ64間の長さより僅かに小さく設定される。リブ間補強部65はリブ64にボルト・ナット、リベット或いは溶接等により取り付けられる。
なお、上述の実施形態のアンダーラン・プロテクタはRUPとしても適用可能であるが、RUPの基本的な構造及び効果は、上述のFUPと略同一であるので、その説明を省略する。
本発明の一実施形態に係るFUPの斜視図である。 図1の平面図である。 サポート部材を示し、(a)は斜視図であり、(b)は正面図である。 サポート部材の変形例を示し、(a)は斜視図であり、(b)は正面図である。 サポート部材の変形例を示し、(a)は斜視図であり、(b)は正面図である。 サポート部材の変形例を示し、(a)は斜視図であり、(b)は正面図である。 従来のFUPの斜視図である。 図7の平面図である。
符号の説明
1 車体フレーム
2 サイドメンバ
4 プロテクタ本体
5 サポート部材
8 第一取付部
9 第二取付部
10 中間部
11a 第一リブ(補強部)
11b 第二リブ(補強部)
A 離間長さ(長さ)

Claims (4)

  1. 車両の前端部或いは後端部に位置され、車幅方向に延出するプロテクタ本体と、上記車両の車体フレームに取り付けられ、上記プロテクタ本体を支持するサポート部材とを備えたアンダーラン・プロテクタであって、
    上記サポート部材が、上記車体フレームに接合して取り付けられる第一取付部と、上記第一取付部よりも下方に位置する上記プロテクタ本体に接合して取り付けられる第二取付部と、これら第一取付部及び第二取付部の間に位置する中間部とを有し、上記第二取付部を上記第一取付部に対して車幅方向外側に離間させるために、上記中間部を上記第一取付部の下端部から斜め下方に延出するように車幅方向外側に屈曲させたことを特徴とするアンダーラン・プロテクタ。
  2. 上記第一取付部が上記車体フレームのサイドメンバに接合して取り付けられる請求項1記載のアンダーラン・プロテクタ。
  3. 上記サポート部材の少なくとも上記中間部が金属板からなる請求項1又は2に記載のアンダーラン・プロテクタ。
  4. 上記サポート部材が、上記中間部の曲げ変形及びねじれ変形を抑制するための補強部を有する請求項1〜3いずれかに記載のアンダーラン・プロテクタ。
JP2004277530A 2004-09-24 2004-09-24 アンダーラン・プロテクタ Expired - Fee Related JP4512461B2 (ja)

Priority Applications (1)

Application Number Priority Date Filing Date Title
JP2004277530A JP4512461B2 (ja) 2004-09-24 2004-09-24 アンダーラン・プロテクタ

Applications Claiming Priority (1)

Application Number Priority Date Filing Date Title
JP2004277530A JP4512461B2 (ja) 2004-09-24 2004-09-24 アンダーラン・プロテクタ

Publications (2)

Publication Number Publication Date
JP2006088905A JP2006088905A (ja) 2006-04-06
JP4512461B2 true JP4512461B2 (ja) 2010-07-28

Family

ID=36230278

Family Applications (1)

Application Number Title Priority Date Filing Date
JP2004277530A Expired - Fee Related JP4512461B2 (ja) 2004-09-24 2004-09-24 アンダーラン・プロテクタ

Country Status (1)

Country Link
JP (1) JP4512461B2 (ja)

Families Citing this family (15)

* Cited by examiner, † Cited by third party
Publication number Priority date Publication date Assignee Title
JP4842062B2 (ja) * 2006-09-08 2011-12-21 プレス工業株式会社 アンダーラン・プロテクタ
JP5154116B2 (ja) * 2007-03-22 2013-02-27 Udトラックス株式会社 フロントアンダランプロテクタ
DE202008017495U1 (de) * 2007-11-12 2009-12-17 Bätzold & Wagner GmbH & Co. KG Unterfahrschutzvorrichtung
JP5130492B2 (ja) * 2008-11-19 2013-01-30 新日鐵住金株式会社 耐座屈特性に優れた車両用アンダーラン・プロテクタ
JP5847641B2 (ja) * 2012-04-18 2016-01-27 新明和工業株式会社 突入防止装置
JP6706120B2 (ja) * 2016-03-30 2020-06-03 三菱アルミニウム株式会社 車両用外装部材の取付け構造
WO2018038210A1 (ja) * 2016-08-26 2018-03-01 新日鐵住金株式会社 アンダーランプロテクターの支持構造
CN109641561B (zh) * 2016-08-26 2022-05-10 日本制铁株式会社 防钻护栏的支承构造
DE102016015495A1 (de) * 2016-12-23 2018-06-28 Man Truck & Bus Ag Heckunterfahrschutz für ein Fahrzeug
DE102016015501A1 (de) * 2016-12-23 2018-06-28 Man Truck & Bus Ag Heckunterfahrschutz für ein Fahrzeug
JP6942010B2 (ja) * 2017-09-04 2021-09-29 三菱アルミニウム株式会社 車両用外装部材の取付け構造
IT201900014118A1 (it) * 2019-08-06 2021-02-06 Takler S R L Paraurti per veicoli, in particolare per veicoli industriali
JP7232420B2 (ja) * 2020-02-25 2023-03-03 いすゞ自動車株式会社 アンダランプロテクタブラケット及びアンダランプロテクタ取付構造
JP7281104B2 (ja) * 2020-02-25 2023-05-25 いすゞ自動車株式会社 アンダランプロテクタブラケット及びアンダランプロテクタ取付構造
JP7249523B2 (ja) * 2020-12-09 2023-03-31 いすゞ自動車株式会社 アンダーランプロテクタブラケット

Family Cites Families (3)

* Cited by examiner, † Cited by third party
Publication number Priority date Publication date Assignee Title
JPH08324362A (ja) * 1995-05-30 1996-12-10 Nissan Diesel Motor Co Ltd トラックのフロントアンダランプロテクタ
JP2003327063A (ja) * 2002-05-13 2003-11-19 Hino Motors Ltd アンダーランプロテクタ
JP4242170B2 (ja) * 2003-02-17 2009-03-18 プレス工業株式会社 フロント・アンダーラン・プロテクタ

Also Published As

Publication number Publication date
JP2006088905A (ja) 2006-04-06

Similar Documents

Publication Publication Date Title
JP4512461B2 (ja) アンダーラン・プロテクタ
JP4029301B2 (ja) 車両のアンダーランプロテクタ取付構造
US6811211B2 (en) Vehicle body front structure
JP3775280B2 (ja) 車体前部構造
JP6557046B2 (ja) 車体後部構造
JP2007038839A (ja) 自動車の後部車体構造
JP2008049871A (ja) 車両用ニープロテクタ構造
JP4026151B2 (ja) フロントエンド車両構造体
JP5115386B2 (ja) 車両用フロア構造
JP5215917B2 (ja) 車体下部構造
JP4922806B2 (ja) 車両用ステアリングハンガー
JP2018154210A (ja) アンダーランプロテクタ
JP5760979B2 (ja) 車両の前部構造
JP5849881B2 (ja) 車体前部構造
JP6488952B2 (ja) 車両前部構造
JP6893747B2 (ja) 車両構造
JP4383916B2 (ja) リア・アンダーラン・プロテクタ
JP7040381B2 (ja) 後部車体構造
JP4450637B2 (ja) リア・アンダーラン・プロテクタ
WO2021172302A1 (ja) アンダーランプロテクタ構造
JP4581621B2 (ja) 車両の燃料タンク支持構造
JP7249523B2 (ja) アンダーランプロテクタブラケット
JP4630030B2 (ja) アンダーラン・プロテクタ
JP7137906B2 (ja) 車両構造
JP7647527B2 (ja) 車両構造

Legal Events

Date Code Title Description
A621 Written request for application examination

Free format text: JAPANESE INTERMEDIATE CODE: A621

Effective date: 20070919

A131 Notification of reasons for refusal

Free format text: JAPANESE INTERMEDIATE CODE: A131

Effective date: 20090929

A521 Request for written amendment filed

Free format text: JAPANESE INTERMEDIATE CODE: A523

Effective date: 20091126

TRDD Decision of grant or rejection written
A01 Written decision to grant a patent or to grant a registration (utility model)

Free format text: JAPANESE INTERMEDIATE CODE: A01

Effective date: 20100427

A01 Written decision to grant a patent or to grant a registration (utility model)

Free format text: JAPANESE INTERMEDIATE CODE: A01

A61 First payment of annual fees (during grant procedure)

Free format text: JAPANESE INTERMEDIATE CODE: A61

Effective date: 20100510

FPAY Renewal fee payment (event date is renewal date of database)

Free format text: PAYMENT UNTIL: 20130514

Year of fee payment: 3

R150 Certificate of patent or registration of utility model

Ref document number: 4512461

Country of ref document: JP

Free format text: JAPANESE INTERMEDIATE CODE: R150

R250 Receipt of annual fees

Free format text: JAPANESE INTERMEDIATE CODE: R250

R250 Receipt of annual fees

Free format text: JAPANESE INTERMEDIATE CODE: R250

R250 Receipt of annual fees

Free format text: JAPANESE INTERMEDIATE CODE: R250

R250 Receipt of annual fees

Free format text: JAPANESE INTERMEDIATE CODE: R250

R250 Receipt of annual fees

Free format text: JAPANESE INTERMEDIATE CODE: R250

R250 Receipt of annual fees

Free format text: JAPANESE INTERMEDIATE CODE: R250

R250 Receipt of annual fees

Free format text: JAPANESE INTERMEDIATE CODE: R250

R250 Receipt of annual fees

Free format text: JAPANESE INTERMEDIATE CODE: R250

R250 Receipt of annual fees

Free format text: JAPANESE INTERMEDIATE CODE: R250

R250 Receipt of annual fees

Free format text: JAPANESE INTERMEDIATE CODE: R250

R250 Receipt of annual fees

Free format text: JAPANESE INTERMEDIATE CODE: R250

LAPS Cancellation because of no payment of annual fees