JP4482749B2 - 床材の製造方法、及びこれに用いる表面処理装置 - Google Patents

床材の製造方法、及びこれに用いる表面処理装置 Download PDF

Info

Publication number
JP4482749B2
JP4482749B2 JP2003342609A JP2003342609A JP4482749B2 JP 4482749 B2 JP4482749 B2 JP 4482749B2 JP 2003342609 A JP2003342609 A JP 2003342609A JP 2003342609 A JP2003342609 A JP 2003342609A JP 4482749 B2 JP4482749 B2 JP 4482749B2
Authority
JP
Japan
Prior art keywords
base material
adhesive
decorative sheet
pressing
substrate
Prior art date
Legal status (The legal status is an assumption and is not a legal conclusion. Google has not performed a legal analysis and makes no representation as to the accuracy of the status listed.)
Expired - Fee Related
Application number
JP2003342609A
Other languages
English (en)
Other versions
JP2005104049A (ja
Inventor
明良 谷本
孝志 土井
洋史 増田
正孝 竹本
康宏 松川
Current Assignee (The listed assignees may be inaccurate. Google has not performed a legal analysis and makes no representation or warranty as to the accuracy of the list.)
Dai Nippon Printing Co Ltd
Original Assignee
Dai Nippon Printing Co Ltd
Priority date (The priority date is an assumption and is not a legal conclusion. Google has not performed a legal analysis and makes no representation as to the accuracy of the date listed.)
Filing date
Publication date
Application filed by Dai Nippon Printing Co Ltd filed Critical Dai Nippon Printing Co Ltd
Priority to JP2003342609A priority Critical patent/JP4482749B2/ja
Publication of JP2005104049A publication Critical patent/JP2005104049A/ja
Application granted granted Critical
Publication of JP4482749B2 publication Critical patent/JP4482749B2/ja
Anticipated expiration legal-status Critical
Expired - Fee Related legal-status Critical Current

Links

Images

Landscapes

  • Finished Plywoods (AREA)

Description

本発明は、化粧シートを木材からなる基材にラミネートする床材の製造方法、及びラミネートに先立って基材の表面処理を行う表面処理装置に関するものである。
従来より、屋内の壁面等には、装飾用に化粧シートを貼り付けることが多い。このような化粧シートは、接着剤を介して基材にラミネートした後、壁材として壁面に貼り付けられる(例えば、特許文献1)。
上記のような化粧シートは、従来は壁材や家具の表面材として用いられることが一般的であったが、近年になって、この化粧シートを床材として使用することが提案されている。化粧シートを床材として使用する場合、壁材に使用するのに比べて強度が必要なことから、床材用には、硬質のプラスチックシートで補強された化粧シートが使用されている。このように床材用の化粧シートは、壁材用に比べて厚く、また硬質であるため、ロールではなく、枚葉で準備することが多い。そして、この化粧シートを接着剤が塗布された基材に貼り付けることで、床材を形成している。
特公平6−61902号公報
ところで、上記のように化粧シートは枚葉で準備されることが多いため、基材に対する貼り付けは、手作業で行われているのが現状であり、この作業の自動化が要望されていた。しかしながら、自動化のためには種々の課題があり、中でも製造コストの低減は重要課題の一つである。この課題の解決のためには、原料コストの低減が要求されるが、特に、基材と化粧シートとをラミネートするための接着剤は高価なものが多いため、接着剤の塗布量をできるだけ少なくすることが要求されている。
本発明は、上記問題を解決するためになされたものであり、基材に化粧シートをラミネートする際に、接着剤の塗布量を低減することが可能な床材の製造方法、及びこれに用いる表面処理装置を提供することを目的とする。
本発明は、木材からなる基材に、接着剤を介して化粧シートをラミネートする床材の製造方法であって、上記問題を解決するためになされたものであり、表面が平滑な押圧部材で基材の一方面を押圧する第1工程と、押圧された基材の一方面に、接着剤を塗布する第2工程と、接着剤が塗布された基材の一方面に化粧シートをラミネートする第3工程とを備えている。
この方法によれば、接着剤を塗布する工程に先立って、基材の一方面を押圧しているため、この面を平滑化することができる。特に、本発明は木材からなる基材を使用しているため、押圧工程によって表面の平滑化が可能となる。これにより、接着剤が入り込むような基材表面の凹部をなくすことができ、余分な接着剤が使用されるのを防止することができる。その結果、床材の製造に係るコストを低減することができる。さらに、基材の一方面が平滑化されるため、接着剤の塗布量を均一にすることができる。そのため、化粧シートと基材との接着力が部分的にばらつくのを防止することができ、化粧シートのはがれを未然に防ぐことができる。
ここで、上記第1工程において基材表面の平滑化を確実にするためには、基材に作用する圧力を、例えば、0.1〜0.5kg/cm2とすることが好ましい。
また、前記第1工程では、基材の一方面を加熱することがさらに好ましい。このように押圧と加熱とを組み合わせることにより、基材の表面をより確実に平滑化することができる。このときの基材の表面を、例えば30〜60℃に加熱することが好ましい。
また、押圧部材によって基材を押圧した状態で、当該基材を移動させると、基材の一方面と押圧部材との間に作用する摩擦力で、基材の一方面が擦られるため、平滑化をより確実に行うことができる。
また、本発明は、木材からなる基材に接着剤を塗布した後、化粧シートをラミネートする床材の製造において、接着剤の塗布に先立って基材の表面処理を行う表面処理装置であって、上記問題を解決するためになされたものであり、基材が通過する通路が形成された押圧部と、前記通路内に基材を通過させる駆動手段とを備え、前記押圧部材は、前記通路を通過中の基材の表面を加圧する平滑面を有している。
この構成によれば、通路を通過する基材の表面を加圧するので、基材表面を平滑化することができる。したがって、基材表面の凹凸をなくすことができ、接着剤を塗布する際に、接着剤が凹部に入り込んで余分に使用されるのを防止することができる。その結果、製造コストを低減することが可能となる。また、駆動手段によって基材が通路を通過するように構成されているので、基材を押圧しつつ移動させることができる。こうすることで、基材の表面と平滑面との間の摩擦力によって基材表面が擦られるため、平滑化をさらに確実に行うことができる。しかも、基材の移動によって平滑化を連続的に行うことができるため、床材の製造を効率的に行うことができる。
ここで、前記押圧部は、基材を加熱可能に構成されていることが好ましい。このようにすると、基材表面の平滑化をより確実に行うことができる。
本発明によれば、木材からなる基材に対して、化粧シートをラミネートする際に使用する接着剤の量を低減することが可能となり、その結果、製造コストを低減することができる。
以下、本発明に係る床材の製造方法の一実施形態について図面を参照しつつ説明する。図1は床材の一例を示す断面図、図2は本実施形態で用いられる床材の製造ラインである。
まず、本実施形態で製造される床材の一例について説明する。図1に示すように、この床材は、化粧シートAと基材Bとを接着剤Cを介してラミネートしたものである。化粧シートAは、従来から使用されている表装シートA1と、補強シートA2とを接着剤でラミネートしたものである。表装シートA1は、厚さが約150μmで、次のように形成されている。すなわち、基本色が着色されたポリエチレンフィルム上にべた印刷部を介して印刷層(模様)が形成され、さらにこの印刷層上にプライマー、接着剤及びポリプロピレンフィルムを介してEB硬化型樹脂シートが形成されている。このEB硬化型樹脂シートの表面は、エンボス加工がなされている。補強シートはA2、厚さが約400μmであり、ポリエステルで形成されている。このように構成された化粧シートAは、補強シートA2によって厚みが大きくて硬いため、ロールではなく枚葉で準備される。また、この化粧シートAが貼り付けられる基材Bは、木材からなり、例えば木質繊維板、合板等で構成されている。
次に、本実施形態に係る床材の製造ラインについて図2を参照しつつ説明する。この製造ラインは、木材からなる基材Bに、接着剤Cを介して化粧シートAをラミネートするためのものである。図2に示すように、この製造ラインは、上流から下流(同図の右側から左側)に向かって配置された表面処理装置1、接着剤塗布装置3、ラミネート装置5、及び押圧装置7を備えている。表面処理装置1は、基材Bの表面処理を行うものであり、その上流側及び下流側に基材Bを搬送する第1及び第2のコンベア91,92が配置されている。
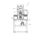
図3は、表面処理装置の側面図である。同図に示すように、この装置には、基材Bを押圧する押圧部11が設けられ、この押圧部11の上流側及び下流側に基材を搬送する第1及び第2ローラ部(駆動手段)12,13がそれぞれ配置されている。押圧部11は、基材Bを上下方向から挟む一対の押圧板(押圧部材)111,112とプレス機113とを備え、このプレス機113によって上側の押圧板111が押圧される。両押圧板111,112は、上下方向に所定間隔をおいて配置されており、その隙間が、基材Bが進入する通路となっている。そして、両押圧板111,112間の間隔は、基材Bの厚さよりも若干小さく設定されている。また、両押圧板111,112は、その間の隙間に基材Bがスムーズに進入するようにするため、次のように構成されている。すなわち、上側の押圧板111の端部を上向きに傾斜させる一方、下側の押圧板112の端部を下向きに傾斜させることで、押圧板111,112間の上流側の隙間を広くしている。また、上側の押圧板111には、図示を省略する加熱装置が設けられており、押圧板間を通過する基材Bを加熱できるようになっている。なお、各押圧板111,112は、例えば、クロームメッキがなされた金属板で形成され、基材Bと対向する面が平滑に形成されている。
各ローラ部12,13は、上下方向から基材Bを挟む駆動ローラ12a,13a及び従動ローラ12b,13bで構成されている。上側に配置された駆動ローラ12a,13aの各軸受けにはプレス機12c,13cが取り付けられており、駆動ローラ12a,13aは基材Bに対して圧力を付与しながら回転する。これにより、基材Bを強い力で前進させ、両押圧板111,112間の隙間に進入させることができる。
図2に戻って、製造ラインの説明を続ける。表面処理装置1の下流には、上記のように接着剤塗布装置3が配設されている。接着剤塗布装置3は、基材Bに対して接着剤を塗布する公知のローラ(図示省略)が設けられている。すなわち、ローラの表面に塗布された接着剤が、基材Bの上面(一方面)を回転することで、ローラ表面の接着剤が基材Bの上面に転写されるように構成されている。ここで使用される接着剤としては、種々のものを使用することができるが、シートの初期接着性の観点から、PUR(Poly Urethane Reactive)型接着剤を使用することが好ましい。また、ここで用いられる接着剤の粘度は8000mPas以下であることが好ましく、6500mPas以下であることがさらに好ましく、5000mPas以下であることが特に好ましい。接着剤塗布装置3の下流側には、第3コンベア93が配設されており、接着剤が塗布された基材Bは、このコンベア93によってラミネート装置5へ搬送される。
ラミネート装置5は、基材Bと化粧シートAとをラミネートする装置である。図4に示すように、ラミネート装置5には、製造ラインと平行に並ぶ待機部51が設けられており、この待機部51に枚葉の状態で配置された化粧シートAが、移動装置52によって製造ライン上に移動される。移動装置52は、製造ラインの上方でラインと垂直に延びるレール521を備えており、このレール521に沿って化粧シートAを保持する保持部522が移動するようになっている。保持部522は、レール521に沿って移動しつつシリンダ523によって上下方向に移動可能であり、化粧シートと当接する当接面522aを有している。この当接面522aには、複数の空気孔(図示省略)が形成されており、この空気孔から空気を吸引することで負圧を形成可能となっている。これにより、当接面522aに当接する化粧シートAを吸着保持することができる。そして、このラミネート装置5で形成された床材Sは、ラミネート装置5上の第4コンベア524によって押圧装置7へと搬送される。
図5は押圧装置の側面図である。同図に示すように、この押圧装置7は、上下方向に並ぶ一対のローラ71,72で構成されている。下側に配置されたローラ72は軸受けに券回されたベルト73を介してモータ74と接続されており、駆動ローラを構成している。一方、上側に配置されたローラ71は従動ローラを構成している。この従動ローラ71の軸受けにはプレス機75が設けられており、このプレス機75によって従動ローラ71が駆動ローラ72に押しつけられている。そして、このように構成された両ローラ71,72の間を床材Sが通過する。
次に、上記のように構成された製造ラインによる床材の製造工程について説明する。まず、第1コンベア91によって基材Bを一枚ずつ表面処理装置1へ搬送する。搬送された基材Bは、第1ローラ部12によって挟まれながら前進し、押圧部11の隙間へ進入する。このとき、上側の押圧板111にはプレス機113によって圧力が作用しているため、基材Bは、表面を押圧されつつ前進する。これによって基材Bの表面は、擦られながら凹凸が均され平滑化される。基材Bにおいて押圧部11を通過した部分は、第2ローラ13に挟まれつつその回転によって下流側へ引っ張られる。このように、基材Bは、第1及び第2ローラ12,13の回転によって強い力で前進されるため、押圧板111,112による圧力に抗して下流側へ前進することが可能となっている。
このとき、押圧部11によって基材Bを押圧する圧力は、0.1〜0.5kg/cm2であることが好ましい。これは、圧力が0.1kg/cm2より小さいと基材表面の平滑化が不十分になる一方、0.5kg/cm2より大きいと、基材Bと押圧板112,113との摩擦力が大きすぎて、基材Bが前進しにくくなるからである。また、製造効率の観点から、第1及び第2ローラ12,13によって基材Bが前進する速度は、1m/min以上であることが好ましい。さらに、基材Bの表面を30〜60℃に加熱することが好ましく、この場合,押圧板112,113を150〜250℃にして基材Bの加熱を行うことか好ましい。
こうして、表面処理装置1を通過した基材は、第2コンベア92によって接着剤塗布装置3に搬送される。この接着剤塗布装置3では、ローラによって基材の上面に接着剤が塗布される。このとき、基材の表面に塗布される接着剤は、15〜100g/cm2であることが好ましい。
続いて、接着剤が塗布された基材Bは、第3コンベア93によって図4に示すラミネート装置5に搬送され、一旦停止される。これに続いて、待機部51に配置された化粧シートAが保持部522によって吸引保持された後、レール521に沿って製造ライン側へ移動し、基材Bの上方に位置決めされる。この状態から保持部522が下降して基材Bの上面に化粧シートAが当接すると、空気孔における空気の吸引を停止し、化粧シートAを保持部522から分離する。こうして、化粧シートAは、基材Bにラミネートされて床材Sが形成され、第4コンベア524によって押圧装置7へと搬送される。
図5に示す押圧装置7において両ローラ71,72の間に床材Sが進入すると、この床材Sは駆動ローラ72の回転によって前進し、両ローラ71,72の間を通過する。これにより、床材Sの表面が押圧されて接着剤が基材Bに浸透し、化粧シートAと基材Bとが強固に固着される。以上の工程を経ることによって床材が完成する。
以上のように、本実施形態によれば、接着剤の塗布に先立って、表面処理装置1において基材Bの表面を押圧している。こうすることで、基材Bの表面の凹凸が均されて平滑化される。これにより次の効果を得ることができる。すなわち、基材表面に凹凸が存在すると、凹部に接着剤が入り込み易く、接着剤が余分に必要となる。これに対して、本実施形態のように構成すると、凹凸を均すことができ、余分な接着剤が使用されるのを防止することができる。その結果、接着剤の使用量を低減することができ、製造コストを低減することが可能となる。特に、濃度の低い接着剤を使用した場合には、接着剤で低粘度であることから凹部に入り込み易いため、このような製造ラインを用いると有利である。また、本実施形態では、基材表面を押圧するのに加え、加熱しているため、表面の平滑化を確実に行うことができる。
さらに、基材表面が平滑化されるため、接着剤を均一に塗布することができる。これにより、接着力にバラツキが生じるのを防止することができ、化粧シートAが基材Bからはがれたり、部分的に基材Bから浮き上がったりするのを確実に防止することができる。
以上、本発明の一実施形態について説明したが、本発明はその趣旨を逸脱しない限りにおいて種々の変更が可能である。例えば、上記実施形態では、基材表面の押圧時に、押圧板によって基材Bを加熱しているが、加熱は必ずしも必要ではなく、押圧のみでも基材表面の平滑化は可能である。但し、より確実な平滑化のためには、基材表面の加熱を行うことが好ましい。
また、上記実施形態では、表面処理装置1において基材を前進させる駆動手段として、第1及び第2ローラ部12,13を用いているが、これに限定されるものではなく、基材Bを両押圧板111,112の間に進入させて通過させることができるものであればよい。
本発明に使用される床材の断面図である。 本発明の一実施形態に係る床材の製造ラインの概略平面図である。 図2の製造ラインにおける基材の表面処理装置の側面図である。 図2のA−A線矢視図である。 図2の製造ラインにおける押圧装置の側面図である。
符号の説明
1 表面処理装置
11 押圧部
111 押圧板(押圧部材)
12 第1ローラ部(駆動手段)
13 第2ローラ部(駆動手段)

Claims (6)

  1. 木材からなる基材に、接着剤を介して化粧シートをラミネートする床材の製造方法であって、
    表面が平滑な板状の押圧部材で基材の一方面を押圧する第1工程と、
    押圧された基材の一方面に、接着剤を塗布する第2工程と、
    接着剤が塗布された基材の一方面に化粧シートをラミネートする第3工程とを備え、
    前記第1工程では、前記押圧部材によって基材の表面を押圧した状態で、当該基材を移動させる床材の製造方法。
  2. 前記第1工程において、前記押圧部材が基材を押圧する圧力は、0.1〜0.5kg/cm2である請求項1に記載の床材の製造方法。
  3. 前記第1工程において、基材の一方面を加熱する請求項1または2に記載の床材の製造方法
  4. 前記第1工程において、基材の一方面を30〜60℃に加熱する請求項3に記載の床材の製造方法。
  5. 木材からなる基材に接着剤を塗布した後、化粧シートをラミネートする床材の製造において、接着剤の塗布に先立って基材の表面処理を行う表面処理装置であって、
    基材が通過する通路が形成された押圧部と、
    前記通路内に、基材を通過させる駆動手段とを備え、
    前記押圧部は、前記通路を通過中の基材の表面を加圧する平滑面を有する板状部を備えている表面処理装置。
  6. 前記押圧部は、前記通路を通過中の基材を加熱可能に構成されている請求項6に記載の表面処理装置。
JP2003342609A 2003-09-30 2003-09-30 床材の製造方法、及びこれに用いる表面処理装置 Expired - Fee Related JP4482749B2 (ja)

Priority Applications (1)

Application Number Priority Date Filing Date Title
JP2003342609A JP4482749B2 (ja) 2003-09-30 2003-09-30 床材の製造方法、及びこれに用いる表面処理装置

Applications Claiming Priority (1)

Application Number Priority Date Filing Date Title
JP2003342609A JP4482749B2 (ja) 2003-09-30 2003-09-30 床材の製造方法、及びこれに用いる表面処理装置

Publications (2)

Publication Number Publication Date
JP2005104049A JP2005104049A (ja) 2005-04-21
JP4482749B2 true JP4482749B2 (ja) 2010-06-16

Family

ID=34536835

Family Applications (1)

Application Number Title Priority Date Filing Date
JP2003342609A Expired - Fee Related JP4482749B2 (ja) 2003-09-30 2003-09-30 床材の製造方法、及びこれに用いる表面処理装置

Country Status (1)

Country Link
JP (1) JP4482749B2 (ja)

Also Published As

Publication number Publication date
JP2005104049A (ja) 2005-04-21

Similar Documents

Publication Publication Date Title
JP4973783B2 (ja) フィルム貼着装置及びフィルム貼着方法及び電子ペーパの製造方法
CN100575000C (zh) 层状抛光垫的成形方法
CN101524924B (zh) 给工件上图案的设备和方法
US20100112285A1 (en) Methods for manufacturing laminate, device applied herewith, laminate obtained herewith, method for encasing substrates and encased substrate obtained herewith
JP4296763B2 (ja) 基材の塗工方法、基材、塗工装置、積層物の製造方法及び積層物
JP4482749B2 (ja) 床材の製造方法、及びこれに用いる表面処理装置
JP4461318B2 (ja) ラミネート装置及び床材の製造方法
JP4366573B2 (ja) 床材の製造方法
JP4505682B2 (ja) 床材の製造方法
KR101866856B1 (ko) Mdf 합판의 시트 합지시스템
JP2002322440A (ja) 接合用テープ及び支持体接合方法並びに支持体塗布方法
JP4243180B2 (ja) 積層材の製造方法及び積層材の製造装置
KR20010094665A (ko) 무늬목 두루마리 복합박판 제조방법 및 그 제조장치
JP2007090187A (ja) 接着剤塗布装置およびこれを用いた床材の製造方法
US20240375395A1 (en) Method for laminating a building panel core with a self-adhesive use layer and building panel core laminated with a self-adhesive use layer
JP2886827B2 (ja) 表装用シートの製造方法
TH2401001019A (th) วิธีการสำหรับการลามิเนต และ สถานีการลามิเนต
JP5515215B2 (ja) 化粧シートの貼着方法及び化粧シート貼着ユニット
JP3610869B2 (ja) 化粧板の製造方法
JP5743761B2 (ja) 基板ラミネート方法
JP2024112053A (ja) 表面加工システム、およびラミネート装置
CN212194621U (zh) 一种离型纸贴合装置
CN1074980C (zh) 将表面结构引入层压板或基板覆盖层的方法和装置
JP2010042606A (ja) ラッピング装置およびラッピング方法
JP3614107B2 (ja) 化粧パネルの製造方法

Legal Events

Date Code Title Description
A621 Written request for application examination

Free format text: JAPANESE INTERMEDIATE CODE: A621

Effective date: 20060905

A711 Notification of change in applicant

Free format text: JAPANESE INTERMEDIATE CODE: A711

Effective date: 20090313

A521 Request for written amendment filed

Free format text: JAPANESE INTERMEDIATE CODE: A821

Effective date: 20090313

A977 Report on retrieval

Free format text: JAPANESE INTERMEDIATE CODE: A971007

Effective date: 20090423

A521 Request for written amendment filed

Free format text: JAPANESE INTERMEDIATE CODE: A523

Effective date: 20090501

A131 Notification of reasons for refusal

Free format text: JAPANESE INTERMEDIATE CODE: A131

Effective date: 20090610

A521 Request for written amendment filed

Free format text: JAPANESE INTERMEDIATE CODE: A523

Effective date: 20090806

TRDD Decision of grant or rejection written
A01 Written decision to grant a patent or to grant a registration (utility model)

Free format text: JAPANESE INTERMEDIATE CODE: A01

Effective date: 20100303

A01 Written decision to grant a patent or to grant a registration (utility model)

Free format text: JAPANESE INTERMEDIATE CODE: A01

A61 First payment of annual fees (during grant procedure)

Free format text: JAPANESE INTERMEDIATE CODE: A61

Effective date: 20100309

R150 Certificate of patent or registration of utility model

Ref document number: 4482749

Country of ref document: JP

Free format text: JAPANESE INTERMEDIATE CODE: R150

Free format text: JAPANESE INTERMEDIATE CODE: R150

FPAY Renewal fee payment (event date is renewal date of database)

Free format text: PAYMENT UNTIL: 20130402

Year of fee payment: 3

FPAY Renewal fee payment (event date is renewal date of database)

Free format text: PAYMENT UNTIL: 20140402

Year of fee payment: 4

LAPS Cancellation because of no payment of annual fees