JP4457583B2 - インクジェットヘッド及びそれを使用した液滴吐出装置 - Google Patents
インクジェットヘッド及びそれを使用した液滴吐出装置 Download PDFInfo
- Publication number
- JP4457583B2 JP4457583B2 JP2003184961A JP2003184961A JP4457583B2 JP 4457583 B2 JP4457583 B2 JP 4457583B2 JP 2003184961 A JP2003184961 A JP 2003184961A JP 2003184961 A JP2003184961 A JP 2003184961A JP 4457583 B2 JP4457583 B2 JP 4457583B2
- Authority
- JP
- Japan
- Prior art keywords
- substrate
- ink
- nozzle
- nozzle substrate
- protective member
- Prior art date
- Legal status (The legal status is an assumption and is not a legal conclusion. Google has not performed a legal analysis and makes no representation as to the accuracy of the status listed.)
- Expired - Fee Related
Links
- 239000007788 liquid Substances 0.000 title claims description 4
- 239000000758 substrate Substances 0.000 claims description 102
- 230000001681 protective effect Effects 0.000 claims description 39
- 239000000853 adhesive Substances 0.000 claims description 10
- 230000001070 adhesive effect Effects 0.000 claims description 10
- 238000000034 method Methods 0.000 claims description 9
- 238000004140 cleaning Methods 0.000 claims description 5
- 238000003466 welding Methods 0.000 claims description 5
- 238000012423 maintenance Methods 0.000 claims description 4
- 238000007599 discharging Methods 0.000 claims description 2
- 238000010926 purge Methods 0.000 description 9
- 230000000694 effects Effects 0.000 description 7
- PXHVJJICTQNCMI-UHFFFAOYSA-N Nickel Chemical compound [Ni] PXHVJJICTQNCMI-UHFFFAOYSA-N 0.000 description 6
- 229910001220 stainless steel Inorganic materials 0.000 description 5
- 239000010935 stainless steel Substances 0.000 description 5
- 229910052759 nickel Inorganic materials 0.000 description 3
- 230000032258 transport Effects 0.000 description 3
- 239000003086 colorant Substances 0.000 description 2
- 238000005323 electroforming Methods 0.000 description 2
- 238000005304 joining Methods 0.000 description 2
- 238000011144 upstream manufacturing Methods 0.000 description 2
- 238000005452 bending Methods 0.000 description 1
- 230000005540 biological transmission Effects 0.000 description 1
- 238000005520 cutting process Methods 0.000 description 1
- 238000006073 displacement reaction Methods 0.000 description 1
- 239000000428 dust Substances 0.000 description 1
- 238000005530 etching Methods 0.000 description 1
- 239000000463 material Substances 0.000 description 1
- 238000000465 moulding Methods 0.000 description 1
- 238000003825 pressing Methods 0.000 description 1
- 239000011347 resin Substances 0.000 description 1
- 229920005989 resin Polymers 0.000 description 1
Images
Landscapes
- Particle Formation And Scattering Control In Inkjet Printers (AREA)
- Ink Jet (AREA)
Description
【発明の属する技術分野】
本発明は、インクに圧力を加えてノズルよりインク滴を飛翔させ、印刷媒体にインク像を形成する液滴吐出装置のノズル基板の保護部材に関する。
【0002】
【従来の技術】
従来から、圧電素子などの圧力発生手段により、圧力室の容積を変位させ、ノズルからインクを吐出させるインクジェットヘッドが知られている(例えば、特許文献1参照)。
【0003】
図3に圧電素子を用いたインクジェットヘッドの例を示す。ノズル基板2には複数のノズル1が形成される。ノズル基板2はステンレスの精密プレス法、レーザ加工法あるいはニッケルの電鋳加工等により形成される。
【0004】
流路形成基板3は一枚以上の薄板を接合して形成する。図3の例では、圧力室4が形成されたチャンバプレート5、及び共通インク通路13と圧力室4とを連結して圧力室4へのインク流入を制御するリストリクタ6を形成したリストリクタプレート7とを位置決めして接合し、流路形成基板3を形成している。更に、圧電アクチュエータ14の圧力を効率よく圧力室4に伝えるための振動板8と共通インク通路13からリストリクタ6に流入するインク中のゴミ等を取り除くフィルタ部9を形成したダイアフラムプレート10と共通インク通路13を形成したハウジング12を同じように位置決めして接合する。チャンバプレート5、リストリクタプレート7、ダイアフラムプレート10はステンレス材のエッチング加工法またはニッケル材の電鋳加工法で作られる。ハウジング12はステンレス材の切削加工等で形成され、図示されないインクカートリッジからインクを共通インク通路13まで導くインク導入パイプ18が接合されている。
【0005】
最後に、複数の圧電素子15とそれを固定する支持基板16からなる圧電アクチュエータ14を位置決めして接合する。圧電アクチュエータ14は複数の圧電素子15からなり、各々の圧電素子15は圧力室4の一つずつに対応するようになっている。更には、支持基板16にはそれぞれの圧電素子15に図示されない外部駆動回路から独立した電気信号を送るための個別電極17が形成されている。外部駆動回路から選択的な電気信号が圧電素子15に印加されることにより圧電素子15は変形する。この変形が振動板8を介し圧力室の体積変化となり、満たされるインクの圧力変化となる。この圧力変化でインクはノズルより、インク滴として吐出する。
【0006】
図4にこのようなインクジェットヘッド11を複数並べた記録ユニット32の例を示す。インクジェットヘッド11はヘッドベース30に平行に取り付けられている。インクジェットヘッド11の数や取り付け位置を変更することで、柔軟に多色化や高解像度化に対応することが出来る。
【0007】
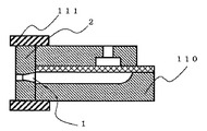
インクジェットヘッドは複数のステンレスやニッケルなどの薄板を重ねて流路を形成している。従って、印刷媒体の浮き上がりや反り等により、ノズル基板2と印刷媒体とが接触し用紙ジャムとなった時に、ノズル基板2などの薄板が剥がれてしまう事があった。そこで、図5に示すように、ノズル基板2の保護としてノズル基板2上に保護部材101並びにヘッドキャップ102を配置するものが提案されている(例えば、特許文献2、特許文献3参照)。
あるいは、図6に示すようにインクジェットヘッドの外側面110に接合され、ノズル基板2を包囲してノズル基板2を保護する保護部材111の例が開示されている(例えば、特許文献4参照)。
これら特許文献2ないし特許文献4に記載されている保護部材により、ノズル基板2および他の薄板は剥き出しになる事がなくなり、印刷媒体の搬送ジャム時にノズル基板が剥がれることが防止できる。
【0008】
【特許文献1】
特開平1−115638号公報 (第2頁、図2)
【特許文献2】
特開平4−235054号公報 (第2頁、図2)
【特許文献3】
特開2000−190513号公報 (第3頁、図2)
【特許文献4】
特開2000−141652号公報 (第3頁、図2)
【0009】
【発明が解決しようとする課題】
印刷後の記録ユニット32は印刷領域外に設けられた保全部に移動し、ノズル基板2の清掃が行われる。保全部ではインク拭き取り用のワイパーがノズル基板をこすることで、ノズル基板2上の不要なインクや異物が掻き取られ、ノズル基板2がきれいな状態に保たれる。しかしながら、従来の保護部材はノズル基板の全体あるいは主走査方向を覆っている。このため、保護部材の側面近傍のノズル基板上に拭き残しが発生しやすかった。
【0010】
他方で、インクジェットヘッドを複数並べて、多色化や高解像度化する場合、実装密度の観点からインクジェットヘッドが並ぶ短手方向の幅は出来るだけ狭い方がよい。その結果、ノズルとインクジェットヘッド端部との間隔は最小限となる。そのため、拭き残しがノズルにかかり、インク滴曲がりや不吐出を発生させ、印刷品質を低下させる問題があった。
【0011】
また、保護部材に十分な強度を持たせるためには、0.1mm程度の厚さが必要であり保護部材の厚み分だけ、インク滴を吐出するノズルと印刷媒体との距離が増え、インク滴の着地位置精度が低下する問題があった。
【0012】
【課題を解決するための手段】
上述した問題を解決するために、本発明の請求項1に記載の発明は、インク滴を吐出する複数のノズルを具備したノズル基板と、該ノズル基板が接着され前記複数のノズルと連通する複数のインク流路と、該インク流路にインクを供給する共通インク室を具備した流路形成基板を備えたインクジェットヘッドにおいて、前記ノズル基板の前記流路形成基板との接着面側の表面積は前記流路形成基板の前記ノズル基板に相対する面の表面積よりも小さく、かつ前記ノズル基板は前記流路形成基板の片側の端部を基準として位置決めして接合されており、前記流路形成基板上の前記ノズル基板の非接着領域には前記ノズル基板の板厚よりも厚い保護部材が装着されていることを特徴とする。
【0013】
本発明の請求項2に記載の発明は、請求項1記載のインクジェットヘッドにおいて、前記保護部材がL字形状であり、前記流路形成基板上の前記ノズル基板の非接着領域及びインクジェットヘッドの側面を覆うように接合されていることを特徴とする。
【0014】
本発明の請求項3に記載の発明は、請求項2記載のインクジェットヘッドにおいて、前記保護部材の両端部をコの字状に形成し、外周三方を囲むように前記流路形成基板上に接合されていることを特徴とする。
【0015】
本発明の請求項4に記載の発明は、請求項2または3記載のインクジェットヘッドにおいて、前記保護部材のL字形状の角部が曲面であることを特徴とする。
【0016】
本発明の請求項5記載の発明は、請求項1ないし請求項4いずれかに記載のインクジェットヘッドにおいて、保護部材が接着剤またはスポット溶接にて固定されていることを特徴とする。
【0017】
本発明の請求項6記載の発明は、請求項1ないし請求項5のいずれか一項に記載のインクジェットヘッドがノズル配列方向と直交する方向に少なくとも二つ以上並べられている記録ユニットを備えた液滴吐出装置であって、それぞれのインクジェットヘッドの前記ノズル基板が接合されている側の側面は隣接するインクジェットヘッドの保護部材によって保護されることを特徴とする。
【0018】
本発明の請求項7記載の発明は、請求項6記載の液滴吐出装置は前記記録ユニットを所定位置に保持した状態で印刷媒体の搬送を行う方式であって、前記記録ユニット保全動作は、前記保護部材が接合されている側からワイパーにより清掃を行うことを特徴とする。
【0019】
【発明の実施の形態】
以下、本発明の第1の例について、図を参考にしながら説明する。
図1は本発明のインクジェットヘッド11の斜視図である。図2は図1のA−Aでの断面図である。
【0020】
ここで、ノズル基板2は短手方向が流路形成基板3より小さく、ハウジング12上に装着されている流路形成基板3の片側の端部を基準として位置決めして接合されている。すなわち、ノズル基板2の表面積は流路形成基板の表面積よりも小さくなっている。更に、ノズル1はインクジェットヘッド11の中心線に対して片側に偏って設けられている。ノズル基板2は1枚板でもよいし、2枚以上の薄板を接合して形成してもよい。また、ノズルの形状も開口部周辺が凹形にくぼんでいてもよいし、あるいは凸型にせり出していてもよい。
【0021】
保護部材20はノズル基板2の主走査方向(ノズル配列方向)と直交する一辺と並列になるよう流路形成基板3上に配置される。また、保護部材20はL字型状となっており、流路形成基板3のノズル基板2が接着されていない領域とインクジェットヘッド11の側面を覆うようになっている。すなわち、流路形成基板3の中心位置に対して前記ノズル基板2の中心位置がずれるように配置されており、更に、流路形成基板3の上のノズル基板2の非接着領域に、ノズル基板2の板厚よりも厚い保護部材20が装着されていることとなる。
【0022】
また、図2に示すように、ノズル基板2の厚さをt1、保護部材20の厚さをt2としたとき、t1<t2とすることが好ましい。t1>t2である場合、ノズル基板2の側面が剥き出しとなり、印刷媒体と接触した場合にノズル基板2が剥がれる恐れがある。t1<t2とすることで、印刷媒体搬送ジャムが発生しても、ノズル基板2の側面は印刷媒体と直接接触しにくくなり、剥がれを防止する効果が得られる。更に、ノズル基板2と印刷媒体とが直接接触しにくくなるため、印刷媒体搬送ジャム時にも、ノズル1が傷つきにくくなる効果も得られる。
【0023】
また、ノズル基板2と保護部材20との段差L(=t2−t1)は0.05mm以下であることが望ましい。ノズル基板2上に保護部材20を設ける従来の構成の場合、0.1〜0.2mm程度の保護部材20の厚み分が必要であった。本例では流路形跡板5上に保護部材を設けるため、ノズル2からの突出を抑えられる。突出量はノズル基板2と保護部材20の板厚で容易に管理できる。通常ノズル1と印刷媒体との距離は1mm前後であり、0.05mm以内の増加は着地位置精度にはほとんど影響ない。
【0024】
保護部材20の角部20cは、曲面としてもよい。角部20cが直角の場合、印刷媒体と接触した時に印刷媒体が角部20cに引っかかりやすい。角部20cを曲面とすることで、印刷媒体と接触しても印刷媒体搬送ジャムが発生しにくくなる効果が得られる。
【0025】
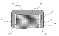
図7に保護部材70の第2の例を示す。本例においては、ノズル基板72の長手方向及びその垂直方向の長さを夫々流路形成基板3よりも短くしている。保護部材20は両端部をコの字状、その他の領域はL字型状とし、ノズル基板2の外周三方を囲むように流路形成基板3上に設けられている。すなわち、保護部材70はその両端部において、ノズル基板72の非接着領域側にあるインクジェットヘッド11の側部70aから、ノズル基板72の接着領域側にあるインクジェットヘッド11の端部70bまでを覆っている。ここで、保護部材70が覆うハウジング12側面はインクジェットヘッド11の主走査方向となるようにする。インクジェットヘッド11の主走査方向は、インクジェットヘッド11を所定位置に保持した状態で印刷媒体の搬送を行う印刷方式であれば印刷媒体の搬送方向、インクジェットヘッド11を移動させる印刷方式であればインクジェットヘッド11の移動方向とする。本構成によれば、保護部材70の端部70a及び70bがハウジング12側面を覆うため、印刷媒体搬送ジャムが発生し、印刷媒体を引き抜く必要がある場合でも、インクジェットヘッド11の側面と印刷媒体とが直接接触しにくくなり、インクジェットヘッド11のノズル基板2等が剥がれにくくなる効果がある。
【0026】
上述した第1の例の保護部材20や第2の例の保護部材70は、ステンレス材等のプレス加工で容易に形成できる。ステンレス材を使用することにより、厚みの精度管理も容易にできる。また、樹脂などを用いて型成型で形成してもよい。また、保護部材20や保護部材70の流路形成基板3との接合は接着剤によるものであってもよいし、レーザによるスポット溶接であってもよい。これら保護部材20や保護部材70の接合はノズル基板2を流路形成基板3に接合した後に行なえばよい。ノズル基板2をガイドとすることで、保護部材20を容易に位置決めすることができる。
【0027】
図8は保護部材70をインクジェットヘッド11へ接着材により接合する例を示す側面図である。加熱硬化型や2液硬化型などの接着剤50に加えて、端部70a、70bを紫外線硬化性接着剤51で仮固定をしてもよい。仮固定することで接着作業時間を短縮することができる。スポット溶接の場合、端部70aの隅にレーザでスポット溶接を施せばよい。
【0028】
図9に複数のインクジェットヘッド11を並べた斜視図を示す。本図では、4つのインクジェットヘッド11が並んでいるが、さらに多くのインクジェットヘッド11を並べても同様である。図9の構成においては、印刷媒体の搬送方向上流側が当該インクジェットに装着されている保護部材70でノズル基板2が保護されるだけでなく、保護部材70で保護されていない印刷媒体の下流側においても、隣接する下流側のインクジェットヘッド11の保護部材70により保護される。従って、インクジェットヘッド11単体の場合よりもさらに、ノズル基板2が保護される効果がある。
【0029】
図10に本発明に係る液滴吐出装置の例を示す。
図10に示す液滴吐出装置は、印刷幅分のインクジェットヘッド11が複数並べられた記録ユニット32を持つ。印刷領域上にインクジェットヘッド11を固定し、インクを吐出しながら印刷媒体を搬送することで印刷を行なう、固定ヘッド印刷方式の液滴吐出装置である。
【0030】
インクジェットヘッド11が複数並べられている記録ユニット32はインクジェットヘッド11にインクを供給するインクカートリッジ31を搭載し、ガイドシャフト33に対して摺動自在に支持されると共に動力伝達部材34に連結されており、駆動源35によりガイドシャフト33に沿って運動する。印刷時は、記録ユニット32は印刷領域上で静止する。一方、印刷媒体36はインクジェットヘッド11のノズル基板2と対向し、記録ユニット32の移動方向に直交する方向に搬送ロール38によって搬送される。印刷媒体36にはインクジェットヘッド11のノズル1より記録信号に応じてインクが噴射され、画像が形成される。
【0031】
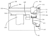
非記録時には、記録ユニット32は印刷領域外に設けられたパージキャップ39の上方まで移動し、パージキャップ39が図示していない動力源によりノズル基板2をキャッピングする。パージキャップ39は保護部材20の段差を吸収して密着できるよう、ゴムなどの弾性体であることが望ましい。また、パージキャップ39の底面にはチューブ40が連結されており、チューブ40は吸引ポンプ41を介してパージキャップ39内に負圧を供給できる。よって、インクジェットヘッド11内のインクを吸引し、吸引されたインクはチューブ40の先端に設けられた排インク室42へ排出される。
【0032】
更に、本構成ではパージキャップ39に隣接してワイパー43を設けている。これにより、ノズル基板2の表面上に付着した不要なインクを拭き取ることができる。
【0033】
図11にインクジェットヘッド11のワイパー43による清掃のプロセスを示す部分断面図である。ワイパー43はゴムなどの弾性体からなる。ワイパー43は印刷媒体の搬送方向上流側から下流側に向かってACモータやステッピングモータのなどの図示されない動力源でノズル基板2をこすることにより、ノズル基板2上に溜まったインクや異物を取り除くことができる。本発明の保護部材ではノズル基板2の一辺が何ら被覆されていないため、ノズル基板2上の異物は全てノズル基板2上から除去でき、ワイパー43により拭き残しが一切無く清掃できる。
【0034】
以上に記載した例においては、圧電素子の変位を用いたインクジェットヘッドについて記載しているが、本発明はサーマル方式など他の方式でノズルよりインク滴を吐出するインクジェットヘッドにも適用できる。
【0035】
【発明の効果】
本発明は以上のような構成であるため、以下のような効果を有する。
コの字型にノズル基板を囲むため、ノズル基板等インクジェットヘッドを構成する薄板が剥がれることを防止することができる。かつ、ノズル近傍に保護部材が無いため、ワイプ時に拭き残し無く清掃できる効果がある。さらに、保護部材の厚さによるノズルと印刷媒体との距離の増加を最低限とすることができる。また、印刷媒体搬送方向を曲面としたため、印刷媒体とインクジェットヘッドが接触した場合でも、印刷媒体搬送ジャムが発生しにくくなる効果もある。
【図面の簡単な説明】
【図1】 本発明のインクジェットヘッドの第1の例を示す斜視図である。
【図2】 図1のA−A断面図である。
【図3】 インクジェットヘッドの主要部の構造説明斜視図である。
【図4】 従来のインクジェットヘッドを並べた記録ユニットの斜視図である。
【図5】 従来のインクジェットヘッドを示す断面図である。
【図6】 従来のインクジェットヘッドを示す断面図である。
【図7】 本発明のインクジェットヘッドの第2の例を示す斜視図である。。
【図8】 図7の端部の拡大断面図である。
【図9】 本発明のインクジェットヘッドを並べた記録ユニットの斜視図である。
【図10】 本発明の液滴吐出装置の一例を示す概略図である。
【図11】 ノズル基板の清掃プロセスを示す部分断面図である。
【符号の説明】
図において、1はノズル、2はノズル基板、3は流路形成基板、4は圧力室、5はチャンバプレート、6はリストリクタ、8は振動板、10はダイアフラムプレート、11はインクジェットヘッド、12はハウジング、14は圧電アクチュエータ、15は圧電素子、16は支持基板、20は保護部材、30はヘッドベース、32は記録ユニット、39はパージキャップ、43はワイパー、50は接着材、51はUV接着材を示す。
Claims (7)
- インク滴を吐出する複数のノズルを具備したノズル基板と、該ノズル基板が接着され前記複数のノズルと連通する複数のインク流路と、該インク流路にインクを供給する共通インク室を具備した流路形成基板を備えたインクジェットヘッドにおいて、前記ノズル基板の前記流路形成基板との接着面側の表面積は前記流路形成基板の前記ノズル基板に相対する面の表面積よりも小さく、かつ前記ノズル基板は前記流路形成基板の片側の端部を基準として位置決めして接合されており、前記流路形成基板上の前記ノズル基板の非接着領域には前記ノズル基板の板厚よりも厚い保護部材が装着されていることを特徴とするインクジェットヘッド。
- 前記保護部材はL字形状であり、前記流路形成基板上の前記ノズル基板の非接着領域及びインクジェットヘッドの側面を覆うように接合されていることを特徴とする請求項1記載のインクジェットヘッド。
- 前記保護部材の両端部をコの字状に形成し、外周三方を囲むように前記流路形成基板上に接合されていることを特徴とする請求項2記載のインクジェットヘッド。
- 前記保護部材のL字形状の角部が曲面であることを特徴とする請求項2または3記載のインクジェットヘッド。
- 前記保護部材は接着剤またはスポット溶接にて固定されていることを特徴とする請求項1ないし請求項4のいずれか一項に記載のインクジェットヘッド。
- 請求項1ないし請求項5のいずれか一項に記載のインクジェットヘッドがノズル配列方向と直交する方向に少なくとも二つ以上並べられている記録ユニットを備えた液滴吐出装置であって、それぞれのインクジェットヘッドの前記ノズル基板が接合されている側の側面は隣接するインクジェットヘッドの保護部材によって保護されることを特徴とする液滴吐出装置。
- 請求項6記載の液滴吐出装置は前記記録ユニットを所定位置に保持した状態で印刷媒体の搬送を行う方式であって、前記記録ユニット保全動作は、前記保護部材が接合されている側からワイパーにより清掃を行うことを特徴とする液滴吐出装置。
Priority Applications (1)
| Application Number | Priority Date | Filing Date | Title |
|---|---|---|---|
| JP2003184961A JP4457583B2 (ja) | 2003-06-27 | 2003-06-27 | インクジェットヘッド及びそれを使用した液滴吐出装置 |
Applications Claiming Priority (1)
| Application Number | Priority Date | Filing Date | Title |
|---|---|---|---|
| JP2003184961A JP4457583B2 (ja) | 2003-06-27 | 2003-06-27 | インクジェットヘッド及びそれを使用した液滴吐出装置 |
Publications (2)
| Publication Number | Publication Date |
|---|---|
| JP2005014505A JP2005014505A (ja) | 2005-01-20 |
| JP4457583B2 true JP4457583B2 (ja) | 2010-04-28 |
Family
ID=34184573
Family Applications (1)
| Application Number | Title | Priority Date | Filing Date |
|---|---|---|---|
| JP2003184961A Expired - Fee Related JP4457583B2 (ja) | 2003-06-27 | 2003-06-27 | インクジェットヘッド及びそれを使用した液滴吐出装置 |
Country Status (1)
| Country | Link |
|---|---|
| JP (1) | JP4457583B2 (ja) |
Families Citing this family (5)
| Publication number | Priority date | Publication date | Assignee | Title |
|---|---|---|---|---|
| US7946641B2 (en) | 2008-03-04 | 2011-05-24 | Mazda Motor Corporation | Driver-side floor structure of vehicle |
| JP5776880B2 (ja) | 2011-03-22 | 2015-09-09 | セイコーエプソン株式会社 | 液体噴射ヘッド及び液体噴射装置 |
| JP5935338B2 (ja) * | 2012-01-16 | 2016-06-15 | 株式会社リコー | 画像形成装置 |
| JP6183586B2 (ja) * | 2013-03-15 | 2017-08-23 | セイコーエプソン株式会社 | 液体噴射装置及び液体噴射装置のクリーニング方法 |
| CN112895720A (zh) * | 2021-01-28 | 2021-06-04 | 深圳市润天智数字设备股份有限公司 | 喷墨打印装置 |
-
2003
- 2003-06-27 JP JP2003184961A patent/JP4457583B2/ja not_active Expired - Fee Related
Also Published As
| Publication number | Publication date |
|---|---|
| JP2005014505A (ja) | 2005-01-20 |
Similar Documents
| Publication | Publication Date | Title |
|---|---|---|
| CN1754700B (zh) | 喷墨打印机的喷墨头及喷墨打印机 | |
| JP2009292061A (ja) | ヘッドチップ、液体噴射ヘッド及び液体噴射装置 | |
| JP5938936B2 (ja) | 液体噴射ヘッド、液体噴射装置、および液体噴射ヘッドの製造方法 | |
| JP4591009B2 (ja) | インクジェット記録ヘッド及びインクジェット記録装置 | |
| WO2005021272A1 (ja) | インクジェット式記録装置 | |
| JP2011056922A (ja) | 液体吐出ヘッド及び画像形成装置 | |
| JP4457583B2 (ja) | インクジェットヘッド及びそれを使用した液滴吐出装置 | |
| JP2006281542A (ja) | 画像形成装置 | |
| JP4800666B2 (ja) | 液体吐出ヘッド及びその製造方法 | |
| JP2010023486A (ja) | 液体吐出ヘッド及びそれを用いた記録装置 | |
| JP6237980B2 (ja) | 液体噴射ヘッドユニット及び液体噴射装置 | |
| JP5958795B2 (ja) | インクジェットヘッド及び画像形成装置 | |
| JP2017105026A (ja) | 液体噴射ヘッド、液体噴射記録装置および液体噴射ヘッドの製造方法 | |
| JP2006256029A (ja) | インクジェットヘッド及びその製造方法及び該インクジェットヘッドを用いた画像形成装置 | |
| JP2013116590A (ja) | 液滴吐出ヘッド及び画像形成装置。 | |
| US8668306B2 (en) | Liquid ejecting head and liquid ejecting apparatus | |
| JP4682695B2 (ja) | 液滴吐出装置 | |
| JP2009101578A (ja) | インクジェット記録ヘッド及び、インクジェット記録装置 | |
| JP2009160786A (ja) | 液滴吐出装置 | |
| US7806518B2 (en) | Inkjet recording head and inkjet recording apparatus | |
| JP2003094653A (ja) | インクジェットヘッド | |
| JP2008062389A (ja) | 液滴吐出装置 | |
| JPH07290715A (ja) | インクジェット記録装置 | |
| JP4307808B2 (ja) | 液滴吐出ヘッド及びインクジェット記録装置 | |
| CN111204127A (zh) | 液体喷出头以及液体喷出装置 |
Legal Events
| Date | Code | Title | Description |
|---|---|---|---|
| A621 | Written request for application examination |
Free format text: JAPANESE INTERMEDIATE CODE: A621 Effective date: 20060428 |
|
| RD02 | Notification of acceptance of power of attorney |
Free format text: JAPANESE INTERMEDIATE CODE: A7422 Effective date: 20081016 |
|
| A521 | Written amendment |
Free format text: JAPANESE INTERMEDIATE CODE: A821 Effective date: 20081016 |
|
| A131 | Notification of reasons for refusal |
Free format text: JAPANESE INTERMEDIATE CODE: A131 Effective date: 20090609 |
|
| A521 | Written amendment |
Free format text: JAPANESE INTERMEDIATE CODE: A523 Effective date: 20090804 |
|
| TRDD | Decision of grant or rejection written | ||
| A01 | Written decision to grant a patent or to grant a registration (utility model) |
Free format text: JAPANESE INTERMEDIATE CODE: A01 Effective date: 20100119 |
|
| A01 | Written decision to grant a patent or to grant a registration (utility model) |
Free format text: JAPANESE INTERMEDIATE CODE: A01 |
|
| R150 | Certificate of patent or registration of utility model |
Free format text: JAPANESE INTERMEDIATE CODE: R150 |
|
| A61 | First payment of annual fees (during grant procedure) |
Free format text: JAPANESE INTERMEDIATE CODE: A61 Effective date: 20100201 |
|
| FPAY | Renewal fee payment (event date is renewal date of database) |
Free format text: PAYMENT UNTIL: 20130219 Year of fee payment: 3 |
|
| FPAY | Renewal fee payment (event date is renewal date of database) |
Free format text: PAYMENT UNTIL: 20130219 Year of fee payment: 3 |
|
| FPAY | Renewal fee payment (event date is renewal date of database) |
Free format text: PAYMENT UNTIL: 20130219 Year of fee payment: 3 |
|
| FPAY | Renewal fee payment (event date is renewal date of database) |
Free format text: PAYMENT UNTIL: 20130219 Year of fee payment: 3 |
|
| FPAY | Renewal fee payment (event date is renewal date of database) |
Free format text: PAYMENT UNTIL: 20130219 Year of fee payment: 3 |
|
| FPAY | Renewal fee payment (event date is renewal date of database) |
Free format text: PAYMENT UNTIL: 20140219 Year of fee payment: 4 |
|
| FPAY | Renewal fee payment (event date is renewal date of database) |
Free format text: PAYMENT UNTIL: 20140219 Year of fee payment: 4 |
|
| FPAY | Renewal fee payment (event date is renewal date of database) |
Free format text: PAYMENT UNTIL: 20140219 Year of fee payment: 4 |
|
| S531 | Written request for registration of change of domicile |
Free format text: JAPANESE INTERMEDIATE CODE: R313531 |
|
| S111 | Request for change of ownership or part of ownership |
Free format text: JAPANESE INTERMEDIATE CODE: R313113 |
|
| R350 | Written notification of registration of transfer |
Free format text: JAPANESE INTERMEDIATE CODE: R350 |
|
| FPAY | Renewal fee payment (event date is renewal date of database) |
Free format text: PAYMENT UNTIL: 20140219 Year of fee payment: 4 |
|
| R350 | Written notification of registration of transfer |
Free format text: JAPANESE INTERMEDIATE CODE: R350 |
|
| LAPS | Cancellation because of no payment of annual fees |