JP4433859B2 - 画像形成装置 - Google Patents

画像形成装置 Download PDF

Info

Publication number
JP4433859B2
JP4433859B2 JP2004109364A JP2004109364A JP4433859B2 JP 4433859 B2 JP4433859 B2 JP 4433859B2 JP 2004109364 A JP2004109364 A JP 2004109364A JP 2004109364 A JP2004109364 A JP 2004109364A JP 4433859 B2 JP4433859 B2 JP 4433859B2
Authority
JP
Japan
Prior art keywords
bottle
toner
rotation
toner supply
detected
Prior art date
Legal status (The legal status is an assumption and is not a legal conclusion. Google has not performed a legal analysis and makes no representation as to the accuracy of the status listed.)
Expired - Fee Related
Application number
JP2004109364A
Other languages
English (en)
Other versions
JP2005292601A (ja
Inventor
弘康 吉川
Current Assignee (The listed assignees may be inaccurate. Google has not performed a legal analysis and makes no representation or warranty as to the accuracy of the list.)
Murata Machinery Ltd
Original Assignee
Murata Machinery Ltd
Priority date (The priority date is an assumption and is not a legal conclusion. Google has not performed a legal analysis and makes no representation as to the accuracy of the date listed.)
Filing date
Publication date
Application filed by Murata Machinery Ltd filed Critical Murata Machinery Ltd
Priority to JP2004109364A priority Critical patent/JP4433859B2/ja
Publication of JP2005292601A publication Critical patent/JP2005292601A/ja
Application granted granted Critical
Publication of JP4433859B2 publication Critical patent/JP4433859B2/ja
Anticipated expiration legal-status Critical
Expired - Fee Related legal-status Critical Current

Links

Images

Landscapes

  • Dry Development In Electrophotography (AREA)
  • Control Or Security For Electrophotography (AREA)

Description

本発明は、トナー補給ボトルの回転によりトナー補給が可能な画像形成装置に関するものである。
従来のこの種の技術としては、電源のON時にトナー補給ボトルを位置合わせのために待機位置まで回転する手段を備えた電子写真記録装置等が知られている(例えば、特許文献1参照。)。
特開2002−148925号公報(第8頁,図6等)
しかしながら、上記のような電子写真記録装置では電源のON時に一律にトナー補給ボトルが回転するので、過剰なトナー補給となることが多いという問題点がある。
本発明は、以上のような問題点に鑑みてなされたものであり、過剰なトナー補給を防止できる画像形成装置を提供することを目的とする。
上記目的を達成するための請求項1の発明は、プリント手段に対して回転によりトナー補給可能なトナー補給ボトルと、このトナー補給ボトルの軸方向の端部に垂直に固定されかつ周縁に周方向に延びる切欠部を設けたボトル位置検出用円板と、前記切欠部が位置していないときは前記トナー補給ボトルの待機位置でないと検出する一方、前記切欠部が位置しているときは前記待機位置であると検出するボトル位置検出手段と、電源のON時に前記検出されたトナー補給ボトルの位置が前記待機位置でないときは前記トナー補給ボトルの回転を開始し、前記検出されたトナー補給ボトルの位置が前記待機位置になったときは前記トナー補給ボトルの回転停止を指示するボトル回転手段とを備え、前記切欠部は、切欠角度(W)を次式のように決定されることにより、W>(S×T+E)、但し、S:前記トナー補給ボトルの回転時の角速度(度/秒)、T:前記ボトル位置検出手段による検出サンプリング時間(秒)、E:前記ボルト回転手段による回転停止の指示から、前記トナー補給ボトルが停止するまでの慣性による回転角度(度)、前記ボルト回転手段による前記トナー補給ボトルの回転停止の指示から、該トナー補給ボトルの回転が停止するまでの間における、前記ボトル位置検出手段により検出される該トナー補給ボトルの位置が、前記待機位置のままとなるように形成されたものである。
請求項2の発明においては、前記ボトル回転手段は、電源のON時に前記検出されたトナー補給ボトルの位置が前記待機位置であるが、前記トナー補給ボトルとプリント手段との間に配備された中間室内にトナー有無検出手段によりトナーがないと検出されたときは前記トナー補給ボトルの回転を開始する手段である。
請求項1の発明によれば、電源のON時にトナー補給ボトルが待機位置にないときは回転するが、待機位置にあるときは基本的には回転しないように構成しているので、過剰なトナー補給を防止することができる。さらに、ボトル回転手段における回転駆動手段として、トナー補給ボトルが慣性によりある程度回転するDC(直流)モータ等を使用することもできる。このDCモータ等は比較的安価であるので、DCモータ等を使用すれば、画像形成装置の製造コストを低減化することができる。
請求項2の発明によれば、適正なトナー補給を行うことができる。
以下、本発明の実施形態を図面に基づいて説明する。
本実施形態に係る画像形成装置1は、図1に示すように、CPU(Central Processing Unit,中央処理装置)2、RAM(Random Access Memory,随時書き込み読み出しメモリ)3、ROM(Read Only Memory,読み出し専用メモリ)4、読み取り部5、コーデック(CODEC)6、モデム7、NCU(Network Control Unit,回線網制御装置)8、プリント部(プリント手段)9、トナー補給ボトル10、ボトル回転部(ボトル回転手段)11、ボトル位置検出部(ボトル位置検出手段)12、トナー有無検出部(トナー有無検出手段)13、表示部14、操作部15、及びLAN(Local Area Network)インターフェース(I/F)16等を備えたものであり、各部2〜16はバス17を介して互いに通信可能に接続されている。
ROM4は、CPU2により各部3〜16の動作を制御するための各種制御プログラム等を記憶した記憶部として機能する。なお、記憶部はROM4に限定されるものではなく、HDD(Hard Disk Drive)、光磁気ディスク(Magneto Optical Disk)ドライブ、DVD(Digital Versatile Disk)−RAMドライブ等であってもよい。
CPU2は、ROM4に記憶された制御プログラムに従って各部3〜16の動作を制御する制御部として機能する。RAM3は、読み取り部5により読み取られる原稿の画像データ、ライフ情報(プリント済みページ数、読み取り枚数等)、機器設定情報(発信元名、発信元番号等)、ファクス(FAX)送信履歴情報、電子メール送信履歴情報、格納履歴情報(コピー履歴、ファクス受信履歴、電子メール受信履歴等)、用紙サイズ情報、出力条件情報(原稿種類、濃度、倍率、部数等)等を記憶する記憶部として機能する。
読み取り部5は、原稿の画像を読み取り、白黒2値化等した画像データを出力する。プリント部9は、電子写真方式等により、RAM3に記憶された画像データを用紙にプリントする。
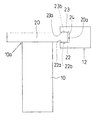
トナー補給ボトル10は、図2及び図3に示すように、画像形成装置1内に軸方向が水平となるように支持されている。プリント部9に配備された現像器(図示せず)に対しては、トナー補給ボトル10の回転によりトナー補給が行われる。ボトル回転部11は、トナー補給ボトル10を回転させる。トナー有無検出部13は、トナー補給ボトル10とプリント部9における現像器との間に配備された中間室(図示せず)内のトナーの有無を検出する。
トナー補給ボトル10の軸方向の端部10aには、ボトル位置検出用円板20が垂直に固定されている。ボトル位置検出用円板20の周縁20aには、周方向に延びる切欠部21が設けられている。
ボトル位置検出部12は、対向する2つの検出アーム22,23を有している。一方の検出アーム22の内側面22aには赤外線又は可視光線等の光線を出射する発光部22bが設けられており、他方の検出アーム23の内側面23aには受光部23bが設けられている。ボトル位置検出用円板20の周縁20aは、検出アーム22,23間の空間24に挿入されている。ボトル位置検出部12は、発光部22bと受光部23bとの間にボトル位置検出用円板20の切欠部21が位置していないときはトナー補給ボトル10の待機位置でないと検出する一方、切欠部21が位置しているときは待機位置であると検出する透過型の位置センサとして構成することができる。
表示部13は、操作部14等に併設されたLCD(Liquid Crystal Display,液晶ディスプレイ)等で構成されており、各種のメッセージや画面情報を表示する。操作部14は、原稿のサイズ、コピーや送信等の装置動作のスタート・ストップ等の各種情報・操作の入力・選択をするための入力キー・選択キー等を備えている。画像形成装置1に対するユーザによる各種操作は、この操作部14を通じて行われる。
コーデック6は、画像データを記憶や送信等のためにMH(Modified Huffman)方式、MR(Modified READ)方式、MMR(Modified Modified READ)方式等により符号化したり、受信した画像データを復号化したりする。また、コーデック6は、電子メールの添付ファイル形式として一般的な画像フォーマットであるTIFF(Tagged Image File Format)形式やPDF(Portable Document Format)形式にも対応して画像データを符号化及び復号化する。
モデム7は、例えばITU−T(国際電気通信連合−電気通信標準化部門)の勧告V.34規格又はこれと同様のものに従った送信データの変調及び受信データの復調を行う。NCU8は、PSTN(Public Switched Telephone Network,公衆電話交換網)18に接続されており、電話回線を制御して電話をかけたり切ったりする。
LANインターフェース16は、LAN19と画像形成装置1とを通信可能に接続するインターフェースである。LAN19にはクライアントPC(Personal Computer)等のクライアント端末(図示せず)が設置されており、画像形成装置1が有する各種機能をクライアント端末からLAN19を通じて利用できるようになっている。また、LAN19にはメールサーバ(図示せず)や、インターネットに接続されたルータ(図示せず)等も設置されており、画像形成装置1はメールサーバやルータ等を通じてインターネット上の他の電子メール端末装置とインターネットFAX通信を行うことができるようになっている。
即ち、画像形成装置1は、コピー機能、FAX通信機能、PC−FAX通信機能(クライアント端末からのネットワークを介したダイレクトFAX通信機能)、インターネットFAX通信機能〔インターネットを利用したFAX通信機能,TIFF(Tagged Image File Format)形式又はPDF(Portable Document Format)形式等に変換した画データを電子メールに添付して通信する機能〕、ネットワークプリンタ機能(クライアント端末からのネットワークを介したダイレクト印刷機能)、及びネットワークスキャナ機能(クライアント端末へのネットワークを介したダイレクトスキャン機能)等を有するデジタル複合機である。なお、画像形成装置1はこのようなデジタル複合機に限定されるものではなく、少なくともプリント機能を有するものであればよい。
次に、トナー補給ボトル10の回転処理の手順例を図4に示すフローチャートに基づいて説明する。なお、この処理は、ROM4に記憶された制御プログラムに基づいてCPU2が発行する命令に従って行われる。
トナー補給ボトル10の回転処理において、電源のON時(ステップS1)にボトル位置検出部12により検出されたトナー補給ボトル10の位置が待機位置でないときは(ステップS2でNO)、トナー補給ボトル10の回転が開始される(ステップS3)。そして、検出されたトナー補給ボトル10の位置が待機位置になったときは(ステップS4でYES)、トナー補給ボトル10の回転停止が指示され(ステップS5)、処理が終了する。検出されたトナー補給ボトル10の位置が待機位置になっていないときは(ステップS4でNO)、ステップS4に戻る。
一方、電源のON時(ステップS1)に検出されたトナー補給ボトル10の位置が待機位置であり(ステップS2でYES)、かつ、トナー有無検出部13によりトナーがないと検出されたときは(ステップS6でYES)、ステップS3に進む。トナー有無検出部13によりトナーがあると検出されたときは(ステップS6でNO)、処理が終了し、トナー補給ボトル10は回転しない。
上記のように構成された画像形成装置1によれば、電源のON時にトナー補給ボトル10が待機位置にないときは回転するが、待機位置にあるときは基本的には回転しないように構成しているので、過剰なトナー補給を防止できるという利点がある。
ここで、本実施形態のように、電源のON時にトナー補給ボトル10が待機位置にあるが、トナーがないと検出されたときはトナー補給ボトル10の回転を開始するように構成しておけば、適正なトナー補給を行うことができるという利点がある。
また、切欠部21を、前記回転停止の指示からトナー補給ボトル10の回転が停止するまでの間におけるトナー補給ボトル10の位置が待機位置のままとなるように形成しておけば、ボトル回転部11における回転駆動手段として、前記回転停止の指示後にトナー補給ボトル10の回転がすぐに停止するステップモータの他、トナー補給ボトル10が慣性によりある程度回転するDCモータ等を使用することもできる。このDCモータ等は比較的安価であるので、DCモータ等を使用すれば、画像形成装置1の製造コストを低減化できるという利点がある。なお、DCモータ等を使用する場合、図3に示すように、切欠部21の切欠角度(一側壁21aと他側壁21bとのなす角度)W(度)は、下記の数式〔1〕を満たすようにしておけばよい。
W>(S×T+E) ・・・〔1〕
但し、S:トナー補給ボトル10の回転時の角速度(度/秒)
T:ボトル位置検出部12による検出サンプリング時間(秒)
E:回転停止の指示からトナー補給ボトル10の回転が停止するまでの慣性による回転角度(度)
以上のように、本発明に係る画像形成装置は、トナー補給ボトルの回転によりトナー補給が可能な画像形成装置として有用であり、特に、過剰なトナー補給を防止できるようにするのに適している。
実施形態に係る画像形成装置の構成例を示すブロック図。 ボトル位置検出部によりトナー補給ボトルの位置を検出する様子を示す概略平面図。 ボトル位置検出部によりトナー補給ボトルの位置を検出する様子を示す概略正面図。 トナー補給ボトルの回転処理の手順例を示すフローチャート。
符号の説明
1 画像形成装置
2 CPU
9 プリント部(プリント手段)
10 トナー補給ボトル
10a 端部
11 ボトル回転部(ボトル回転手段)
12 ボトル位置検出部(ボトル位置検出手段)
13 トナー有無検出部(トナー有無検出手段)
20 ボトル位置検出用円板
20a 周縁
21 切欠部

Claims (2)

  1. プリント手段に対して回転によりトナー補給可能なトナー補給ボトルと、このトナー補給ボトルの軸方向の端部に垂直に固定されかつ周縁に周方向に延びる切欠部を設けたボトル位置検出用円板と、前記切欠部が位置していないときは前記トナー補給ボトルの待機位置でないと検出する一方、前記切欠部が位置しているときは前記待機位置であると検出するボトル位置検出手段と、電源のON時に前記検出されたトナー補給ボトルの位置が前記待機位置でないときは前記トナー補給ボトルの回転を開始し、前記検出されたトナー補給ボトルの位置が前記待機位置になったときは前記トナー補給ボトルの回転停止を指示するボトル回転手段とを備え
    前記切欠部は、切欠角度(W)を次式のように決定されることにより、
    W>(S×T+E)
    但し、S:前記トナー補給ボトルの回転時の角速度(度/秒)、
    T:前記ボトル位置検出手段による検出サンプリング時間(秒)、
    E:前記ボルト回転手段による回転停止の指示から、前記トナー補給ボトルが停止するまでの慣性による回転角度(度)、
    前記ボルト回転手段による前記トナー補給ボトルの回転停止の指示から、該トナー補給ボトルの回転が停止するまでの間における、前記ボトル位置検出手段により検出される該トナー補給ボトルの位置が、前記待機位置のままとなるように形成されたことを特徴とする画像形成装置。
  2. 前記ボトル回転手段は、電源のON時に前記検出されたトナー補給ボトルの位置が前記待機位置であるが、前記トナー補給ボトルとプリント手段との間に配備された中間室内にトナー有無検出手段によりトナーがないと検出されたときは前記トナー補給ボトルの回転を開始する手段である請求項1記載の画像形成装置。
JP2004109364A 2004-04-01 2004-04-01 画像形成装置 Expired - Fee Related JP4433859B2 (ja)

Priority Applications (1)

Application Number Priority Date Filing Date Title
JP2004109364A JP4433859B2 (ja) 2004-04-01 2004-04-01 画像形成装置

Applications Claiming Priority (1)

Application Number Priority Date Filing Date Title
JP2004109364A JP4433859B2 (ja) 2004-04-01 2004-04-01 画像形成装置

Publications (2)

Publication Number Publication Date
JP2005292601A JP2005292601A (ja) 2005-10-20
JP4433859B2 true JP4433859B2 (ja) 2010-03-17

Family

ID=35325567

Family Applications (1)

Application Number Title Priority Date Filing Date
JP2004109364A Expired - Fee Related JP4433859B2 (ja) 2004-04-01 2004-04-01 画像形成装置

Country Status (1)

Country Link
JP (1) JP4433859B2 (ja)

Also Published As

Publication number Publication date
JP2005292601A (ja) 2005-10-20

Similar Documents

Publication Publication Date Title
JP3805347B2 (ja) 制御処理装置及びこれを備えた画像形成装置
US20080074683A1 (en) Image forming method, image forming apparatus, and image forming system
US20050063009A1 (en) Information processing apparatus, and computer product
JP3680200B2 (ja) ネットワ−クシステム
JP3938133B2 (ja) 情報処理装置、及びその電源制御方法
US20050275864A1 (en) Image forming method and image forming apparatus
JP2018023081A (ja) 画像形成装置およびその制御方法
JP3912298B2 (ja) 送受信装置、ファクシミリ装置および送受信プログラム
JP4433859B2 (ja) 画像形成装置
JP5171516B2 (ja) 画像形成装置
JP4761540B2 (ja) 画像形成装置及び情報処理方法
JP2006323456A (ja) 画像処理装置および画像処理システムおよびデータ処理方法およびコンピュータが読み取り可能なプログラムを格納した記憶媒体およびプログラム
JP4419061B2 (ja) 画像形成装置
JP4055079B2 (ja) 画像形成装置
JP2007013378A (ja) 画像処理装置、画像処理装置の制御方法およびプログラム
JP2005271332A (ja) 画像形成装置
JP2005151145A (ja) 画像読み取り記録装置
JP2006091074A (ja) トナー補給装置及びトナー補給方法
JP2005349741A (ja) 画像形成装置
JP2005266382A (ja) 画像形成装置
JP2008287166A (ja) 画像形成装置
JP2004333918A (ja) 画像形成装置
JP4174973B2 (ja) 画像形成装置
JP2007208475A (ja) 画像形成装置
JP2003312108A (ja) 画像処理装置

Legal Events

Date Code Title Description
A621 Written request for application examination

Free format text: JAPANESE INTERMEDIATE CODE: A621

Effective date: 20070220

A977 Report on retrieval

Free format text: JAPANESE INTERMEDIATE CODE: A971007

Effective date: 20090710

A131 Notification of reasons for refusal

Free format text: JAPANESE INTERMEDIATE CODE: A131

Effective date: 20090813

A521 Written amendment

Free format text: JAPANESE INTERMEDIATE CODE: A523

Effective date: 20090831

TRDD Decision of grant or rejection written
A01 Written decision to grant a patent or to grant a registration (utility model)

Free format text: JAPANESE INTERMEDIATE CODE: A01

Effective date: 20091208

A01 Written decision to grant a patent or to grant a registration (utility model)

Free format text: JAPANESE INTERMEDIATE CODE: A01

A61 First payment of annual fees (during grant procedure)

Free format text: JAPANESE INTERMEDIATE CODE: A61

Effective date: 20091221

R150 Certificate of patent or registration of utility model

Free format text: JAPANESE INTERMEDIATE CODE: R150

FPAY Renewal fee payment (event date is renewal date of database)

Free format text: PAYMENT UNTIL: 20130108

Year of fee payment: 3

FPAY Renewal fee payment (event date is renewal date of database)

Free format text: PAYMENT UNTIL: 20140108

Year of fee payment: 4

R250 Receipt of annual fees

Free format text: JAPANESE INTERMEDIATE CODE: R250

R250 Receipt of annual fees

Free format text: JAPANESE INTERMEDIATE CODE: R250

R250 Receipt of annual fees

Free format text: JAPANESE INTERMEDIATE CODE: R250

LAPS Cancellation because of no payment of annual fees