JP4433306B2 - 内燃機関用燃料レールにおける分岐枝管の継手構造と分岐枝管およびその分岐枝管の製造方法 - Google Patents

内燃機関用燃料レールにおける分岐枝管の継手構造と分岐枝管およびその分岐枝管の製造方法 Download PDF

Info

Publication number
JP4433306B2
JP4433306B2 JP2005157023A JP2005157023A JP4433306B2 JP 4433306 B2 JP4433306 B2 JP 4433306B2 JP 2005157023 A JP2005157023 A JP 2005157023A JP 2005157023 A JP2005157023 A JP 2005157023A JP 4433306 B2 JP4433306 B2 JP 4433306B2
Authority
JP
Japan
Prior art keywords
pipe
branch
tube
branch pipe
internal combustion
Prior art date
Legal status (The legal status is an assumption and is not a legal conclusion. Google has not performed a legal analysis and makes no representation as to the accuracy of the status listed.)
Expired - Fee Related
Application number
JP2005157023A
Other languages
English (en)
Other versions
JP2006194233A (ja
Inventor
正佳 臼井
菊雄 浅田
康明 橋本
洋行 西澤
威一郎 清野
Current Assignee (The listed assignees may be inaccurate. Google has not performed a legal analysis and makes no representation or warranty as to the accuracy of the list.)
Usui Co Ltd
Original Assignee
Usui Co Ltd
Priority date (The priority date is an assumption and is not a legal conclusion. Google has not performed a legal analysis and makes no representation as to the accuracy of the date listed.)
Filing date
Publication date
Application filed by Usui Co Ltd filed Critical Usui Co Ltd
Priority to JP2005157023A priority Critical patent/JP4433306B2/ja
Publication of JP2006194233A publication Critical patent/JP2006194233A/ja
Application granted granted Critical
Publication of JP4433306B2 publication Critical patent/JP4433306B2/ja
Anticipated expiration legal-status Critical
Expired - Fee Related legal-status Critical Current

Links

Images

Landscapes

  • Fuel-Injection Apparatus (AREA)
  • Joints With Pressure Members (AREA)
  • Branch Pipes, Bends, And The Like (AREA)

Description

本発明は、内燃機関用燃料レールにおける分岐枝管の継手構造とその製造方法に係り、より詳しくは直接筒内噴射式ガソリンエンジン用または吸気管内噴射式ガソリンエンジン用燃料レール(デリバリーパイプ)あるいはディーゼルエンジン用燃料レールにおける分岐枝管の継手構造と分岐枝管およびその分岐枝管の製造方法に関するものである。
内燃機関用燃料レールにおける分岐枝管の継手構造として、レール本体の周壁部に設けた当該流通路に通ずる貫孔に継手金具(ニップル)を嵌挿した状態をもって相互に接合(ろう着等)し、該継手金具に分岐枝管をナットにより締付けて接続構成したものがある(特許文献1参照)。このような構造の直噴ガソリンエンジン用燃料レールにおける分岐枝管の継手においては、燃料の酸化による腐食を防止するため、燃料レールや分岐枝管の少なくとも内周面にニッケルめっきを施し、鉄素地あるいはろう着用銅めっき皮膜や銅ろう材の表面を被覆することが行われている。しかるに、前記した構造の継手構造において、燃料(ガソリン)は、流通路での鉄素地、あるいは銅めっき皮膜や銅ろう材表面への直接の接触によって酸化作用を受けて酸化し、酸化により腐食性の高くなったサワーガソリンが構成部品の鉄素地あるいはアルミニウム表面を腐食するため、製品全体に無電解ニッケルめっきを施し、レールおよび分岐継手の内周面にニッケルめっき皮膜を設けることが行われている。さらに、大気汚染防止の観点から、前記無電解ニッケルめっきに代えて、銅ろう着後化学錫めっきを施す方法も知られている(特許文献2参照)。また、燃料レールの内外面にNiまたはNi基合金めっき皮膜を形成したものや、分岐枝管を二重管とし、その内管側にSUS管或いは内面NiまたはNi基の合金めっき管を用い、その内面をNi基の合金めっき管として、Ni、Co、およびこれらを基とする合金のうち、1種類のめっき層を第1めっき層として形成し、この第1めっき層上に前記第1めっき層形成金属又はこれらを基とする合金より低融点の単金属あるいは合金層を第2めっき層として形成
し、この2層のめっき層を形成した帯鋼板を使用して電縫造管し、次いで加熱処理することによって鋼素地が露出している部分がないような溶接管(特許文献3、4参照)を使用したものが知られている。
特開2003−278623号公報 特開平11−117826号公報 特開平5−9786号公報 特開平5−156494号公報
しかしながら、前記した従来の継手構造は、分岐枝管と継手金具の接続シール部にSUSあるいはNiやNi基合金めっきの存在しない接液部(燃料と接触する部分)が生じ、燃料の酸化作用が促進され、サワーガソリン化が加速され、燃料レールや分岐枝管等の構成部品の鉄素地あるいはアルミニウム表面を腐食させること、また、排気ガス対策としてバイオ燃料等の含有量の増加により鉄への腐食性が増していることに加え、燃料の噴射圧が15〜200MPaに高くなるにつれて燃料温度が上昇し、燃料の分解と腐食性がより高くなり、前記接液部がたとえ狭隘な部分であったとしても錆の発生が大きな問題となり、さらに、噴射圧の高圧化に伴いナットの締付け力が高くなり、数回の配管の取外しにより本管レールや分岐枝管に施されているめっき皮膜の剥離が発生し、その剥離粉が噴射弁のシート面等に付着して燃料の噴射に異常をきたす危惧があるという未解決な課題が残されていた。
本発明は、かかる課題を解決するためになされたもので、燃料レールや分岐枝管等の構成部品の腐食を防止し、かつ接続シール面における気密の維持が強固に確保され、燃料の酸化や劣化を防止し得る内燃機関用燃料レールにおける分岐枝管の継手構造と分岐枝管および該分岐枝管の製造方法を提案しようとするものである。
上記課題を解決するための本発明に係る内燃機関用燃料レールにおける分岐枝管の継手構造は、ステンレス鋼製もしくは少なくとも内面に防錆処理が施された鋼製の内燃機関用燃料レールと、外管とその内周面が該外管の外周面より燃料に対する防錆能が優れた内管とからなる二重管で構成された分岐枝管とを、継手金具を介して締結用ナットにより接続構成してなる継手構造において、前記分岐枝管と継手金具の接続シール部が、当該分岐枝管内周面と同等の防錆能を有すると共に、該分岐枝管の燃料に対するシール面を含む接液部分の全てが前記内管によって覆われ、該シール面を含む内管の受圧部を前記外管によって支持するよう構成されていることを特徴とするものである。
また、本発明に係る上記分岐枝管の継手構造において、前記継手金具の接続シール部を、該継手金具の分岐孔軸に直角な平坦面を有する断面凹形状とし、前記外管の開口端面を前記内管の開口端部で覆うようにして折り曲げ、該内管の内周面がシート面となるように形成した分岐枝管を、予め該分岐枝管に組込んだ締結用ナットにより、接続構成したことを特徴とするものである。
本発明に係る上記分岐枝管の接続構造において、前記継手金具の接続シール部と分岐枝管のシート面との間にガスケットを介在させ、予め該分岐枝管に組込んだ前記締結用ナットにより、接続構成したことを特徴とするものである。
また、本発明に係る上記分岐枝管の接続構造において、前記分岐枝管の端末にスプールまたは突起を設け、締結用ナットの受圧部としたことを特徴とするものである。
本発明による内燃機関用燃料レールにおける分岐枝管の継手構造は、前記継手金具の接続シール部を円錐凸形状とし、前記分岐枝管のシート面をシングルフレアー形状とし、該円錐凸形状の接続シール部と該シングルフレアー形状のシート面との間にリング状円錐ガスケットを介在させ、予め分岐枝管に組込んだ締結用ナットにより、接続構成したことを特徴とするものである。
また、本発明に係る上記分岐枝管の接続構造において、前記継手金具の接続シール部を円錐凹形状とし、前記分岐枝管のシート面をシングルフレアー形状とし、前記円錐凹形状の接続シール部と前記シングルフレアー形状のシート面との間に算盤玉形ガスケットを介在させ、予め分岐枝管に組込んだ締結用ナットにより、接続構成したことを特徴とするものである。
本発明による内燃機関用燃料レールにおける分岐枝管の継手構造は、前記継手金具の接続シール部に、分岐孔の軸芯に対する傾斜角αを有する凹状のテーパーを形成し、前記分岐枝管の外管の接続頭部を、前記継手金具の接続シール部における傾斜角αを有する凹状のテーパー面に対応して、傾斜角α±5°を有する凸状のテーパー壁を有する形状とし、該凸状のテーパー壁を有する外管の接続頭部を覆うように内管の先端を外側に折り曲げてリング状のシート面を形成し、該シート面と前記継手金具のテーパー面との間に略リング形状の円錐ガスケットを介在させ、予め前記分岐枝管に組込んだ締結用ナットにより、接続構成したことを特徴とするものである。
本発明に係る上記分岐枝管の継手構造において、前記傾斜角αが前記継手金具の分岐孔の軸心に対して50〜120°であることを特徴とするものである。
また、本発明に係る上記分岐枝管の継手構造は、前記分岐枝管の接続頭部の先端形状が、該分岐枝管の軸心に対してほぼ直角に形成され、該接続頭部を覆う内管のシート面が、折り返し二重構造のテーパー壁面に形成されることを特徴とするものである。
本発明に係る内燃機関用燃料レールにおける分岐枝管の継手構造は、ステンレス鋼製もしくは少なくとも内面に防錆処理が施された鋼製の内燃機関用燃料レールと、外管とその内周面が外管の外周面より燃料に対する防錆能が優れた内管とからなる二重管で構成された分岐枝管とを、継手金具を介して締結用ナットにより接続構成してなる継手構造において、前記継手金具の接続シール部が平坦面となし、前記分岐枝管の端末部に拡径部を設けてその外周面に受圧部を形成し、それに連なる接続頭部のシート面と、前記継手金具の平坦面との間にガスケットを介在させ、予め分岐枝管側に組込んだワッシャに形成した押圧座面部を、前記分岐枝管の拡径部の外周面に形成された受圧部に当接係合させ、締結用ナットにより接続構成したことを特徴とするものである。
また、本発明に係る内燃機関用燃料レールにおける分岐枝管の継手構造は、ステンレス鋼製もしくは少なくとも内面に防錆処理が施された鋼製の内燃機関用燃料レールと、接続端部に相手座部への押圧面となす截頭円錐状、もしくは円弧状あるいは算盤珠状の接続頭部を有し、かつ軸芯内部の流通孔の孔周面全長にわたって薄肉からなるステンレス製の内管を密嵌状に内装して形成してなる分岐枝管とを、継手金具を介して締結用ナットにより接続構成してなる継手構造において、前記接続頭部の先端部を覆うように前記ステンレス製の内管の先端部を外側に折り曲げてシート面を形成し、該シート面と前記継手金具の受圧面とを当接係合させ、締結用ナットにより接続構成したことを特徴とするものである。
さらに、前記継手構造において、接続頭部の先端部を覆うステンレス製の内管の外側折り曲げ部は、当該接続頭部の先端部と面一となるように当該接続頭部に埋設してシート面を形成したことを特徴とするものである。
本発明に係る内燃機関用燃料レールにおける分岐枝管は、外管と内管との二重管で構成され、該内管がステンレス鋼管または内周面に防錆皮膜が施された管体からなり、該内管の内周面がシート面となるように外管の開口端面を内管開口端部で覆った構造となし、燃料に対するシール面を含む接液部分の全てが前記内管によって覆われ、かつ該内管の受圧部が前記外管によって支持され、さらに端末部に締結用ナットの受圧部としてのスプールまたは突起が設けられることを特徴とするとする、内燃機関用燃料レールにおける分岐枝管を要旨とするものである。
上記本発明に係る分岐枝管は、前記内管の防錆皮膜が、Niめっき皮膜もしくはNi基合金皮膜、またはNiめっき皮膜とNi−P合金めっき皮膜の複層もしくは拡散した単層の皮膜で構成されていることを特徴とするものである。
本発明はさらに、外管と内管とからなる二重管の当該外管、内管の両方を同時に管軸方向にパンチで押し込むことにより、ナットの受圧部としてのスプールまたは突起を外管と内管で形成し、次いで接続端部側の外管の管端部を切除して内管の管端部を突出させ、しかる後、当該内管の前記突出部を外側に折り曲げて外管の接続端部側管端面を覆うと共に、該内管の内周面でシート面を形成することを特徴とする、内燃機関用燃料レールにおける分岐枝管の製造方法を要旨とするものである。
本発明に係る上記分岐枝管の製造方法において、外管と内管とからなる二重管の当該外管のみを管軸方向にパンチで押し込むことにより、締結用ナットの受圧部としてのスプールまたは突起を外管のみで形成し、次いで該外管の接続側管端より突出している内管の突出部を外側に拡径しながら折り曲げ、該外管の接続側管端面を覆うと共に、該内管の内周面でシート面を形成することを特徴とするものである。
また、本発明に係る上記分岐枝管の製造方法において、外管と内管とからなる二重管の当該外管のみを管軸方向にパンチで押し込むことにより、締結用ナットの受圧部としてのスプールまたは突起を外管のみで形成し、前記外管の接続頭部を前記継手金具の接続シール部に形成される傾斜角αの凹状のテーパー面に対応して、同様の傾斜角に加工することにより傾斜角αのテーパー壁を有する接続頭部を形成し、次いで外管の接続側管端より突出している内管の突出部を外側に拡径しながら折り曲げ、該外管の接続側管端面を覆うと共に該内管の内周面で、角度α±5°の凸状のテーパー壁を有するシート面を形成することを特徴とするものである。
本発明における上記分岐枝管の製造方法において、前記傾斜角αが前記継手金具の分岐孔の軸心に対して50〜120°であることを特徴とするものである。
さらに、本発明に係る上記分岐枝管の製造方法において、前記外管の接続頭部に形成される傾斜角αのテーパー壁が、機械的手段による切削によって形成されることを好ましい態様とするものである。
本発明に係る上記内燃機関用燃料レールにおける分岐枝管の製造方法において、前記外管の接続頭部が分岐枝管の管軸に対してほぼ直角に形成され、該外管の接続頭部を覆う内管が、折り返し二重構造のテーパー壁面に形成されることを特徴とするものである。
本発明はまた、接続端部に相手座部への押圧面となす截頭円錐状、もしくは円弧状あるいは算盤珠状の接続頭部を有し、かつ軸芯内部の流通孔の孔周面全長にわたって薄肉からなるステンレス製の内管を密嵌状に内装し、前記接続頭部の先端部を覆うように前記ステンレス製の内管の先端部を外側に折り曲げてシート面を形成してなる分岐枝管の製造方法であって、軸芯内部の流通孔の孔周面全長にわたって薄肉からなるステンレス製の内管を密嵌状に内装した管体の外管のみを管軸方向にパンチで押し込むことにより前記接続頭部を成形すると同時に前記内管を突出させ、次いで外管の接続側管端より突出している前記内管の突出部を外側に拡径しながら折り曲げ、該外管の接続頭部の先端部を覆うと共に該内管の内周面でシート面を形成することを特徴とする内燃機関用燃料レールにおける分岐枝管の製造方法を要旨とするものである。なお、前記接続頭部を形成する工程において、前記外管を長く、前記内管を短く管軸方向にパンチで押し込んでもよい。
本発明に係る上記分岐枝管の製造方法において、前記内管の突出部を外側に拡径しながら折り曲げてシート面を形成する際、ステンレス製の内管内に芯金を挿入して前記内管の突出部を外側に拡径しながら折り曲げることを特徴とするものである。
さらに、本発明に係る上記分岐枝管の製造方法において、前記接続頭部の先端部を覆うステンレス製の内管の外側折り曲げ部が当該接続頭部の先端部と面一となるように前記内管の突出部を当該接続頭部に埋設させてシート面を形成することを特徴とするものである。
本発明の継手構造は、燃料レールと分岐枝管の接液部が燃料に対する耐食性を有するステンレスまたはNiめっき皮膜やNi基合金めっき皮膜で形成されているため、燃料レールと分岐枝管は腐食環境から完全に保護された状態が確保され防食面における優れた機能が保証される。また、分岐枝管は、外管と内管とからなる二重管で構成され、かつ内管がステンレス鋼管または内周面にNiもしくはNi基合金皮膜等の防錆皮膜が施された管体からなり、燃料に対するシール面を含む接液部分の全てが内管によって覆われ、該内管によって形成されるシート面を含む受圧部等が、外管で保護されるように支持されていることにより、強固な接続状態が健全な状態で維持されると共に、該内管の内周面がシート面となっているため、低級ガソリン、サワーガソリン、DME(ヂメチルエーテル)、アルコール、およびアルコール混合燃料、軽油、水素等の使用に十分に耐えるのみならず、内周面に銅の皮膜が存在しないため燃料の劣化が生じることがない。さらに、継手金具と分岐枝管の間にガスケットを介在させて接続構成した場合には、シート面がガスケットを介して形成されるため、より優れた気密性が確保され、15〜200MPaという高圧の各種燃料をより確実にシールすることができる。また、本発明の分岐枝管の製造方法によれば、簡略な操作によって腐食環境から完全に保護された状態が確保され、防食面における優れた機能を有する分岐枝管を得ることができるため、かつ燃料の劣化を未然に防止するなどの特性に優れた分岐枝管を、低コストで提供することができる。
本発明の内燃機関用燃料レールにおける分岐枝管の接続構造に係る本管レールは、内部を流通路とする管径30m/m程度以下の圧力配管炭素鋼管あるいはステンレス鋼管等の厚肉鋼管材あるいは鋼板からの板金製の管状のレールからなり、その内面の少なくとも燃料に接する部分にはニッケルめっきもしくはニッケル基合金めっき等の防錆処理が施され、該流通路に通じて軸方向にわたる周壁部の内周壁面に、単数もしくは間隔を保持して複数個所での分岐接続体用の貫孔が穿設されている。
なお、本発明における上記の鋼材に代えて、例えばステンレス鋼以外のインコネル、ハステロイ、チタン、チタン基合金あるいはニッケル基合金等の高強度にしてかつ高耐食性に優れる耐熱性金属材料を採用することも可能である。
一方、分岐枝管を接続するための継手金具は、軸心に高圧燃料用の流路となる分岐孔を有する円筒体であり、その外方の接続シール部の外周面には分岐枝管に組み込まれる締結用ナットと螺合するための雄螺子が形成され、該分岐枝管および締結用ナットと共に本管レールと同種または異種の鋼管材もしくは鋼材からなり、該継手金具の接続端部を前記本管レールの貫孔に嵌挿させ、その先端部を本管レールの流通路内に突出させてろう付等により接合される。
また、高圧燃料噴射用の分岐枝管は、基本的に内管と外管とからなる二重管であり、該内管は管材そのものがステンレス鋼管などの耐食性鋼管材で構成されるか、若しくは少なくともその内周面にニッケルめっき若しくはニッケル基合金めっき等の防錆処理が施され、外管の外周面に比較して燃料に対する防食性能が優れており、しかも外管の開口端部を内管の開口端部で覆うようにシート面を形成し、該シート面と前記継手金具の接続シール部との間に好ましくはガスケットを介在させ、分岐枝管の端末に設けたスプールなどによって形成された受圧部に対し、該分岐枝管に予め組込んだ締結用の袋ナットによる押圧を伴いつつ螺合することによって、本発明による内燃機関用燃料レールにおける分岐枝管の接続構造体が構成される。
本発明における前記継手金具の円筒部外径は概ね14m/m程度、肉厚4m/m程度で、前記本管レールと継手金具との接合手段は、高い気密を維持した状態で、しかも強固に接合されて組込まれることが可能な範囲において制限しないが、用いられる鋼材の材質に対応して、通常銅ろうまたはニッケルろうを用いたろう付が好ましく、炉内ろう付による連続ろう付がより好ましく採用される。
[実施例]
以下、本発明を、添付した図面に基づいてさらに詳細に説明する。なお、本発明はこれにより拘束されるものではなく、本発明の主旨の範囲内において自由に設計変更が可能であることはいうまでもない。
図1は本発明の内燃機関用燃料レールにおける分岐枝管の継手構造の第1実施例を示す要部概略縦断面図、図2は同じく第2実施例を示す要部概略縦断面図、図3は同じく第3実施例を示す要部概略縦断面図、図4は同じく第4実施例を示す要部概略縦断面図、図5は同じく第5実施例を示す要部概略縦断面図、図6は同じく第6実施例を示す要部概略縦断面図、図7は同じく第7実施例を示す要部概略縦断面図、図8は同じく第8実施例を示す要部概略縦断面図、図9は同じく第9実施例を示す要部概略縦断面図、図10は本発明の内燃機関用燃料レールにおける分岐枝管の製造方法の第1実施例を概略的に示す工程図、図11は同じく分岐枝管の製造方法の第2実施例を概略的に示す工程図、図12は同じく分岐枝管の製造方法の第3実施例を概略的に示す半截工程図、図13は同じく分岐枝管の製造方法の第4実施例を概略的に示す半截工程図、図14は同じく分岐枝管の製造方法の第5実施例を概略的に示す工程図、図15は図14の第5実施例における成形前の二重金属管の他の管端部を示す断面図、図16は同じく図14の第5実施例により製造される分岐枝管の変形例を示す要部断面図であり、1、11、21、31、41、51、61、71、81は本管レール、2、12、22、32、42、52、62、72、82は継手金具、3、13、23、33、43、53、63、73、83は分岐枝管、4、14、24、34、44、54、64、74、84は締結用ナット、5、15、25、35、45、55、65、75はガスケットである。
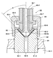
図1に示す第1実施例の内燃機関用燃料レールにおける分岐枝管の継手構造は、本管レール1の周壁部に燃料用流通路1−1に通ずる貫孔1−2を設け、該貫孔1−2に継手金具2の接続端部2−1を、その先端部が該流通路1−1内に突出するまで嵌挿した状態をもって相互に接合している。なお、接合手段としてはろう着、溶接もしくは拡散接合などから任意に選択が可能であるが、ニッケルろうを用いた炉内ろう付けを採用することにより効率的に連続ろう付を実施することができる。
継手金具2は、外方開口端部に当該継手金具分岐孔軸に直角な平坦面2−2aを有する断面凹形状の接続シール部2−2が設けられており、この接続シール部2−2にリング状のガスケット5を介して二重管構造の分岐枝管3を凹凸嵌合し、予め分岐枝管3に組み込んだ締結用袋ナット4を、該継手金具2の外周面に形成した雄螺子に螺合し、該分岐枝管3の端末に設けたスプール3−4によって形成された受圧部3−5に対する押圧を伴いつつ締着して、本実施例における内燃機関用燃料レールにおける分岐枝管の継手構造を接続構成する。
また、分岐枝管3は、内管3−1がステンレス鋼管、外管3−2が通常の鉄系の鋼管とからなる二重管で構成され、かつ外管3−2の開口端面を内管3−1の開口端部で覆ってシート面3−3を形成し、該シート面3−3と継手金具2のシール部2−2に形成された平坦面2−2aとの間に、好ましくはリング状のガスケット5を介して締着されるため、外管3−2によって支持された前記シート面3−3の押圧により、高圧高温の燃料に対する気密が強固に維持され、かつ該燃料との接液部分3−7には鉄系材料等の露出部が存在せず、その優れた防錆能が得られる。
なお、本実施例においては内管3−1そのものにステンレス鋼管を採用したが、該内管3−1に通常の鉄系鋼管を採用し、該内管3−1の内周面に例えばニッケルめっき等の防錆皮膜を施すことも可能であり、該内管3−1の内周面がシート面3−3となるようにして二重管構造の分岐枝管3を構成してもよい。
図2に示す第2実施例の内燃機関用燃料レールにおける分岐枝管の継手構造は、二重管構造の分岐枝管13のスプール13−4を、外管13−2のみで設けて締結用ナット14に対する受圧部13−5を形成した以外は、第1実施例と同様にして内燃機関用燃料レールにおける分岐枝管の継手構造を構成したもので、その構造は、本管レール11の周壁部に設けた燃料の流通路11−1に通ずる貫孔11−2に、継手金具12の接続端部12−1を内部に突出させて嵌挿した状態をもって相互に接合し、該継手金具12の外方開口端部に設けた接続シール部12−2に好ましくはリング状のガスケット15を介して二重管構造の分岐枝管13を凹凸嵌合し、予め分岐枝管13に組み込んだ締結用袋ナット14を、該継手金具12の外周面に形成した雄螺子に螺合し、該分岐枝管13の端末に設けたスプール13−4によって形成された受圧部13−5に対する押圧を伴いつつ締着して、本実施例における内燃機関用燃料レールにおける分岐枝管の継手構造を接続構成したものである。
本実施例においても、分岐枝管13は、内管13−1がステンレス鋼管、外管13−2が通常の鉄系の鋼管とからなる二重管で構成され、かつ外管13−2の開口端面を内管13−1の開口端部で覆ってシート面13−3を形成し、該シート面13−3と継手金具12のシール部12−2に形成された平坦面12−2aとの間に、リング状のガスケット15を介して締着されるため、外管13−2によって支持された前記シート面13−3の押圧により、高圧高温の燃料に対する気密が強固に維持され、かつ該燃料との接液部分13−7には鉄系材料等の露出部が存在せず、その優れた防錆能が得られる。
図3に示す第3実施例の内燃機関用燃料レールにおける分岐枝管の継手構造は、二重管構造の分岐枝管23の端末に突起23−4を形成して、締結用ナットに対する受圧部23−5とし、継手金具22の外方開口端部に設けた該継手金具分岐孔軸に直角な平坦面22−2aを有する断面凹形状の接続シール部22−2を、外方に広がる傾斜面とした以外は、第1実施例と同様にして内燃機関用燃料レールにおける分岐枝管の継手構造を構成し、高圧高温の燃料に対する強固な気密の維持や、燃料との接液部分23−7には鉄系材料等の露出部が存在せず、その優れた防錆能が高度に保たれる。
なお、本実施例による二重管構造の分岐枝管23は、その接続頭部に截頭円錐状の接続頭部23−4が設けられ、該接続頭部23−4の背面が締結用袋ナット24に対する受圧部23−5なり、先端の管端部には内管23−1の管端部で覆われるようにしてシート面23−3が形成され、本発明に係る内燃機関用燃料レールにおける分岐枝管が構成される。かかる二重管構造の分岐枝管23も、内管23−1がステンレス鋼管または内周面に防錆皮膜が施された管体からなり、上記のように該内管23−1の内周面がシート面23−3となるように外管23−2の開口端面を内管23−1の開口端部で覆った構造となしたものである。
図4に示す第4実施例の内燃機関用燃料レールにおける分岐枝管の継手構造は、継手金具32の接続シール部32−2を円錐凸形状とし、分岐枝管の開口端末部をシングルフレアー形状とし、前記円錐凸形状のシール部32−2と前記シングルフレアー形状のシート面33−3との間に、リング状円錐ガスケットを介在させて接続した構成した以外は、実質的に上記各実施例と同様にして燃料レールにおける分岐枝管の接続構造を構成し、高圧高温の燃料に対する気密の維持や防錆能においてほぼ同等の効果を奏する。
その継手構造をより具体的に説明すると、本管レール31の周壁部に設けた燃料の流通路31−1に通ずる貫孔31−2に、継手金具32の接続端部32−1を内部に突出させて嵌挿した状態をもって相互に接合し、該継手金具32の外方開口端部に設けた円錐斜面32−2aを有する円錐凸形状の接続シール部32−2に、好ましくはリング状の円錐ガスケット35を介して二重管構造の分岐枝管33の先端シート面33−3を当接嵌合し、該分岐枝管33の端末に設けられたシングルフレアー部33−4の外周面を受圧部として、予め該分岐枝管33に組み込んだ締結用袋ナット34による押圧を伴いつつ、継手金具32の雄螺子に螺合することにより締着して接続構成したものであり、前記二重管構造の分岐枝管33も内管33−1がステンレス鋼管または内周面に防錆皮膜が施された管体からなり、かつ内管33−1の内周面がシート面33−3となるように内管33−1と外管33−2の開口端面(接続シール部)をシングルフレアー形状となしたものである。
図5に示す第5実施例の内燃機関用燃料レールにおける分岐枝管の継手構造は、継手金具42の接続シール部42−2を、該継手金具42の軸心から外方に拡径する断面凹形状のテーパー壁とし、分岐枝管43の開口端末に形成されたシングルフレアー形状のシート面43−3との間に介在させるガスケットを、前記リンク状円錐ガスケット35に替えて算盤玉形ガスケット45とした以外は、前記第4実施例に示す継手構造と同様の構成としたもので、その構造は、本管レール41の周壁部に設けた燃料の流通路41−1に通ずる貫孔41−2に、継手金具42の接続端部42−1を内部に突出させて嵌挿した状態をもって相互に接合し、該継手金具42の外方開口端部に設けた円錐斜面42−2aを有する円錐凸形状の接続シール部42−2に、算盤玉形ガスケット45を介して二重管構造の分岐枝管43の先端シート面43−3を当接嵌合し、該分岐枝管43の端末に設けられたシングルフレアー部43−4の外周面を受圧部として、予め該分岐枝管43に組み込んだ締結用袋ナット44による押圧を伴いつつ、継手金具42の雄螺子に螺合することにより締着して接続構成したものであり、前記二重管構造の分岐枝管43も内管43−1がステンレス鋼管または内周面に防錆皮膜が施された管体からなり、かつ内管43−1の内周面がシート面43−3となるように内管43−1と外管43−2の開口端面(接続シール部)をシングルフレアー形状となしたものである。
従って、本実施例に係る継手構造も、高圧高温の燃料に対する気密の維持や防錆能においてほぼ同等の効果を奏する。
図6に示す第6実施例の内燃機関用燃料レールにおける分岐枝管の継手構造は、本管レール51の周壁部に設けた燃料の流通路51−1に通ずる貫孔51−2に、その接続端部52−1を内部に突出させて嵌挿した状態をもって相互に接合された継手金具52の外方開口端部に設けられる接続シール部52−2が、該継手金具52の分岐孔52−3の軸芯に対して直角な平坦面52−2aを有する断面凸形状に形成され、二重管構造の分岐枝管53は端末に拡径部53−4が形成され、該拡径部53−4に連なる管端部に内管53−1と外管53−2とが面一のシート面53−3が設けられ、前記継手金具52の凸形状の接続シール部52−2に外嵌したリング状のガスケット55を介して該二重管構造の分岐枝管53を凹凸嵌合し、予め該分岐枝管53の拡径部53−4と締結用袋ナット54の間に組み込んだワッシャ56の押圧座面部56−1を、該拡径部53−4の受圧部53−5に対する押圧を伴いつつ締結用袋ナット54を継手金具52の雄螺子に螺合・締着して接続構成したものであり、高圧高温の燃料に対する気密の維持や防錆能においてほぼ同等の効果を奏する。
なお、本実施例における二重管構造の分岐枝管53も、前記第4実施例および第5実施例における分岐枝管と同様、内管53−1と外管53−2とからなる二重管で構成され、かつ内管53−1がステンレス鋼管または内周面に防錆皮膜が施された管体からなり、内管53−1と外管53−2の開口端面がシート面53−3となるように形成し、同様拡径部53−4も内管53−1と外管53−2とで形成し、その外周面をワッシャ56の押圧座面部56−1に対する受圧部53−5としたものである。
図7に示す第7実施例の内燃機関用燃料レールにおける分岐枝管の継手構造は、本管レール61の周壁部に設けた燃料の流通路61−1に通ずる貫孔61−2に、その接続端部62−1を内部に突出させて嵌挿した状態をもって相互に接合された継手金具62の接続シール部62−2に、分岐孔62−3の軸芯に対する傾斜角αが58°の断面凹状のテーパー面62−2aを形成し、内管63−1と外管63−2とからなる二重管構造を有する分岐枝管63の該外管63−2の端末に、スプール63−4を設けて締結用袋ナット64に対する受圧部63−5を形成し、その先端に連なる接続頭部を、前記継手金具62の接続シール部62−2における分岐孔62−3の軸芯に対する傾斜角58°を有する凹状のテーパー面62−2aに対応して、前記分岐孔62−3の軸芯に対する傾斜角αが58°の凸状のテーパー壁63−6を有する形状とし、該凸状のテーパー壁63−6を有する外管63−2の接続頭部を覆うようにして内管63−1の管端部を外側に折り曲げてコーン状のシート面63−3を形成し、該シート面63−3と前記継手金具62の接続シール部62−2に形成された前記テーパー面62−2aとの間に、好ましくは略リング形状の円錐ガスケット65を介在させ、予め分岐枝管63に組み込んだ締結用袋ナット64を、該継手金具62の外周面に形成した雄螺子に螺合し、該分岐枝管63の端末に設けたスプール63−4によって形成された受圧部63−5に対する押圧を伴いつつ締着して、本実施例における内燃機関用燃料レールにおける分岐枝管の継手構造を接続構成したものである。
本実施例における前記分岐枝管63は、内管63−1が薄肉のステンレス鋼管、外管63−2が通常の鉄系の厚肉の鋼管とからなる二重管で構成され、かつ外管63−2の開口端面を内管63−1の開口端部で覆ってシート面63−3を形成し、該シート面63−3を含む内管63−1の受圧部は前記外管63−2によって保護するように支持され、その剛性が付与されることにより、継手金具62のシール部62−2に形成されたテーパー面62−2aとの間に、リング状のガスケット65を介して締着される際に、テーパー面同士の圧着による結合により、高圧高温の燃料に対する気密が強固に維持され、かつ該燃料との接液部分63−7には鉄系材料等の露出部が存在せず、その優れた防錆能が得られる。 なお、本実施例においては内管63−1そのものにステンレス鋼管を採用したが、該内管63−1に通常の鉄系鋼管を採用し、該内管63−1の内周面に例えばニッケルめっき等の防錆皮膜が施すことも可能であり、該内管63−1の内周面がシート面63−3となるようして二重管構造の分岐枝管63を構成してもよい。
図8に示す第8実施例の内燃機関用燃料レールにおける分岐枝管の継手構造は、本管レール71の周壁部に設けた燃料の流通路71−1に通ずる貫孔71−2に、その接続端部72−1を内部に突出させて嵌挿した状態をもって相互に接合された継手金具72の接続シール部72−2に、分岐孔72−3の軸芯に対する傾斜角αが58°の断面凹状のテーパー面72−2aを形成し、一方、内管73−1と外管73−2とからなる二重管構造を有する分岐枝管73は、外管73−2によって形成される分岐枝管73の接続頭部の先端形状が、該分岐枝管73の軸心に対してほぼ直角に形成され、該接続頭部の後方に連なるスプール73−4の背面には、締結用袋ナット74に対する受圧部73−5が形成され、内管73−1の管端の突出部が外側に折り曲げられて前記接続頭部の壁面を覆って、さらに内側に折り曲げられて折り返し二重構造のテーパー壁となし、分岐枝管73の軸心に対して傾斜角αが58°のシート面73−3が形成され、該シート面73−3と前記継手金具72の接続シール部72−2に形成された前記テーパー面72−2aとの間に、好ましくは略リング形状の円錐ガスケット75を介在させ、予め分岐枝管73に組み込んだ締結用袋ナット74を、該継手金具72の外周面に形成した雄螺子に螺合し、該分岐枝管73の端末に設けたスプール73−4によって形成された受圧部73−5に対する押圧を伴いつつ締着して、本実施例における内燃機関用燃料レールにおける分岐枝管の継手構造を接続構成したもので、この場合も高圧高温の燃料に対する気密が強固に維持され、かつ該燃料との接液部分73−7には鉄系材料等の露出部が存在せず、その優れた防錆能が得られる。
図9に示す第9実施例の内燃機関用燃料レールにおける分岐枝管の継手構造は、本管レール81の周壁部に設けた燃料の流通路81−1に通ずる貫孔81−2に、その接続端部82−1を内部に突出させて嵌挿した状態をもって相互に接合された継手金具82の接続シール部82−2に、流通路81−1に通ずる分岐孔82−3部を外方に開口する受圧面82−2aとなし、ステンレス製の薄肉の内管83−1と通常の鉄系の鋼管からなる厚肉の外管83−2とからなる二重管構造を有する分岐枝管83の該外管83−2の端末に、算盤珠状の接続頭部83−4を設けて締結用袋ナット84に対する受圧部83−5と、前記継手金具82の接続シール部82−2に対応する押圧面83−6を形成し、前記押圧面83−6を有する外管83−2の接続頭部83−4を覆うようにして内管83−1の管端部を外側に折り曲げてシート面83−3を形成し、該シート面83−3を前記継手金具82側の受圧面82−2aに当接係合せしめた状態で、予め分岐枝管83に組み込んだ締結用袋ナット84を、該継手金具82の外周面に形成した雄螺子に螺合し、該分岐枝管83の端末に設けた接続頭部83−4によって形成された受圧部83−5に対する押圧を伴いつつ締着して、本実施例における内燃機関用燃料レールにおける分岐枝管の継手構造を接続構成したものである。
本実施例における前記分岐枝管83は、内管83−1が薄肉のステンレス鋼管、外管83−2が通常の鉄系の厚肉の鋼管とからなる二重管で構成され、かつ外管83−2の接続頭部83−4の開口端面を内管83−1の開口端部で覆ってシート面83−3が形成され、継手金具82に締着される際に、シート面同士の圧着による結合により、高圧高温の燃料に対する気密が強固に維持されると共に、燃料との接液部分83−7には鉄系材料等の露出部が存在せず、その優れた防錆能が得られる。
次に、前記各実施例において採用された本発明による内燃機関用燃料レールにおける分岐枝管3、13、63、73、83の製造方法について説明する。
まず、前記継手構造の第1実施例において採用された分岐枝管3は、図10にその製造方法を第1実施例として示すように、内管3−1と外管3−2とからなる二重構造の金属管の端末を、該内管3−1および該外管3−2同時に管軸方向にパンチで押し込むことにより、内外管によるスプール3−4を設け、該スプール3−4の外周面に締結用袋ナット4に対する受圧部3−5が形成される。次いで該外管3−2の管端部を切除して内管3−1の管端部を突出させ、該突出部を外側に拡径しながら折り曲げ、該外管3−2の管端部を覆うと共に、該内管3−1の内周面でシート面3−3を形成し、接液部3−7が全て防錆能に優れる内管3−1で覆われ、かつ該内管3−1のシート面3−3を含む受圧部等が前記外管3−2によって保護するように支持された分岐枝管3を得ることができる。
なお、この二重構造の分岐枝管3において、内管3−1を、外管3−2に対する防錆能に優れる金属材料で構成するか、もしくは内管3−1の内周面に防錆処理を施すことについては前記継手構造の第1実施例と同様である。なお、第1〜第8実施例のごとくシート面83−3と受圧面82−2aの間にガスケットを介在させることができることはいうまでもない。
前記継手構造の第2実施例において採用された分岐枝管13の製造方法は、図11にその製造方法を第2実施例として示すように、内管13−1と外管13−2とからなる二重構造の金属管の端末のうち、該外管3−2のみを管軸方向にパンチで押し込むことにより、外管によるスプール13−4を設け、該スプール13−4の外周面に締結用袋ナット14に対する受圧部13−5が形成される。次いで、外管13−2によるスプール部13−4の形成により突出した内管13−1の管端部を、外側に拡径しながら折り曲げ、外管13−2の管端部を覆うと共に、内管13−1の内周面でシート面13−3を形成し、接液部13−7が全て防錆能に優れる内管13−1で覆われ、かつ該内管13−1のシート面13−3を含む受圧部等が前記外管13−2によって保護するように支持された分岐枝管
13を得ることができる。
なお、この二重構造の分岐枝管13においても、内管13−1を、外管13−2に対する防錆能に優れる金属材料で構成するか、もしくは内管13−1の内周面に防錆処理を施すことについては前記と同様である。
前記継手構造の第7実施例において採用された分岐枝管63の製造方法は、図12にその製造方法を第3実施例として示すように内管63−1と外管63−2とからなる二重構造の金属管(a)の端末において、外管63−2のみを管軸方向にパンチで押し込むことにより、当該外管にスプール63−4を設け(b)、該スプール63−4の外周面に締結用袋ナット64に対する受圧部63−5を形成する。この時、前記内管63−1の管端が外管63−2の管端に対して突出する。次いで、外管63−2の管端部を該分岐枝管63の軸心に対して傾斜角αが58°となるよう機械的に切削してテーパー壁63−6を形成すると(c)、前記突出した内管63−1の管端部を外側に拡径しながら折り曲げ(d)、外管63−2の管端部に形成されたテーパー壁63−6を覆うと共に、内管63−1の内周面で該分岐枝管63の軸心に対して58°の傾斜角αを有するシート面63−3を形成し(e)、接液部63−7が全て防錆能に優れる内管63−1で覆われ、かつ内管63−1のシート面63−3を含む受圧部等が前記外管63−2によって保護するように支持された分岐枝管63を得ることができる。
なお、この二重構造の分岐枝管63においても、内管63−1を、外管63−2に対する防錆能に優れる金属材料で構成するか、もしくは該内管の内周面に防錆処理を施すことについては前記と同様である。
前記継手構造の第8実施例において採用された分岐枝管73の製造方法は、図13にその製造方法を第4実施例として示すように、内管73−1と外管73−2とからなる二重構造の金属管(a)の端末の、外管73−2のみを管軸方向にパンチで押し込むことにより、外管73−2の端末の接続頭部にスプール73−4を設け(b)、該スプール73−4の外周面の後方に締結用袋ナット74に対する受圧部73−5を形成する。この時、前記接続頭部の先端面が同図(b)に示すように分岐枝管73の軸心に対してほぼ直角の壁面73−6に形成され、内管73−1の管端が外管73−2の管端に対して突出する。次いで、前記突出した内管73−1の管端部を、前記外管の直角の壁面73−6に密着するように外側に拡径しながら折り曲げ、該外管73−2の接続頭部を覆うと共に、同図(c
)に示すように該内管73−1を内側に折り曲げ、折り返し二重構造のテーパー壁を形成し、該テーパー壁を分岐枝管73の軸心に対して58°の傾斜角αとなるよう調整してシート面73−3を形成し、接液部73−7が全て防錆能に優れる内管73−1で覆われ、かつ該内管73−1のシート面73−3を含む受圧部等が前記外管73−2によって保護するように支持された分岐枝管73を得ることができる。
なお、この二重構造の分岐枝管73においても、内管73−1を、外管73−2に対する防錆能に優れる金属材料で構成するか、もしくは内管の内周面に防錆処理を施すことについては前記と同様である。
前記継手構造の第9実施例において採用された分岐枝管83の製造方法は、図14にその製造方法を第5実施例として示すように、ステンレス製の内管83−1と外管83−2とからなる二重構造の金属管(a)の端末の、外管83−2を長く、内管83−1を短く管軸方向にパンチで押し込むことにより、外管83−2の端末に算盤珠状の接続頭部83−4を設け(b)、内管83−1を外管83−2の内面に密着させると共に該接続頭部83−4の首下部に締結用袋ナット84に対する受圧部83−5を形成する。この成形により、内管83−1の管端が外管83−2の管端に対して突出する(b)。次いで、前記突出した内管83−1の管端部をラッパ状に拡径し(c)、さらに前記外管の算盤珠状の接続頭部83−4の外壁面に密着するように外側に拡径しながら折り曲げ()、外管83−2の接続頭部83−4を覆うと共に、その外側折り曲げ部を接続頭部83−4の外壁面に強く押し付けて該
壁面と面一になるように接続頭部に埋設してシート面83−3を形成することにより、接液部分83−7が全て防錆能に優れる内管83−1で覆われ、かつ接続頭部83−4のシート面が内管83−1で形成された分岐枝管83を得ることができる。
なお、外管83−2の算盤珠状の接続頭部83−4に内管83−1の端部を折り曲げる際は、内管83−1内に芯金(図示せず)を挿入して折り曲げ成形してもよい。この芯金は、パンチ(図示せず)と一体または別体のいずれでもよい。
前記図14に示す分岐枝管83の製造方法における成形前の二重金属管管の管端部は、図15(a)に示すように予め内管83−1を外管83−2より適当長さ突出させるか、同図(b)に示すように予め外管83−2を内管83−1より適当長さ突出させて、頭部成形を実施してもよい。
また、前記図14に示す製造方法により製造される分岐枝管83の接続頭部83−4の外壁面を覆う内管の折り返し部は、図16に示すように必ずしも接続頭部に埋設して外壁面と面一にする必要はなく、段差が存在してもよい。また、接続頭部の内側にポケット部(空隙)が存在するタイプの場合、内管は必ずしもこのポケット部内面に沿って密着させる必要はなく、内管とポケット部との間に環状の空隙が存在してもよい。
上記した各実施例に示す本発明の継手構造は、各本管レール1、11、21、31、41、51、61、71、81と各分岐枝管3、13、23、33、43、53、63、73、83の接液部分が燃料に対する耐食性を有するステンレスまたはNiめっき皮膜やNi基合金めっき皮膜の複層もしくは拡散した単層の皮膜で形成されているため、本管レールや分岐枝管に錆等の発生が皆無であり、また内周面に銅の皮膜が存在しないため燃料の劣化が生じることもない。さらに、各継手金具2、12、22、32、42、52、62、72と各分岐枝管3、13、23、33、43、53、63、73の間にガスケット5、15、25、35、45、55、65、75を介在させて接続構成した場合には、シート面がガスケットを介して形成されるため、より優れた気密性が確保され、低い圧力はもとより15〜200MPaという高圧の燃料をより確実にシールすることができる。
また、上記した各実施例における本発明の分岐枝管は、基本的に燃料に対する防錆能に優れる内管と、該内管を保護するように外嵌された外管とからなる二重管で構成され、燃料に対する接液部分は全て内管で覆い、該内管のシート面を含む受圧部等を外管で保護するように支持する構造となっている。従って、高圧で腐食性の強い燃料に直接接触する耐食性素材からなる内管を、剛性の高い鋼材からなる外管によってサポートして、シール面等に対する強固な締着を可能としている。また、分岐枝管と継手金具とのシール面を分岐孔に対する傾斜角を同一のテーパー壁とすることにより、分岐孔の芯合せが容易でかつ該シート面のズレを未然に防止することができ、ガスケットの作用が相まってシーリングがより強固なものとなる。なお、継手金具並びに分岐枝管に形成される上記の傾斜角αは、分岐孔の軸心に対して50〜120°に範囲で任意であるが、例えば自動車用ディーゼルエンジンにおけるインジェクターとポンプをつなぐ噴射管接続頭部の角度である60°程度が好ましい。
さらに、本発明の分岐枝管の製造方法については前記各実施例において示すとおりであるが、切削加工やパンチによる押圧加工、さらには各部材の接合手段等も任意であり、本発明の趣旨に沿うものであれば他のいかなる手段を用いることを妨げない。また、上記各実施例における分岐枝管の内管の防錆処理として、ニッケルめっきもしくはニッケル基合金めっきによる防錆皮膜を例示したが、ニッケル皮膜による第1次防錆処理の上に、Ni−P合金等のニッケル基合金めっき皮膜を施して二層とすることも可能であり、更にその皮膜を加熱して拡散もしくは溶融させて単層とすることもできる。
なお、上記実施例においては実施例1、実施例2、実施例7〜実施例9における分岐枝管の製造方法のみその一例を開示したが、その他の分岐枝管もほぼ同様の簡略な工程によって製造することができるため、比較的少ない工数で燃料に対するる耐食性に優れ、かつ該燃料の劣化を未然に防止し得る分岐枝管を、低コストで製造することができる。
本発明の火花点火もしくは圧縮点火方式の内燃機関用燃料レールにおける分岐枝管の継手構造は、低級ガソリン、サワーガソリン、DME、アルコールおよびアルコール混合燃料、軽油、水素等の使用に十分に耐え、またガソリンの劣化が生じることがない上、低圧はもちろん例え15〜200MPaという高圧の燃料であっても確実にシールすることができる。また、本発明による内燃機関用燃料レールにおける分岐枝管の継手構造は、ガソリン以外の他の高圧燃料や高圧流体や高圧ガス等の配管継手など、幅広い用途に利用が可能である。
本発明の内燃機関用燃料レールにおける分岐枝管の継手構造の第1実施例を示す要部概略縦断面図である。 同じく第2実施例を示す要部概略縦断面図である。 同じく第3実施例を示す要部概略縦断面図である。 同じく第4実施例を示す要部概略縦断面図である。 同じく第5実施例を示す要部概略縦断面図である。 同じく第6実施例を示す要部概略縦断面図である。 同じく第7実施例を示す要部概略縦断面図である。 同じく第8実施例を示す要部概略縦断面図である。 同じく第9実施例を示す要部概略縦断面図である。 本発明の内燃機関用燃料レールにおける分岐枝管の製造方法の第1実施例を概略的に示す工程図である。 同じく分岐枝管の製造方法の第2実施例を概略的に示す工程図である。 同じく分岐枝管の製造方法の第3実施例を概略的に示す半截工程図である。 同じく分岐枝管の製造方法の第4実施例を概略的に示す半截工程図である。 同じく分岐枝管の製造方法の第5実施例を概略的に示す工程図である。 図14の第5実施例における成形前の二重金属管の他の管端部を示す断面図である。 同じく図14の第5実施例により製造される分岐枝管の変形例を示す要部断面図である。
符号の説明
1、11、21、31、41、51、61、71、81 本管レール
2、12、22、32、42、52、62、72、82 継手金具
3、13、23、33、43、53、63、73、83 分岐枝管
4、14、24、34、44、54、64、74、84 締結用ナット
5、15、25、35、45、55、65、75 ガスケット

Claims (18)

  1. ステンレス鋼製もしくは少なくとも内面に防錆処理が施された鋼製の内燃機関用燃料レールと、外管とその内周面が該外管の外周面より燃料に対する防錆能が優れた内管とからなる二重管で構成された分岐枝管とを、継手金具を介して締結用ナットにより接続構成してなる継手構造において、前記分岐枝管と継手金具の接続シール部が、当該分岐枝管内周面と同等の防錆能を有すると共に、該分岐枝管の燃料に対するシール面を含む接液部分の全てが前記内管によって覆われ、該シール面を含む内管の受圧部を前記外管によって支持するよう構成され、さらに前記接続シール部を、該継手金具の分岐孔軸に直角な平坦面を有する断面凹形状とし、前記外管の開口端面を前記内管の開口端部で覆うようにして折り曲げ、該内管の内周面がシート面となるように形成した分岐枝管を、予め該分岐枝管に組込んだ締結用ナットにより、接続構成したことを特徴とする内燃機関用燃料レールにおける分岐枝管の継手構造。
  2. 前記継手金具の接続シール部を円錐凹形状とし、前記分岐枝管のシート面をシングルフレアー形状とし、前記円錐凹形状の接続シール部と前記シングルフレアー形状のシート面との間に算盤玉形ガスケットを介在させ、予め分岐枝管に組込んだ締結用ナットにより、接続構成したことを特徴とする請求項1に記載の内燃機関用燃料レールにおける分岐枝管の継手構造。
  3. 前記継手金具の接続シール部に、分岐孔の軸芯に対する傾斜角αを有する凹状のテーパー面を形成し、前記分岐枝管の外管の接続頭部を、前記継手金具の接続シール部における傾斜角αを有する凹状のテーパー面に対応して、傾斜角α±5°を有する凸状のテーパー壁を有する形状とし、該凸状のテーパー壁を有する外管の接続頭部を覆うように内管の先端を外側に折り曲げてリング状のシート面を形成し、該シート面と前記継手金具のテーパー面との間に略リング形状の円錐ガスケットを介在させ、予め前記分岐枝管に組込んだ締結用ナットにより、接続構成したことを特徴とする請求項1に記載の内燃機関用燃料レールにおける分岐枝管の継手構造。
  4. 前記傾斜角αが継手金具の分岐孔の軸心に対して50〜120°であることを特徴とする請求項3に記載の内燃機関用燃料レールにおける分岐枝管の継手構造。
  5. 前記分岐枝管の接続頭部の先端形状が、該分岐枝管の軸心に対してほぼ直角に形成され、該接続頭部を覆う内管のシート面が、折り返し二重構造のテーパー壁面に形成されることを特徴とする請求項3または4に記載の内燃機関用燃料レールにおける分岐枝管の継手構造。
  6. ステンレス鋼製もしくは少なくとも内面に防錆処理が施された鋼製の内燃機関用燃料レールと、外管とその内周面が外管の外周面より燃料に対する防錆能が優れた内管とからなる二重管で構成された分岐枝管とを、継手金具を介して締結用ナットにより接続構成してなる継手構造において、前記継手金具の接続シール部が平坦面となし、前記分岐枝管の端末部に拡径部を設けてその外周面に受圧部を形成し、それに連なる接続頭部のシート面と、前記継手金具の平坦面との間にガスケットを介在させ、予め分岐枝管側に組込んだワッシャに形成した押圧座面部を、前記分岐枝管の拡径部の外周面に形成された受圧部に当接係合させ、締結用ナットにより接続構成したことを特徴とする内燃機関用燃料レールにおける分岐枝管の継手構造。
  7. ステンレス鋼製もしくは少なくとも内面に防錆処理が施された鋼製の内燃機関用燃料レールと、接続端部に相手座部への押圧面となす截頭円錐状、もしくは円弧状あるいは算盤珠状の接続頭部を有し、かつ軸芯内部の流通孔の孔周面全長にわたって薄肉からなるステンレス製の内管を密嵌状に内装して形成してなる分岐枝管とを、継手金具を介して締結用ナットにより接続構成してなる継手構造において、前記接続頭部の先端部を覆うように前記ステンレス製の内管の先端部を外側に折り曲げてシート面を形成し、該シート面と前記継手金具の受圧面とを当接係合させ、締結用ナットにより接続構成したことを特徴とする内燃機関用燃料レールにおける分岐枝管の継手構造。
  8. 前記接続頭部の先端部を覆うステンレス製の内管の外側折り曲げ部は、当該接続頭部の先端部と面一となるように当該接続頭部に埋設してシート面を形成したことを特徴とする請求項7に記載の内燃機関用燃料レールにおける分岐枝管の継手構造。
  9. 外管と内管とからなる二重管の当該外管、内管の両方を同時に管軸方向にパンチで押し込むことにより、ナットの受圧部としてのスプールまたは突起を外管と内管で形成し、次いで接続端部側の外管の管端部を切除して内管の管端部を突出させ、しかる後、当該内管の前記突出部を外側に折り曲げて外管の接続端部側管端面を覆うと共に、該内管の内周面でシート面を形成することを特徴とする内燃機関用燃料レールにおける分岐枝管の製造方法。
  10. 外管と内管とからなる二重管の当該外管のみを管軸方向にパンチで押し込むことにより、締結用ナットの受圧部としてのスプールまたは突起を外管のみで形成し、次いで該外管の接続側管端より突出している内管の突出部を外側に拡径しながら折り曲げ、該外管の接続側管端面を覆うと共に、該内管の内周面でシート面を形成することを特徴とする内燃機関用燃料レールにおける分岐枝管の製造方法。
  11. 外管と内管とからなる二重管の当該外管のみを管軸方向にパンチで押し込むことにより、締結用ナットの受圧部としてのスプールまたは突起を外管のみで形成し、前記外管の接続頭部を前記継手金具の接続シール部に形成される傾斜角αの凹状のテーパー面に対応して、同様の傾斜角に加工することにより傾斜角αのテーパー壁を有する接続頭部を形成し、次いで外管の接続側管端より突出している内管の突出部を外側に拡径しながら折り曲げ、該外管の接続側管端面を覆うと共に該内管の内周面で、傾斜角α±5°の凸状のテーパー壁を有するシート面を形成することを特徴とする内燃機関用燃料レールにおける分岐枝管の製造方法。
  12. 前記傾斜角αが前記継手金具の分岐孔の軸心に対して50〜120°であることを特徴とする請求項11に記載の内燃機関用燃料レールにおける分岐枝管の製造方法。
  13. 前記外管の接続頭部に形成される傾斜角αのテーパー壁が、機械的手段による切削によって形成されることを特徴とする請求項11または12に記載の内燃機関用燃料レールにおける分岐枝管の製造方法。
  14. 前記外管の接続頭部が分岐枝管の管軸に対してほぼ直角に形成され、該外管の接続頭部を覆う内管が、折り返し二重構造のテーパー壁面に形成されることを特徴とする請求項13に記載の内燃機関用燃料レールにおける分岐枝管の製造方法。
  15. 接続端部に相手座部への押圧面となす截頭円錐状、もしくは円弧状あるいは算盤珠状の接続頭部を有し、かつ軸芯内部の流通孔の孔周面全長にわたって薄肉からなるステンレス製の内管を密嵌状に内装し、前記接続頭部の先端部を覆うように前記ステンレス製の内管の先端部を外側に折り曲げてシート面を形成してなる分岐枝管の製造方法であって、軸芯内部の流通孔の孔周面全長にわたって薄肉からなるステンレス製の内管を密嵌状に内装した管体の外管のみを管軸方向にパンチで押し込むことにより前記接続頭部を成形すると同時に前記内管を突出させ、次いで外管の接続側管端より突出している前記内管の突出部を外側に拡径しながら折り曲げ、該外管の接続頭部の先端部を覆うと共に該内管の内周面でシート面を形成することを特徴とする内燃機関用燃料レールにおける分岐枝管の製造方法。
  16. 前記接続頭部を形成する工程において、前記外管を長く、前記内管を短く管軸方向にパンチで押し込むことを特徴とする請求項15に記載の内燃機関用燃料レールにおける分岐枝管の製造方法。
  17. 前記内管の突出部を外側に拡径しながら折り曲げてシート面を形成する工程において、ステンレス製の内管内に芯金を挿入して前記内管の突出部を外側に拡径しながら折り曲げることを特徴とする請求項15または16に記載の内燃機関用燃料レールにおける分岐枝管の製造方法。
  18. 前記接続頭部の先端部を覆うステンレス製の内管の外側折り曲げ部が当該接続頭部の先端部と面一となるように前記内管の突出部を当該接続頭部に埋設させてシート面を形成することを特徴とする請求項15乃至17のいずれか1項に記載の内燃機関用燃料レールにおける分岐枝管の製造方法。
JP2005157023A 2004-06-17 2005-05-30 内燃機関用燃料レールにおける分岐枝管の継手構造と分岐枝管およびその分岐枝管の製造方法 Expired - Fee Related JP4433306B2 (ja)

Priority Applications (1)

Application Number Priority Date Filing Date Title
JP2005157023A JP4433306B2 (ja) 2004-06-17 2005-05-30 内燃機関用燃料レールにおける分岐枝管の継手構造と分岐枝管およびその分岐枝管の製造方法

Applications Claiming Priority (3)

Application Number Priority Date Filing Date Title
JP2004180185 2004-06-17
JP2004363903 2004-12-16
JP2005157023A JP4433306B2 (ja) 2004-06-17 2005-05-30 内燃機関用燃料レールにおける分岐枝管の継手構造と分岐枝管およびその分岐枝管の製造方法

Publications (2)

Publication Number Publication Date
JP2006194233A JP2006194233A (ja) 2006-07-27
JP4433306B2 true JP4433306B2 (ja) 2010-03-17

Family

ID=36800499

Family Applications (1)

Application Number Title Priority Date Filing Date
JP2005157023A Expired - Fee Related JP4433306B2 (ja) 2004-06-17 2005-05-30 内燃機関用燃料レールにおける分岐枝管の継手構造と分岐枝管およびその分岐枝管の製造方法

Country Status (1)

Country Link
JP (1) JP4433306B2 (ja)

Families Citing this family (12)

* Cited by examiner, † Cited by third party
Publication number Priority date Publication date Assignee Title
NL2002302C2 (nl) * 2008-12-08 2010-06-10 Henri Peteri Beheer Bv Vat met slangkoppeling.
JP2011052606A (ja) * 2009-09-02 2011-03-17 Otics Corp フューエルデリバリパイプ及びその製造方法
KR101679875B1 (ko) * 2011-06-28 2016-11-28 현대자동차주식회사 차량용 연료 파이프 및 연료 레일의 체결부 기밀 구조
JP6245687B2 (ja) * 2013-09-10 2017-12-13 臼井国際産業株式会社 スチール製の燃料圧送配管
JP3199795U (ja) * 2015-06-29 2015-09-10 スペロ機械工業株式会社 配管用継手
US10364783B2 (en) 2015-09-14 2019-07-30 Hyun Sik Hwang Pulsation reducer using double-sided multilayer waveform spring
JP6713755B2 (ja) * 2015-11-18 2020-06-24 三桜工業株式会社 燃料分配管
JP6730089B2 (ja) * 2016-05-19 2020-07-29 三桜工業株式会社 燃料分配装置
KR101762710B1 (ko) 2016-09-01 2017-07-28 한일튜브(주) 차량용 연료 파이프의 접속장치
JP2020084900A (ja) * 2018-11-27 2020-06-04 臼井国際産業株式会社 燃料圧送配管
JP7337725B2 (ja) * 2020-02-14 2023-09-04 臼井国際産業株式会社 燃料圧力センサの接続構造
CN115493000B (zh) * 2022-11-16 2023-03-21 潍柴动力股份有限公司 一种高压油管接头及车辆

Also Published As

Publication number Publication date
JP2006194233A (ja) 2006-07-27

Similar Documents

Publication Publication Date Title
KR100715711B1 (ko) 내연 기관용 연료 레일에 있어서의 분기 지관의 조인트구조와 분기 지관 및 그 분기 지관의 제조 방법
JP4433306B2 (ja) 内燃機関用燃料レールにおける分岐枝管の継手構造と分岐枝管およびその分岐枝管の製造方法
US4832376A (en) Connection structure for branch pipe in high-pressure fuel manifold
US20100084856A1 (en) High Pressure Fluid Connection
JP2004060672A (ja) 蛇腹金属管付ホースの接続構造
US20100090459A1 (en) Quick actuating fitting for corrugated stainless steel tubing
EP3290683B1 (en) Terminal seal structure for fuel rail for gasoline direct-injection engine
KR100723900B1 (ko) 고압 연료 분사관
WO2018021294A1 (ja) 管継手
KR20080087780A (ko) 상보적인 피팅 재료로 구성된 개선된 피팅 조립체 및 이를이용한 누수방지 방법
US20120006298A1 (en) High-pressure fuel injection pipe having connection head portion, and manufacturing method thereof
CN100412352C (zh) 内燃机燃料轨内的歧管连接结构及歧管制造方法
WO2016021687A1 (ja) ガソリン直噴エンジン用燃料レールの端末シール構造
CN101389851B (zh) 高压燃料喷射管的连接头部结构
JP2849345B2 (ja) 管継手
JP2012092897A (ja) 管体の接続構造及びホース継手金具
CN106662059B (zh) 具有端头密封构造的燃料轨
JP4111283B2 (ja) 高圧金属配管の接続頭部
US20060125236A1 (en) Retainer with inward projections
JP4442806B2 (ja) 金属管の防食接続構造
JP2717505B2 (ja) 管の継手構造
JPH09133276A (ja) 管体の接続構造
JP4332877B2 (ja) コモンレールのシール方法
JPH10259894A (ja) コモンレール
JP2004027916A (ja) 高圧燃料レールにおける分岐接続体の接続構造

Legal Events

Date Code Title Description
A621 Written request for application examination

Free format text: JAPANESE INTERMEDIATE CODE: A621

Effective date: 20080529

A977 Report on retrieval

Free format text: JAPANESE INTERMEDIATE CODE: A971007

Effective date: 20090925

A131 Notification of reasons for refusal

Free format text: JAPANESE INTERMEDIATE CODE: A131

Effective date: 20090930

A521 Written amendment

Free format text: JAPANESE INTERMEDIATE CODE: A523

Effective date: 20091125

TRDD Decision of grant or rejection written
A01 Written decision to grant a patent or to grant a registration (utility model)

Free format text: JAPANESE INTERMEDIATE CODE: A01

Effective date: 20091216

A01 Written decision to grant a patent or to grant a registration (utility model)

Free format text: JAPANESE INTERMEDIATE CODE: A01

A61 First payment of annual fees (during grant procedure)

Free format text: JAPANESE INTERMEDIATE CODE: A61

Effective date: 20091216

R150 Certificate of patent or registration of utility model

Ref document number: 4433306

Country of ref document: JP

Free format text: JAPANESE INTERMEDIATE CODE: R150

Free format text: JAPANESE INTERMEDIATE CODE: R150

FPAY Renewal fee payment (event date is renewal date of database)

Free format text: PAYMENT UNTIL: 20130108

Year of fee payment: 3

FPAY Renewal fee payment (event date is renewal date of database)

Free format text: PAYMENT UNTIL: 20140108

Year of fee payment: 4

LAPS Cancellation because of no payment of annual fees