JP4408987B2 - スパッタ処理応用のプラズマ処理装置 - Google Patents

スパッタ処理応用のプラズマ処理装置 Download PDF

Info

Publication number
JP4408987B2
JP4408987B2 JP14495499A JP14495499A JP4408987B2 JP 4408987 B2 JP4408987 B2 JP 4408987B2 JP 14495499 A JP14495499 A JP 14495499A JP 14495499 A JP14495499 A JP 14495499A JP 4408987 B2 JP4408987 B2 JP 4408987B2
Authority
JP
Japan
Prior art keywords
upper electrode
magnets
plasma
reaction vessel
processing apparatus
Prior art date
Legal status (The legal status is an assumption and is not a legal conclusion. Google has not performed a legal analysis and makes no representation as to the accuracy of the status listed.)
Expired - Fee Related
Application number
JP14495499A
Other languages
English (en)
Other versions
JP2000156374A (ja
Inventor
ウィクラマナヤカ スニル
行人 中川
陽一郎 沼沢
Current Assignee (The listed assignees may be inaccurate. Google has not performed a legal analysis and makes no representation or warranty as to the accuracy of the list.)
Canon Anelva Corp
Original Assignee
Canon Anelva Corp
Priority date (The priority date is an assumption and is not a legal conclusion. Google has not performed a legal analysis and makes no representation as to the accuracy of the date listed.)
Filing date
Publication date
Application filed by Canon Anelva Corp filed Critical Canon Anelva Corp
Priority to JP14495499A priority Critical patent/JP4408987B2/ja
Publication of JP2000156374A publication Critical patent/JP2000156374A/ja
Application granted granted Critical
Publication of JP4408987B2 publication Critical patent/JP4408987B2/ja
Anticipated expiration legal-status Critical
Expired - Fee Related legal-status Critical Current

Links

Images

Landscapes

  • Physical Vapour Deposition (AREA)
  • Plasma Technology (AREA)

Description

【0001】
【産業上の利用分野】
本発明はスパッタ処理応用のプラズマ処理装置に関し、特に、半導体産業において集積回路を製造する工程の間で金属または誘電体物質のスパッタリング工程に役立つ、rf電極におけるプラズマイオン密度とイオンエネルギを独立に制御できるように改善されたプラズマ源を備えた、プラズマ支援スパッタリング装置のようなプラズマ処理装置に関する。
【0002】
【従来の技術】
半導体産業での将来の要求に関して、大面積基板を処理するための大面積でかつ高密度のプラズマ源が必要とされる。特に、堆積膜の均一性を高めかつターゲットの利用効率を高めた状態で金属または誘電体物質をスパッリングする工程のための新しいプラズマ源の開発は重要である。これらの事実は図7〜10に従って2つの従来のプラズマ源を用いて説明され、これらのプラズマ源は、通常、200mmウェハ、もしくはフラットパネルプラズマ処理装置に用いられる。
【0003】
図10〜12は半導体産業におけるスパッタ応用のために用いられる従来のマグネトロン型のプラズマ源を簡素化した図を示している。反応容器50は、基本的に、非磁性金属で作られた上部電極51と、円筒形の側壁52と、底部プレート53と、下部電極59とによって構成されている。上部電極51と下部電極59は反応容器50の少なくとも主要部分(内部空間)を介して互いに平行である。側壁52と底部プレート53は例えばステンレス鋼のような金属で作られている。側壁52の上側部分は絶縁物54で作られており、その絶縁物54の上に上部電極51が配置されている。スパッタされることを必要とされる物質で作られたターゲットプレート55は上部電極51の下側表面に固定されている。ターゲットプレート55は上部電極51よりも少し小さい寸法を有している。上部電極51の上側表面の上に中心磁石56aと外側磁石56bが同心円的に配置されている。中心磁石56aは円形の形状をしたブロックである。外側磁石56bはリング形状をしている。磁石56a,56bの高さと幅は重要な事項ではなく、反応容器の寸法に従って選択され得る。磁石56a,56bは、上部電極51の上に、反応容器50の内部に向かう反対の磁極を有するように配置されている。これらの磁石のかかる配置は、図11に示されるように、中心から周辺に向かうあるいはその逆に向かう磁界57を生成する。
【0004】
処理されるべき基板58は、絶縁物60の上に置くことによって、底部プレート53から電気的に絶縁された下部電極59の上に搭載される。下部電極59には、整合回路64を通してrf電源(高周波電源)63からrf電力が与えられてもよいし、また与えられなくてもよい。もし下部電極59にrf電力が供給されるならば、rf電源63の周波数は、通常、MF領域に存在する。rf電流が下部電極59に与えられるとき、下部電極59は負にバイアスされ、それによって基板58の表面にイオン衝突がもたらされる。イオン衝突は、基板の表面に堆積された膜のエッチングの原因になるが、下部電極59の自己バイアス電圧は、膜の堆積速度が膜のエッチング速度を越えるように制御される。
【0005】
上部電極51は整合回路62を通してrf電源61に接続される。rf電源61の周波数は通常13.56MHzで作用する。上部電極51にrf電力が適用されるとき、プラズマは容量結合の機構によって生成される。
【0006】
図13に示されるように、他の従来のマグネトロン型スパッタリング源において、レーストラック形状の磁界領域65が用いられる。中心磁石66aと外側磁石66bの形状を除いてすべての他の部分は図10〜12に示された部分と同じである。磁石66aと磁石66bは丸いコーナを備えた矩形の形状であり、生成されるプラズマは類似の形状となる。それ故に、このプラズマ源を使用する場合には、基板表面の全体にわたって均一な膜堆積を得るため、基板はプラズマ領域を通過させられる必要がある。
【0007】
【発明が解決すべき課題】
図10に示された平行平板プラズマ反応容器は、接近した平行な電極51,59による大面積プラズマ、プラズマの容易な放電開始(ignition)、そして電極表面でのプラズマのイオンエネルギの制御可能性というような、いくつかの利点を有する。しかしながら、容量結合プラズマの固有な属性のため、特にもし例えば13.56MHzのような低いrf周波数による励起が使用されるならば、これらのプラズマ源のイオン密度は低くなる。イオン密度は、rf励起周波数を増大させることによって増大させられる。しかしながら、励起周波数の増大は、イオンエネルギの減少、それによってスパッタリング速度の減少という結果をもたらす自己バイアス電圧の減少の原因となる。このように、このタイプのプラズマ源の主たる欠点の1つは、自己バイアス電圧とプラズマイオン密度を独立に制御することができないということである。
【0008】
平行平板プラズマ反応容器に関する第2の問題は、上部電極51に接続されたターゲットプレート55の不均一なエッチング速度である。プラズマが生成されるとき、2つの磁石56a,56bの間にある電子は磁界57によって閉じ込められ、プラズマ密度の増大をもたらす。磁界57はドーナツ形状をした領域に存在するので、より高い密度のプラズマもまた同じ形状を持つ。それ故に、磁石56a,56bの間のターゲップレート55の材質部分がより高い速度でスパッタされる。対照的に、中心領域と周辺領域でのプラズマ密度が相対的により弱くなり、それ故にこれらの領域に対応するターゲット部分でのスパッタリング速度はより小さくなる。ターゲットプレート55のこの不均一なスパッタリング速度のため、長時間の動作の後、その断面形状の輪郭は図12に示されるようになる。ターゲットプレート55の表面における中心と周辺の間の領域が最初に使えなくなることになる。最も高いエッチング速度の領域がターゲットプレート55の寿命を決めることとなるので、磁石56a,56bの構成はターゲット材料の利用効率を低下させる。
【0009】
第3の問題は、ターゲットプレート55の下側に生成されるプラズマが放射状のラインに沿って高い不均一性を有することである。これはターゲットプレート55から基板58へのターゲット材料の不均一な流れの原因となり、このことが基板58の表面における膜堆積の不均一性をもたらす。スパッタされる材料の均一な流れを得るため基板58は反応容器50でさらに下側に取り付けられなければならず、このことが反応容器50のアスペクト比をさらに高くさせる原因となる。しかしながら、電極の間隔を長くすることは膜堆積速度の低下という結果をもたらす。
【0010】
第4の問題は、もしプラズマが不均一であるならば、基板の表面上に不均一なイオンの流れを生じさせるということである。このことは、特にもし下部電極59にrf電力を適用することによって基板58が負にバイアスされているならば、当該基板の表面上で局地的な電荷蓄積の原因となり、結局は基板58におけるサブミクロン規模の要素の電気的破損という結果をもたらす。この電荷蓄積による損傷は特に図13に示された磁石配列での発生が予測される。何故ならば、一般的には基板の一部のみがプラズマにさらされるためである。
【0011】
従来のスパッタリング装置の第5の問題は、微細なコントクトホールにおける底部被覆の不良である。この問題は、粒子に方向性を持たせた(collimated)スパッタ装置、もしくは互いの電極をさらに離しその間隔を大きくしたロング・スロー・スパッタ装置を用いることによって解決することができるが、この装置は成膜速度を低下させるという問題を作り出す。
【0012】
基板表面に対して平行なイオンの流れを得る他の方法は、基板58に対してバイアス電圧を与えることである。この工程は、イオン化スパッタリングと呼ばれている。イオン化スパッタリングは、微細なコンタクトホールにおける良好な底部被覆を実現する。この工程において、スパッタされた物質は電荷移動衝突によって電極51,59の間でイオン化される。それ故に、より高い成膜速度を達成するため、プラズマにおけるイオン集中が増大させられなければならない。しかしながら、プラズマイオン密度は13.56MHzの放電では低い。さらにこれらのイオンの少部分がターゲットプレート55によって消費される。それ故に、スパッタされた原子をイオン化するための十分なイオン集中は存在せず、低い成膜速度という結果をもたらす。
【0013】
本発明の目的は、より高いイオン集中、より良いターゲット利用効率、より高い成膜速度、そしてより良い薄膜の厚み均一性を伴うスパッタ処理応用のためのプラズマ処理装置を提供することにある。
【0014】
【課題を解決するための手段】
本発明に係るスパッタ処理応用のプラズマ処理装置は、前述の目的を達成するため、次のように構成される。
【0015】
プラズマ処理装置は、反応容器の内部空間の少なくとも一部を介して平行に互いに向かい合う上部電極と下部電極を備えてなる当該反応容器と、上部電極に固定されたターゲットプレートとを有している。処理されるべき基板は下部電極の上に搭載され、スパッタ工程によって処理される。さらにプラズマ処理装置は、上部電極に接続されかつ周波数がVHF領域の範囲にある1つのrf電源(高周波電源)を備え、上部電極に接続されかつ周波数が0.5MHzから5MHzの範囲にある他のrf電源(高周波電源)を備え、更に、VHFの領域で動作する第3のrf電源が下部電極に接続されている。
【0017】
前述のプラズマ処理装置において、上部電極は非磁性金属で作られており、複数の磁石が上部電極の外側に個々に離れて配置されており、当該磁石の反応容器の内側に面する磁極はN極とS極又はS極とN極になるように変化されかつこれらの磁石は上部電極の内側表面の近くで閉じた磁束の磁界を生成する。
【0018】
前述のプラズマ処理装置において、上部電極は平板状の円形または矩形の形状を有し、磁石は上部電極の表側表面の上に直接に配置されている。
【0019】
前述のプラズマ処理装置において、複数の磁石は、同じ極性を有する2つの隣り合う磁石の間の距離の少なくとも1/2を動くことができる。
【0022】
スパッタ処理応用のための前述のプラズマ処理装置において、好ましくは、複数の棒状マグネットが、側壁の内側表面の近くで線状カスプ磁界を生成するように、反応容器の内側に向かうN極とS極又はS極とN極の極性を備えて、反応容器の円筒形側壁の表面の周りにて、すなわち例えば側壁の外側または内側の表面で、あるいはこれらの表面の近傍で間隔をあけて、あるいは側壁の内部に垂直に配置される。
【0023】
スパッタ処理応用のための前述のプラズマ処理装置において、好ましくは、複数のマグネットが、側壁の内側表面の近くで点状カスプ磁界を生成するように、反応容器の内側に向かうN極とS極又はS極とN極の磁極を備えて、反応容器の円筒形側壁の表面の周りにて、すなわち、さらに好ましくは側壁の外側表面で、個々に配置されている
【0024】
棒状マグネットまたはマグネットを利用した前述のカスプ磁界を生成するための構造によって、当該カスプ磁界は側壁の内側表面との接触によるプラズマ損失を防止できる。
【0025】
【発明の実施の形態】
以下に、添付された図面を参照して好ましい実施形態が説明される。実施形態の説明を通して本発明の詳細が明らかにされる。
【0026】
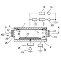
本発明の第1実施形態は図1に従って説明される。図1は第1実施形態のプラズマ処理装置に用いられるプラズマ源の断面図を示す。このプラズマ処理装置は容量結合型のタイプであり、スパッタ成膜応用に使用される。この反応容器100は実質的に前述した従来の反応容器50と同じである。反応容器100は本質的に上部電極1、円筒形の側壁3、底部プレート2、下部電極23から構成されている。反応容器100はまた例えばガス排出ポートを備えている。当該ガス排出ポートは容易化のために図1において示されていない。上部電極1と下部電極23は、反応容器100の少なくとも主要部分(内部空間)を介して互いに平行である。側壁3と底部プレート2は例えばステンレス鋼のごとき金属によって作られている。スパッタされるべき必要のある材料で作られたターゲットプレート7は上部電極1の下側面に固定されている。ターゲットプレート7は上部電極1よりも少し小さい寸法を有している。上部電極1はAl(アルミニウム)のような金属で作られており、円筒形側壁の上部部分4の上に配置されている。上部部分4は誘電体物質(あるいは絶縁物質)によって作られている。上部電極1は円形形状あるいは四角形状としてもよい。いずれの形状においてもその寸法は重要なことではなく、処理されるべき必要のある基板の大きさに依存して変化させることができる。上部電極1は反応容器100の内部に配置され、そのときそれは天井部に組み込まれる部分となる。側壁3と底部プレート2は電気的に接地されている。
【0027】
ターゲットプレート7は例えばTi、TiNあるいはSiO2 によって作られている。ターゲットプレート7の形状は上部電極1の形状に類似している。もし上部電極1が円形形状であるならば、ターゲットプレート7もまた円形形状である。ターゲットプレート7の寸法は上部電極1よりも小さい。ターゲットプレート7の厚みは通常5〜10mmである。
【0028】
ターゲットプレート7の縁は通常シールドプレートと呼ばれる金属板8によって覆われている。ターゲットプレート7とシールドプレート8の間の間隔はおよそ1〜3mmである。シールドプレート8は側壁3に向かって延び、かつ電気的に接地された状態にある。
【0029】
上部電極1の厚みは重要なことではなく、通常20〜40mmである。上部電極1は通常冷却機構に結合されている(図1では示されていない)。上部電極1の冷却工程は重要であり、何故ならば、上部電極1とターゲットプレート7はターゲット材料上へのより高いイオンの流れによる作用の間中加熱されるので、ターゲットプレート7は真空遮蔽を施して上部電極1に固定されなければならない。
【0030】
プロセスガス、好ましくはArは、側壁3に形成されたガス導入ポート(図示されず)を通して反応容器100へ供給される。反応容器100の内部圧力は、ガスの流速とガス排出ポートに配置されたよく知られた可変オリフィス(図示されず)とを調節することによって、制御される。反応容器100の内部圧力はプラズマプロセスのタイプに依存して1 mTorrから100 mTorrに至るまで変化させられる。
【0031】
反応容器100は高周波(HF)または超高周波(VHF)のrf電源(電力源)18を備えている。rf電源18の周波数はおよそ10〜100MHzの範囲にあり、代表的には13.56MHzあるいは60MHzで動作する。rf電源18は通常低いインピーダンスを持ち、代表的にはおよそ50オーム (Ohm)であり、0.5〜5kWのrf電力を作ることができる。当該rf電源18の出力は整合回路19を通して上部電極1へ供給される。
【0032】
反応容器100はさらに中間周波(MF)のrf電源20を備えている。MF・rf電源20の周波数は0.5〜5MHzの範囲にあり、代表的に1.6MHzで動作する。当該rf電源20は通常低いインピーダンスを有し、代表的におよそ50オームであり、0.5〜3kWのrf電力を生成することができる。rf電源20の出力は整合回路21を通して上部電極1に供給される。さらにローパスフィルタ22が、上部電極1から流れるHFあるいはVHFのrf電流がMF・rf電源20へ流れるのを遮断するため、上部電極1と整合回路21の間に加えられる。
【0033】
下部電極23は絶縁体28を介して底部プレート2に固定されている。下部電極23は電気的に底部プレート2から絶縁されている。基板27は下部電極23の上に配置されている。
【0034】
反応容器100は、下部電極23に接続される第3のrf電源を持つこともできるし、持たなくてもよい。図1に示された構成では、反応容器100は第3のrf電源24を備えている。もし反応容器100が第3のrf電源24を備え、それによってrf電力が下部電極23に与えられるならば、rf電力の周波数はMF領域、HF領域あるいはVHF領域にある。このrf電源24は同様にまた低いインピーダンスを持ち、代表的に50オームであり、1kWまでのrf電力を生成することができる。当該rf電力は整合回路25を介して下部電極23に与えられる。ここでハイパスフィルタ26の一端は下部電極23と整合回路25の間の伝送線に接続される。ハイパスフィルタ26の他の端は接地されている。ハイパスフィルタを使用する目的は、下部電極23から到来するHFのrf電流の接地通路を作るためである。この方法は、第3のrf電源24の、HFのrf電流による損傷可能性から保護する。
【0035】
前述のプラズマ源を備えた反応容器100におけるプラズマ生成の仕組みが説明される。rf電源18とrf電源20から上部電極1に対してMFからVHFの領域で作用するrf電流が与えられるとき、プラズマは、これらのrf電力の容量的結合の機構によって生成される。電子はイオンよりも高い熱速度を持っているので、上部電極1は負にバイアスされる。上部電極1における自己バイアス電圧はプラズマの励起周波数に大きく依存する。プラズマの励起周波数の増大は、自己バイアス電圧の減少とプラズマ密度の増大の原因となる。上部電極1における負のバイアス電圧の値は、同様にまた、アノード面積に対する上部電極の表面面積の比に依存する。ここで、アノード面積は、接地されたすべての表面の全体の表面面積である。アノード面積は、通常、どのようなプラズマ源においても、上部電極(カソード)の表面面積よりもより大きい。このことは上部電極1の負の自己バイアス電圧の原因となる。この負のバイアスのために、プラズマにおけるイオンは上部電極1に向かって加速され、ターゲットプレートの材料をプラズマ中に向けてスパッタリングする原因となる。より高いスパッタリング速度を得るために、イオン密度と上部電極1の自己バイアス電圧は両方とも増大させられなければならない。
【0036】
rf電力の増大はプラズマイオン密度を増大させる。しかしながら、もしプラズマ励起周波数がVHF領域、例えば60MHzにある場合には、より高いrf電力であっても、自己バイアス電圧は経済的なスパッタ速度にとって十分ではない。それ故に、他の中間周波数のrf電流が上部電極1に与えられる。プラズマに対するより低い周波数のrf電流の容量的結合は、上部電極のより高い負のバイアス電圧という結果をもたらす。負のバイアス電圧の値はMFのrf電流を変化させることによって独立に制御される。それ故に、HFのrf電流とMFのrf電流との結合または組み合わせは、プラズマイオン密度とイオンエネルギの独立な制御に対する解決方法を与える。
【0037】
スパッタされた原子のイオン化率は、VHF電流によって生成された高密度プラズマによって増大させられる。イオン化された原子は、rf電流(第3のrf電源)の応用による下部電極23上に生成されたバイアスポテンシャルによって基板表面に向かって加速され、運動方向が平行になる。もし下部電極23に与えられるrf電流がVHF領域にあるならば、高い密度のプラズマが下部電極23に接近して生成される。このことは、スパッタされた原子のイオン化率を高め、より高い成膜速度という結果をもたらす。この機構は、成膜速度を劣化させることなく、パターンを形成された基板における良好な底部被覆を作り出す。
【0038】
次に第2の実施形態が図2を参照して説明される。第2の実施形態において、上部電極1への電気的接続を除いて、すべての他の構成は前述の第1実施形態で与えられた構成と同じである。
【0039】
上部電極1は、第1実施形態に類似し、整合回路19を介してHF領域またはVHF領域で動作するrf電源18に接続されている。rf電源18の詳細は、第1実施形態で与えられたものと同じである。さらに上部電極1は誘電体(L)30を通してDC電圧供給源29に接続されている。キャパシタ(C)31の1つの端子はインダクタ30と上部電極1の間の伝送線に接続されている。キャパシタ31の他の端子は接地されている。この電気的接続はDC電圧供給源29を寄生的なrf電流から保護する。DC電圧供給源29は−1000ボルトまでの電圧を与えることができる。
【0040】
前述した第2実施形態の構成によれば、rf電流が上部電極1に与えられたとき、プラズマが容量結合の仕組みによって生成される。与えられたrf電力を制御することによって、プラズマにおけるイオン密度が調整される。第2実施形態における上部電極1は、電気的にVHF電流に関して接地される。それ故に自己バイアス電圧は、上部電極1に印加されるrf電流により上部電極1上で生じない。その代わりに、DC電圧供給源29が上部電極1に負のバイアスを与えるように用いられ、この負のバイアスはターゲットプレート7上へイオンを加速するために必要とされる。上部電極1上への負のDCバイアスの重畳はプラズマポテンシャルに対し影響を与えない。従ってプラズマのイオン密度と上部電極1のバイアス電圧は、第1実施形態に類似したこの構成で、独立に制御することができる。第2実施形態の主たる利点は、上部電極1に対しrf電源が1台のみ必要とされるということである。すなわち図1に示されたMFのrf電源20、整合回路21、そしてローパスフィルタ回路22を省略することができる。
【0041】
次に第3の実施形態が図3〜5に従って説明される。図3は第3実施形態の全体の構成を示す。この構成は、上部電極1の上にマグネットを追加したことを除いて、大部分第1実施形態に類似している。図3〜5において、第1実施形態で説明された要素に相当する要素の各々は、同じ参照符号または参照数字を持っている。さらに例えば底部プレート2に2つのガス排出ポート17が形成されている。複数の磁石5は、上部電極1の外側において、個々に離れて配置されている。複数の磁石5における反応容器100の内部に面した極性は二者択一的に(N極とS極のうちからいずれか一方になるように)変えられ、かつ磁石5は上部電極1の内側表面に近いところで閉じた磁束を伴う磁界6を生成する。
【0042】
上部電極1の厚みは重要なことではなく、通常20〜40mmが採用される。上部電極1の上側には、磁石5を配置するため複数の溝9が作られている。溝9のコーナ部分は、磁石5の断面形状に依存して四角または円形形状となる。溝9の幅は磁石5の幅よりもおよそ1mm大きくなるように選択されている。溝9の長さは、同じ極性を持つ隣り合う磁石5の間の距離がxであるとき、少なくとも(1/2) ×xとなるように選択されている。溝9の深さは、磁石の底表面が反応容器100の内部空間に接近するように、通常上部電極1の厚みよりも短い2〜5mmとして採用されている。しかしながら、磁石の下部表面がターゲットプレート7に接触するかまたはもっと接近するように、上部電極1を貫通する溝を持つようにすることもできる。
【0043】
複数の磁石5に関する配列は、反応容器100の内部空間でより高い磁界を作り出す。溝9は、好ましくは、図3に示されるごとく、各2つの溝の線の間にスペースが存在するように、平行な溝の線を持つように作られる。これらのスペースにおいて上部電極1の内部に長い通路が形成され、これらの通路は互いに図5に示されるようにジグザグ形状の通路10を持つように接続されている。ジグザグ形状の通路10の断面形状は円形、正方形、あるいは長方形の形状である。このジグザグ形状の通路10は、出発点と終了点を除いて、上部電極1の中に完全に埋まっている。図5に示されるように、出発点は水取込みポート11に接続され、終了点は水排出ポート12に接続される。従って、装置の動作の間、水は、上部電極1を冷却すべく、上部電極1内のジグザク形状通路10の中を流れる。上部電極1とターゲットプレート7は、装置動作の間、ターゲット材料へのより高いイオン束の照射が原因で加熱されるので、上部電極1の水冷却工程は重要である。上部電極1の温度の上昇は磁石5の磁界強度を減少させる原因となる。上部電極1を冷却するための異なる方法を用いることができるということを注意してほしい。
【0044】
磁石5の形状は、好ましくは立方体、矩形あるいは円筒形(もしくは円柱形)の形状である。上部電極1上に形成された溝9の各々において磁石5が配置される。複数の磁石は等しい距離で配置され、例えば上部電極1の上に描かれた個々の正方形の角に配置される。複数の磁石の極性は、図4に示されるように、二者択一的に変えられる。磁石5の断面の寸法は重要なことではない。もし断面の形状が円形であるならば、その直径は5〜15mmの範囲にある。もし断面の形状が正方形であるならば、円形形状のそれの寸法に匹敵するものが採用される。いかなる2つの隣り合う磁石の間の間隔は重要ではなく、15〜50mmで変わり得る。次にすべての磁石5の上部表面は共に金属板(strip :細長い板)13を用いて連結されている。各金属板13の一方の端は、電気モータ16によって回転される回転板15に引き続いて結合される他の金属板14に連結されており、この回転板15の回転によって磁石5のすべてが溝9の内部で水平に動かされる。動く距離は回転板15の直径を変更することによって変えることができ、一方、移動速度は回転板15の回転速度を変えることによって選択できる。
【0045】
この磁石5の配列は、図4に示されるように、上部電極1の下側に磁界カスプを作る。すなわち磁界を表す線6は、反応容器100の中に深く侵入することなく、隣の磁石に向かって直接的に曲がっている。上部電極1に対して平行な磁界線6は反対の極性を有する2つの磁石の間で強くなっており、こうして電子の閉込めが2つの反対の磁石5の間で強くなっている。磁界線6は同じ極性を持つ2つの間では弱い。すなわち電子の閉込めは同じ極性を持つ2つの磁石の間では弱い。それ故に、反対の極性を持つ2つの磁石の間でトラップされた電子は、同じ極性を持つ2つの磁石の間のスペースを通って逃げることができる。従って、前述した磁石配列は、部分的にのみ電子を閉じ込める。この電子の部分閉込めのため、それら電子は上部電極1に対し衝撃を与えることができ、上部電極1に対し負のバイアス電圧を作り出す。さらに電子の部分的閉込めによって、上部電極1へのより高いイオンの流れが電子によって容易に電気的に中和されて、その結果、安定したプラズマ環境をもたらす。
【0046】
以下にプラズマの均一性とターゲットの利用効率が説明される。ターゲットプレート7は、第1実施形態に類似して、真空遮蔽を施した状態で上部電極1に固定される。ターゲットプレート7に接して不均一な磁界の故にプラズマは不均一である。しかしながら、複数の磁石5は接近して配列されているので、上記不均一なプラズマは、ターゲットプレート7から短い間隔をおけば均一なプラズマとなる。こうして基板表面にわたって均一なプラズマが存在する。例えばターゲットプレート7における2つの反対の極性の磁石の間、そして同じ極性の磁石の間におけるスパッタ速度が異なっているとしても、それらの領域はお互いに接近して存在する。それ故に、ターゲットプレートからのスパッタされた材料はターゲットプレートから短い距離の範囲内で拡散し、基板27の表面の上に均一な薄膜を形成する。
【0047】
ターゲット板7の表面において磁石の間の領域に比較して、磁石の極の近くにおけるエッチング速度が低いまたは0であることが、ターゲットプレートに接近したプラズマの不均一性の結果、観察される。ターゲットプレート7の最も高いエッチング速度は、ターゲットプレート7の表面に直交する磁束の密度が最も少ないところである磁石5の中心で観察される。それ故に、磁石5が固定されているときには、ターゲットプレートにおける均一なエッチング速度を観察することはできない。磁石が(1/2) ×xで動かされるとき、磁極は最も高いエッチング速度位置に来る。それ故に、(1/2) ×xによる磁石の振動によってターゲット材料の時間平均された均一のエッチング速度が得られる。これはターゲットの利用効率を増大する。
【0048】
次に図6を参照して第4実施形態を説明する。図6は第4実施形態の断面図を示す。上部電極1に作られた電気的接続の構成を除いて、すべての他の構成は第3実施形態のものと同じである。上部電極1に対して作られる電気的接続は第2実施形態のものに類似している。実際に、第4実施形態は、第2実施形態と第3実施形態の組み合わせに相当する。図6で、第2と第3の実施形態にで説明された構成要素に相当する要素の各々は、同じ参照符号または参照番号を有する。
【0049】
図6に示された上部電極1は整合回路19を介してVHFのrf電源18に接続されている。当該VHFのrf電源18の詳細は、第1実施形態において与えられたものと同じである。また上部電極1はインダクタ30を介してDC電圧供給源29に接続されている。キャパシタ31の一方の端子はインダクタ30と上部電極1の間の伝送線に接続されている。キャパシタ31の他の端子は接地されている。この電気的接続はDC電圧供給源29を寄生のrf電流から保護する。DC電圧供給源29は−1000ボルトまでの電圧を供給できる。
【0050】
この構成によって上部電極1は電気的にrf電流に対して接地されるようになる。それ故、上部電極1に与えられるrf電流のため、負のバイアスを得ることができない。その代わりに、上部電極1に対して負のバイアスを与えるため、DC電圧供給原29が用いられる。上部電極1における負のバイアスはターゲットプレート7上ヘイオンを加速する。第4実施形態の主たる利点は、それが上部電極1に対して唯一のrf電源を採用しているということである。すなわち、この構成によって、前述したMFのrf電源、ローパスフィルタ回路、整合回路を省略することができる。
【0051】
本発明の第5実施形態を図7と図8に従って説明する。図7は第5実施形態の断面図を示し、これは図1に類似しており、図8は図7におけるA−A線断面図である。図7と図8に示された構成要素の参照番号は、図1に示されたそれらのものに対応している。マグネットとこの構造に関連する部分とに関する構造を除いて、第5実施形態の残りの構造は、図1に示されたものと同じである。従ってここでは、残りの構造に関する説明は省略される。この実施形態において、反応容器100の円筒形側壁3はアルミニウムのごとき非磁性金属で作られ、そして複数の(あるいはいくつかの)棒状マグネット32が、それらは反応容器100の内側に向かう二者択一の極性(N極とS極のうちのいずれか一方の極性)を持つように、図7に示されるごとく円筒形側壁3の外側表面の周りで垂直方向に配置される。円筒形側壁3を取り囲む棒状マグネット32の配列は図8に示されている。これらの棒状マグネット32は、側壁3の外側表面に直接に取り付けられるか、あるいは小さな間隔をあけて外側表面の上に配置される。もし棒状マグネット32と側壁3の間に間隔が設けられるならば、その間隔は通常10mm以下である。
【0052】
棒状マグネット32の外側表面は、通常、例えば軟鉄のごとき強磁性金属(ferromagnetic metal) 33の板によって連結されている。棒状マグネット32の大きさは重要なことではない。棒状マグネット32の断面の形状は、通常、正方形または長方形である。もし断面形状が正方形であるならば、その大きさは5×5mm2 から30×30mm2 までの範囲に存在する。もし断面形状が長方形であるならば、その大きさは正方形の形状の表面面積に匹敵するような表面面積を持つように選択される。垂直方向における棒状マグネット32の長さは、通常、シールドプレート8と基板搬入/搬出スロット36との間の距離に等しい。基板搬入/搬出スロット36は、基板27を取り込み、そして取り出すために使用される開口であり、通常、ゲートを備えている。2つの隣り合う棒状マグネット32の間の間隔は同様にまた重要なことではなく、通常、20mmから100mmの範囲にある。通常、棒状マグネット32は等しい間隔で配置されている。棒状マグネット32の磁極における磁界の強さは同様にまた重要なことではなく、500Gauss (ガウス)から12kGauss(キロガウス)の範囲に選択される。しかしながら、棒状マグネットの磁界の強さ、およびマグネット間の間隔は、磁界の強さが基板27の表面で無視できるようになる程度に選択されなければならない。棒状マグネット32の磁界の強さと、隣り合う2つの棒状マグネット32の間の間隔との関係は、磁界の強さの増大が間隔の減少を促進するというものであり、その逆も成り立つものである。
【0053】
前述の構造を有するいくつかの棒状マグネット32が反応容器100の円筒形側壁3の周りに配置されるとき、カスプ(線状カスプ)磁界34が円筒形側壁3の内側上、すなわち、図8に示されるように、側壁の内側表面の近くに形成される。これらのカスプ磁界34は、カスプ磁界34によって電子をトラッピングすることにより、円筒形側壁3でのプラズマの損失を減少させる。このことは、プラズマにおけるプラズマ密度の増大という結果をもたらし、この結果はスパッタリング効率の増大をもたらす。
【0054】
図7において、下部電極23は絶縁体28を介して底部プレート2に固定されている。しかしながら、固定された下部電極の代わりに移動可能な下部電極を用いることができる。もし移動可能な下部電極が用いられたとすると、基板27は棒状マグネット32の下側端部を越える高さまで持ち上げられ、その場所ではプラズマは非常に良い状態で閉じ込められている。この過程は、スパッタされた物質の成膜速度をより高くすることができる。
【0055】
第5実施形態は第1実施形態で説明されたプラズマ処理装置を用いることによって説明されたが、棒状マグネット32に関する同じ構造は、前述の実施形態2,3,4で説明されたプラズマ処理装置に、同じ利益を得る目的で応用することができる。
【0056】
さらに、前述の棒状マグネットの配列を側壁3の内側表面の周りに、すなわち内側に、あるいは側壁3の内側表面上に、あるいは側壁の内部に配置することもできる。しかしながら、側壁の内側での配列の場合には、各棒状マグネットは絶縁部材または非磁性金属によって覆われなければならない。棒状マグネットが側壁3の内側にあるか、あるいは外側にあるかどうかということに拘らず、基板ステージの位置において磁界がゼロになるように、棒状マグネット32における磁界の強さと、棒状マグネット32の間の間隔とを調整することが重要である。
【0057】
本発明の第6実施形態を図9に従って説明する。図9は反応容器100の円筒形側壁3と側壁の外側における他のマグネット配列を示す外観図である。簡略化のため、図9においてプラズマ処理装置の他の部分は示されていない。さらに、第5実施形態と同様に、反応容器は前述の実施形態1,2,3,4で与えられた同じ構成を持っている。反応容器の側壁3は非磁性金属、例えばアルミニウムのごとき金属で作られている。複数のマグネット35が、反応容器の内側に向かって二者択一の極性を持ちながら、側壁3の外側表面上に配置されている。磁石35における反応容器の外側を向いた他の磁極は、例えば軟鉄のごとき強磁性金属板36によって連結されている。図9では、図を理解しやすいように少数の強磁性金属板37のみが示されている。マグネット35の大きさと形は重要なことではない。もし立方体のマグネット35が用いられるとすれば、その大きさは5×5×5mm3 から20×20×20mm3 の間で変り得る。もし円柱形のマグネットが用いられるならば、その断面の大きさは5mmから20mmで変わることになり、その高さは5mmから50mmで変り得る。マグネット35の磁極における磁界の強さと、マグネットの間の間隔とは、基板ステージおいて磁界がゼロになるように選択される。通常、磁界の強さは500Gauss から12KGaussで変えることができ、マグネットの間の間隔は5mmから40mmで変えることができる。
【0058】
複数のマグネット35が図9に示されるごとく配列されるとき、カスプ(点状カスプ)磁界が円筒形側壁3の内側表面上に作られる。何故ならば、磁界の磁束線は、反応容器の内部に深く入ることなく、最も近い反対の磁極に向かって曲がる。プラズマが生成されるとき、電子はこれらの点状カスプ磁界によってトラップされ、その結果、側壁での電子損失の減少という結果をもたらす。このことはプラズマ密度の増加をもたらし、それによって、第1実施形態で説明された例と同様にスパッタ効率の増加をもたらす。
【0059】
前述のマグネット35は、棒状マグネット33と同様に、側壁3の外側表面あるいは内側表面の周りに存する。
【0060】
【発明の効果】
本発明によるプラズマ処理装置は、イオン密度とイオンエネルギの独立した制御とターゲット材料の均一なエッチング速度とを伴って、基板の全表面にわたる平面において均一に分散された大きな面積の高密度プラズマを作り出すことができ、かつ低いアスペクト比を有するプラズマ源を実現することができる。
【0061】
さらに、カスプ磁界を生成するための棒状マグネットまたはマグネットを備えたプラズマ処理で、側壁の内側表面に起因するプラズマ損失を防止することができる。
【図面の簡単な説明】
【図1】この図は、反応容器と、容量性電極およびそれらの電気的接続関係とを示す第1実施形態の断面図である。
【図2】この図は、反応容器と、容量性電極およびそれらの電気的関係とを示す第2実施形態の断面図である。
【図3】この図は、本発明によるプラズマ処理装置の内部と外部の特徴的構造を示す第3実施形態の外観の解説図である。
【図4】この図は、複数の磁石の配列と第3実施形態の内部構造を示す断面図である。
【図5】この図は、磁石を動かすために磁石に取り付けられた金属板を示さない状態での上部電極の平面図である。
【図6】この図は、プラズマ源の内外の構造を示す第4実施形態の断面図である。
【図7】この図は、第5実施形態のプラズマ処理装置の断面図である。
【図8】この図は、図7におけるA−A線断面図である。
【図9】この図は、反応容器の円筒形側壁と側壁の外側におけるマグネット配列を示す外観図である。
【図10】この図は、プラズマ処理に使用される第1の従来のプラズマ源を示す断面図である。
【図11】この図は、上記第1の従来のプラズマ源において使用される磁石によって形成される磁界の解説図である。
【図12】この図は、不均一なエッチングを示す従来のターゲットプレートの断面図である。
【図13】この図は、プラズマ処理に用いられる第2の従来のプラズマ源における磁石の配列を示す概略図である。
【参照符号の説明】
1 上部電極
2 底部プレート
3 側壁
5 磁石
6 磁界線
7 ターゲットプレート
9 溝
10 ジグザグ通路
13,14 金属板
15 回転板
16 モータ
18 HFまたはVHFのrf電源
20 MFのrf電源
22 ローパスフィルタ
23 下部電極
24 MFのrf電源
26 ハイパスフィルタ
27 基板
29 DC電源(DC電圧供給源)
32 棒状マグネット
33,36 強磁性金属
34 カスプ磁界
35 マグネット

Claims (9)

  1. 少なくとも反応容器の内部空間の一部を介して互いに平行に向かい合う上部電極と下部電極を備えてなる当該反応容器と、前記上部電極に固定されたターゲットプレートとを備えてなり、前記下部電極の上に搭載された基板がスパッタリングの工程によって処理されるプラズマ処理装置であり、
    前記上部電極に接続されかつ周波数がVHF領域の範囲にある第1のrf電源と、
    前記上部電極に接続されかつ周波数が0.5MHzから5MHzの範囲にある第2のrf電源とによって構成され、
    更に、VHFの領域で動作する第3のrf電源が前記下部電極に接続されているスパッタ処理応用のプラズマ処理装置。
  2. 前記上部電極は非磁性金属で作られ、複数の磁石が前記上部電極の外側に個々に配列され、前記磁石における前記反応容器の内部に面した極性はN極とS極のうちから一方になるようにされかつ複数の前記磁石は前記上部電極の内側表面に近い所で閉じた磁束で形成される磁界を生成する請求項1記載のスパッタ処理応用のプラズマ処理装置。
  3. 前記上部電極は平板状の円形または矩形の形状であり、前記磁石は前記上部電極の外側表面に直接に配置される請求項2に記載のスパッタ処理応用のプラズマ処理装置。
  4. 複数の前記磁石は、隣り合う2つの同じ極性をもつ磁石の間の距離の少なくとも2分の1を可動する請求項2または3記載のスパッタ処理応用のプラズマ処理装置。
  5. 前記反応容器は、円筒形側壁を有し、更に、該側壁の内側表面の近くにカスプ磁界を生成するように該反応容器の内側に向かうN極とS極又はS極とN極の極性を有する複数の棒状マグネットを備えることを特徴とする請求項1〜のいずれか1項に記載のスパッタ処理応用のプラズマ処理装置。
  6. 前記反応容器は、円筒形側壁の表面を有し、更に、該側壁の内側表面の近くにカスプ磁界を生成するように該反応容器の内側に向いたN極とS極又はS極とN極の極性を有する複数のマグネットを備えることを特徴とする請求項1〜のいずれか1項に記載のスパッタ処理応用のプラズマ処理装置。
  7. 前記上部電極は、前記複数の磁石を配置するための複数の溝が形成されており、各溝の間に形成されたスペースに、上部電極を冷却するための冷却通路を設けたことを特徴とする請求項1からのいずれか1項に記載のスパッタ処理応用のプラズマ処理装置。
  8. 前記複数の磁石の上部表面は各々金属板に連結されており、各金属板の一方の端は、駆動機構によって回転される回転板に結合された他の金属板に連結されており、前記回転板の回転によって、前記磁石の全てが溝の内部で水平に動かされることを特徴とする請求項記載のスパッタ処理応用のプラズマ処理装置。
  9. 前記ターゲットプレートは、チタン、窒化チタン、又は二酸化珪素であることを特徴とする請求項1からのいずれか1項に記載のスパッタ処理応用のプラズマ処理装置。
JP14495499A 1998-06-01 1999-05-25 スパッタ処理応用のプラズマ処理装置 Expired - Fee Related JP4408987B2 (ja)

Priority Applications (1)

Application Number Priority Date Filing Date Title
JP14495499A JP4408987B2 (ja) 1998-06-01 1999-05-25 スパッタ処理応用のプラズマ処理装置

Applications Claiming Priority (3)

Application Number Priority Date Filing Date Title
JP10-167711 1998-06-01
JP16771198 1998-06-01
JP14495499A JP4408987B2 (ja) 1998-06-01 1999-05-25 スパッタ処理応用のプラズマ処理装置

Publications (2)

Publication Number Publication Date
JP2000156374A JP2000156374A (ja) 2000-06-06
JP4408987B2 true JP4408987B2 (ja) 2010-02-03

Family

ID=26476226

Family Applications (1)

Application Number Title Priority Date Filing Date
JP14495499A Expired - Fee Related JP4408987B2 (ja) 1998-06-01 1999-05-25 スパッタ処理応用のプラズマ処理装置

Country Status (1)

Country Link
JP (1) JP4408987B2 (ja)

Cited By (1)

* Cited by examiner, † Cited by third party
Publication number Priority date Publication date Assignee Title
US10784090B2 (en) 2018-09-04 2020-09-22 Toshiba Memory Corporation Plasma processing device and semiconductor device production method

Families Citing this family (7)

* Cited by examiner, † Cited by third party
Publication number Priority date Publication date Assignee Title
JP4614578B2 (ja) * 2001-06-01 2011-01-19 キヤノンアネルバ株式会社 スパッタ成膜応用のためのプラズマ処理装置
JP4024053B2 (ja) 2002-02-08 2007-12-19 キヤノンアネルバ株式会社 高周波プラズマ処理方法及び高周波プラズマ処理装置
JP2010031383A (ja) * 2009-11-09 2010-02-12 Canon Anelva Corp プラズマ支援スパッタ成膜装置
JP2011017088A (ja) * 2010-09-27 2011-01-27 Canon Anelva Corp スパッタ成膜応用のためのプラズマ処理装置
KR101295794B1 (ko) * 2011-05-31 2013-08-09 세메스 주식회사 기판 처리 장치
JP6192060B2 (ja) * 2011-09-09 2017-09-06 アプライド マテリアルズ インコーポレイテッドApplied Materials,Incorporated 誘電体材料の堆積速度および成長動態を高める多重周波数スパッタリング
JP2013139642A (ja) * 2013-04-02 2013-07-18 Canon Anelva Corp スパッタ成膜応用のためのプラズマ処理装置

Cited By (1)

* Cited by examiner, † Cited by third party
Publication number Priority date Publication date Assignee Title
US10784090B2 (en) 2018-09-04 2020-09-22 Toshiba Memory Corporation Plasma processing device and semiconductor device production method

Also Published As

Publication number Publication date
JP2000156374A (ja) 2000-06-06

Similar Documents

Publication Publication Date Title
KR100646266B1 (ko) 스퍼터링 증착용 플라스마 처리 장치
JP3438696B2 (ja) プラズマ処理方法及び装置
US4960073A (en) Microwave plasma treatment apparatus
JP3020580B2 (ja) マイクロ波プラズマ処理装置
EP0054201B1 (en) Dry etching device and method
US4610770A (en) Method and apparatus for sputtering
EP0396398B1 (en) Plasma etching apparatus with surface magnetic fields
JPH08288096A (ja) プラズマ処理装置
US20040084151A1 (en) Magnetron plasma etching apparatus
US8911602B2 (en) Dual hexagonal shaped plasma source
KR20000011969A (ko) 마그네트론플라즈마처리장치
JPH02298024A (ja) リアクティブイオンエッチング装置
KR20010099597A (ko) 비균일성을 보상하면서 표면을 물리적 기상 프로세싱하는장치
JP4614578B2 (ja) スパッタ成膜応用のためのプラズマ処理装置
JP4408987B2 (ja) スパッタ処理応用のプラズマ処理装置
JPH11288798A (ja) プラズマ生成装置
JP3417328B2 (ja) プラズマ処理方法及び装置
JP2000317303A (ja) プラズマ処理装置及びこれを用いたプラズマ処理方法
US7276140B2 (en) Plasma accelerating apparatus for semiconductor substrate processing and plasma processing system having the same
JPH1167725A (ja) プラズマエッチング装置
KR101383247B1 (ko) 향상된 유도 결합 플라즈마 소스를 이용한 박막 식각 방법
JP3379506B2 (ja) プラズマ処理方法及び装置
JPH08225967A (ja) 磁気中性線放電プラズマ処理装置
JP2001220671A (ja) スパッタ成膜応用のためのプラズマ処理装置
JPH10154699A (ja) リモートプラズマ型プラズマ処理装置

Legal Events

Date Code Title Description
A621 Written request for application examination

Free format text: JAPANESE INTERMEDIATE CODE: A621

Effective date: 20060519

A977 Report on retrieval

Free format text: JAPANESE INTERMEDIATE CODE: A971007

Effective date: 20080730

A131 Notification of reasons for refusal

Free format text: JAPANESE INTERMEDIATE CODE: A131

Effective date: 20080805

RD04 Notification of resignation of power of attorney

Free format text: JAPANESE INTERMEDIATE CODE: A7424

Effective date: 20080916

A521 Written amendment

Free format text: JAPANESE INTERMEDIATE CODE: A523

Effective date: 20081002

RD03 Notification of appointment of power of attorney

Free format text: JAPANESE INTERMEDIATE CODE: A7423

Effective date: 20081002

A521 Written amendment

Free format text: JAPANESE INTERMEDIATE CODE: A523

Effective date: 20081007

A131 Notification of reasons for refusal

Free format text: JAPANESE INTERMEDIATE CODE: A131

Effective date: 20090317

A521 Written amendment

Free format text: JAPANESE INTERMEDIATE CODE: A523

Effective date: 20090327

A02 Decision of refusal

Free format text: JAPANESE INTERMEDIATE CODE: A02

Effective date: 20090522

A521 Written amendment

Free format text: JAPANESE INTERMEDIATE CODE: A523

Effective date: 20090526

A911 Transfer of reconsideration by examiner before appeal (zenchi)

Free format text: JAPANESE INTERMEDIATE CODE: A911

Effective date: 20090724

TRDD Decision of grant or rejection written
A01 Written decision to grant a patent or to grant a registration (utility model)

Free format text: JAPANESE INTERMEDIATE CODE: A01

Effective date: 20091110

A01 Written decision to grant a patent or to grant a registration (utility model)

Free format text: JAPANESE INTERMEDIATE CODE: A01

A61 First payment of annual fees (during grant procedure)

Free format text: JAPANESE INTERMEDIATE CODE: A61

Effective date: 20091111

R150 Certificate of patent or registration of utility model

Free format text: JAPANESE INTERMEDIATE CODE: R150

FPAY Renewal fee payment (event date is renewal date of database)

Free format text: PAYMENT UNTIL: 20121120

Year of fee payment: 3

FPAY Renewal fee payment (event date is renewal date of database)

Free format text: PAYMENT UNTIL: 20121120

Year of fee payment: 3

FPAY Renewal fee payment (event date is renewal date of database)

Free format text: PAYMENT UNTIL: 20131120

Year of fee payment: 4

R250 Receipt of annual fees

Free format text: JAPANESE INTERMEDIATE CODE: R250

R250 Receipt of annual fees

Free format text: JAPANESE INTERMEDIATE CODE: R250

LAPS Cancellation because of no payment of annual fees