JP4404263B2 - コンクリート打継ぎ工法 - Google Patents

コンクリート打継ぎ工法 Download PDF

Info

Publication number
JP4404263B2
JP4404263B2 JP2005007019A JP2005007019A JP4404263B2 JP 4404263 B2 JP4404263 B2 JP 4404263B2 JP 2005007019 A JP2005007019 A JP 2005007019A JP 2005007019 A JP2005007019 A JP 2005007019A JP 4404263 B2 JP4404263 B2 JP 4404263B2
Authority
JP
Japan
Prior art keywords
concrete
partition plate
plate
reinforcing bar
insertion hole
Prior art date
Legal status (The legal status is an assumption and is not a legal conclusion. Google has not performed a legal analysis and makes no representation as to the accuracy of the status listed.)
Expired - Fee Related
Application number
JP2005007019A
Other languages
English (en)
Other versions
JP2006193985A (ja
Inventor
靖典 吉井
次夫 鳥居
Current Assignee (The listed assignees may be inaccurate. Google has not performed a legal analysis and makes no representation or warranty as to the accuracy of the list.)
Fujita Corp
Original Assignee
Fujita Corp
Priority date (The priority date is an assumption and is not a legal conclusion. Google has not performed a legal analysis and makes no representation as to the accuracy of the date listed.)
Filing date
Publication date
Application filed by Fujita Corp filed Critical Fujita Corp
Priority to JP2005007019A priority Critical patent/JP4404263B2/ja
Publication of JP2006193985A publication Critical patent/JP2006193985A/ja
Application granted granted Critical
Publication of JP4404263B2 publication Critical patent/JP4404263B2/ja
Anticipated expiration legal-status Critical
Expired - Fee Related legal-status Critical Current

Links

Images

Landscapes

  • On-Site Construction Work That Accompanies The Preparation And Application Of Concrete (AREA)

Description

本発明は、コンクリート打継ぎ工法に関し、より詳しくは、鉄筋コンクリート工事においてコンクリートを鉛直打継面で打継ぐためのコンクリート打継ぎ工法に関する。
鉄筋コンクリート工事においてコンクリートを鉛直打継面で打継ぐには、型枠内に先に打設するコンクリート(先打ちコンクリート)を、鉛直打継面を形成する位置で堰き止めるための、コンクリート止めが必要となる。型枠用合板で製作した仕切板をコンクリート止めとして使用するのは、そのための最も簡明な方法である。しかしながら、合板製の仕切板は、先打ちコンクリートの打設後に撤去しなければならず、また、合板製の仕切板を使用して先打ちコンクリートにより形成された鉛直打継面は平坦面となるため、先打ちコンクリートと後打ちコンクリートとの間で十分に剪断力が伝達されるように、その鉛直打継面を粗面とするかシアーコッターを設けることとなる。また、必要に応じて、その粗面とした鉛直打継面に含水させ、ないしは適当な薬剤を含浸させるなどの作業も行われる。そのため、この方法は、かなりのコスト高にならざるを得ない。
より低コストの方法として、エキスパンドメタルなどのラス網で形成したコンクリート止めを使用するという方法があり、この方法は広く一般的に採用されている。この方法では、ラス網の網目から押し出されたコンクリートの凹凸や、ラス網自体の凹凸を介して、先打ちコンクリートと後打ちコンクリートとの間で剪断力が十分に伝達されるため、鉛直打継面を粗面にする必要がなく、また、先打ちコンクリートの打設からそれほどの日数が経過していなければ、含水させるなどの作業も要しないため、鉛直打継目の施工が不要となる。更に、コンクリート止めとして使用したラス網は、撤去する必要がなく、そのまま後打ちコンクリートを打設してコンクリート中に埋設してしまえるため、そのことによってもコスト的に有利となっている。ただし、ラス網で堰き止めることができるのは、スランプ管理をする従来のコンクリートのように流動性の比較的低いコンクリートに限られ、例えば超高強度コンクリートのように流動性の高いコンクリートでは、そのコンクリートのモルタル部分が網目を通過して漏出してしまうため、この方法を適用することができない。
その他にも、数多くの特許文献に、コンクリートを鉛直打継面で打継ぐための様々なコンクリート止めの方法が開示されており、その具体例としては、下記の特許文献1及び2に開示されているものなどがある。
特開平08−135246号公報 特開2000−027439号公報
鉄筋コンクリート造の建物などでは、設計上必要とされるコンクリート強度が、建物の部分によって異なるのが普通である。そこで、必要に応じて、部分ごとに強度の異なるコンクリートを打ち分けるようにすれば、価格の高い高強度コンクリートの使用量を限定することができ、コスト的に有利である。ところが、コンクリートを打ち分けるに際して、流動性の高い超高強度コンクリートを先打ちしなければならないような場合には、ラス網で形成したコンクリート止めを使用することができないため、よりコスト高なコンクリート止めの方法を採用することを余儀なくされるという問題があった。
本発明はかかる事情に鑑み成されたものであり、本発明の目的は、鉄筋コンクリート工事においてコンクリートを鉛直打継面で打継ぐためのコンクリート打継ぎ工法であって、流動性の高いコンクリートを先打ちする場合にも対応することができ、鉛直打継目の施工を必要とせず、コンクリート止めの撤去も必要としない、施工が確実でコスト的にも極めて有利なコンクリート打継ぎ工法を提供することにある。
上記目的を達成するため、本発明に係る鉄筋コンクリート工事においてコンクリートを鉛直打継面で打継ぐためのコンクリート打継ぎ工法は、金属板もしくは高強度樹脂板から成り、コンクリートの鉛直打継面に対応した形状及び寸法ないしはコンクリートの鉛直打継面を包含する形状及び寸法を有し、配筋する鉄筋に対応した位置に鉄筋挿通孔が形成され、その両面の各々に当該面に接して打設されるコンクリートとの間で剪断力を伝達することのできる突起部ないし凹凸部が形成された仕切板を製作し、前記仕切板の材料とする金属板もしくは高強度樹脂板を、可撓性を有する金属板もしくは高強度樹脂板とし、前記鉄筋挿通孔を、当該鉄筋挿通孔に挿通する鉄筋の径と同径もしくはそれより小さな径を有し、その周囲に放射状の切れ目を入れた円形孔とし、鉛直打継面を形成する位置に前記仕切板が位置するようにして、前記仕切板の前記鉄筋挿通孔に鉄筋を挿通して鉄筋の組立を行い、型枠の建込を行い、前記仕切板の一方の面に接するように先打ちコンクリートを打設し、前記仕切板の他方の面に接するように後打ちコンクリートを打設し、コンクリートの養生後に型枠の解体を行うことを特徴とする。

本発明によれば、例えば超高強度コンクリートなどの流動性の高いコンクリートを先打ちする場合でも、板材から成る仕切板によって適切にコンクリート止めを行うことができる。また、仕切板の両面の各々に形成した突起部ないし凹凸部によってコンクリートとの間で剪断力を伝達できるようにしたため、後打ちコンクリートの打設に際して鉛直打継目の施工を必要としない。更に、仕切板は後打ちコンクリートの打設によってコンクリートの中に埋設されるため、コンクリート止めの撤去も必要とせず、それらによって、施工が確実でコスト的にも極めて有利なコンクリート打継ぎ工法が達成されている。
以下に本発明の実施の形態について添付図面を参照して説明する。本発明は、鉄筋コンクリート工事においてコンクリートを鉛直打継面で打継ぐためのコンクリート打継ぎ工法を提供するものである。本発明に係るコンクリート打継ぎ工法では、先ず、構築しようとする鉄筋コンクリート造の構造物の設計図に基づいて、所要のコンクリートの鉛直打継面に対応した仕切板を製作する。この仕切板は、金属板もしくは高強度樹脂板から成り、コンクリートの鉛直打継面に対応した形状及び寸法ないしはコンクリートの鉛直打継面を包含する形状及び寸法を有するものであって、かかる形状及び寸法とすることにより、流動性の高いコンクリートを打設する場合であっても、そのコンクリートのモルタル部分がこの仕切板を通過して漏出することを実質的に抑止して、コンクリート止めとしての機能を好適に果たし得るようにしたものである。仕切板の材料として金属板を使用する場合の好ましい材料の一例は鋼板であり、高強度樹脂板を使用する場合の好ましい材料の一例はポリカーボネートであるが、ただし、その他の適当な材料を使用することも可能である。
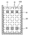
仕切板を製作する際には更に、配筋する鉄筋に対応した位置に鉄筋挿通孔を形成する。また、仕切板には、その両面の各々に、当該面に接して打設されるコンクリートとの間で剪断力を伝達することのできる突起部ないし凹凸部を形成する。図1に、仕切板10に形成する鉄筋挿通孔の2つの具体例として、鉄筋挿通孔12及び14を示し、また、仕切板10の両面の各々に形成する突起部ないし凹凸部の具体例として、突条パターン16を示した。図1において、鉄筋挿通孔12は、この鉄筋挿通孔12に挿通する鉄筋の径より僅かに大きな径を有する円形孔として形成するものである。挿通する鉄筋の径と鉄筋挿通孔12の径との差が小さすぎると、鉄筋組立作業の作業性が低下し、一方、その差が大きすぎると、流動性の高いコンクリートを打設したときに、鉄筋と鉄筋挿通孔12との間の隙間からコンクリートもしくはコンクリートのモルタル部分が漏出しやすくなる。従って、鉄筋挿通孔12の径は、鉄筋組立作業を阻害しない範囲内で、挿通する鉄筋の径にできるだけ近い径に設定するのがよい。
もう1つの具体例の鉄筋挿通孔14は、この鉄筋挿通孔14に挿通する鉄筋の径と同径もしくはそれより小さな径を有し、その周囲に放射状の切れ目を入れた円形孔として形成するものである。仕切板10に形成する鉄筋挿通孔を、鉄筋挿通孔14の形態とすることができるのは、仕切板10の材料とする金属板もしくは高強度樹脂板を、比較的薄く、可撓性を有するものとする場合である。鉄筋挿通孔14の形態を採用すれば、鉄筋組立作業の作業性を低下させることなく、鉄筋挿通孔の部分からのコンクリートもしくはコンクリートのモルタル部分の漏出を好適に抑制することができる。
仕切板10の両面の各々に形成する突起部ないし凹凸部の具体例として、図1に示したのは、仕切板10の表面に形成した突条パターン16である。この突条パターン16は、通常の縞鋼板に形成されている突条パターンと類似したものである。従って、仕切板10の材料として、市販の両面縞鋼板を使用することも可能であり、そのような鋼板を、所要の形状及び寸法に裁断し、配筋する鉄筋に対応した位置に鉄筋挿通孔を形成することによって、仕切板10を容易に製作することができる。仕切板の両面の各々に形成する突起部ないし凹凸部の形態は、図1に示した突条パターン16の形態以外にも、様々な形態とすることができ、後に図4を参照して、別の具体例の形態についても説明する。
以上のようにして、所要のコンクリートの鉛直打継面に対応した仕切板を製作したならば、その鉛直打継面を形成する位置に仕切板が位置するようにして、仕切板の鉄筋挿通孔に鉄筋を挿通して鉄筋の組立を行い、また、コンクリートの打設に必要な型枠の建込を行う。そして、仕切板の一方の面に接するように先打ちコンクリートを打設し、仕切板の他方の面に接するように後打ちコンクリートを打設し、コンクリートの養生後に型枠の解体を行う。以上によって、本発明に係るコンクリート打継ぎ工法が完了する。このコンクリート打継ぎ工法によれば、鉛直打継面を形成した仕切板は、撤去されることなく、先打ちコンクリートと後打ちコンクリートとの間に埋設される。また、仕切板に形成した突起部ないし凹凸部を介して、仕切板と先打ちコンクリートとの間、及び仕切板と後打ちコンクリートとの間で剪断力が伝達されるため、先打ちコンクリートと後打ちコンクリートとの間で剪断力が伝達される。
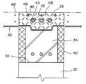
図2〜図4に立面図で示したのは、現場打ちの鉄筋コンクリート大梁に、本発明に係るコンクリート打継ぎ工法を適用した場合の3つの適用例である。これらの図は、大梁の軸心に直交する鉛直平面に沿った断面図であり、大梁のコンクリートを打設する前の状態を示している。また、どの図にも、組立が完了した大梁の鉄筋18と、建込が完了した型枠20と、仕切板10A、10B、10Cとが示されている。それら仕切板10A、10B、10Cは、コンクリートの鉛直打継面に対応した形状及び寸法に製作されている。
図2に示した適用例では、仕切板10Aに、図1を参照して説明した鉄筋挿通孔12と突条パターン16とが形成されている。図3に示した適用例では、仕切板10Bに、図1を参照して説明した鉄筋挿通孔14と突条パターン16とが形成されている。図4に示した適用例では、仕切板10Cに、図1を参照して説明した鉄筋挿通孔12が形成されている。更に、図4に示した仕切板10Cには、図1に示した突条パターン16に替えて、シアーコッター22が形成されている。シアーコッター22は、図4における手前側から仕切板10Cを見たときには四角錐台の形状の凸部であり、裏側から仕切板10Cを見たときには四角錐台の形状の凹部をなしている。シアーコッター22によって、仕切板10Cの両面の各々に接して打設されるコンクリートと仕切板10Cとの間で剪断力を伝達することができるようにしており、もって、仕切板10Cの一方の面に接して打設されるコンクリートと、他方の面に接して打設されるコンクリートとの間で剪断力を伝達することができるようにしている。シアーコッター22のこの機能は、図1の突条パターン16の機能と同一のものである。ただし、図4のようにシアーコッター22を採用した場合には、仕切板10Cが、打設したコンクリートの圧力によって撓むのを防止する効果も併せて得られる。尚、図4の適用例では、仕切板10Cの中央に、比較的大きなシアーコッターを1つだけ形成してあるが、より小さいシアーコッターを複数並べて形成するようにしてもよい。
図5に立断面図で示したのは、本発明に係るコンクリート打継ぎ工法を、現場打ちの鉄筋コンクリート壁に適用した場合の適用例である。同図は、壁の延展面に直交する鉛直平面に沿った断面図であり、壁のコンクリートを打設する前の状態を示している。図5において、仕切板10Dは、型枠20内に納まるように、コンクリートの鉛直打継面に対応した形状及び寸法に製作されている。また、この仕切板10Dには、図1に関連して説明した鉄筋挿通孔14と突条パターン16とが形成されており、鉄筋挿通孔14には鉄筋18が挿通されている。
図6に立断面図で示したのは、いずれも高強度コンクリートを用いて製作したプレキャストコンクリート柱(PCa柱)32と、プレキャストコンクリート大梁(PCa大梁)34との接合部の現場打ちに、本発明を適用した場合の適用例である。同図は、PCa大梁34の軸心に直交する鉛直平面に沿った断面図である。図6において、一階分の高さに略々対応した長さのPCa柱32は、そのコンクリート部分の上端面36から上方へ柱主筋の端部(不図示)が延出している。PCa大梁34は、そのコンクリート部分の両端から梁主筋の端部(不図示)が延出している。PCa柱32のコンクリート部分の上端面36の辺縁部に、PCa大梁34のコンクリート部分の端部を載せて、配筋をした後に、柱と大梁との接合部(柱・梁接合部)と、大梁の上部と、床版とに、コンクリートを打設する。大梁の上部と床版とは、水平方向に連続するものとなる。ここで、柱・梁接合部は、その底面がPCa柱32の水平断面に対応し、その高さがPCa大梁34の下面から完成した大梁の上面(これは床版の上面でもある)38までの寸法に等しい直方体の部分であり、この部分には高強度コンクリートを打設することが望まれる。一方、大梁の上部及び床版に打設するコンクリートは、普通強度のコンクリートで十分である。そこで、直方体の柱・梁接合部のうち、PCa大梁34の高さに対応した部分については、その四方の側面をPCa大梁34の端面と一般鋼製型枠40とで囲繞する。そして、PCa大梁34の高さを超える部分については、その四方の側面を本発明に係る仕切板10Eで囲繞する。以上によって、柱・梁接合部の周囲が完全に囲繞されるため、そこに高強度コンクリートを打設するようにする。仕切板10Eには、現場打ちする大梁の上部に配筋する大梁主筋42が挿通される鉄筋挿通孔44と、床版の鉄筋46が挿通される鉄筋挿通孔48とが形成されており、それら鉄筋挿通孔44、48は、図1の鉄筋挿通孔12、14と同様のものである。また、図中、参照番号50は床版の底部を画成する鋼製型枠であり、柱・梁接合部に高強度コンクリートを打設完了したならば、大梁の上部と床版とに普通強度のコンクリートを打設する。
図7に平断面図で示したのは、現場打ちの鉄筋コンクリート柱と鉄筋コンクリート梁を打ち継ぐために、本発明に係るコンクリート打継ぎ工法を適用した場合の適用例である。図示した仕切板10Fは、梁断面よりも大きく製作してあり、コンクリートの鉛直打継面を包含する形状及び寸法を有するものである。この適用例では、柱の部分の型枠52を建込んだ後に、木材54を介してその型枠52に仕切板10Fを固定し、それに続いて梁の部分の型枠56を建込むようにしている。図中、58は柱主筋であり、梁主筋60は、仕切板10Fに形成された鉄筋挿通孔に挿通されている。この適用例は、柱と梁に使用するコンクリート強度が違う場合のものである。尚、型枠の解体後、仕切板10Fの側縁部がコンクリートから突出していることが不都合な場合には、その部分を隠蔽ないし切断除去するなどの適宜の処置を取るようにする。
図8に平断面図で示したのは、図7と同様の部位を地下で施工する場合の本発明の適用例である。図8の場合も、仕切板10Gは、梁断面よりも大きく製作してあり、コンクリートの鉛直打継面を包含する形状及び寸法を有するものとしてある。この適用例では、横矢板62を介して土64を支えている親杭(H形鋼)66を利用しており、この親杭66に仕切板10Gの一方の側縁を溶接し、他方の側縁は図7と同様に木材54を介して柱の部分の型枠52に固定している。図中、56は梁の部分の型枠、58は柱主筋、60は梁主筋である。また、地下水の浸透を防ぐため、仕切板10Gに止水板68を取り付けている。この止水板68は、仕切板の少なくとも一方の面に、仕切板の延展方向に対して垂直に延展する板片を固定し、その板片をもって、打設したコンクリートとそのコンクリートが接する仕切板の面との間を通って水が浸透することを抑制する止水板となしたものである。かかる止水板68は更に、仕切板の鉛直剛性を高め、鉄筋の荷重を支えるという機能も併せ持つ。
本発明に係るコンクリート打継ぎ工法に用いる仕切板の斜視図であり、仕切板に形成する鉄筋挿通孔、並びに突起部ないし凹凸部の具体例を示した図である。 本発明の第1の適用例を示した図であり、コンクリートを打設する前の状態の鉄筋コンクリート大梁の立断面図である。 本発明の第2の適用例を示した図であり、コンクリートを打設する前の状態の鉄筋コンクリート大梁の立断面図である。 本発明の第3の適用例を示した図であり、コンクリートを打設する前の状態の鉄筋コンクリート大梁の立断面図である。 本発明の第4の適用例を示した図であり、コンクリートを打設する前の状態の鉄筋コンクリート壁の立断面図である。 本発明の第5の適用例を示した図であり、プレキャストコンクリート柱とプレキャストコンクリート大梁の接合部を示した立断面図である 本発明の第6の適用例を示した図であり、鉄筋コンクリート柱と鉄筋コンクリート梁の打継ぎ部の平断面図である。 本発明の第7の適用例を示した図であり、鉄筋コンクリート柱と鉄筋コンクリート梁の打継ぎ部の平断面図である。
符号の説明
10、10A、10B、10C、10D、10E、10F、10G……仕切板、12……鉄筋挿通孔、14……鉄筋挿通孔、16……突条パターン、18……鉄筋、20……型枠、22……シアーコッター、32……プレキャストコンクリート柱、34……プレキャストコンクリート大梁、42……大梁主筋、44……鉄筋挿通孔、46……鉄筋、48……鉄筋挿通孔、50……型枠、52……型枠、56……型枠、60……梁主筋、68……止水板。

Claims (4)

  1. 鉄筋コンクリート工事においてコンクリートを鉛直打継面で打継ぐためのコンクリート打継ぎ工法であって、
    金属板もしくは高強度樹脂板から成り、コンクリートの鉛直打継面に対応した形状及び寸法ないしはコンクリートの鉛直打継面を包含する形状及び寸法を有し、配筋する鉄筋に対応した位置に鉄筋挿通孔が形成され、その両面の各々に当該面に接して打設されるコンクリートとの間で剪断力を伝達することのできる突起部ないし凹凸部が形成された仕切板を製作し、
    前記仕切板の材料とする金属板もしくは高強度樹脂板を、可撓性を有する金属板もしくは高強度樹脂板とし、
    前記鉄筋挿通孔を、当該鉄筋挿通孔に挿通する鉄筋の径と同径もしくはそれより小さな径を有し、その周囲に放射状の切れ目を入れた円形孔とし、
    鉛直打継面を形成する位置に前記仕切板が位置するようにして、前記仕切板の前記鉄筋挿通孔に鉄筋を挿通して鉄筋の組立を行い、
    型枠の建込を行い、
    前記仕切板の一方の面に接するように先打ちコンクリートを打設し、
    前記仕切板の他方の面に接するように後打ちコンクリートを打設し、
    コンクリートの養生後に型枠の解体を行う、
    ことを特徴とするコンクリート打継ぎ工法。
  2. 前記仕切板の前記突起部ないし凹凸部を、前記仕切板の表面に形成する突条パターンとすることを特徴とする請求項1記載のコンクリート打継ぎ工法。
  3. 前記仕切板の前記突起部ないし凹凸部を、前記仕切板に形成するシアーコッターとすることを特徴とする請求項1記載のコンクリート打継ぎ工法。
  4. 前記仕切板の少なくとも一方の面に、該仕切板の延展方向に対して垂直に延展する板片を固定し、該板片をもって、打設したコンクリートとそのコンクリートが接する該仕切板の面との間を通って水が浸透することを抑制する止水板とすることを特徴とする請求項1記載のコンクリート打継ぎ工法。
JP2005007019A 2005-01-14 2005-01-14 コンクリート打継ぎ工法 Expired - Fee Related JP4404263B2 (ja)

Priority Applications (1)

Application Number Priority Date Filing Date Title
JP2005007019A JP4404263B2 (ja) 2005-01-14 2005-01-14 コンクリート打継ぎ工法

Applications Claiming Priority (1)

Application Number Priority Date Filing Date Title
JP2005007019A JP4404263B2 (ja) 2005-01-14 2005-01-14 コンクリート打継ぎ工法

Publications (2)

Publication Number Publication Date
JP2006193985A JP2006193985A (ja) 2006-07-27
JP4404263B2 true JP4404263B2 (ja) 2010-01-27

Family

ID=36800282

Family Applications (1)

Application Number Title Priority Date Filing Date
JP2005007019A Expired - Fee Related JP4404263B2 (ja) 2005-01-14 2005-01-14 コンクリート打継ぎ工法

Country Status (1)

Country Link
JP (1) JP4404263B2 (ja)

Families Citing this family (4)

* Cited by examiner, † Cited by third party
Publication number Priority date Publication date Assignee Title
JP6324105B2 (ja) * 2014-02-24 2018-05-16 株式会社長谷工コーポレーション コンクリート打継ぎ方法
CN110374214B (zh) * 2019-07-29 2024-12-24 江西国金建设集团有限公司 成品后浇带
CN112502437B (zh) * 2020-07-30 2024-12-24 河北建设集团天辰建筑工程有限公司 一种梁柱节点不同强度等级混凝土浇筑成型隔离装置
CN113898172B (zh) * 2021-09-16 2025-05-30 中铁一局集团建筑安装工程有限公司 一种梁板现浇混凝土隔断体系

Also Published As

Publication number Publication date
JP2006193985A (ja) 2006-07-27

Similar Documents

Publication Publication Date Title
KR101178381B1 (ko) 각형강관을 이용한 프리캐스트 콘크리트 합성기둥 및 이의 제작방법
JP4992042B2 (ja) プレキャスト横梁およびそれを用いた橋脚
WO2011114507A1 (ja) 新設地下構造物の施工方法
KR100899779B1 (ko) 조적식 벽돌
CN101381993A (zh) 具有钢管的桥墩基础及使用该桥墩基础的桥墩的装配结构
JP4404263B2 (ja) コンクリート打継ぎ工法
JP2005120663A (ja) 山留め壁の構造
JP5207998B2 (ja) 杭頭接合部材及びこれを用いた杭頭接合構造
JP2007291707A (ja) 盛土構造物およびその構築方法
KR200201561Y1 (ko) 강관파일 두부보강구조
JP4997207B2 (ja) 地下構造物の施工方法
KR100694824B1 (ko) 철근콘크리트 구조물의 데크 플레이트 및 그에 따른구조물의 시공방법
KR100706976B1 (ko) 강관을 이용한 지반구조물
KR20100007721A (ko) 기둥 하부 기초의 펀칭 크랙 보강용 판형 합성 구조체
KR200370135Y1 (ko) 흙막이벽의 테두리보 시공을 위한 거푸집 구조체
JP2025044627A (ja) ブロック組立体の施工方法、及びシート材
JP7138945B2 (ja) 型枠付き壁体構成部材および型枠付き壁体
JP6088883B2 (ja) シールド掘削用繊維補強杭材の接続方法及び接続構造
JP2010095907A (ja) 既設基礎の補強構造および補強方法
JP4236361B2 (ja) 壁頭補強地中連続壁、耐震建造物及び地中連続壁の壁頭補強方法
JP7016106B2 (ja) 軽量盛土構造、および軽量盛土の構築方法
JP2008144459A (ja) スラブ型枠、および合成床版の構築方法
JP3047817B2 (ja) 打分けられるようにしたコンクリートの打設方法
KR20200002362U (ko) 콘크리트 타설막이 구조체
JP2007247302A (ja) 橋脚の補強構造および補強工法

Legal Events

Date Code Title Description
A621 Written request for application examination

Free format text: JAPANESE INTERMEDIATE CODE: A621

Effective date: 20071203

A977 Report on retrieval

Free format text: JAPANESE INTERMEDIATE CODE: A971007

Effective date: 20090625

A131 Notification of reasons for refusal

Free format text: JAPANESE INTERMEDIATE CODE: A131

Effective date: 20090630

A521 Request for written amendment filed

Free format text: JAPANESE INTERMEDIATE CODE: A523

Effective date: 20090826

TRDD Decision of grant or rejection written
A01 Written decision to grant a patent or to grant a registration (utility model)

Free format text: JAPANESE INTERMEDIATE CODE: A01

Effective date: 20091028

A01 Written decision to grant a patent or to grant a registration (utility model)

Free format text: JAPANESE INTERMEDIATE CODE: A01

A61 First payment of annual fees (during grant procedure)

Free format text: JAPANESE INTERMEDIATE CODE: A61

Effective date: 20091028

FPAY Renewal fee payment (event date is renewal date of database)

Free format text: PAYMENT UNTIL: 20121113

Year of fee payment: 3

R150 Certificate of patent or registration of utility model

Ref document number: 4404263

Country of ref document: JP

Free format text: JAPANESE INTERMEDIATE CODE: R150

Free format text: JAPANESE INTERMEDIATE CODE: R150

FPAY Renewal fee payment (event date is renewal date of database)

Free format text: PAYMENT UNTIL: 20131113

Year of fee payment: 4

R250 Receipt of annual fees

Free format text: JAPANESE INTERMEDIATE CODE: R250

R250 Receipt of annual fees

Free format text: JAPANESE INTERMEDIATE CODE: R250

R250 Receipt of annual fees

Free format text: JAPANESE INTERMEDIATE CODE: R250

R250 Receipt of annual fees

Free format text: JAPANESE INTERMEDIATE CODE: R250

S531 Written request for registration of change of domicile

Free format text: JAPANESE INTERMEDIATE CODE: R313531

R350 Written notification of registration of transfer

Free format text: JAPANESE INTERMEDIATE CODE: R350

R250 Receipt of annual fees

Free format text: JAPANESE INTERMEDIATE CODE: R250

R250 Receipt of annual fees

Free format text: JAPANESE INTERMEDIATE CODE: R250

R250 Receipt of annual fees

Free format text: JAPANESE INTERMEDIATE CODE: R250

R250 Receipt of annual fees

Free format text: JAPANESE INTERMEDIATE CODE: R250

R250 Receipt of annual fees

Free format text: JAPANESE INTERMEDIATE CODE: R250

R250 Receipt of annual fees

Free format text: JAPANESE INTERMEDIATE CODE: R250

R250 Receipt of annual fees

Free format text: JAPANESE INTERMEDIATE CODE: R250

R250 Receipt of annual fees

Free format text: JAPANESE INTERMEDIATE CODE: R250

LAPS Cancellation because of no payment of annual fees