JP4394530B2 - 電動駆動装置 - Google Patents

電動駆動装置 Download PDF

Info

Publication number
JP4394530B2
JP4394530B2 JP2004214761A JP2004214761A JP4394530B2 JP 4394530 B2 JP4394530 B2 JP 4394530B2 JP 2004214761 A JP2004214761 A JP 2004214761A JP 2004214761 A JP2004214761 A JP 2004214761A JP 4394530 B2 JP4394530 B2 JP 4394530B2
Authority
JP
Japan
Prior art keywords
support member
opening
electric drive
terminal
control circuit
Prior art date
Legal status (The legal status is an assumption and is not a legal conclusion. Google has not performed a legal analysis and makes no representation as to the accuracy of the status listed.)
Expired - Lifetime
Application number
JP2004214761A
Other languages
English (en)
Other versions
JP2006042417A (ja
Inventor
済 加納
幸夫 磯村
岳史 菊田
浩三 西村
晴英 佐々木
誠一 渡辺
Current Assignee (The listed assignees may be inaccurate. Google has not performed a legal analysis and makes no representation or warranty as to the accuracy of the list.)
Asmo Co Ltd
Tokai Rika Co Ltd
Toyota Motor Corp
Aisin Corp
Original Assignee
Aisin Seiki Co Ltd
Asmo Co Ltd
Tokai Rika Co Ltd
Toyota Motor Corp
Aisin Corp
Priority date (The priority date is an assumption and is not a legal conclusion. Google has not performed a legal analysis and makes no representation as to the accuracy of the date listed.)
Filing date
Publication date
Application filed by Aisin Seiki Co Ltd, Asmo Co Ltd, Tokai Rika Co Ltd, Toyota Motor Corp, Aisin Corp filed Critical Aisin Seiki Co Ltd
Priority to JP2004214761A priority Critical patent/JP4394530B2/ja
Priority to US11/186,439 priority patent/US7679236B2/en
Publication of JP2006042417A publication Critical patent/JP2006042417A/ja
Application granted granted Critical
Publication of JP4394530B2 publication Critical patent/JP4394530B2/ja
Anticipated expiration legal-status Critical
Expired - Lifetime legal-status Critical Current

Links

Images

Classifications

    • HELECTRICITY
    • H01ELECTRIC ELEMENTS
    • H01RELECTRICALLY-CONDUCTIVE CONNECTIONS; STRUCTURAL ASSOCIATIONS OF A PLURALITY OF MUTUALLY-INSULATED ELECTRICAL CONNECTING ELEMENTS; COUPLING DEVICES; CURRENT COLLECTORS
    • H01R12/00Structural associations of a plurality of mutually-insulated electrical connecting elements, specially adapted for printed circuits, e.g. printed circuit boards [PCB], flat or ribbon cables, or like generally planar structures, e.g. terminal strips, terminal blocks; Coupling devices specially adapted for printed circuits, flat or ribbon cables, or like generally planar structures; Terminals specially adapted for contact with, or insertion into, printed circuits, flat or ribbon cables, or like generally planar structures
    • H01R12/50Fixed connections
    • H01R12/51Fixed connections for rigid printed circuits or like structures
    • H01R12/515Terminal blocks providing connections to wires or cables
    • HELECTRICITY
    • H02GENERATION; CONVERSION OR DISTRIBUTION OF ELECTRIC POWER
    • H02KDYNAMO-ELECTRIC MACHINES
    • H02K11/00Structural association of dynamo-electric machines with electric components or with devices for shielding, monitoring or protection
    • H02K11/30Structural association with control circuits or drive circuits
    • H02K11/38Control circuits or drive circuits associated with geared commutator motors of the worm-and-wheel type
    • HELECTRICITY
    • H02GENERATION; CONVERSION OR DISTRIBUTION OF ELECTRIC POWER
    • H02KDYNAMO-ELECTRIC MACHINES
    • H02K5/00Casings; Enclosures; Supports
    • H02K5/04Casings or enclosures characterised by the shape, form or construction thereof
    • H02K5/22Auxiliary parts of casings not covered by groups H02K5/06-H02K5/20, e.g. shaped to form connection boxes or terminal boxes
    • H02K5/225Terminal boxes or connection arrangements
    • HELECTRICITY
    • H01ELECTRIC ELEMENTS
    • H01RELECTRICALLY-CONDUCTIVE CONNECTIONS; STRUCTURAL ASSOCIATIONS OF A PLURALITY OF MUTUALLY-INSULATED ELECTRICAL CONNECTING ELEMENTS; COUPLING DEVICES; CURRENT COLLECTORS
    • H01R13/00Details of coupling devices of the kinds covered by groups H01R12/70 or H01R24/00 - H01R33/00
    • H01R13/46Bases; Cases
    • H01R13/52Dustproof, splashproof, drip-proof, waterproof, or flameproof cases
    • H01R13/5202Sealing means between parts of housing or between housing part and a wall, e.g. sealing rings
    • HELECTRICITY
    • H02GENERATION; CONVERSION OR DISTRIBUTION OF ELECTRIC POWER
    • H02KDYNAMO-ELECTRIC MACHINES
    • H02K7/00Arrangements for handling mechanical energy structurally associated with dynamo-electric machines, e.g. structural association with mechanical driving motors or auxiliary dynamo-electric machines
    • H02K7/10Structural association with clutches, brakes, gears, pulleys or mechanical starters
    • H02K7/116Structural association with clutches, brakes, gears, pulleys or mechanical starters with gears
    • H02K7/1163Structural association with clutches, brakes, gears, pulleys or mechanical starters with gears where at least two gears have non-parallel axes without having orbital motion
    • H02K7/1166Structural association with clutches, brakes, gears, pulleys or mechanical starters with gears where at least two gears have non-parallel axes without having orbital motion comprising worm and worm-wheel

Landscapes

  • Engineering & Computer Science (AREA)
  • Power Engineering (AREA)
  • Motor Or Generator Frames (AREA)
  • Connection Of Motors, Electrical Generators, Mechanical Devices, And The Like (AREA)
  • Power-Operated Mechanisms For Wings (AREA)

Description

本発明は、減速機構及び制御回路基板を備えた電動駆動装置に関するものである。
従来、パワーウインドウ装置等に用いられる電動駆動装置は、モータ本体と、モータ本体における回転軸の回転を減速するための減速機構を収容するハウジング本体とを備える。そして、このような電動駆動装置としては、電源等の外部端子と接続可能な外部用端子を有し、その外部用端子がハウジング本体にインサート成形され、その端部のみがハウジング本体の外部に露出したものがある(特許文献1参照)。このような電動駆動装置では、インサート成形により外部用端子の端部のみが露出する(ハウジング本体の内外を連通する他の隙間が発生しない)ため、外部からハウジング本体の内部に液体が浸入することは防止される。
一方、他の電動駆動装置としては、ハウジング本体に制御回路基板を収容し、その制御回路基板に他の電気回路部品と共に外部用端子を配設(立設)するものがある(特許文献2参照)。このような電動駆動装置では、インサート成形を行なわないためハウジング本体の製造が容易となる。
特開2000−220344号公報 米国特許第5245258号明細書
しかしながら、上記(特許文献2)のような電動駆動装置では、外部用端子が配設された制御回路基板をハウジング本体に組み付けた際に、外部用端子を外部に露出させるためのハウジング本体の開口部(開口部と外部用端子の隙間)からハウジング本体の内部(制御回路基板を収容する基板収容部)に液体が浸入する虞がある。このことは、電気回路部品やモータ本体の破壊の原因となる。
本発明は、上記問題点を解決するためになされたものであって、その目的は、外部用端子が露出される電動駆動装置において、ハウジング本体の製造を容易(インサート成形不要)としながら、ハウジング本体の内部への液体の浸入を防止することができる電動駆動装置を提供することにある。
請求項1に記載の発明では、回転軸を有するモータ本体と、前記モータ本体に組み付けられ、前記回転軸の回転を減速するための減速機構を収容するハウジング本体と、前記ハウジング本体に収容され前記モータ本体の駆動を制御するための制御回路基板とを備えた電動駆動装置であって、前記制御回路基板は、外部コネクタの外部端子と接続可能な外部用端子と、該外部用端子を前記制御回路基板に支持するための端子支持部材とを有し、前記ハウジング本体には、該ハウジング本体の外側から前記外部端子を前記外部用端子に接続可能とする開口部が形成され、前記開口部には前記ハウジング本体の内側に延びる略筒状の内嵌部材が設けられ、前記端子支持部材は、前記外部用端子を囲む環状のフランジ部を有し、前記内嵌部材の先端部と前記フランジ部との間にはシール部材が設けられる。
請求項2に記載の発明では、請求項1に記載の電動駆動装置において、前記制御回路基板は、前記外部用端子及び前記端子支持部材が組み付けられた状態で、前記外部コネクタが接続される方向と直交する方向から前記ハウジング本体内に組み付け可能とされ、前記制御回路基板が前記ハウジング本体に組み付けられた状態で前記端子支持部材に装着可能とされ、装着された状態で前記開口部の内側に配置され、前記外部コネクタを前記端子支持部材に対して支持する外部コネクタ支持部材を備える。
請求項3に記載の発明では、請求項1又は2に記載の電動駆動装置において、前記内嵌部材は、前記ハウジング本体の外側に延びその内外を区画する略筒状の筒状シール部材と連通固定され、該筒状シール部材と共に前記開口部に組み付け可能とされ、前記筒状シール部材は、前記開口部と前記内嵌部材との隙間をシールするための開口シール部を有する。
請求項4に記載の発明では、請求項1乃至3のいずれか1項に記載の電動駆動装置において、前記端子支持部材は、前記フランジ部を底部とする溝部を有し、前記シール部材は、前記溝部に嵌入された状態で前記内嵌部材の先端部と密着される。
(作用)
請求項1に記載の発明によれば、制御回路基板は、外部コネクタの外部端子と接続可能な外部用端子と外部用端子を制御回路基板に支持するための端子支持部材とを有する。そして、ハウジング本体には、ハウジング本体の外側から外部端子を外部用端子に接続可能とする開口部が形成される構成である。よって、特に外部用端子のインサート成形を行なうといったことがないためハウジング本体の製造が容易となる。
しかも、開口部にはハウジング本体の内側に延びる略筒状の内嵌部材が設けられ、端子支持部材は、外部用端子を囲む環状のフランジ部を有し、内嵌部材の先端部とフランジ部との間にはシール部材が設けられる。よって、例えば、内嵌部材の内側に液体が浸入しても、ハウジング本体(制御回路基板を収容する基板収容部)の内部への液体の浸入が防止される。
請求項2に記載の発明によれば、制御回路基板は、外部用端子及び端子支持部材が組み付けられた状態で、外部コネクタが接続される方向と直交する方向からハウジング本体内に組み付け可能とされるため、容易に組み付けることができるとともに、外部コネクタの接続時(嵌着時)の応力を容易に受け止める構成とすることができる。しかも、制御回路基板がハウジング本体に組み付けられた状態で端子支持部材に装着可能とされ、装着された状態で開口部の内側に配置され、外部コネクタを端子支持部材に対して支持する外部コネクタ支持部材を備えるため、制御回路基板の容易な組み付けを可能としながら、外部コネクタを外部コネクタ支持部材にて強固に支持させることができる。言い換えると、開口部の内側に配置されるほど外部コネクタの接続方向に長い外部コネクタ支持部材を備えて外部コネクタを強固に支持(固定)可能としながら、制御回路基板の容易な組み付けも可能とすることができる。
請求項3に記載の発明によれば、内嵌部材は、ハウジング本体の外側に延びその内外を区画する略筒状の筒状シール部材と連通固定され、該筒状シール部材と共に前記開口部に組み付けられる。よって、筒状シール部材にてその内側に配置される部材(例えば外部コネクタ)の被水が防止される。しかも、筒状シール部材は、開口部と内嵌部材との隙間をシールするための開口シール部を有するため、部品点数の増加を抑制しながら、開口部と内嵌部材との隙間をシールすることができる。
請求項4に記載の発明によれば、端子支持部材は、フランジ部を底部とする溝部を有し、シール部材は、溝部に嵌入された状態で内嵌部材の先端部と密着されるため、シール部材を容易に配設することができる。又、シール部材の位置ズレが防止され、防水構造の信頼性が向上する。
本発明によれば、外部用端子が露出される電動駆動装置において、ハウジング本体の製造を容易(インサート成形不要)としながら、ハウジング本体の内部への液体の浸入を防止することができる電動駆動装置を提供することができる。
以下、本発明を車両におけるパワーウインドウ装置の電動駆動装置1に具体化した一実施の形態を図1〜図4に従って説明する。図1及び図2に示すように、電動駆動装置1は、モータ本体2と、減速部3とを備えている。
モータ本体2は、扁平の略有底筒状に形成されたヨークハウジング(以下、単にヨークという)4と、該ヨーク4内面に固定された一対のマグネット5と、該ヨーク4内で回転可能に支持されるアーマチャ6(回転軸6a含む)と、ブラシホルダ7(図2参照)と、一対のブラシ(図示略)とを備えている。
ブラシホルダ7は、樹脂材料よりなり、図2に示すように、ヨーク4の開口部内に収容されブラシを保持するためのホルダ本体7aと、ヨーク4の開口部から軸方向に突出する端子支持部7bとが一体形成されている。端子支持部7bは、ヨーク4の扁平面4aの直交方向から見て回転軸6aの側方(図2中、左方)に形成されている。そして、ブラシホルダ7には、複数のターミナルがインサート成形され、これらターミナルの基端部にはピッグテールを介してブラシが電気的に接続される。又、ターミナルの先端部は、モータ側接続端子11(図2参照)であって、前記端子支持部7bから更に軸方向に突出するように該端子支持部7bに支持されて配置されている。又、本実施の形態のブラシホルダ7におけるヨーク4の開口部(フランジ部4b)と対応した位置にはエラストマよりなる本体シール部材12が固定されている。又、本実施の形態の回転軸6aの先端側(図1及び図2中、下側)には、回転軸6aと一体回転するようにセンサ用マグネット6bが固定されている。
減速部3は、ハウジング本体(ギヤハウジング)21と、ウォーム軸22と、ウォームホイール23と、クラッチ24と、制御回路基板25(図2参照)と、カバー26と、固定部材27と、図示しない出力軸とを備える。尚、本実施の形態では、ウォーム軸22とウォームホイール23とが減速機構を構成している。
ハウジング本体21は、樹脂製であって、一体成形された固定部21aと、ウォーム収容部21bと、ホイール収容部21cと、基板収容部21dとを備える。
固定部21aは、ヨーク4の開口部に形成されたフランジ部4bと対応した形状に形成されて該フランジ部4bにネジ29にて固定される。
ウォーム収容部21bは、前記回転軸6aの延長線上で筒状に延びて形成され、その内部にウォーム軸22を回転可能に支持する。又、ウォーム収容部21bの内部におけるモータ本体2側には、ウォーム軸22と回転軸6aとを駆動連結するクラッチ24が設けられている。クラッチ24は、回転軸6aからの駆動力をウォーム軸22に伝達し、逆にウォーム軸22からの駆動力が回転軸6aに伝達されないようウォーム軸22の回転をロックするように作動する。つまり、このクラッチ24は、負荷側から加わる力による回転軸6aの回転を防止するために設けられている。
ホイール収容部21cは、扁平形状(円盤形状)に形成され、その内部にウォームホイール23を回転可能に支持する。尚、ウォーム収容部21bとホイール収容部21cとはその内部が一部で連通し、該連通部分でウォーム軸22とウォームホイール23とが歯合される。又、ホイール収容部21cは、前記ウォーム収容部21bに対して前記端子支持部7bの反対側(図2中、右側)に形成されている。又、ホイール収容部21cの扁平面21eは前記ヨーク4の扁平面4aに沿って形成されている。そして、ホイール収容部21cの扁平面21eの一方(図1及び図2中、紙面奥方)には、ウォームホイール23と共に回転可能に駆動連結された図示しない出力軸が突出して配置される。
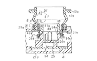
基板収容部21dは、扁平形状に形成され、前記モータ側接続端子11(端子支持部7b)と対応した側(ウォーム収容部21bに対してホイール収容部21cの反対側)に形成されている。又、基板収容部21dは、その内部が前記センサ用マグネット6bと対応した部分と連通している。又、基板収容部21dには、図2に示すように、制御回路基板25を外部(回転軸6aに対して傾斜した方向)から挿入可能な挿入孔21fが形成されている。又、基板収容部21dには、図3及び図4に示すように、基板収容部21dの扁平面21gの直交方向に(内外で)貫通する貫通方向から見て略四角形の開口部21hが形成されている。この開口部21hは、前記出力軸の突出方向の反対側(図1及び図2中、紙面手前側)に形成されている。又、基板収容部21dの外表面における開口部21hの周囲には、環状の位置決め壁21iが形成されている。
前記制御回路基板25は、基板収容部21dに収容される。詳しくは、制御回路基板25は、図2に示すように、略長方形形状の基板本体部25aと、基板本体部25aの1つの角近傍から1つの辺に沿って延出された形状の基板延出部25bとからなる。制御回路基板25には、IC31、ホール素子32、外部用端子33、端子支持部材34、基板側接続端子35、コネクタブロック36等が設けられている。本実施の形態の制御回路基板25は、基板延出部25bの先端に設けられるホール素子32にてセンサ用マグネット6b(回転軸6a)の回転速度を検出し、その回転速度等に基づいてIC31にて車両ウインドガラスに挟み込みが発生したと判断されると、モータ本体2に逆回転の電流を供給する、所謂挟み込み防止回路を備えたものである。
外部用端子33は、図3及び図4に示すように、前記開口部21hと対応した位置に設けられる。外部用端子33は、端子支持部材34により制御回路基板25に対して垂直方向に延びるように支持される。詳しくは、端子支持部材34は、略四角柱状に形成され、制御回路基板25上に立設(固定)されている。端子支持部材34の頂部には、コネクタ凹部34aが形成され、外部用端子33はコネクタ凹部34aの底面から突出するように配設される。又、端子支持部材34には、外部用端子33を囲むように環状のフランジ部34bが形成されている。このフランジ部34bは、端子支持部材34の側壁の中間部(立設方向の中間部)から形成され、その外縁には端子支持部材34の頂部方向に向かって延びる外枠部34cが形成されている。尚、本実施の形態では、端子支持部材34の側壁と、フランジ部34bと、外枠部34cがフランジ部34bを底部とする溝部34dを構成している。そして、溝部34dには、弾性部材(例えばエラストマ)よりなる環状のシール部材37が嵌入されている。又、端子支持部材34の頂部には、コネクタ凹部34aの底を深くすべく(側壁を延長するように)外部コネクタ支持部材38が装着されている。この外部コネクタ支持部材38は、前記開口部21hの内側に配置されるように設定されている。
基板側接続端子35は、図2に示すように、前記モータ側接続端子11と対応した位置に設けられている。基板側接続端子35は、雌端子であって、コネクタブロック36により制御回路基板25の水平方向からの雄端子(モータ側接続端子11)を挿入可能に設けられている。
そして、制御回路基板25は、(外部コネクタ支持部材38が開口部21hの内側に配置されることから外部コネクタ支持部材38が組み付けられていない状態で)挿入孔21fから基板収容部21dに収容される。又、本実施の形態では、その後、ハウジング本体21にモータ本体2が組み付けられることで、基板側接続端子35にモータ側接続端子11が電気的に接続される。又、外部コネクタ支持部材38は、制御回路基板25が基板収容部21dに収容された状態で端子支持部材34に装着される。
前記カバー26は、前記挿入孔21fを閉塞すべくハウジング本体21(基板収容部21dの挿入孔21d)に組み付けられる。本実施の形態のカバー26は、金属板材からなり、その縁が挿入孔21fに外嵌可能に屈曲形成されている。
前記固定部材27は、ハウジング本体21(基板収容部21dの開口部21h)に組み付けられる。詳しくは、固定部材27は、図3及び図4に示すように、内嵌部材41と筒状シール部材42とからなる。内嵌部材41は、樹脂材料よりなり、前記基板収容部21dの開口部21hに内嵌可能な略有底四角筒状の本体部41aと、本体部41aの基端側開口部から外側に延びるフランジ部41bと、フランジ部41bの一部から更に外側に延びる一対の固定片41c(図4参照)とを備える。又、フランジ部41bには、前記位置決め壁21iに内嵌可能な位置決め部41dが形成されている。筒状シール部材42は、内嵌部材41のフランジ部41b、固定片41c及び位置決め部41dを覆うようにして固定される開口シール部42aと、開口シール部42aから前記本体部41aと反対方向に延びる筒状部42bとを備える。又、筒状部42bの先端側には径方向外側に延びる密着フランジ部42cが形成されている。
そして、固定部材27は、その内嵌部材41における本体部41aが基板収容部21dの開口部21hに内嵌され、その内嵌された状態で固定片41cを貫通して基板収容部21dに螺合されるネジ43(図4参照)にてハウジング本体21(基板収容部21d)に固定される。又、固定部材27の固定時、本体部41aの先端(開口部)は、前記端子支持部材34の溝部34d内に導入され(溝部34dと直接接触しないように導入され)、前記フランジ部34bと共にシール部材37を挟持するように配置される。又、固定部材27の固定時、位置決め部41dは位置決め壁21iに内嵌され、筒状シール部材42の開口シール部42aは、基板収容部21dの開口部21hと内嵌部材41との隙間をシールするように配置(挟持)される。尚、本実施の形態の内嵌部材41における本体部41aの先端(開口部)は、前記端子支持部材34の溝部34dの幅より薄く形成される(図3及び図4参照)ことで、例えば、ハウジング本体21に対する制御回路基板25の位置が一定でなくても(若干位置ずれが生じても)、本体部41aの先端が溝部34d内に導入される。
上記のように構成された電動駆動装置1は、車両ドアのインナパネル51(図4参照)と図示しないアウタパネルの間で、インナパネル51(図4参照)に対して固定される。詳しくは、インナパネル51には、インナパネル側挿入孔51aが形成され、そのインナパネル側挿入孔51aに筒状シール部材42の筒状部42bの先端が内嵌され、且つインナパネル側挿入孔51aの周囲に密着フランジ部42cが密着するように、電動駆動装置1が図示しないボルト等により固定される。そして、インナパネル51の裏側(即ち、反アウタパネル側であってドアトリム側)から外部コネクタ52(図4参照)が、端子支持部材34のコネクタ凹部34aと外部コネクタ支持部材38とで形成される雌コネクタに嵌着されることで、外部コネクタ52に設けられた外部端子52aが前記外部用端子33に電気的に接続される。尚、外部端子52aは、図示しない制御装置(電源装置)に接続されている。
次に、上記実施の形態の特徴的な作用効果を以下に記載する。
(1)電動駆動装置1は、制御回路基板25を有し、制御回路基板25は、外部コネクタ52の外部端子52aと接続可能な外部用端子33と外部用端子33を制御回路基板25に支持するための端子支持部材34とを有する。そして、ハウジング本体21には、ハウジング本体21の外側から外部端子52aを外部用端子33に接続可能とする開口部21hが形成される構成であり、特に外部用端子33のインサート成形を行なうといったことがないためハウジング本体21の製造が容易となる。
しかも、開口部21hにはハウジング本体21(基板収容部21d)の内側に延びる内嵌部材41の本体部41aが設けられ、その本体部41aの先端(開口部)と端子支持部材34との間にはシール部材37が設けられる。よって、例えば、内嵌部材41(本体部41a)の内側に液体が浸入しても、基板収容部21d(ハウジング本体21)の内部への液体の浸入が防止される。その結果、電気回路部品やモータ本体2内部の被水が防止される。
(2)端子支持部材34は、外部用端子33を囲む環状のフランジ部34bを有し、シール部材37は、内嵌部材41の本体部41aの先端(開口部)とフランジ部34bとの間に設けられる(挟持される)ため、容易且つ確実に、基板収容部21d(ハウジング本体21)の内部への液体の浸入を防止することができる。
(3)制御回路基板25は、外部用端子33及び端子支持部材34が組み付けられた(外部コネクタ支持部材38が組み付けられていない)状態で、外部コネクタ52が接続される方向と直交する方向から基板収容部21d内に組み付け可能とされる。よって、制御回路基板25を容易に組み付けることができるとともに、外部コネクタ52の接続時(嵌着時)の応力を容易に受け止める構成とすることができる。
しかも、制御回路基板25がハウジング本体21(基板収容部21d)に組み付けられた状態で端子支持部材34に装着可能とされ、装着された状態で開口部21hの内側に配置され、外部コネクタ52を端子支持部材34に対して支持するための外部コネクタ支持部材38を備える。よって、制御回路基板25の容易な組み付けを可能としながら、外部コネクタ52を外部コネクタ支持部材38にて強固に支持させることができる。言い換えると、開口部21hの内側に配置されるほど外部コネクタ52の接続方向(嵌着方向)に長い外部コネクタ支持部材38を備えて外部コネクタ52を強固に支持(固定)可能としながら、制御回路基板25の容易な組み付けを可能とすることができる。
(4)内嵌部材41は、ハウジング本体21の外側に延びその内外を区画する略筒状の筒状部42bを有する筒状シール部材42と連通固定され(固定部材27とされ)、該筒状シール部材42と共に開口部21hに組み付けられる。よって、筒状シール部材42の筒状部42bにてその内側に配置される外部コネクタ52やその配線の被水(インナパネル51とアウタパネル間に浸入した液体の被水)が防止される。しかも、筒状シール部材42は、基板収容部21dの開口部21hと内嵌部材41との隙間をシールするための開口シール部42aを有するため、部品点数の増加を抑制しながら、開口部21hと内嵌部材41との隙間をシールすることができる。
(5)端子支持部材34は、外部用端子33を囲む環状の溝部34dを有し、シール部材37は、溝部34dに嵌入された状態で内嵌部材41の本体部41aの先端(開口部)と密着される。このようにすると、シール部材37を容易に配設することができる。又、シール部材37の位置ズレが防止され、防水構造の信頼性が向上する。
上記実施の形態は、以下のように変更してもよい。
・上記実施の形態では、制御回路基板25は、外部コネクタ52が接続される方向と直交する方向から基板収容部21d内に組み付け可能とされるとしたが、これに限定されず、他の方向から組み付け可能な構成に変更してもよい。
・上記実施の形態では、端子支持部材34に装着可能とされ、装着された状態で開口部21hの内側に配置され、外部コネクタ52を端子支持部材34に対して支持する外部コネクタ支持部材38を備えるとしたが、これに限定されず、外部コネクタ支持部材38を削除した構成に変更し、単に端子支持部材34に外部コネクタ52を装着してもよい。
・上記実施の形態では、筒状シール部材42は、基板収容部21dの開口部21hと内嵌部材41との隙間をシールするための開口シール部42aを有するとしたが、これに限定されず、例えば、開口部21hと内嵌部材41との隙間をシールするための部材を別に(独立して)設けてもよい。
・上記実施の形態では、端子支持部材34は、外部用端子33を囲む環状の溝部34dを有し、シール部材37は、溝部34dに嵌入されるとしたが、これに限定されず、溝部34dが形成されない形状としてもよく、シール部材を他の構造で保持するようにしてもよい。
・上記実施の形態では、パワーウインドウ装置用の電動駆動装置1に具体化したが、他の装置用の電動駆動装置に具体化してもよい。又、勿論、制御回路基板に備えられる電気回路部品(挟み込み防止回路)を装置等に応じて変更してもよい。
上記各実施の形態から把握できる技術的思想について、以下にその効果とともに記載する。
本実施の形態における電動駆動装置の平面図。 本実施の形態における電動駆動装置の一部分解平面図。 図1のA−A断面図。 図1のB−B断面図。
符号の説明
2…モータ本体、6a…回転軸、21…ハウジング本体、21h…開口部、22…減速機構の一部を構成するウォーム軸、23…減速機構の一部を構成するウォームホイール、25…制御回路基板、33…外部用端子、34…端子支持部材、34b…溝部の一部を構成するフランジ部、34c…溝部の一部を構成する外枠部、37…シール部材、38…外部コネクタ支持部材、41…内嵌部材、42…筒状シール部材、42a…開口シール部、52…外部コネクタ、52a…外部端子。

Claims (4)

  1. 回転軸を有するモータ本体と、
    前記モータ本体に組み付けられ、前記回転軸の回転を減速するための減速機構を収容するハウジング本体と、
    前記ハウジング本体に収容され前記モータ本体の駆動を制御するための制御回路基板と
    を備えた電動駆動装置であって、
    前記制御回路基板は、外部コネクタの外部端子と接続可能な外部用端子と、該外部用端子を前記制御回路基板に支持するための端子支持部材とを有し、
    前記ハウジング本体には、該ハウジング本体の外側から前記外部端子を前記外部用端子に接続可能とする開口部が形成され、
    前記開口部には前記ハウジング本体の内側に延びる略筒状の内嵌部材が設けられ、
    前記端子支持部材は、前記外部用端子を囲む環状のフランジ部を有し、
    前記内嵌部材の先端部と前記フランジ部との間にはシール部材が設けられたことを特徴とする電動駆動装置。
  2. 請求項1に記載の電動駆動装置において、
    前記制御回路基板は、前記外部用端子及び前記端子支持部材が組み付けられた状態で、前記外部コネクタが接続される方向と直交する方向から前記ハウジング本体内に組み付け可能とされ、
    前記制御回路基板が前記ハウジング本体に組み付けられた状態で前記端子支持部材に装着可能とされ、装着された状態で前記開口部の内側に配置され、前記外部コネクタを前記端子支持部材に対して支持する外部コネクタ支持部材を備えたことを特徴とする電動駆動装置。
  3. 請求項1又は2に記載の電動駆動装置において、
    前記内嵌部材は、前記ハウジング本体の外側に延びその内外を区画する略筒状の筒状シール部材と連通固定され、該筒状シール部材と共に前記開口部に組み付け可能とされ、
    前記筒状シール部材は、前記開口部と前記内嵌部材との隙間をシールするための開口シール部を有することを特徴とする電動駆動装置。
  4. 請求項1乃至3のいずれか1項に記載の電動駆動装置において、
    前記端子支持部材は、前記フランジ部を底部とする溝部を有し、
    前記シール部材は、前記溝部に嵌入された状態で前記内嵌部材の先端部と密着されることを特徴とする電動駆動装置。
JP2004214761A 2004-07-22 2004-07-22 電動駆動装置 Expired - Lifetime JP4394530B2 (ja)

Priority Applications (2)

Application Number Priority Date Filing Date Title
JP2004214761A JP4394530B2 (ja) 2004-07-22 2004-07-22 電動駆動装置
US11/186,439 US7679236B2 (en) 2004-07-22 2005-07-21 Electric actuator

Applications Claiming Priority (1)

Application Number Priority Date Filing Date Title
JP2004214761A JP4394530B2 (ja) 2004-07-22 2004-07-22 電動駆動装置

Publications (2)

Publication Number Publication Date
JP2006042417A JP2006042417A (ja) 2006-02-09
JP4394530B2 true JP4394530B2 (ja) 2010-01-06

Family

ID=35657822

Family Applications (1)

Application Number Title Priority Date Filing Date
JP2004214761A Expired - Lifetime JP4394530B2 (ja) 2004-07-22 2004-07-22 電動駆動装置

Country Status (2)

Country Link
US (1) US7679236B2 (ja)
JP (1) JP4394530B2 (ja)

Families Citing this family (15)

* Cited by examiner, † Cited by third party
Publication number Priority date Publication date Assignee Title
USD552643S1 (en) * 2006-06-19 2007-10-09 Valbia S.R.L. Electric actuator
DE202008001763U1 (de) * 2008-02-08 2009-06-10 Brose Fahrzeugteile Gmbh & Co. Kommanditgesellschaft, Hallstadt Antriebseinheit für einen elektrischen Fensterheber
DE202008003886U1 (de) * 2008-03-20 2008-07-24 Kiekert Ag Vorrichtung zur Realisierung eines trockenen elektrischen Anschlusses eines Kraftfahrzeugschlosses
JP5087468B2 (ja) * 2008-05-16 2012-12-05 株式会社ミツバ 車両用自動開閉装置
JP5200724B2 (ja) * 2008-07-17 2013-06-05 株式会社デンソー 車両搭載用モータ装置
DE102009000458A1 (de) * 2009-01-28 2010-07-29 Robert Bosch Gmbh Leistungselektronik für Schalenantrieb
KR101104987B1 (ko) 2009-07-21 2012-01-16 최용환 여닫이식 자동 도어의 구동장치
CN102044934B (zh) * 2009-10-21 2014-10-22 德昌电机(深圳)有限公司 电机驱动组件
FR2981716B1 (fr) * 2011-10-19 2014-08-08 Inteva Products France Sas Carter de reducteur mecanique formant rail de guidage, systeme d'entrainement d'un ouvrant
JP6306947B2 (ja) * 2014-06-10 2018-04-04 マブチモーター株式会社 ギヤボックス、減速機付モータおよびギヤボックスの製造方法
US11394268B2 (en) * 2017-08-23 2022-07-19 Mitsubishi Electric Corporation Electric power steering device
JP7054893B2 (ja) * 2017-10-17 2022-04-15 日本圧着端子製造株式会社 防水コネクタ及び機器ケースの防水構造
USD869528S1 (en) * 2017-10-18 2019-12-10 PS Automation GmbH Gesellschaft für Antriebstechnik Electric actuator
EP3736951B1 (en) * 2018-01-05 2025-10-29 Mitsuba Corporation Motor device
CN112928861B (zh) * 2021-03-25 2024-11-29 宁波精成电机有限公司 一种马达电子装置的连接结构

Family Cites Families (15)

* Cited by examiner, † Cited by third party
Publication number Priority date Publication date Assignee Title
JPS6161774U (ja) * 1984-09-26 1986-04-25
US4726788A (en) * 1986-07-28 1988-02-23 Geppert Erwin F Electrical receptacle
DE9006924U1 (de) 1989-07-11 1990-08-23 Brose Fahrzeugteile GmbH & Co KG, 8630 Coburg Elektromotorischer Fensterheber
DE59300052D1 (de) * 1993-03-31 1995-02-09 Siemens Ag Kommutatormotor-Getriebe-Antriebseinheit, insbesondere Kraftfahrzeug-Fensterheberantrieb.
JP3241994B2 (ja) * 1995-07-03 2001-12-25 株式会社荏原製作所 水中モータ及び防水コネクタ
US6475008B1 (en) * 1996-06-24 2002-11-05 The United States Of America As Represented By The Secretary Of The Navy Underwater mateable electrical connector with anti-hydrolock feature
JP3476697B2 (ja) 1999-01-29 2003-12-10 アスモ株式会社 モータユニットハウジング及びパワーウィンドウ用モータユニット
JP2003077959A (ja) * 2001-09-03 2003-03-14 Shindo Denshi Kogyo Kk Tabテープキャリアの反り防止方法及びtabテープキャリア
US7032290B2 (en) * 2002-03-22 2006-04-25 Asmo Co., Ltd. Manufacturing method for brush holder
JP2004007891A (ja) * 2002-05-31 2004-01-08 Mitsuba Corp モータ
EP1724906B1 (en) * 2002-08-30 2013-03-27 Asmo Co., Ltd. Electric motor comprising a speed reducing unit and a control circuit board
US6903473B2 (en) * 2002-09-17 2005-06-07 Asmo Co. Ltd. Motor having connector housing
JP4124683B2 (ja) * 2003-03-20 2008-07-23 アスモ株式会社 モータ
JP3947122B2 (ja) * 2003-03-24 2007-07-18 株式会社オートネットワーク技術研究所 機器のシールドケースへの電線接続構造
JP4453351B2 (ja) * 2003-12-04 2010-04-21 アイシン精機株式会社 アクチュエータ及び該アクチュエータを備えた車載電動作動装置

Also Published As

Publication number Publication date
US7679236B2 (en) 2010-03-16
US20060019522A1 (en) 2006-01-26
JP2006042417A (ja) 2006-02-09

Similar Documents

Publication Publication Date Title
JP4394530B2 (ja) 電動駆動装置
CN103378692B (zh) 马达
JP5394864B2 (ja) モータ
JP3940059B2 (ja) モータ
JP4545495B2 (ja) モータ
JP3679022B2 (ja) モータ
JP4362421B2 (ja) モータ
JP4667887B2 (ja) モータ
JP2004147490A (ja) モータ
JP4091459B2 (ja) モータ
JP4099032B2 (ja) モータ
JP4255792B2 (ja) モータ
JP3725813B2 (ja) モータ及びモータの組み付け方法
JP5399722B2 (ja) 制御回路部材及びモータ
JP5513097B2 (ja) モータ
JP4659471B2 (ja) 電動駆動装置
JP4800980B2 (ja) モータ
JP4652925B2 (ja) モータ及びモータの組立方法
JP3715896B2 (ja) モータ
JP2006014462A (ja) モータ及びその製造方法
JP4417803B2 (ja) モータ
JP4025610B2 (ja) モータ
JP4456433B2 (ja) ブラシホルダの製造方法
JP3889228B2 (ja) モータ
JP5227657B2 (ja) モータ

Legal Events

Date Code Title Description
A621 Written request for application examination

Free format text: JAPANESE INTERMEDIATE CODE: A621

Effective date: 20061227

A977 Report on retrieval

Free format text: JAPANESE INTERMEDIATE CODE: A971007

Effective date: 20090909

TRDD Decision of grant or rejection written
A01 Written decision to grant a patent or to grant a registration (utility model)

Free format text: JAPANESE INTERMEDIATE CODE: A01

Effective date: 20091013

A01 Written decision to grant a patent or to grant a registration (utility model)

Free format text: JAPANESE INTERMEDIATE CODE: A01

A61 First payment of annual fees (during grant procedure)

Free format text: JAPANESE INTERMEDIATE CODE: A61

Effective date: 20091015

R150 Certificate of patent or registration of utility model

Ref document number: 4394530

Country of ref document: JP

Free format text: JAPANESE INTERMEDIATE CODE: R150

Free format text: JAPANESE INTERMEDIATE CODE: R150

FPAY Renewal fee payment (event date is renewal date of database)

Free format text: PAYMENT UNTIL: 20121023

Year of fee payment: 3

FPAY Renewal fee payment (event date is renewal date of database)

Free format text: PAYMENT UNTIL: 20121023

Year of fee payment: 3

FPAY Renewal fee payment (event date is renewal date of database)

Free format text: PAYMENT UNTIL: 20121023

Year of fee payment: 3

FPAY Renewal fee payment (event date is renewal date of database)

Free format text: PAYMENT UNTIL: 20131023

Year of fee payment: 4

R250 Receipt of annual fees

Free format text: JAPANESE INTERMEDIATE CODE: R250

R250 Receipt of annual fees

Free format text: JAPANESE INTERMEDIATE CODE: R250

R250 Receipt of annual fees

Free format text: JAPANESE INTERMEDIATE CODE: R250

R250 Receipt of annual fees

Free format text: JAPANESE INTERMEDIATE CODE: R250

R250 Receipt of annual fees

Free format text: JAPANESE INTERMEDIATE CODE: R250

R250 Receipt of annual fees

Free format text: JAPANESE INTERMEDIATE CODE: R250

S111 Request for change of ownership or part of ownership

Free format text: JAPANESE INTERMEDIATE CODE: R313115

R350 Written notification of registration of transfer

Free format text: JAPANESE INTERMEDIATE CODE: R350

R250 Receipt of annual fees

Free format text: JAPANESE INTERMEDIATE CODE: R250

R250 Receipt of annual fees

Free format text: JAPANESE INTERMEDIATE CODE: R250

R250 Receipt of annual fees

Free format text: JAPANESE INTERMEDIATE CODE: R250

R250 Receipt of annual fees

Free format text: JAPANESE INTERMEDIATE CODE: R250

R250 Receipt of annual fees

Free format text: JAPANESE INTERMEDIATE CODE: R250

R250 Receipt of annual fees

Free format text: JAPANESE INTERMEDIATE CODE: R250

EXPY Cancellation because of completion of term