JP4388564B2 - 画像形成装置サービスシステム及び情報サービス方法 - Google Patents

画像形成装置サービスシステム及び情報サービス方法 Download PDF

Info

Publication number
JP4388564B2
JP4388564B2 JP2007134112A JP2007134112A JP4388564B2 JP 4388564 B2 JP4388564 B2 JP 4388564B2 JP 2007134112 A JP2007134112 A JP 2007134112A JP 2007134112 A JP2007134112 A JP 2007134112A JP 4388564 B2 JP4388564 B2 JP 4388564B2
Authority
JP
Japan
Prior art keywords
information
image forming
jam
forming apparatus
unit
Prior art date
Legal status (The legal status is an assumption and is not a legal conclusion. Google has not performed a legal analysis and makes no representation as to the accuracy of the status listed.)
Expired - Lifetime
Application number
JP2007134112A
Other languages
English (en)
Other versions
JP2007293877A (ja
Inventor
雅市 澤田
Current Assignee (The listed assignees may be inaccurate. Google has not performed a legal analysis and makes no representation or warranty as to the accuracy of the list.)
Ricoh Co Ltd
Original Assignee
Ricoh Co Ltd
Priority date (The priority date is an assumption and is not a legal conclusion. Google has not performed a legal analysis and makes no representation as to the accuracy of the date listed.)
Filing date
Publication date
Application filed by Ricoh Co Ltd filed Critical Ricoh Co Ltd
Priority to JP2007134112A priority Critical patent/JP4388564B2/ja
Publication of JP2007293877A publication Critical patent/JP2007293877A/ja
Application granted granted Critical
Publication of JP4388564B2 publication Critical patent/JP4388564B2/ja
Anticipated expiration legal-status Critical
Expired - Lifetime legal-status Critical Current

Links

Images

Landscapes

  • Accessory Devices And Overall Control Thereof (AREA)
  • Control Or Security For Electrophotography (AREA)
  • Facsimiles In General (AREA)

Description

この発明は、各ユーザの使用場所に設置された複写装置,ファクシミリ装置,プリンタ等の多数の画像形成装置に対して、メンテナンスや故障修理等を迅速・的確に行なえるようにするためのサービスシステムとそれによる情報サービス方法に関するものである。
現在、あらゆる業種のユーザによって多数の複写装置やファクシミリ装置等の画像形成装置が使用されている。このような用紙を使用する画像形成装置では、紙詰まり(ジャム)や画像異常等のトラブルを皆無にすることは困難であるため、それが発生した場合でも極力ユーザ自身でトラブルを排除して正常状態に復帰できるように工夫されている。
しかしながら、専門のサービスマンでなければ回復できないような紙詰まりや画像異常、その他の故障が発生することもあるので、一般にユーザとメーカあるいは販売会社との間で保守契約を結んで、サービスマンによる定期点検及び保守作業と、故障発生時の迅速な修理体制をとるようにしている。
さらに、例えば特許文献1や特許文献2などに見られるように、異なる場所で使用されている多数の複写機と管理センタ等に設置したコンピュータによる管理装置(中央管理装置)とを電話回線網等の通信回線によって接続し、各複写機で発生する紙詰まり等の検知情報を管理装置へ伝達して、1台の管理装置で多数の複写装置(画像形成装置)を一括して遠隔管理するようなことも提案されている。
この特許文献1に記載されている複写機管理装置は、複写機の用紙ジャムを発生箇所別に検出・計数し、ジャム発生毎及び用紙排出時毎にて最新の所定回数(例えば1000回)の複写処理中におけるジャム発生頻度(MAX値,MIN値,平均値,偏差の平均値等)を演算し、その発生頻度がその発生箇所毎に固有の許容値を越えた場合に、ジャムが異常発生する旨の警告データ等の管理用データを管理センタの集中管理装置へ公衆電話回線を介して送信する。それによって、管理センタでは複写機での異常なジャムの発生を直ちに知ることができ、サービスマンの派遣等の適切な処置を採り得る。
また、特許文献2に記載されている複写装置も、画像形成シーケンス中における転写紙のジャム等の給送異常の発生を個所別に検知して記憶し、その記憶した給送異常情報の変化状態(発生頻度等)、例えば、予め設定した複写枚数以内で給送異常が発生した時、予め設定した時間間隔内で給送異常が発生した時、あるいは同一種類の搬送異常が続けて発生した時に、記憶している給送異常情報を公衆回線を介して管理拠点に設置されたホストコンピュータへ送信し、管理拠点のオペレータがその給送異常情報をディスプレイ等で確認できるようになっている。
特開平3−293369号公報 特開平5−80609号公報
しかしながら、多数の画像形成装置とサービスセンタ(管理センタ)に設置されている中央管理装置とを通信回線を介して接続し、1台の中央管理装置で多数の画像形成装置を遠隔管理する従来の画像形成装置サービスシステムにおいて、サービスセンタつまり中央管理装置は地区別に設置されており、その各中央管理装置はそれぞれ管轄地区内の画像形成装置は管理できるが、管轄地区外の画像形成装置は管理できないため、画像形成装置のきめ細かな情報(地区別,画像形成装置別,通報要因別の積算画像形成枚数等の稼動関連情報)のグラフ及び報告書の提示によるユーザ支援を効率よく実施することができなかった。
この発明はこのような状況に鑑みてなされたものであり、画像形成装置サービスシステムにおいて、画像形成装置のきめ細かな情報のグラフ及び報告書の提示によるユーザ支援を効率よく実施できるようにすることを目的とする。
この発明は、通信回線を介して画像形成装置と端末装置と情報処理装置とに接続される、中央管理装置と蓄積装置からなる画像形成装置サービスシステムにおいて、上記の目的を達成するため、次のようにしたことを特徴とする。
上記中央管理装置は、
上記画像形成装置に通報要因が発生したときに該画像形成装置が通報する、該発生を知らせる情報に少なくともサイズ別、トレイ別、モード別の画像形成枚数のいずれか1つを含む稼動関連情報が付加された通報情報を受信する受信手段と、
上記通報情報の上記発生を知らせる情報に基づいて必要な通報情報を上記端末装置に送信する送信手段と、
上記受信手段で受信した上記通報情報を収集して蓄積する第1のデータベース部と、
その第1のデータベース部に蓄積した所定期間の上記通報情報を所定時刻に上記蓄積装置へ転送する転送手段と、を有する。
一方、上記蓄積装置は、
上記中央管理装置から転送された上記通報情報を受信すると、その通報情報を上記情報処理装置で加工・分析するためのデータベース構築用形式に変換して蓄積する第2のデータベース部と、
上記情報処理装置からの取得要求に応じて上記第2のデータベース部で変換して蓄積した上記通報情報に付加された稼動関連情報を送信可能とする送信可能化手段と、を有する。
上記画像形成装置サービスシステムにおいて、前記中央管理装置は、上記転送手段により上記蓄積装置に転送した上記第1のデータベース部の通報情報を削除するようにするとよい。
この発明はまた、通信回線を介して画像形成装置と端末装置と情報処理装置とに接続される、中央管理装置と蓄積装置からなる画像形成装置サービスシステムにおける情報サービス方法であって、
上記中央管理装置が、
上記画像形成装置に通報要因が発生したときに該画像形成装置が通報する、該発生を知らせる情報に少なくともサイズ別、トレイ別、モード別の画像形成枚数のいずれか1つを含む稼動関連情報が付加された通報情報を受信し、
上記通報情報の上記発生を知らせる情報に基づいて必要な通報情報を上記端末装置に送信する一方、
上記受信した上記通報情報を収集して蓄積し、
その蓄積した所定期間の前記通報情報を所定時刻に上記蓄積装置へ転送し、
上記蓄積装置が、
上記中央管理装置から転送された上記通報情報を受信すると、その通報情報を上記情報処理装置で加工・分析するためのデータベース構築用形式に変換して蓄積し、
そのデータベース構築用形式に変換して蓄積した上記通報情報に付加された稼動関連情報を、上記情報処理装置からの取得要求に応じて送信可能とする
ことを特徴とする画像形成装置サービスシステムにおける情報サービス方法も提供する。
請求項1,2の発明の画像形成装置サービスシステムによれば、情報処理装置の利用者がそれぞれ、キーボード又はマウス等を操作することにより、各中央管理装置内の情報収集蓄積手段あるいは情報収集蓄積装置より通信ネットワーク経由で画像形成装置の所要の情報をダウンロードして加工することができるため、画像形成装置のきめ細かな情報のグラフ及び報告書の提示によるユーザ支援を効率よく実施することができる。
以下、この発明の実施の形態を図面に基づいて具体的に説明する。
図1は、この発明による画像形成装置サービスシステムの一実施形態を示すシステム構成図である。
1は各ユーザの事務所等の使用場所に設置された多数の複写装置(プリンタあるいはファクシミリ装置等の他の画像形成装置でもよい)であり、その各複写装置1は、それぞれデータ通信装置2及び通信回線3を介して自機を管轄する中央管理装置4に接続されている。
各地区別のサービスセンタにそれぞれ設置されている中央管理装置4にはそれぞれ、通信回線5を介して各サービス拠点に設置された端末装置6が接続されている。通信回線3,5としては、電話回線等の公衆回線網を利用することができる。また、各中央管理装置4にはそれぞれ、通信ネットワークであるWAN(ワイド・エリア・ネットワーク)7を介してサーバ8及び複数の情報処理装置9も接続されている。
このシステムにおける各複写装置1はそれぞれ、異常事象又は異常事前事象等の通報要因が発生したとき(例えば用紙ジャムが発生し、その発生回数が予め設定された基準値に達したとき、あるいは予め設定された時刻に達したとき等)に、その発生を知らせる情報に積算コピー枚数(少なくともサイズ別、トレイ別、モード別の画像形成枚数のいずれか1つを含む積算画像形成枚数)又は画像制御用電圧等を含む稼動関連情報を付加した通報情報を、対応する中央管理装置4へ送信する手段としての機能を有している。
また、各種交換部品の交換時期を判断するための交換基準使用枚数,交換基準稼動時間,又は交換基準状態変化情報等の交換基準情報をそれぞれ設定する交換基準情報設定手段、各種交換部品毎に当該画像形成装置における前回の交換時期からの使用枚数,稼動時間,又は状態変化情報等の使用情報と交換基準情報設定手段に設定された対応する交換基準情報とが合致するか否かを判断する合致可否判断手段、該手段によって合致されたと判断された時に、対応する交換部品を示す情報及び保守作業を促す情報を出力する情報出力手段、交換基準情報設定手段による各種交換部品の交換時期を判断するための交換基準情報の設定を解除する交換基準情報設定解除手段としての機能も有する。
さらに、IDカード等の入力媒体を着脱可能であり、その入力媒体の記録情報を読み取る記録情報読取手段、該手段によって読み取られた記録情報の内容を認識する情報内容認識手段、該手段による認識結果から通報指示の有無を判断する通報指示有無判断手段、該手段によって通報指示があると判断された場合に、その指示に応じた情報を対応する中央管理装置4へ通報する情報通報手段としての機能も有する。
さらにまた、通報指示有無判断手段によって通報指示があると判断された場合には、情報内容認識手段による認識結果から通報の種類を判別する判別手段、該手段によって判別された種類の通報を前記情報通報手段に行なわせる通報指示手段としての機能、あるいは通報指示判断手段によって通報指示があると判断された場合には、通報の種類を表示する通報種表示手段、該手段によって表示された通報の種類を選択する通報種選択手段、該手段によって選択された種類の通報を情報通報手段に行なわせる通報指示手段としての機能も有する。
各中央管理装置4はそれぞれ、自機の管轄地区に設置されている各複写装置1から送信される情報を受信し、その受信情報を各複写装置別に収集して蓄積する情報収集蓄積手段(電圧情報収集蓄積手段を含む)、該手段に蓄積された情報の内容を所定タイミングで分析する分析手段(画像診断を行なう画像診断手段を含む)、その結果から故障発生(画像系障害の発生を含む)の予測及びサービスマンの訪問の要否を予測する予測手段と、その予測結果によりサービスマン訪問が必要な場合には、その対象である複写装置1を管轄するサービス拠点に設置されている端末装置6へ必要な情報(複写装置1の保守又は修理に関する情報)を送信する送信手段としての機能を有する。
端末装置6は、各サービス拠点に設置されているミニコンピュータあるいはパーソナルコンピュータであり、中央管理装置4から受信した情報を記憶し、サービスマンに訪問先を通報したり、対象複写装置の状態等を表示して知らせる機能を有している。
サーバ8は、各中央管理装置4内の後述するサーバ(情報収集蓄積手段)にそれぞれ蓄積されている情報をWAN7経由で収集して蓄積する蓄積装置である。
情報処理装置9は、販社・販売,サービス,設計,企画等の各拠点に設置されているパーソナルコンピュータあるいはワークステーション等のコンピュータであり、各中央管理装置4内のサーバあるいはサーバ8よりWAN7経由で所要の稼動関連情報をダウンロードして加工する機能を有している。
次に、このシステムで使用する各複写装置1の構成について説明する。
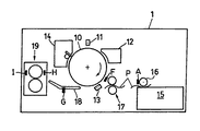
図2は、図1における各複写装置1の画像形成に係わる各部とその用紙(転写紙)の搬送経路上で用紙を検知する多数のセンサの配置を示す模式図である。
この各複写装置1の心臓部をなす感光体ドラム10の周囲には、帯電チャージャ11,現像装置12,転写チャージャ13,及びクリーニングユニット14が配設されている。
そして、矢示方向に回転する感光体ドラム10の表面を帯電チャージャ11によって一様に帯電させ、その帯電面を図示を省略したスキャナ及び露光装置によって原稿の画像に応じて露光して静電潜像を形成し、それを現像装置12によってトナーを付着させて現像する。
これに合わせて、給紙トレイ15に収容された用紙Pを給紙ローラ16によって1枚ずつ給送し、レジストローラ対17によって所定のタイミングで感光体ドラム10の転写部位へ送出して、転写チャージャ13の作用でその用紙Pの表面に感光体ドラム10の表面のトナー像を転写させる。
そのトナー画像が転写された用紙を、搬送ベルト等による搬送部18によって定着ユニット19へ搬送し、そこで転写されたトナー像を熱定着して機外へ送出する。
一方、トナー像転写後の感光体ドラム10の表面は、クリーニングユニット14によってクリーニングされて、次の帯電に備える。
この複写装置1における用紙Pの搬送経路の要所毎に用紙の通過を検知するセンサ(反射型又は透過型のフォトセンサ等)が配設されている。
すなわち、給紙ローラ16の用紙送出側に給紙検知センサA、レジストローラ対17の用紙送出側にレジストセンサF、搬送部18に搬送センサG、定着ユニット19の入り口に定着給紙センサH、出口側に排紙センサIがそれぞれ配設されている。
これらの各センサによる用紙検出信号と用紙の搬送時間とを監視することにより、用紙の搬送異常すなわち用紙ジャム発生の検知及びその発生個所の判別を行なうことができ、用紙ジャム発生時にはそれを操作部に表示して複写動作を停止させることは、従来の複写装置と同様である。
図3は、この各複写装置1のこの発明に係る機能構成の一部分を示すブロック図である。
この図3において、20は操作部であり、操作パネルに設けられたスタートキー及び数値入力用のテンキーを含む各種入力キー(スイッチ)と各種の表示を行なう表示器からなる。
この操作部20から、発生した用紙ジャムが特に問題にならない程度のものなのか異常なのかを判断するための比較値として、用紙ジャム規格値(コピー枚数に相当する数値)を、各用紙ジャム発生箇所毎に設定することができる。
後述するジャムアラーム計数部27毎の用紙ジャム規格値を、ユーザ特性(ユーザの感情係数や使用環境係数等)を考慮して任意に設定したり、予め記憶された装置固有のデフォルト値を補正して設定することができる。さらにまた、ジャムアラーム計数部27がジャムアラーム情報を出力するか否かを判断する基準値も任意に設定することができる。
コピーシーケンス制御部21は、マイクロコンピュータによってこの複写装置1におけるコピーシーケンスを制御する部分であり、操作部20のスタートキーが押されると、図2に示した各部及び図示を省略したスキャナと露光装置、モータやクラッチ、高圧電源装置等を順次制御して、原稿の画像を転写紙にコピーする動作を制御すると共に、この複写装置1の全体を統括制御する。
状態検知用センサ類22は、機内温度(及び湿度),定着温度,感光体ドラム10の表面電位,各種サプライの有無等を検知するセンサ類である。
状態情報記憶部23は、コピーシーケンス制御部21及び状態検知用センサ類22からの信号による複写機の状態情報(後述するジャムアラーム情報と共に送信する付加情報(稼動関連情報):ジャム発生原因(又はジャム発生箇所),紙サイズ,コピーシーケンス制御部21内に設けられている累積コピー枚数を計数するトータルカウンタのカウント(TC)値,給紙コロの搬送時間,定着温度,又はトナー濃度制御用電圧を含むコピー動作時の画像制御用電圧値等)を記憶するメモリである。
コピー枚数計数部24は、コピーシーケンス制御部21から1枚のコピー動作完了(コピー紙排出)毎に出力されるカウント信号を入力して、ジャムを発生せずに継続するコピー枚数を計数するカウンタである。
アラームレベル記憶部25は、予め記憶されるか操作部20から入力される第1の発生箇所(センサAによって検知される箇所)における用紙ジャム規格値であるアラームレベル(ジャム発生情報が有効か否かを判断するため及びジャムアラーム計数値をリセットするのに必要なジャムなしコピー枚数)を記憶する。
この記憶は、電源のOFFによっても消去されないように、不揮発性メモリになされる。
比較部26は、コピー枚数計数部24からコピー枚数計数値を、アラームレベル記憶部25からアラームレベルをそれぞれ入力して両者を比較し、コピー枚数計数値がアラームレベルになるとその比較結果の一致信号をジャムアラーム計数部27に出力する。
ジャムアラーム計数部(カウンタ)27は、ジャム発生検知部28からのジャム発生信号を受けると、ジャムアラーム計数値をインクリメント(+1)してジャム発生情報を計数すると共に、コピー枚数計数部24にリセット信号を送ってコピー枚数の計数値をリセットさせる。また、比較部26から上記一致信号を受けたときに、ジャムアラーム計数値が「0」でなければそれをリセット(0にクリア)する。
そして、ジャムアラーム計数値が予め設定された基準値(例えば「10」)に達すると、用紙ジャムが多発する可能性が大きいことを示すジャムアラーム情報(異常事象又は異常事前事象を知らせる警告情報)を送信部29へ出力すると共に、コピー枚数計数部24にリセツト信号を送ってコピー枚数の計数値をリセットさせる。
ジャム発生検知部28は、コピーシーケンス制御部21によるコピー動作中において、図2にも示した給紙検知センサAの用紙検知信号を用紙搬送時間に対応して監視し、用紙ジャム(紙詰まり)が発生したか否かを判断する。すなわち、給紙が開始されてから所定時間内に給紙検知センサAが用紙を検知しないか、設定時間以上用紙を検知し続けた場合には、用紙ジャムが発生したと判断して、ジャムアラーム計数部27に対して第1の発生箇所のジャム発生信号を出力する。
また、このジャム発生信号によりコピーシーケンス制御部21によるコピー動作を停止させ、操作部20にジャム発生とその発生個所を表示する。
通常はその表示を見て、オペレータが自分でジャム紙を取り除いて、正常状態に復帰させることができるようになっている。
上述した給紙検知センサA及びジャム発生検知部28と、コピー枚数計数部24,アラームレベル記憶部25,比較部26,ジャムアラーム計数部27とによって第1の発生箇所用のジャムアラーム処理部30Aを構成している。
給紙検知センサAに代えて、それぞれ図2に示したレジストセンサF,搬送センサG,定着給紙センサH,排紙センサIとする以外は、上記ジャムアラーム処理部30Aと同じに構成された第2の発生箇所用のジャムアラーム処理部30F,第3の発生箇所用のジャムアラーム処理部30G,第4の発生箇所用のジャムアラーム処理部30H,および第5の発生箇所用のジャムアラーム処理部30Iが、各々操作部20及びコピーシーケンス制御部21と送信部29との間に設けられている。
第2の発生箇所用のジャムアラーム処理部30Fのジャム発生検知部28は、レジストセンサFの用紙検知信号を用紙搬送時間に対応して監視し、用紙ジャムが発生したか否かを判断する。すなわち、用紙搬送方向上流側の給紙検知センサAが用紙を検知してから所定時間内にレジストセンサFが用紙を検知しないか、設定時間以上用紙を検知し続けた場合には、用紙ジャムが発生したと判断して、内部のジャムアラーム計数部27に対して第2の発生箇所のジャム発生信号を出力する。その他の各部の機能はジャムアラーム処理部30Aと同じである。
第3,第4,第5の発生箇所用のジャムアラーム処理部30G,30H,30Iの各ジャム発生検知部28も同様に、それぞれ搬送センサG,定着給紙センサH,排紙センサIの用紙検知信号を用紙搬送時間に対応して監視し、用紙ジャムが発生したか否かを判断する。すなわち、用紙搬送方向上流側のセンサが転写紙を検知してから所定時間内に当該センサが用紙を検知しないか、設定時間以上用紙を検知し続けた場合には、用紙ジャムが発生したと判断して、各内部のジャムアラーム計数部27に対して各発生箇所のジャム発生信号を出力する。
その他の各部の機能はジャムアラーム処理部30Aと同じである。
また、これらの各ジャムアラーム処理部30F,30G,30H,30Iのジャム発生信号によっても、コピーシーケンス制御部21によるコピー動作を停止させ、操作部20にジャム発生とその発生個所を表示し、通常はその表示を見て、オペレータが自分でジャム紙を取り除いて、正常状態に復帰させることができるのも同様である。
なお、各用紙検知用のセンサA,F,G,H,Iの検知信号は直接コピーシーケンス制御部21へ入力させるようにし、コピーシーケンス制御部21内に用紙ジャムを発生箇所別に検知する共通のジャム発生検知手段を設けるようにしてもよい。
送信部29は、これらの各ジャムアラーム処理部30A,30F,30G,30H,30Iの各ジャムアラーム計数部27からジャムアラーム情報が出力されると、そのジャムアラーム情報を状態情報記憶部23からの状態情報(ジャム発生原因,TC値等の稼動関連情報)及び複写装置の識別用IDと共に、図1に示したデータ通信装置2及び通信回線3を介して、中央管理装置4へ送信する。
さらに、SC(サービスマンコール),センサ異常等のその他の異常事象又は異常事前事象、あるいはMC(マニュアルコール)などの通報要因の発生時には、その発生を知らせる情報をも中央管理装置4(ホストコンピュータ)へ送信することができる。
ここで、上記各ジャムアラーム処理部におけるジャムアラームの有効情報と無効情報について説明する。
用紙ジャムの各発生箇所別にジャムアラーム計数部27を設けており、その各ジャムアラーム計数部27でジャム発生検知部28からのジャム発生信号を計数し、その計数値が予め設定された基準値に達するとジャムアラーム情報を出力する。
しかし、その基準値に達する前にコピー枚数計数部24の計数値すなわちジャムなしコピー枚数が、予め各ジャムアラーム処理部のアラームレベル記憶部25に設定記憶されたジャム発生箇所毎の用紙ジャム規格値であるアラームレベルに達すると、ジャムアラーム計数部27はそれまでの計数値をリセットして、ジャムアラーム情報は出力しない。
これを、図4に示す例で説明する。ジャム発生信号によってジャムアラーム計数部27の計数値(以下「アラームカウンタ」という)をインクリメント(+1)する条件は、それが用紙ジャム規格値(アラームレベル)内の場合である。その用紙ジャム規格値が仮に1000枚であったとすると、図4においてコピー枚数がNからN+1000になるまでに用紙ジャム発生が検知されるとアラームカウンタをインクリメントする。その時点からさらに1000枚コピーするまでに再び用紙ジャム発生が検知されるとアラームカウンタをインクリメントする。
この例ではN+100枚,N+200枚,N+500枚でそれぞれ用紙ジャムが発生し、アラームカウンタが「1」「2」「3」とインクリメントしている。このようにアラームカウンタをインクリメント(+1)するジャム情報は有効情報となる。
すなわち、何等かの故障原因を含んだ値がジャムアラーム計数部27に入り、それが同一発生箇所(同一発生原因)で予め設定された基準値(この例では10回)に達した場合、その発生箇所で何等かの故障原因により用紙ジャムが多発する可能性がとても高いと判断されるので、ジャムアラーム情報を出力して送信することになる。図4の例ではN+m枚でアラームカウンタが基準値「10」になり、ジャムアラーム情報を送信する。
しかし、図4に示すように、N+500枚までに用紙ジャムが3回発生し、ジャムアラームカウンタが「1」から「3」まで増加し、何等かの故障原因があると推測されても、その後何等かの理由(例えば給紙クラッチ内のゴミがとれた等)で自然に故障原因が解除され、コピー枚数(通紙枚数)が用紙ジャム規定値を越えると、故障原因が取り除かれて今後は紙ジャムが頻発する恐れは少ないと判断できる。
そこで、今までカウントしたジャムアラームカウンタ内のデータは今後のジャムの発生原因とは異なり、それに影響を与えないものと判断することができるので、無効なデータすなわち無効情報となる。そこで、アラームカウンタをリセット(0にクリア)して無効情報を削除することにより、ジャムアラーム情報の精度を向上させる。
すなわち、この実施形態では、それぞれジャムアラーム計数部27を有するジャムアラーム処理部を用紙ジャムの発生箇所別に持ち、用紙ジャム発生時に、該当箇所のジャムアラーム計数部27のジャムアラームカウンタを、
前回の計数(又はリセット)時より用紙ジャム発生規格値内のコピー枚数でジャム発生 → ジャムアラーム有効情報として、ジャムアラームカウンタをインクリメント(+1)
前回の計数(又はリセット)時より用紙ジャム発生規格値外のコピー枚数でジャム発生 → ジャムアラーム無効情報として、ジャムアラームカウンタをリセット(0をクリア)
の判定をしながら、直近の有効ジャム発生数のみを発生箇所別にカウントする。
そして、そのジャムアラームカウンタの値が所定のジャム基準値(例えばN=10)に達した時に、その発生箇所の用紙ジャムが近日中に多発する可能性が高いことを示すジャムアラーム情報を発生し、送信部29によってその他の付加情報と共に中央管理装置4へ送信する。
なお、ジャムアラーム情報を出力する計数値である基準値も、各発生箇所別に装置固有のデフォルト値を設定しておくことができるが、操作部20から任意に設定することもでき、装置固有の用紙ジャム規格値(アラームレベル)と同様に、ユーザ特性(ユーサの感情係数や使用環境係数など)および最近の稼動状況等により、任意に変更設定可能である。
また、各発生箇所別の用紙ジャム規格値として、ジャムアラーム計数部27がジャム発生情報を計数するか否かを判断するための値と、ジャム発生情報の計数値をリセットするか否かを判断するための値とを別に設定することもできる。
この各複写装置1における上述したジャムアラーム処理は、図5に示すフローチャートに従って実行される。
すなわち、ステップS1でコピー動作中か否かを判断する。コピー動作中のときにのみこのルーチンが有効になり、コピー動作中でないときは何もせずにこのルーチンを抜けて図示しないメインルーチンへリターンする。
コピー動作中であればステップS2へ進み、コピー枚数計数タイミングか否かを判断し、計数タイミングであればステップS3へ進んでジャム検知箇所の確認を行なった後、ステップS4へ進んで該当箇所のコピー枚数を計数(+1)し、ステップS5へ進む。計数タイミングでなければステップS9へ進む。
ステップS5では、コピー枚数計数値と該当箇所のアラームレベルとを比較し、アラームレベル(例えば1000枚)よりコピー枚数計数値の方が大きいか等しい場合はステップS6へ進む。そうでない場合はステップS8へ進む。
ステップS6及びS7では、該当箇所のジャムアラーム計数をリセットし、該当箇所のコピー枚数の計数をリセットしてステップS8へ進む。
ステップS8では、図2に示したセンサA及びF〜Iの配置箇所に対応して予め設定した各ジャム発生箇所の全箇所についてステップS3〜S7の処理を終了したか否かを判断し、終了していなければステップS3へ戻って、次の箇所について上述の処理を行ない、全箇所終了するとステップS9へ進む。
ステップS9ではジャム発生の有無を判断し、ジャムが発生したと判断するとステップS10へ進んでそのジャム発生箇所を確認し、ステップS11でそのジャム発生箇所のジャムアラームの計数値をインクリメント(+1)し、ステップS12で該当箇所のコピー枚数の計数値をリセットしてステップS13へ進む。
ステップS9でジャムが発生していないと判断した場合は、そのままステップS13へ進む。
ステップS13では、該当箇所のジャムアラームの計数値が設定された基準値(この例では「10」)になったか否かを判断し、基準値になるとステップS14へ進んでジャムアラーム送信(ジャムアラーム情報と稼動関連情報を複写装置の識別用IDと共に送信)し、ステップS15で該当するジャムアラーム計数値をリセットする。ステップS13でジャムアラーム計数値が基準値「10」になっていなければ、何もせずにこのルーチンを抜ける。
このようにすることにより、比較的簡単な構成で、メモリ容量の大きなメモリを持つ必要もなく低コストで、発生箇所別に用紙ジャムが近日中に多発する可能性が高くなった場合にのみそれを精度よく検知してジャムアラーム情報を発生し、その情報を中央管理装置4へ送信することができる。したがって、無駄な情報を中央管理装置4へ送信せずに済むので通信コストを節減でき、中央管理装置4側での障害発生の予測(サービスマン訪問の要否判断)も容易になる。
なお、上述した実施形態では、各複写装置1がそれぞれ異常事象又は異常事前事象を知らせる警告情報としてジャムアラーム情報を対応する中央管理装置4へ送信する例について説明したが、他のアラーム情報を所定のタイミングで(例えば予め設定された時刻に達したとき、あるいは予め設定された所定時間が経過する毎に)対応する中央管理装置4へ送信することもできる。
図6は、各複写装置1のこの発明に係る機能構成の他の部分を示すブロック図である。
各複写装置1はそれぞれ、図3に示した各部の他に、使用情報計数部31,交換基準情報記憶部32,交換基準判断部33,交換情報記憶部34,及び出力処理部35を備えている。なお、各複写装置1における交換部品(消耗部品)として、例えば給紙コロ,クリーニングブレード,ファーブラシ,帯電チャージャ,ハロゲンランプ,定着ローラがある。
使用情報計数部31は、当該複写装置1の使用により、各種交換部品毎に使用枚数,稼動時間,各種状態情報(例えばトナー濃度制御電圧値)等の使用情報を計数(インクリメント)又は計測して記憶するものである。その各計数値又は計測値はそれぞれ、交換基準判断部33によって交換基準情報記憶部32に記憶されている対応する交換基準情報と合致したと判断された時に、交換基準判断部33からの対応するリセット信号によってリセットされる。
交換基準情報記憶部32は、各種交換部品の部品番号(又は名称)と、その各部品番号にそれぞれ対応する各種交換部品の交換基準使用枚数,交換基準稼動時間,又は各種交換基準状態変化情報等の交換基準情報を記憶したパラメータテーブルである。その交換基準情報は、図3の操作部20から任意に設定することができる。
ここで、例えば給紙コロの使用限界値枚数が4万枚であれば、使用枚数が4万枚を超えた時に修理が多発することが予測されるため、その前(例えば使用枚数が3万枚に達した時)に部品交換を行なうのが望ましい。そこで、使用限界値枚数(例えば4万枚)に安全率を掛けて求めたもの(例えば3万枚)を、交換基準使用枚数として設定すればよい。
交換基準判断部33は、使用情報計数部31による各交換部品毎の使用情報の計数値(又は計測値)と交換基準情報記憶部32に記憶されている各交換部品毎の交換基準情報とを比較し、各種交換部品毎に使用情報の計数値又は計測値(前回の交換時期からの使用情報の計数値又は計測値)と交換基準情報とが合致するか否かを判断し、両者が合致した交換部品の部品番号(又は名称)を交換情報記憶部34に出力する。
なお、使用情報計数部31を設けずに、交換基準判断部33が、当該複写装置1の使用により、交換基準情報記憶部32に記憶されている交換基準情報(交換基準使用枚数,交換基準稼動時間)を各交換部品毎にデクリメント(−1)し、交換基準情報が「0」になった交換部品の部品番号(又は名称)を交換情報記憶部34に出力するようにしてもよい。
交換情報記憶部34は、各種交換部品にそれぞれ対応する交換部品情報(部品番号,部品名称,交換リサイクル情報,設計変更管理番号等)を記憶しており、交換基準判断部33から交換部品の部品番号(又は名称)を受け取ると、それに基づいて所要の交換部品情報を検索し、保守作業を促す情報と共にリスト形式で(交換部品情報リストとして)出力処理部35に出力する。
出力処理部35は、交換情報記憶部34から交換部品情報リストを受け取ると、それを操作部20に出力してその表示器に表示させたり、画像形成部(図2参照)に出力して用紙上に画像形成(印刷)させたりすることができる。あるいは、交換情報記憶部34から受け取った交換部品情報リストをデータ通信装置2及び通信回線3を介して対応する中央管理装置4に通報し、それを後述するクライアントコンピュータの表示部に表示させたり、図示しないプリンタ等の画像形成装置に出力して用紙上に画像形成させることもできる。
なお、操作部20から、各種交換部品の交換時期を判断するための交換基準情報をそれぞれ設定する際に、同じ交換基準情報をグループ化設定することもできる。例えば、給紙コロ,クリーニングブレード,ファーブラシ,帯電チャージャの交換時期を判断するための使用枚数を3万枚、ハロゲンランプの交換時期を判断するための使用枚数を6万枚、定着ローラの交換時期を判断するための使用枚数を24万枚とした場合、給紙コロ,クリーニングブレード,ファーブラシ,帯電チャージャの交換時期を判断するための使用枚数は同じ3万枚なので、それらをグループ化設定し、ハロゲンランプの交換時期を判断するための使用枚数である6万枚と、定着ローラの交換時期を判断するための使用枚数である24万枚は個別に設定することができる。
また、各種交換部品の交換時期を判断するための交換基準情報を、ユーザ特性(ユーザの感情係数や使用環境係数等)を考慮して設定することもできる。
さらに、各種交換部品の交換時期を判断するための交換基準情報の設定を選択的に解除し、その設定を解除した交換基準情報を交換基準情報記憶部32から消去することもできる。
このようにすることにより、サービスマンがメーカの交換基準情報に基づいて、機械の使用枚数と各種消耗部品の前回交換枚数からの使用枚数が交換基準枚数を超えたか否かを判断することによって、各種消耗部品の交換・管理を行なう必要がなくなり、サービスマンによる各複写装置1に対する各種消耗部品の管理作業を軽減することができる。
図7は、各複写装置1のこの発明に係る機能構成のさらに他の部分を示すブロック図である。
この各複写装置1はそれぞれ、IDカード(他の入力媒体でもよい)111を着脱可能であり、記録情報読取部112,情報内容認識部113,通報指示有無判断部114,MC(マニュアルコール)通報処理部115を備えている。
記録情報読取部112は、IDカード111が挿着されたとき、その記録情報を読み取る。
情報内容認識部113は、記録情報読取部112によって読み取られた記録情報の内容を認識する。
通報指示有無判断部114は、情報内容認識部113による認識結果から通報指示の有無を判断する。
MC通報処理部115は、通報指示有無判断部114によって通報指示があると判断された場合に、その指示に応じた情報(MC情報)をデータ通信装置2及び通信回線3を介して対応する中央管理装置4に通報し、それをクライアントコンピュータの表示部に表示させたり、図示しないプリンタ等の画像形成装置に出力して用紙上に画像形成させることもできる。
なお、通報指示有無判断部114によって通報指示があると判断された場合には、情報内容認識部113による認識結果から通報の種類を判別し、その判別した種類の通報をMC通報処理部115に行なわせることもできる。
あるいは、通報指示有無判断部114によって通報指示があると判断された場合には、通報の種類を操作部20の表示器に表示して選択可能にし、いずれかの通報の種類が操作部20上のキー操作によって選択された時に、その種類の通報をMC通報処理部115に行なわせることもできる。
したがって、各複写装置1でそれぞれ自動的に検知できない障害が発生したとき、IDカード111の挿着により、直ちにその旨を知らせる情報を対応する中央管理装置4へ通報することが可能になる。そのため、ユーザが操作部20上で面倒なキー操作を行なう必要がなくなり、ユーザによる各複写装置1から対応する中央管理装置4への通報作業時の煩わしさを軽減することができる。また、IDカード111の挿着による通報に従う保守作業により、機械品質の向上にもつながる。
次に、図1における各中央管理装置4,端末装置6,及び情報処理装置9の構成及びその機能について説明する。
図8は、各中央管理装置4の構成例を示すブロック図である。
この各中央管理装置4はそれぞれ、複数のクライアントコンピュータ(以下単に「クライアント」という)71a,71b,……と、サーバ72と、図示しないプリンタやファクシミリ装置等の画像形成装置と、それらを相互に接続する通信ネットワークであるLAN(ローカル・エリア・ネットワーク)73とによって構成されたセンタシステムである。
図9は、各クライアント71a,71b,……,サーバ72の構成例を示すブロック図である。
クライアント71aは、CPU811,リアルタイムクロック回路82,ROM83,RAM84,通信制御ユニット85a,85b,……,外部メモリ制御ユニット86,表示制御ユニット87,キーボードI/F回路部88,ネットワークI/Fユニット89,ハードディスク装置90,CRTディスプレイ91,キーボード92等によって構成されている。
なお、クライアント71bも図9と同様の構成なので、ネットワークI/Fユニット89以外の各部の図示及び説明は省略する。さらに、中央管理装置4内の他のクライアントも図9と同様の構成なので、図示及び説明は省略する。
CPU81は、ROM83内の制御プログラムによってクライアント71a全体を統括的に制御する中央処理装置である。
リアルタイムクロック回路82は、時刻情報を発生するものであり、CPU81がそれを読み込むことによって現在の時刻を知ることができる。
ROM83は、CPU81が使用する制御プログラムを含む各種固定データを格納している読み出し専用メモリである。
RAM84は、CPU81がデータ処理を行なう際に使用するワークメモリ等として使用する読み書き可能なメモリである。
通信制御ユニット85a,85bは、それぞれ通信回線3を介して外部機器との通信を制御する。
外部メモリ制御ユニット86は、ハードディスク装置(以下「HDD」と略称する)90とのインタフェース制御を行なう。
表示制御ユニット87は、CRTディスプレイ91とのインタフェース制御を行なう。
キーボードI/F回路部88は、キーボード92とのインタフェース制御を行なう。
ネットワークI/Fユニット89は、LAN73に接続されているクライアント71b等の他のクライアント,サーバ72,画像形成装置とのインタフェース制御を行なう。
サーバ72は、CPU102,リアルタイムクロック回路103,ROM93,RAM94,外部メモリ制御ユニット95,表示制御ユニット96,キーボードI/F回路部97,ネットワークI/Fユニット98,HDD99,CRTディスプレイ100,キーボード101等によって構成されている。
CPU102は、ROM93内の制御プログラムによってサーバ72全体を統括的に制御する中央処理装置である。
リアルタイムクロック回路103は、時刻情報を発生するものであり、CPU102がそれを読み込むことによって現在の時刻を知ることができる。
ROM93は、CPU102が使用する制御プログラムを含む各種固定データを格納している読み出し専用メモリである。
RAM94は、CPU102がデータ処理を行なう際に使用するワークメモリ等として使用する読み書き可能なメモリである。
外部メモリ制御ユニット95は、HDD99とのインタフェース制御を行なう。なお、HDD99には、各複写装置1から受信された情報のうち、稼動関連情報が各複写装置1別に収集されて蓄積される。
表示制御ユニット96は、CRTディスプレイ100とのインタフェース制御を行なう。
キーボードI/F回路部97は、キーボード101とのインタフェース制御を行なう。
ネットワークI/Fユニット98は、LAN73に接続されているクライアント71a,71b,……,画像形成装置とのインタフェース制御を行なう。
なお、このように構成されたサーバ72と図1のサーバ8とは、同じような構成なので、サーバ8の構成例の図示及び説明は省略する。
図10は、各中央管理装置4のこの発明に係る機能構成を示すブロック図である。
この各中央管理装置4はそれぞれ、各複写装置1からそれぞれ送信される通報情報すなわち、アラーム情報(ジャムアラーム情報等),稼動関連情報(ジャム発生箇所,サイズ別、トレイ別、モード別の画像形成枚数のいずれか1つを含むコピー積算枚数,画像制御用電圧値,サービスマン(SC),センサ異常等のその他の異常事象又は異常事前事象の情報を含む),複写装置1の識別用ID(機種・機番)を受信する受信部40(クライアント71a,71b,……),それらの受信情報を一定期間だけ時系列に機種・機番毎に蓄積(記憶)する受信情報記憶部41(例えば図9のサーバ72のHDD99上に存在する),アラーム付加情報分析部42,サービスマン訪問要否予測部43,及び送信部44を備えている。
アラーム付加情報分析部42は、受信部40でアラーム情報を受信する毎に(他のタイミングでもよい)、受信情報記憶部41に蓄積された当該複写装置1の稼動関連情報(アラーム付加情報)の内容を分析し、故障予測の遠隔診断を行なう。但し、この場合は、ジャムアラーム情報を受信したことにより、直ちにその情報の示す箇所で近いうちに用紙ジャムが多発する恐れがあると判断することもできる。
また、サービスマンコールの情報やセンサ異常等の異常情報を受信した場合にも故障発生と診断する。さらに、TC値(トータルコピー枚数)の情報も受信した場合には、前回のTC値との差の履歴等を記憶して故障診断あるいはメンテナンス時期の判断に用いることができる。
サービスマン訪問要否予測部43は、アラーム付加情報分析部42による予測あるいは診断結果に基づいてサービスマン訪問の要否を予測し、サービスマンの訪問が必要であると予測した場合には、サービスマン訪問要請情報と共に、受信情報記憶部41に記憶されている情報のうち、サービスに必要な情報を送信部44へ送出させる。
送信部44は、それらの情報を当該複写装置を管理するサービス拠点の端末装置6に対して送信する。
図11は、各端末装置6のこの発明に係る機能構成を示すブロック図である。
この各端末装置6はそれぞれ、対応する中央管理装置4から送信されるサービスマン訪問要請及びサービスに必要な情報を受信する受信部60と、その受信情報を記憶する受信情報記憶部61と、受信部60で受信された訪問要請を通報する訪問要請通報部62と、それらの受信情報を表示する表示部63とを備えている。
次に、各中央管理装置4によるアラーム受信処理の一例(各種画像制御用電圧値の分析及び故障あるいはサービスマン訪問要否の予測に関する処理)について、図12及び図13によって説明する。
図12はそのメインルーチンのフローチャートであり、受信部40でアラーム情報(複写装置識別用ID,画像制御用電圧値を含む)を受信すると、その受信情報をそれに含まれている複写装置識別用IDを判別して受信情報記憶部41に累積する。
その後、アラーム付加情報分析部42が有効情報評価期間の判断処理を行ない、有効情報評価期間であれば受信情報記憶部41に蓄積されている情報のうちの該当する一定期間内の画像制御用電圧値(例えばトナー濃度制御用電圧値)の変動履歴(変化履歴データ)を読み取り、その内容を分析して画像診断を行ない、その診断結果から画像系の異常状態が継続しているかの判定(サービスマン訪問要否の第1の予測)処理を行なう。
例えば、トナー濃度制御が正常に行なわれている間は、異常事象又は異常事前事象が発生した各時点ta,tb,tc,td,teに対して、トナー濃度制御用電圧(V)が図13の(a)に示すように一定のパターンで変化するが、トナー濃度制御に異常が発生すると同図の(b)に示すように(a)のパターンと一致しなくなる。
この場合は、時点tcで(a)のパターンと一致しなくなるため、画像系が異常状態であると判定し、次の時点tdでも同じ状態が続くため、画像系の異常状態が継続していると判定する。
なお、図13の(b)には、時点teに達するまでに画像系障害を修復しなかった場合には、地肌汚れがひどくなり、サービスマンによる緊急保守(EM)が必要になることを示している。
そして、画像系の異常状態が継続していれば(サービスマンの訪問要であれば)、当該複写装置1で画像系障害が既に発生しているか、発生する可能性が大きいため、送信部44によって当該複写装置を管理するサービス拠点の端末装置6に対して、アラーム送信(サービスマンの訪問要請及びそれに必要な情報の送信)処理を行なう。
画像系の異常状態が継続していなければ、今回の画像制御用電圧値が上限又は下限限界値をオーバしているか否かの判定(サービスマン訪問要否の第2の予測)処理を行ない、オーバしていれば(サービスマンの訪問要であれば)上述と同様に当該複写装置1で画像系障害が既に発生しているか、発生する可能性が大きいため、送信部44によって当該複写装置を管理するサービス拠点の端末装置6に対して、アラーム送信処理を行なう。
今回の画像制御用電圧値が上限又は下限限界値をオーバしていなければ、その他の処理(画像系以外のアラーム受信処理)を行ない、処理を終了する。
なお、上述の例では、各サービスセンタ内の中央管理装置4がそれぞれ一定期間内の関係する2つの画像制御用電圧値の変動履歴によってサービスマン訪問要否の予測処理を行なったが、一定期間内の単独(1つ)の画像制御用電圧値あるいは関係する3つ以上の画像制御用電圧値の変動履歴によってサービスマン訪問要否の予測処理を行なうこともできる。その一定期間は、複写装置1の特性値であるトータルカウンタ値(使用期間枚数)から判断してもよい。
また、上述の例では、各複写装置1がそれぞれ画像系の異常状態が続いた場合にアラーム送信処理を行なったが、画像制御用電圧値がある時点から(又は画像制御用電圧値のある時点が)増加の傾向、減少の傾向、あるいは一定になった時にサービスマンの訪問が必要と予測してアラーム送信処理を行なうなど、相互関係からサービスマン訪問の要否を判断するようにしてもよい。
さらに、上述の例では、各中央管理装置4がそれぞれ画像診断を行なったが、各複写装置1がそれぞれ異常事象又は異常事前事象が発生する毎に(他の時点でもよい)その時の画像制御用電圧値を内部メモリに時系列に記憶し、アイドルタイム(待機時)にその記憶した画像制御用電圧値の変動履歴によって画像診断を行なうようにしてもよい。
さらにまた、上述の例では、各中央管理装置4がそれぞれ画像診断によって当該複写装置1の画像系における異常状態を判定したが、正常状態を判定することもできる。
また、上述の例では、各中央管理装置4がそれぞれ各複写装置1からのアラーム情報通報毎に蓄積した画像制御用電圧の変動履歴をそのアラーム情報通報時に分析して画像診断を行なったが、その診断精度を向上するため、任意の時点あるいはタイマによる一定期間経過毎に上記変動履歴を分析して画像診断を行なうこともできる。
さらに、各中央管理装置4におけるジャムアラーム受信処理の詳細は、特開平8−195849号公報に記載されている通りである。また、各複写装置1におけるジャムアラーム処理及び各中央管理装置4におけるジャムアラーム受信処理を特開平9−321931号公報に示すように行なってもよい。
このように、各中央管理装置4がそれぞれ、各複写装置1からそれぞれ受信した情報のうち、画像制御用電圧値を各複写装置1別に収集して蓄積し、その蓄積した情報の内容を所定タイミングで分析して画像診断を行ない、その診断結果から画像系障害の発生及びサービスマンの訪問の要否を予測し、その予測結果をその対象である複写装置1を管轄するサービス拠点に設置された端末装置6へ送信することにより、サービスマンが複写装置1の画像系で致命的な故障が発生する前に迅速・的確な処置を効率よく行なうことができる。
次に、図1の各中央管理装置4のサーバ72(図9参照),サーバ8,情報処理装置9の機能による情報サービス方法について、図14及び図15を参照して説明する。
図14は、中央管理装置4における情報収集蓄積処理の一例を示すフローチャートである。
各中央管理装置4のクライアント71a,71b,……はそれぞれ、管轄地区の複写装置1から送信される通報要因を知らせる情報(アラーム情報,SC情報,MC情報等)及びその付加情報(サイズ別、トレイ別、モード別の画像形成枚数のいずれか1つを含むコピー積算枚数,画像制御用電圧値等の稼動関連情報及び機種・機番)からなる通報情報を受信する毎に、図14に示すように、それらの情報をLAN73経由でサーバ72に転送し、そのHDD99内の所定のデータベース(第1のデータベース)に機種・機番別に収集して蓄積させる。
そして、予め設定された所定時刻(WAN7のトラフィック量が少ない時間帯など通信に都合のよい時刻であり、例えば午前0:00)になった時に、サーバ72が第1のデータベースに蓄積された所定期間である当日(1日)分の通報情報を所定の転送データ形式に変換し、WAN7経由でサーバ8に転送し、その転送が正常に終了した時にその通報情報である転送データと転送先データ(転送先を示すもの)を削除する。
なお、ここでは第1のデータベースは図10の受信情報記憶部41とは別に存在するものとする。
図15は、サーバ8における情報収集蓄積処理の一例を示すフローチャートである。
サーバ8は蓄積装置であり、各中央管理装置4のサーバ72からそれぞれ転送されてくる通報情報(転送データ)を受信すると、それをHDD等の所定のメモリに蓄積し、その蓄積した情報を情報処理装置9で加工・分析するためのDB(データベース)構築用形式に変換した後、その変換情報をHDD内の所定のデータベース(第2のデータベース)に機種・機番別に収集して蓄積(データベースを構築)し、その処理が正常に終了した時に上記メモリに蓄積した転送データを削除する。
ここで、各中央管理装置4から転送されてくる稼動関連情報を含む通報情報は、通信効率向上のため特殊なフォーマットになっているため、第2のデータベースにそのまま蓄積したのでは、情報処理装置9による検索効率が悪くなってしまう。そのため、受信した通報情報を情報処理装置9が効率よく検索できるように、つまり受信した各種情報を情報処理装置9が加工・分析し易いデータ形式で提供(情報サービス)できるデータベースを日次更新し、情報処理装置9からの取得要求に応じて送信可能とする。
各情報処理装置9のオペレータ(利用者)がそれぞれ、キーボード又はマウス等を操作することにより、各中央管理装置4内のサーバ72あるいはサーバ8よりLAN73あるいはWAN7経由で所要の稼動関連情報をダウンロード(取得)し、グラフ・報告書作成ツールを用いて加工・分析を行なうことができる。このとき、オペレータによるキーボード又はマウス等の操作により、ダウンロードする情報を範囲指定することもできる。
それによって、例えばサイズ(A3,A4,B4,B5,A5等)別のコピー枚数、トレイ(第1トレイ,第2トレイ,第3トレイ等)別のコピー枚数、コピーモード(ADFモード,両面モード,1to1モード等)別のコピー枚数、画像変倍モード(拡大モード,等倍モード,縮小モード等)別のコピー枚数,ステイプルモード(前とじ,奥とじ,中央とじ等)別のコピー枚数,箇所別のジャム発生頻度等の稼動関連情報のグラフや報告書を簡単に作成することができる。
また、全国の各複写装置1の情報を一元的に管理し、地区別,機種別,通報要因別に稼動関連情報を集計し、その結果を販社・販売,サービス,設計,企画等の各拠点の利用者が任意に閲覧することも可能になり、全体的,階層的な分析を行なうことも可能となる。
このように、各情報処理装置9の利用者がそれぞれ、キーボード又はマウス等を操作することにより、各中央管理装置4内のサーバ72あるいはサーバ8よりLAN73あるいはWAN7経由で所要の稼動関連情報を取得し、グラフ・報告書作成ツールを用いて加工・分析を行なうことにより、情報収集,加工・分析の時間が大幅に減り、作業効率が向上する。よって、複写装置のきめ細かな情報のグラフ及び報告書の提示によるユーザ支援を効率よく実施することができる。
以上、この発明を複写装置のサービスシステムに適用した実施形態について説明したが、この発明はこれに限らず、プリンタ,ファクシミリ装置、簡易印刷装置等の他の画像形成装置のサービスシステムに適用可能である。
この発明による画像形成装置サービスシステムの一実施形態を示すシステム構成図である。 図1における各複写装置1の画像形成に係わる各部とその用紙搬送経路上で用紙を検知する多数のセンサの配置を示す模式図である。 図1における各複写装置1のこの発明に係る機能構成の一部分を示すブロック図である。 図3におけるジャムアラームカウンタの作用を説明するための図である。 図3に示した複写装置によるジャムアラーム処理に関するルーチンのフロー図である。 図1における各複写装置1のこの発明に係る機能構成の他の部分を示すブロック図である。 図1における各複写装置1のこの発明に係る機能構成のさらに他の部分を示すブロック図である。 図1における各中央管理装置4の構成例を示すブロック図である。 図8における各クライアント71a,71b,……,サーバ72の構成例を示すブロック図である。 図1における各中央管理装置4のこの発明に係る機能構成を示すブロック図である。 図1における各端末装置6のこの発明に係る機能構成を示すブロック図である。 図1における各中央管理装置4によるアラーム受信処理の一例を示すフロー図である。 図12のアラーム受信処理をより詳細に説明するための図である。 図1における中央管理装置4による情報収集蓄積処理の一例を示すフロー図である。 図1におけるサーバ8による情報収集蓄積処理の一例を示すフロー図である。
符号の説明
1:複写装置(画像形成装値) 2:データ通信装置 3,5:通信回線
4:中央管理装置 6:端末装置 7:WAN 8:サーバ 9:情報処理装置
31:使用情報計数部 32:交換基準情報記憶部 33:交換基準判断部
34:交換情報記憶部 35:出力処理部 40,60:受信部
41,61:受信情報記憶部 42:アラーム付加情報分析部
43:サービスマン訪問要否予測部 44:送信部 62:訪問要請通報部
63:表示部 71a,71b,……:クライアント 72:サーバ
73:LAN 81,102:CPU 83,93:ROM 84,94:RAM
99:HDD 111:IDカード 112:記録情報読取部
113:情報内容認識部 114:通報指示有無判断部 115:MC通報処理部

Claims (3)

  1. 通信回線を介して画像形成装置と端末装置と情報処理装置とに接続される、中央管理装置と蓄積装置からなる画像形成装置サービスシステムにおいて、
    前記中央管理装置は
    前記画像形成装置に通報要因が発生したときに該画像形成装置が通報する、該発生を知らせる情報に少なくともサイズ別、トレイ別、モード別の画像形成枚数のいずれか1つを含む稼動関連情報が付加された通報情報を受信する受信手段と、
    前記通報情報の前記発生を知らせる情報に基づいて必要な通報情報を前記端末装置に送信する送信手段と、
    前記受信手段で受信した前記通報情報を収集して蓄積する第1のデータベース部と、
    該第1のデータベース部に蓄積した所定期間の前記通報情報を所定時刻に前記蓄積装置へ転送する転送手段と、を有し、
    前記蓄積装置は、
    前記中央管理装置から転送された前記通報情報を受信すると、該通報情報を前記情報処理装置で加工・分析するためのデータベース構築用形式に変換して蓄積する第2のデータベース部と、
    前記情報処理装置からの取得要求に応じて前記第2のデータベース部で変換して蓄積した前記通報情報に付加された稼動関連情報を送信可能とする送信可能化手段と、を有する
    ことを特徴とする画像形成装置サービスシステム。
  2. 請求項1記載の画像形成装置サービスシステムにおいて、
    前記中央管理装置は、
    前記転送手段により前記蓄積装置に転送した前記第1のデータベース部の通報情報をを削除する
    ことを特徴とする画像形成装置サービスシステム。
  3. 通信回線を介して画像形成装置と端末装置と情報処理装置とに接続される、中央管理装置と蓄積装置からなる画像形成装置サービスシステムにおける情報サービス方法であって、
    前記中央管理装置が、
    前記画像形成装置に通報要因が発生したときに該画像形成装置が通報する、該発生を知らせる情報に少なくともサイズ別、トレイ別、モード別の画像形成枚数のいずれか1つを含む稼動関連情報が付加された通報情報を受信し、
    前記通報情報の前記発生を知らせる情報に基づいて必要な通報情報を前記端末装置に送信する一方、
    前記受信した前記通報情報を収集して蓄積し、
    その蓄積した所定期間の前記通報情報を所定時刻に前記蓄積装置へ転送し、
    前記蓄積装置が、
    前記中央管理装置から転送された前記通報情報を受信すると、該通報情報を前記情報処理装置で加工・分析するためのデータベース構築用形式に変換して蓄積し、
    そのデータベース構築用形式に変換して蓄積した前記通報情報に付加された稼動関連情報を、前記情報処理装置からの取得要求に応じて送信可能とする
    ことを特徴とする画像形成装置サービスシステムにおける情報サービス方法。
JP2007134112A 2007-05-21 2007-05-21 画像形成装置サービスシステム及び情報サービス方法 Expired - Lifetime JP4388564B2 (ja)

Priority Applications (1)

Application Number Priority Date Filing Date Title
JP2007134112A JP4388564B2 (ja) 2007-05-21 2007-05-21 画像形成装置サービスシステム及び情報サービス方法

Applications Claiming Priority (1)

Application Number Priority Date Filing Date Title
JP2007134112A JP4388564B2 (ja) 2007-05-21 2007-05-21 画像形成装置サービスシステム及び情報サービス方法

Related Parent Applications (1)

Application Number Title Priority Date Filing Date
JP19613198A Division JP3970430B2 (ja) 1998-07-10 1998-07-10 画像形成装置サービスシステム

Publications (2)

Publication Number Publication Date
JP2007293877A JP2007293877A (ja) 2007-11-08
JP4388564B2 true JP4388564B2 (ja) 2009-12-24

Family

ID=38764378

Family Applications (1)

Application Number Title Priority Date Filing Date
JP2007134112A Expired - Lifetime JP4388564B2 (ja) 2007-05-21 2007-05-21 画像形成装置サービスシステム及び情報サービス方法

Country Status (1)

Country Link
JP (1) JP4388564B2 (ja)

Families Citing this family (8)

* Cited by examiner, † Cited by third party
Publication number Priority date Publication date Assignee Title
US8223374B2 (en) 2008-06-27 2012-07-17 Kabushiki Kaisha Toshiba Maintenance system of image forming apparatus and maintenance method of the same
JP5117961B2 (ja) 2008-08-25 2013-01-16 株式会社リコー 消耗品管理システム、消耗品管理方法及び消耗品管理プログラム
US8427705B2 (en) * 2009-05-22 2013-04-23 Eastman Kodak Company Maximizing speed tolerance during dual engine synchronization
JP5482530B2 (ja) * 2010-07-16 2014-05-07 株式会社リコー 機器管理システム、機器管理装置、及び機器管理方法
US20190272209A1 (en) * 2018-03-05 2019-09-05 Kabushiki Kaisha Toshiba System and method of resolution prediction for multifunction peripheral failures
US10423865B1 (en) * 2018-03-06 2019-09-24 Kabushiki Kaisha Toshiba System and method of prediction of paper jams on multifunction peripherals
JP7401843B2 (ja) * 2019-03-22 2023-12-20 京セラドキュメントソリューションズ株式会社 管理システム
JP7272049B2 (ja) 2019-03-27 2023-05-12 ブラザー工業株式会社 サーバ及びサーバのためのコンピュータプログラム

Also Published As

Publication number Publication date
JP2007293877A (ja) 2007-11-08

Similar Documents

Publication Publication Date Title
JP3970430B2 (ja) 画像形成装置サービスシステム
JP3604504B2 (ja) 管理装置と画像形成装置サービスシステム並びに故障発生予測方法
JP4388564B2 (ja) 画像形成装置サービスシステム及び情報サービス方法
JP4365019B2 (ja) 顧客支援システム、顧客支援方法、顧客支援センター、顧客情報利用システム及び顧客に配置された機器
JP3442174B2 (ja) 画像形成装置サービスシステム
JP3831143B2 (ja) 画像形成装置管理サービスシステム
JP2003022125A (ja) 機器の定期診断装置及び機器の定期診断方法ならびに定期診断される顧客に配置された機器
JP5655571B2 (ja) 画像形成システム、判定基準設定装置及びプログラム
JP2008269476A (ja) 情報処理装置、情報処理方法及び情報処理システム
JP5790242B2 (ja) 故障予測装置及びプログラム
JP2019160314A (ja) ペーパージャム予測システム及び方法
CN100586141C (zh) 图像作业累计装置及图像作业累计系统
US5790916A (en) Image forming apparatus and service system therefor
JPH0830152A (ja) 遠隔故障診断システム
JP4182114B2 (ja) 画像形成装置監視システム、監視方法及びプログラム
JP2002236576A (ja) 電子機器の管理方法、電子機器、電子機器の管理システム、そのプログラムおよび記録媒体、並びに、情報通信装置
JP5598293B2 (ja) 画像形成システム、予測基準設定装置、予測装置、画像形成装置及びプログラム
JP2000305886A (ja) 遠隔画像形成装置保守支援システム
JP2008077315A (ja) 情報処理装置及び情報処理方法
JP2004037941A (ja) 画像形成装置管理システム
JP3839396B2 (ja) 画像形成装置サービスシステム
JP5145081B2 (ja) エラー予測装置
US20190297198A1 (en) Image processing apparatus and program
JP2007328641A (ja) 画像形成装置の管理装置および管理方法
JP2006236038A (ja) 画像形成装置リモート管理システム

Legal Events

Date Code Title Description
A131 Notification of reasons for refusal

Free format text: JAPANESE INTERMEDIATE CODE: A131

Effective date: 20090630

A521 Request for written amendment filed

Free format text: JAPANESE INTERMEDIATE CODE: A523

Effective date: 20090831

TRDD Decision of grant or rejection written
A01 Written decision to grant a patent or to grant a registration (utility model)

Free format text: JAPANESE INTERMEDIATE CODE: A01

Effective date: 20090924

A01 Written decision to grant a patent or to grant a registration (utility model)

Free format text: JAPANESE INTERMEDIATE CODE: A01

A61 First payment of annual fees (during grant procedure)

Free format text: JAPANESE INTERMEDIATE CODE: A61

Effective date: 20091002

FPAY Renewal fee payment (event date is renewal date of database)

Free format text: PAYMENT UNTIL: 20121009

Year of fee payment: 3

FPAY Renewal fee payment (event date is renewal date of database)

Free format text: PAYMENT UNTIL: 20131009

Year of fee payment: 4

EXPY Cancellation because of completion of term