JP4369727B2 - 排気浄化装置の制御方法 - Google Patents

排気浄化装置の制御方法 Download PDF

Info

Publication number
JP4369727B2
JP4369727B2 JP2003375229A JP2003375229A JP4369727B2 JP 4369727 B2 JP4369727 B2 JP 4369727B2 JP 2003375229 A JP2003375229 A JP 2003375229A JP 2003375229 A JP2003375229 A JP 2003375229A JP 4369727 B2 JP4369727 B2 JP 4369727B2
Authority
JP
Japan
Prior art keywords
exhaust
temperature
injection
control
control device
Prior art date
Legal status (The legal status is an assumption and is not a legal conclusion. Google has not performed a legal analysis and makes no representation as to the accuracy of the status listed.)
Expired - Lifetime
Application number
JP2003375229A
Other languages
English (en)
Other versions
JP2005139944A (ja
Inventor
洋紀 成田
久貴 通阪
仁一 南川
Current Assignee (The listed assignees may be inaccurate. Google has not performed a legal analysis and makes no representation or warranty as to the accuracy of the list.)
Hino Motors Ltd
Original Assignee
Hino Motors Ltd
Priority date (The priority date is an assumption and is not a legal conclusion. Google has not performed a legal analysis and makes no representation as to the accuracy of the date listed.)
Filing date
Publication date
Application filed by Hino Motors Ltd filed Critical Hino Motors Ltd
Priority to JP2003375229A priority Critical patent/JP4369727B2/ja
Publication of JP2005139944A publication Critical patent/JP2005139944A/ja
Application granted granted Critical
Publication of JP4369727B2 publication Critical patent/JP4369727B2/ja
Anticipated expiration legal-status Critical
Expired - Lifetime legal-status Critical Current

Links

Images

Classifications

    • YGENERAL TAGGING OF NEW TECHNOLOGICAL DEVELOPMENTS; GENERAL TAGGING OF CROSS-SECTIONAL TECHNOLOGIES SPANNING OVER SEVERAL SECTIONS OF THE IPC; TECHNICAL SUBJECTS COVERED BY FORMER USPC CROSS-REFERENCE ART COLLECTIONS [XRACs] AND DIGESTS
    • Y02TECHNOLOGIES OR APPLICATIONS FOR MITIGATION OR ADAPTATION AGAINST CLIMATE CHANGE
    • Y02ATECHNOLOGIES FOR ADAPTATION TO CLIMATE CHANGE
    • Y02A50/00TECHNOLOGIES FOR ADAPTATION TO CLIMATE CHANGE in human health protection, e.g. against extreme weather
    • Y02A50/20Air quality improvement or preservation, e.g. vehicle emission control or emission reduction by using catalytic converters
    • YGENERAL TAGGING OF NEW TECHNOLOGICAL DEVELOPMENTS; GENERAL TAGGING OF CROSS-SECTIONAL TECHNOLOGIES SPANNING OVER SEVERAL SECTIONS OF THE IPC; TECHNICAL SUBJECTS COVERED BY FORMER USPC CROSS-REFERENCE ART COLLECTIONS [XRACs] AND DIGESTS
    • Y02TECHNOLOGIES OR APPLICATIONS FOR MITIGATION OR ADAPTATION AGAINST CLIMATE CHANGE
    • Y02TCLIMATE CHANGE MITIGATION TECHNOLOGIES RELATED TO TRANSPORTATION
    • Y02T10/00Road transport of goods or passengers
    • Y02T10/10Internal combustion engine [ICE] based vehicles
    • Y02T10/40Engine management systems

Landscapes

  • Control Of Throttle Valves Provided In The Intake System Or In The Exhaust System (AREA)
  • Control Of Vehicle Engines Or Engines For Specific Uses (AREA)
  • Processes For Solid Components From Exhaust (AREA)
  • Filtering Of Dispersed Particles In Gases (AREA)
  • Exhaust Gas After Treatment (AREA)
  • Electrical Control Of Air Or Fuel Supplied To Internal-Combustion Engine (AREA)
  • Combined Controls Of Internal Combustion Engines (AREA)

Description

本発明は、排気浄化装置の制御方法に関するものである。
ディーゼルエンジンから排出されるパティキュレート(Particulate Matter:粒子状物質)は、炭素質から成る煤と、高沸点炭化水素成分から成るSOF分(Soluble Organic Fraction:可溶性有機成分)とを主成分とし、更に微量のサルフェート(ミスト状硫酸成分)を含んだ組成を成すものであるが、この種のパティキュレートの低減対策としては、排気ガスが流通する排気管の途中に、パティキュレートフィルタを装備することが従来より行われている。
この種のパティキュレートフィルタは、コージェライト等のセラミックから成る多孔質のハニカム構造となっており、格子状に区画された各流路の入口が交互に目封じされ、入口が目封じされていない流路については、その出口が目封じされるようになっており、各流路を区画する多孔質薄壁を透過した排気ガスのみが下流側へ排出されるようにしてある。
そして、排気ガス中のパティキュレートは、前記多孔質薄壁の内側表面に捕集されて堆積するので、目詰まりにより排気抵抗が増加しないうちにパティキュレートを適宜に燃焼除去してパティキュレートフィルタの再生を図る必要があるが、通常のディーゼルエンジンの運転状態においては、パティキュレートが自己燃焼するほどの高い排気温度が得られる機会が少ないため、例えばアルミナに白金を担持させたものに適宜な量のセリウム等の希土類元素を添加して成る酸化触媒を一体的に担持させた触媒再生型のパティキュレートフィルタの実用化が進められている。
即ち、このような触媒再生型のパティキュレートフィルタを採用すれば、捕集されたパティキュレートの酸化反応が促進されて着火温度が低下し、従来より低い排気温度でもパティキュレートを燃焼除去することが可能となるのである。
ただし、この種のパティキュレートフィルタにおいては、排気温度の低いアイドリング状態が長く継続した場合に触媒床温度が低下して活性が下がり、排気ガス中に含まれる未燃燃料の炭化水素がパティキュレートフィルタの酸化触媒上で酸化処理しきれずに徐々に溜まってしまうので、長時間のアイドリング状態を経た後に車両が走行を開始して排気温度が上昇した際に、パティキュレートフィルタに溜まった炭化水素が急激に酸化反応を起こして白煙を生じる虞れがあることが懸念されている。
因みに、このようにアイドリング状態が長く継続してしまうような事態としては、例えば、都心を走る路線バスが激しい渋滞に巻き込まれてしまったような場合や、終点まで到着した路線バスが次の折り返し運行に備えてエンジンをかけたまま待機しているような場合(乗客が着座して待っている場合に冷房等の空調を作動させ続ける必要がある)、或いは、長距離輸送トラックが高速道路等のパーキングでエンジンをかけたまま休憩(仮眠)している場合(冷房等の空調を作動させ続けたい場合)等が想定される。
そして、前述した如きアイドリング状態が長く継続した後の走行開始時における排気ガスの白煙化の対策としては、所定時間以上のアイドリング状態の継続が確認された時に、パティキュレートフィルタより上流側で排気ガスを所定温度以上に昇温する排気昇温手段を作動させ、アイドリング状態が長く継続して大量の炭化水素がパティキュレートフィルタに溜まる前に炭化水素を酸化処理してしまうという昇温制御を用いたものが既に提案されている(例えば先行出願1「特願2002−88508号明細書」、先行出願2「特願2002−296173号明細書」参照)。
しかしながら、このような昇温制御を車両に実施するに際し、例えば、車両がクレーン車や消防自動車等の特装車(特別装備車)であるような場合には、アイドリング停車した状態でエンジン駆動により補機を使用することになるので、このような補機の使用時に昇温制御が自動的に実行されてしまうと、エンジンの運転状態が急変して補機の作動不良を招く虞れがある。
即ち、上記の先行出願1や先行出願2にも説明されている通り、アイドリング状態での排気ガスの温度及び流量は大幅に低下しているため、メイン噴射の一回当たりの噴射量を増加することで通常のアイドリング時より回転数を上げ、これによりエネルギー投入量を増やして排気ガスの温度及び流量を昇温制御に適したレベルまで引き上げる制御を加える必要があるため、このように通常のアイドリング時より回転数が上昇してしまうことで補機の作動に運転者の予期しない変動が生じることが懸念された。
本発明は上述の実情に鑑みてなしたもので、特装車における補機の使用時に排気ガスの白煙化を防ぐための昇温制御の実施により前記補機に作動不良が起こらないようにすることを目的としている。
本発明は、エンジン動力をパワーテイクオフ装置を介しアイドリング状態で取り出して補機を駆動し得るようにした特装車に適用するための排気浄化装置の制御方法であって、排気管の途中に装備された触媒再生型のパティキュレートフィルタと、該パティキュレートフィルタより上流側で排気ガスを所定温度以上に昇温する排気昇温手段と、所定時間以上のアイドリング状態の継続が確認された時に前記排気昇温手段を作動せしめる昇温制御指令を出力する制御装置とを備え、パワーテイクオフ装置のスイッチがオンで且つ操作入力が検知された場合に限り前記制御装置から昇温制御指令を出力させないことを特徴とするものである。
より具体的に本発明を実施するに際しては、例えば、エンジンの各気筒に対し燃料を噴射する燃料噴射装置を排気昇温手段として採用し、該燃料噴射装置に対し通常のアイドリング時より回転数を上げるべくメイン噴射の一回当たりの噴射量を増加し且つ該メイン噴射直後の燃焼可能なタイミングでアフタ噴射を追加する燃料噴射指令を昇温制御指令として制御装置から出力させることが好ましい
而して、このようにすれば、パワーテイクオフ装置のスイッチをオンにして補機に対する操作を実行した時点で制御装置から排気昇温手段に向けた昇温制御指令の出力が阻止されるので、エンジン動力をパワーテイクオフ装置を介しアイドリング状態で取り出して補機を操作している状況下で回転数の上昇やアフタ噴射の追加等といった昇温制御がかからなくなり、エンジンの運転状態が急変して補機の作動不良を招くといった事態が起こらなくなる。
他方、補機による作業を行わない通常のアイドリング状態、或いは、パワーテイクオフ装置のスイッチがオンになっていても実質的な補機への操作が実行されていないアイドリング状態が所定時間以上継続された場合には、制御装置からの昇温制御指令により排気昇温手段が作動されて排気ガスが所定温度以上に昇温され、これによりパティキュレートフィルタの触媒床温度が高められて酸化触媒の活性化が図られる結果、アイドリング状態が長く継続して大量の炭化水素がパティキュレートフィルタに溜められてしまう前に炭化水素が酸化処理されて放出される。
ここで、燃料噴射装置を排気昇温手段として採用している場合について補足説明しておくと、このようにした場合には、メイン噴射の一回当たりの噴射量が増加されて回転数が上げられることによりエネルギー投入量が増えて排気温度の上昇が図られ、しかも、アフタ噴射による燃料が出力に転換され難いタイミングで燃焼することによりエンジンの熱効率が下がり、燃料の発熱量のうちの動力に利用されない熱量が増えて排気温度の上昇が図られることになる。
尚、このような白煙対策の昇温制御は、パワーテイクオフ装置のスイッチがオンになっていても実質的な補機への操作が実行されない限り実行されるので、闇雲にパワーテイクオフ装置のスイッチがオンになった時点から昇温制御を阻止するよりも効率良くパティキュレートフィルタ内の炭化水素を放出させることが可能となる。
更に、本発明においては、排気流量を絞り込むことが可能な排気絞り手段を排気昇温手段として併用し、該排気絞り手段に対しエンジン側における回転数の上昇とアフタ噴射の追加に併せて排気流量を絞り込む開度指令信号を昇温制御指令として制御装置から出力させることが好ましく、このようにすれば、前述したエンジン側における回転数の上昇とアフタ噴射の追加に併せて排気絞り手段により排気流量が絞り込まれる結果、その上流側の排気ガスが昇温されることで排気温度が上昇されると共に、排気抵抗が高まることにより気筒内に比較的温度の低い吸気が流入し難くなって比較的温度の高い排気ガスの残留量が増加し、この比較的温度の高い排気ガスを多く含む気筒内の空気が次の圧縮行程で圧縮されて爆発行程を迎えることでも更なる排気温度の上昇が図られることになる。
上記した本発明の排気浄化装置の制御方法によれば、エンジン動力をパワーテイクオフ装置を介しアイドリング状態で取り出して補機を操作している状況下で回転数の上昇やアフタ噴射の追加等による昇温制御がかからないようにすることができるので、この昇温制御によりエンジンの運転状態が急変して補機の作動不良を招くといった事態を確実に回避することができ、しかも、パワーテイクオフ装置のスイッチがオンになっていても実質的な補機への操作が実行されない限り昇温制御が極力実行されるようになっているので、補機の作動不良を確実に回避しながらも白煙の発生確率を極力低下させることができるという優れた効果を奏し得る。
以下本発明の実施の形態を図面を参照しつつ説明する。
図1及び図2は本発明を実施する形態の一例を示すもので、本形態例においては、図1に例示している如きクレーン車等の特装車に関し、そのディーゼルエンジン1(エンジン)から排気マニホールド2を介して排出された排気ガス3が流通している排気管4のマフラ5内に、酸化触媒を一体的に担持して成る触媒再生型のパティキュレートフィルタ6を収容させるようにしており、該パティキュレートフィルタ6を抱持するフィルタケース7がマフラ5の外筒を成すようになっている。
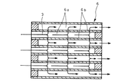
即ち、このフィルタケース7の内部には、図2に拡大して示す如きパティキュレートフィルタ6が収容されており、このパティキュレートフィルタ6は、セラミックから成る多孔質のハニカム構造となっており、格子状に区画された各流路6aの入口が交互に目封じされ、入口が目封じされていない流路6aについては、その出口が目封じされるようになっており、各流路6aを区画する多孔質薄壁6bを透過した排気ガス3のみが下流側へ排出されるようにしてある。
そして、フィルタケース7の入口部分には、パティキュレートフィルタ6に導入される排気ガス3の温度を触媒床温度の代用値として計測する温度センサ8が装備されており、該温度センサ8の検出信号8aがエンジン制御コンピュータ(ECU:Electronic Control Unit)を成す制御装置9に対し入力されるようになっている。
この制御装置9は、エンジン制御コンピュータを兼ねていることから燃料の噴射に関する制御も担うようになっており、より具体的には、アクセル開度をディーゼルエンジン1の負荷として検出するアクセルセンサ11(負荷センサ)からのアクセル開度信号11aと、ディーゼルエンジン1の機関回転数を検出する回転センサ12からの回転数信号12aとに基づき、ディーゼルエンジン1の各気筒に燃料を噴射する燃料噴射装置10に向け燃料噴射信号10aが出力されるようになっている。
ここで、前記燃料噴射装置10は、各気筒毎に装備される複数のインジェクタにより構成されており、これら各インジェクタの電磁弁が前記燃料噴射信号10aにより適宜に開弁制御されて燃料の噴射タイミング及び噴射量が適切に制御されるようになっている。
そして、前記制御装置9では、アクセル開度信号11a及び回転数信号12aに基づき通常モードの燃料噴射信号10aが決定されるようになっている一方、後述するアイドリング判定手段により所定時間以上のアイドリング状態の継続が確認された時に、前記温度センサ8の検出温度に基づき所定のインターバル(30分〜4時間程度)を決定して間欠的に通常モードから昇温モードへの切り替えを行い、この昇温モードに切り替わった際には、図3に示す如く、通常のアイドリング時(約450rpm程度)より回転数を上げる制御(450〜1500rpm程度)を実行するべく圧縮上死点(クランク角0゜)付近で行われていたメイン噴射の一回当たりの噴射量を増加すると共に、該メイン噴射直後の燃焼可能なタイミングでアフタ噴射を追加するような噴射パターンの燃料噴射信号10a(燃料噴射指令)が昇温制御指令として出力されるようになっている。
また、パティキュレートフィルタ6より上流側の適宜位置には、排気管4の流路を適宜な開度に絞り込む開度調整可能な排気ブレーキ20が装備されており、該排気ブレーキ20は、制御装置9からの開度指令信号20aにより開度制御されるようになっているが、本形態例においては、制御装置9にて昇温モードが選択された際に、排気ブレーキ20に対し本来の作動から独立した別の作動を指令し、後述する如き排気温度を上げるための排気絞り手段として排気ブレーキ20を活用できるようにしてある。
また、特に図1中には図示していないが、先に説明したアクセルセンサ11,回転センサ12のほか、ギヤ位置がニュートラルポジションにあることを検出するニュートラルスイッチ、サイドブレーキが引かれていることを検出するサイドブレーキスイッチ、車速を検出する車速センサの夫々からの検出信号も制御装置9に入力されるようになっており、これらの検出信号に基づき車両がアイドリング状態にあるか否かが前記制御装置9にて判定されるようになっている。
即ち、前記制御装置9においては、回転センサ12により比較的低い所定の回転数域であることが確認され、アクセルセンサ11によりアクセルオフ(負荷が零)が確認され、ニュートラルスイッチによりギヤ位置がニュートラルポジションにあることが確認され、サイドブレーキスイッチによりサイドブレーキが引かれていることが確認され、車速センサにより車速が零であることが確認された時に現在の運転状態がアイドリング状態にあると判定するようになっている。
尚、アイドリング状態の判定にあたっては、これらのセンサ類やスイッチ類からの信号を必ずしも全て必要とするわけではなく、少なくとも回転センサ12と、アクセルセンサ11,ニュートラルスイッチ,サイドブレーキスイッチ,車速センサの何れかとの組み合わせによりアイドリング判定手段を構成することが可能であり、また、より確実な判定を行う目的でクラッチ信号等の更なる別の信号を考慮するようにしても良い。
そして、図1に図示している如き特装車にあっては、変速機13の側面にパワーテイクオフ装置14が装備されており、変速機13の副軸歯車からギヤトレーンを介して動力を取り出し得るようにしてあり、この変速機13から取り出された動力は、パワーテイクオフ装置14の出力軸から油圧ポンプ等の補機15へと出力されるようになっているが、その出力のオン・オフについては、パワーテイクオフ装置14の内部にて行われるようになっている。
ただし、エンジン動力の取り出し方については、前述した如きトランスミッションPTO方式のほか、変速機13の前部のフライホイールに設けた歯車から動力を取り出すようにしたフライホイールPTO方式等といった各種の方式を採用することが可能である。
他方、キャブ内のインストルメントパネルには、エンジン動力をパワーテイクオフ装置14を介し取り出して補機15を駆動し得るようにするためのPTOスイッチ16が配設されており、該PTOスイッチ16をオンとすることでオン信号16aを受けた制御装置9からPTO指令信号14aがパワーテイクオフ装置14へ向け出力されて該パワーテイクオフ装置14の出力がオンとなる一方、キャブ外に別途設置した外部アクセル17が有効となるようにしてある。
即ち、この外部アクセル17は、キャブ外の特装用アクセルセンサ18を特装用レバー19で操作するように構成されており、PTOスイッチ16のオン時に特装用アクセルセンサ18からの外部アクセル開度信号18aがディーゼルエンジン1の制御信号として制御装置9内で電気的に有効化され、キャブ内でアクセルペダルを踏まなくてもディーゼルエンジン1の回転数をキャブ外で制御できるようになっている。
ただし、制御装置9においては、PTOスイッチ16のオン信号16aが入力され且つ外部アクセル開度信号18aに基づき外部アクセル17の特装用レバー19の実質的な操作入力が検知されている条件下、つまり、エンジン動力をパワーテイクオフ装置14を介しアイドリング状態で取り出して補機15を操作している条件下で再生モードの燃料噴射信号10a(昇温制御指令)が出力されないようにインターロックがかかるようになっており、より具体的には、燃焼噴射制御が通常モードから再生モードへ切り替わらないようになっている。
尚、ここでは補機15に対する操作を外部アクセル17で行う場合を例示しているが、補機15をキャブ内のアクセルペダルで操作することが可能な特装車や、補機15をキャブ内のアイドルボリューム(暖機運転時等にアイドリング回転数を手動で調整するためのスロットルボタン)で操作することが可能な特装車の場合には、これらアクセルペダルやアイドルボリュームの操作信号を前記外部アクセル開度信号18aと同様に扱い、これを補機15に対する操作入力として制御装置9内で検知させるようにすれば良い。
而して、このように排気浄化装置を構成すれば、キャブ内のPTOスイッチ16をオンにして補機15に対する操作(外部アクセル17の特装用レバー19の操作)を実行した時点で制御装置9から燃料噴射装置10に向けた再生モードの燃料噴射信号10a(昇温制御指令)の出力が阻止されるので、エンジン動力をパワーテイクオフ装置14を介しアイドリング状態で取り出して補機15を操作している状況下で回転数の上昇やアフタ噴射の追加による昇温制御がかからなくなり、ディーゼルエンジン1の運転状態が急変して補機15の作動不良を招くといった事態が起こらなくなる。
例えば、図4に示す如く、既に所定時間以上のアイドリング状態の継続が確認されて昇温制御がかかっていたとしても、PTOスイッチ16がオンの状態で外部アクセル17の特装用レバー19が操作されたことが制御装置9で検知されると、直ちに制御装置9内で昇温制御がキャンセルされて再生モードの燃料噴射信号10aが出力されなくなり、外部アクセル17の特装用レバー19で制御装置9に入力される補機15の手動操作が優先されることになる。
他方、補機15による作業を行わない通常のアイドリング状態、或いは、PTOスイッチ16がオンになっていても実質的な補機15への操作が実行されていないアイドリング状態が所定時間以上継続された場合には、制御装置9から再生モードの燃料噴射信号10a(昇温制御指令)が出力されるので、これを受けた燃料噴射装置10によりメイン噴射の一回当たりの噴射量が増加されて回転数が上げられ、これにより各気筒へのエネルギー投入量が増えて排気温度の上昇が図られ、しかも、アフタ噴射による燃料が出力に転換され難いタイミングで燃焼することでディーゼルエンジン1の熱効率が下がり、燃料の発熱量のうちの動力に利用されない熱量が増えて排気温度の上昇が図られることになる。
また、特に本形態例では、排気流量を絞り込むことが可能な排気絞り手段を成す排気ブレーキ20を排気昇温手段として併用しているので、前述したディーゼルエンジン1側における回転数の上昇とアフタ噴射の追加に合わせて排気ブレーキ20で排気流量が絞り込まれ、その上流側の排気ガス3が昇温されることで排気温度が上昇されると共に、排気抵抗が高まることにより気筒内に比較的温度の低い吸気が流入し難くなって比較的温度の高い排気ガス3の残留量が増加し、この比較的温度の高い排気ガス3を多く含む気筒内の空気が次の圧縮行程で圧縮されて爆発行程を迎えることでも更なる排気温度の上昇が図られることになる。
そして、このようにしてパティキュレートフィルタ6の上流側で排気ガス3が昇温されると、結果的にパティキュレートフィルタ6の触媒床温度が高められて酸化触媒の活性化が図られることになり、アイドリング状態が長く継続して大量の炭化水素がパティキュレートフィルタ6に溜められてしまう前に炭化水素が酸化処理されて放出されることになる。
尚、このような白煙対策の昇温制御は、PTOスイッチ16がオンになっていても実質的な補機15への操作が実行されない限り実行されるので、闇雲にPTOスイッチ16がオンになった時点から昇温制御を阻止するよりも効率良くパティキュレートフィルタ6内の炭化水素を放出させることが可能となる。
従って、上記形態例によれば、エンジン動力をパワーテイクオフ装置14を介しアイドリング状態で取り出して補機15を操作している状況下で回転数の上昇やアフタ噴射の追加による昇温制御がかからないようにすることができるので、この昇温制御によりディーゼルエンジン1の運転状態が急変して補機15の作動不良を招くといった事態を確実に回避することができ、しかも、PTOスイッチ16がオンになっていても実質的な補機15への操作が実行されない限り昇温制御が極力実行されるようになっているので、補機15の作動不良を確実に回避しながらも白煙の発生確率を極力低下させることができる。
尚、本発明の排気浄化装置の制御方法は、上述の形態例にのみ限定されるものではなく、排気昇温手段には図示する例以外の構成を採用しても良いこと、また、パティキュレートフィルタの前段には適宜にフロースルー型の酸化触媒を配置しても良いこと、排気絞り手段を排気ブレーキとは別に設けても良いこと、その他、本発明の要旨を逸脱しない範囲内において種々変更を加え得ることは勿論である。
本発明を実施する形態の一例を示す概略図である。 図1のパティキュレートフィルタの詳細を示す断面図である。 図1の制御装置による回転数制御のパターンを示すグラフである。 図3のグラフで昇温制御が中断した場合を例示するグラフである。
1 ディーゼルエンジン(エンジン)
3 排気ガス
6 パティキュレートフィルタ
9 制御装置
10 燃料噴射装置(排気昇温手段)
10a 燃料噴射信号(昇温制御指令)
14 パワーテイクオフ装置
15 補機
16 PTOスイッチ(パワーテイクオフ装置のスイッチ)
16a オン信号
17 外部アクセル
18a 外部アクセル開度信号(操作入力)
19 特装用レバー
20 排気ブレーキ(排気絞り手段)
20a 開度指令信号(昇温制御指令)

Claims (3)

  1. エンジン動力をパワーテイクオフ装置を介しアイドリング状態で取り出して補機を駆動し得るようにした特装車に適用するための排気浄化装置の制御方法であって、排気管の途中に装備された触媒再生型のパティキュレートフィルタと、該パティキュレートフィルタより上流側で排気ガスを所定温度以上に昇温する排気昇温手段と、所定時間以上のアイドリング状態の継続が確認された時に前記排気昇温手段を作動せしめる昇温制御指令を出力する制御装置とを備え、パワーテイクオフ装置のスイッチがオンで且つ操作入力が検知された場合に限り前記制御装置から昇温制御指令を出力させないことを特徴とする排気浄化装置の制御方法
  2. エンジンの各気筒に対し燃料を噴射する燃料噴射装置を排気昇温手段として採用し、該燃料噴射装置に対し通常のアイドリング時より回転数を上げるべくメイン噴射の一回当たりの噴射量を増加し且つ該メイン噴射直後の燃焼可能なタイミングでアフタ噴射を追加する燃料噴射指令を昇温制御指令として制御装置から出力させることを特徴とする請求項1に記載の排気浄化装置の制御方法
  3. 排気流量を絞り込むことが可能な排気絞り手段を排気昇温手段として併用し、該排気絞り手段に対しエンジン側における回転数の上昇とアフタ噴射の追加に併せて排気流量を絞り込む開度指令信号を昇温制御指令として制御装置から出力させることを特徴とする請求項2に記載の排気浄化装置の制御方法
JP2003375229A 2003-11-05 2003-11-05 排気浄化装置の制御方法 Expired - Lifetime JP4369727B2 (ja)

Priority Applications (1)

Application Number Priority Date Filing Date Title
JP2003375229A JP4369727B2 (ja) 2003-11-05 2003-11-05 排気浄化装置の制御方法

Applications Claiming Priority (1)

Application Number Priority Date Filing Date Title
JP2003375229A JP4369727B2 (ja) 2003-11-05 2003-11-05 排気浄化装置の制御方法

Publications (2)

Publication Number Publication Date
JP2005139944A JP2005139944A (ja) 2005-06-02
JP4369727B2 true JP4369727B2 (ja) 2009-11-25

Family

ID=34686654

Family Applications (1)

Application Number Title Priority Date Filing Date
JP2003375229A Expired - Lifetime JP4369727B2 (ja) 2003-11-05 2003-11-05 排気浄化装置の制御方法

Country Status (1)

Country Link
JP (1) JP4369727B2 (ja)

Cited By (1)

* Cited by examiner, † Cited by third party
Publication number Priority date Publication date Assignee Title
US9759146B2 (en) 2013-05-31 2017-09-12 Kobelco Cranes Co., Ltd. Exhaust gas purification control device for construction machine

Families Citing this family (17)

* Cited by examiner, † Cited by third party
Publication number Priority date Publication date Assignee Title
JP4140640B2 (ja) * 2006-06-12 2008-08-27 いすゞ自動車株式会社 排気ガス浄化方法及び排気ガス浄化システム
JP4169076B2 (ja) 2007-01-25 2008-10-22 いすゞ自動車株式会社 排気ガス浄化システムの制御方法及び排気ガス浄化システム
JP4100449B1 (ja) * 2007-01-26 2008-06-11 いすゞ自動車株式会社 排気ガス浄化システムの制御方法及び排気ガス浄化システム
JP2009019534A (ja) * 2007-07-10 2009-01-29 Tadano Ltd 作業用車両の排ガス浄化装置
JP5053015B2 (ja) * 2007-09-25 2012-10-17 日立建機株式会社 建設機械の排気ガス浄化システム
JP5122896B2 (ja) * 2007-09-25 2013-01-16 日立建機株式会社 建設機械の排気ガス浄化システム
KR101510491B1 (ko) * 2007-11-06 2015-04-08 히다찌 겐끼 가부시키가이샤 작업 차량의 배기 가스 정화 시스템
JP4878342B2 (ja) * 2007-12-10 2012-02-15 日立建機株式会社 作業車両の排気ガス浄化システム
JP5407288B2 (ja) * 2008-11-13 2014-02-05 三菱ふそうトラック・バス株式会社 排気ガス処理装置及び排気ガス処理方法
US10371027B2 (en) 2010-04-30 2019-08-06 Yanmar Co., Ltd. Exhaust gas purification system of working machine
JP5667782B2 (ja) * 2010-04-30 2015-02-12 ヤンマー株式会社 作業機の排気ガス浄化システム
US9140157B2 (en) 2010-05-07 2015-09-22 Yanmar Co., Ltd. Exhaust gas purification system
JP5828579B2 (ja) 2010-05-07 2015-12-09 ヤンマー株式会社 作業機の排気ガス浄化システム
JP5839784B2 (ja) 2010-06-02 2016-01-06 ヤンマー株式会社 排気ガス浄化システム
JP6040078B2 (ja) * 2013-03-28 2016-12-07 日野自動車株式会社 排気浄化装置
WO2016043348A1 (ja) * 2015-10-09 2016-03-24 株式会社小松製作所 作業車両及び作業車両の制御方法
CN115992752A (zh) * 2023-01-18 2023-04-21 徐州重型机械有限公司 Dpf再生远程控制系统、控制方法及其起重机

Cited By (1)

* Cited by examiner, † Cited by third party
Publication number Priority date Publication date Assignee Title
US9759146B2 (en) 2013-05-31 2017-09-12 Kobelco Cranes Co., Ltd. Exhaust gas purification control device for construction machine

Also Published As

Publication number Publication date
JP2005139944A (ja) 2005-06-02

Similar Documents

Publication Publication Date Title
JP4369727B2 (ja) 排気浄化装置の制御方法
JP4928335B2 (ja) 排気浄化装置
JP4139259B2 (ja) パティキュレートフィルタの再生方法
JP3938863B2 (ja) 排気浄化装置
JP4012043B2 (ja) パティキュレートフィルタの再生方法
JP2008223612A (ja) 排気浄化装置
JP4327435B2 (ja) 排気浄化装置
JP2004150417A (ja) 排気浄化装置
JP4313160B2 (ja) 排気浄化装置
JP2006037925A (ja) エンジンの排気浄化装置
JP2005155444A (ja) 排気浄化装置
JP2003286887A (ja) 排気白煙化防止装置
JP4084289B2 (ja) 排気浄化装置
JP2005155574A (ja) 排気浄化装置
JP3914751B2 (ja) 排気浄化方法
JP2005155532A (ja) 排気浄化装置
JP3922249B2 (ja) エンジンの排気浄化装置
JP4377574B2 (ja) 排気浄化装置
JP3971366B2 (ja) 排気浄化装置
JP4163926B2 (ja) 排気白煙化防止装置
JP3878833B2 (ja) 排気浄化装置
JP5613477B2 (ja) パティキュレートフィルタの再生装置
JP4293892B2 (ja) 排気浄化装置
JP4293890B2 (ja) 排気浄化装置
JP4276525B2 (ja) 排気浄化装置

Legal Events

Date Code Title Description
A621 Written request for application examination

Free format text: JAPANESE INTERMEDIATE CODE: A621

Effective date: 20061026

A131 Notification of reasons for refusal

Free format text: JAPANESE INTERMEDIATE CODE: A131

Effective date: 20081118

A521 Request for written amendment filed

Free format text: JAPANESE INTERMEDIATE CODE: A523

Effective date: 20090109

A131 Notification of reasons for refusal

Free format text: JAPANESE INTERMEDIATE CODE: A131

Effective date: 20090203

TRDD Decision of grant or rejection written
A01 Written decision to grant a patent or to grant a registration (utility model)

Free format text: JAPANESE INTERMEDIATE CODE: A01

Effective date: 20090825

A01 Written decision to grant a patent or to grant a registration (utility model)

Free format text: JAPANESE INTERMEDIATE CODE: A01

A61 First payment of annual fees (during grant procedure)

Free format text: JAPANESE INTERMEDIATE CODE: A61

Effective date: 20090828

R150 Certificate of patent or registration of utility model

Ref document number: 4369727

Country of ref document: JP

Free format text: JAPANESE INTERMEDIATE CODE: R150

Free format text: JAPANESE INTERMEDIATE CODE: R150

FPAY Renewal fee payment (event date is renewal date of database)

Free format text: PAYMENT UNTIL: 20120904

Year of fee payment: 3

FPAY Renewal fee payment (event date is renewal date of database)

Free format text: PAYMENT UNTIL: 20120904

Year of fee payment: 3

FPAY Renewal fee payment (event date is renewal date of database)

Free format text: PAYMENT UNTIL: 20130904

Year of fee payment: 4

R250 Receipt of annual fees

Free format text: JAPANESE INTERMEDIATE CODE: R250

R250 Receipt of annual fees

Free format text: JAPANESE INTERMEDIATE CODE: R250

R250 Receipt of annual fees

Free format text: JAPANESE INTERMEDIATE CODE: R250

R250 Receipt of annual fees

Free format text: JAPANESE INTERMEDIATE CODE: R250

EXPY Cancellation because of completion of term