JP4360133B2 - 免震装置用ダンパー材料 - Google Patents
免震装置用ダンパー材料 Download PDFInfo
- Publication number
- JP4360133B2 JP4360133B2 JP2003173697A JP2003173697A JP4360133B2 JP 4360133 B2 JP4360133 B2 JP 4360133B2 JP 2003173697 A JP2003173697 A JP 2003173697A JP 2003173697 A JP2003173697 A JP 2003173697A JP 4360133 B2 JP4360133 B2 JP 4360133B2
- Authority
- JP
- Japan
- Prior art keywords
- plastics
- seismic isolation
- damper material
- isolation device
- hardness
- Prior art date
- Legal status (The legal status is an assumption and is not a legal conclusion. Google has not performed a legal analysis and makes no representation as to the accuracy of the status listed.)
- Expired - Fee Related
Links
- 239000000463 material Substances 0.000 title claims description 73
- 238000002955 isolation Methods 0.000 title claims description 48
- 229920003023 plastic Polymers 0.000 claims description 99
- 239000004033 plastic Substances 0.000 claims description 99
- -1 polyethylene terephthalate Polymers 0.000 claims description 26
- 239000004698 Polyethylene Substances 0.000 claims description 12
- 229920000573 polyethylene Polymers 0.000 claims description 12
- 229920001707 polybutylene terephthalate Polymers 0.000 claims description 9
- 229920000139 polyethylene terephthalate Polymers 0.000 claims description 9
- 239000005020 polyethylene terephthalate Substances 0.000 claims description 9
- 239000011112 polyethylene naphthalate Substances 0.000 claims description 6
- 229920001083 polybutene Polymers 0.000 claims description 5
- 239000004952 Polyamide Substances 0.000 claims description 4
- 229920002647 polyamide Polymers 0.000 claims description 4
- 229920003207 poly(ethylene-2,6-naphthalate) Polymers 0.000 claims description 3
- PPBRXRYQALVLMV-UHFFFAOYSA-N Styrene Chemical compound C=CC1=CC=CC=C1 PPBRXRYQALVLMV-UHFFFAOYSA-N 0.000 claims 2
- 229920001400 block copolymer Polymers 0.000 claims 2
- QQONPFPTGQHPMA-UHFFFAOYSA-N propylene Natural products CC=C QQONPFPTGQHPMA-UHFFFAOYSA-N 0.000 claims 2
- 125000004805 propylene group Chemical group [H]C([H])([H])C([H])([*:1])C([H])([H])[*:2] 0.000 claims 2
- 239000005977 Ethylene Substances 0.000 claims 1
- BXOUVIIITJXIKB-UHFFFAOYSA-N ethene;styrene Chemical group C=C.C=CC1=CC=CC=C1 BXOUVIIITJXIKB-UHFFFAOYSA-N 0.000 claims 1
- 238000013016 damping Methods 0.000 description 20
- 229920001971 elastomer Polymers 0.000 description 14
- 239000005060 rubber Substances 0.000 description 14
- 229920005676 ethylene-propylene block copolymer Polymers 0.000 description 7
- 239000004677 Nylon Substances 0.000 description 5
- 239000003795 chemical substances by application Substances 0.000 description 5
- 230000000694 effects Effects 0.000 description 5
- 229920001778 nylon Polymers 0.000 description 5
- 230000000052 comparative effect Effects 0.000 description 4
- 238000000034 method Methods 0.000 description 4
- 238000004519 manufacturing process Methods 0.000 description 3
- 229910000831 Steel Inorganic materials 0.000 description 2
- 239000010426 asphalt Substances 0.000 description 2
- 230000007613 environmental effect Effects 0.000 description 2
- 239000005038 ethylene vinyl acetate Substances 0.000 description 2
- 238000001746 injection moulding Methods 0.000 description 2
- 238000010030 laminating Methods 0.000 description 2
- 229920001200 poly(ethylene-vinyl acetate) Polymers 0.000 description 2
- 239000004810 polytetrafluoroethylene Substances 0.000 description 2
- 229920001343 polytetrafluoroethylene Polymers 0.000 description 2
- 239000010959 steel Substances 0.000 description 2
- 239000012815 thermoplastic material Substances 0.000 description 2
- 241000224489 Amoeba Species 0.000 description 1
- 229920002292 Nylon 6 Polymers 0.000 description 1
- OFOBLEOULBTSOW-UHFFFAOYSA-N Propanedioic acid Natural products OC(=O)CC(O)=O OFOBLEOULBTSOW-UHFFFAOYSA-N 0.000 description 1
- 238000010521 absorption reaction Methods 0.000 description 1
- 230000003712 anti-aging effect Effects 0.000 description 1
- 230000003466 anti-cipated effect Effects 0.000 description 1
- 239000000919 ceramic Substances 0.000 description 1
- 238000006073 displacement reaction Methods 0.000 description 1
- 230000002708 enhancing effect Effects 0.000 description 1
- 238000001125 extrusion Methods 0.000 description 1
- 239000000945 filler Substances 0.000 description 1
- 239000011521 glass Substances 0.000 description 1
- 238000004898 kneading Methods 0.000 description 1
- 239000010985 leather Substances 0.000 description 1
- 239000000314 lubricant Substances 0.000 description 1
- VZCYOOQTPOCHFL-UPHRSURJSA-N maleic acid Chemical compound OC(=O)\C=C/C(O)=O VZCYOOQTPOCHFL-UPHRSURJSA-N 0.000 description 1
- 239000011976 maleic acid Substances 0.000 description 1
- FPYJFEHAWHCUMM-UHFFFAOYSA-N maleic anhydride Chemical compound O=C1OC(=O)C=C1 FPYJFEHAWHCUMM-UHFFFAOYSA-N 0.000 description 1
- 238000013017 mechanical damping Methods 0.000 description 1
- 239000002184 metal Substances 0.000 description 1
- 238000002156 mixing Methods 0.000 description 1
- 238000000465 moulding Methods 0.000 description 1
- 239000000123 paper Substances 0.000 description 1
- 239000004014 plasticizer Substances 0.000 description 1
- 239000004417 polycarbonate Substances 0.000 description 1
- 229920000515 polycarbonate Polymers 0.000 description 1
- 239000004814 polyurethane Substances 0.000 description 1
- 229920002635 polyurethane Polymers 0.000 description 1
- 239000004800 polyvinyl chloride Substances 0.000 description 1
- 238000002360 preparation method Methods 0.000 description 1
- 239000011435 rock Substances 0.000 description 1
- 230000035939 shock Effects 0.000 description 1
- 239000007779 soft material Substances 0.000 description 1
- 238000010998 test method Methods 0.000 description 1
- VZCYOOQTPOCHFL-UHFFFAOYSA-N trans-butenedioic acid Natural products OC(=O)C=CC(O)=O VZCYOOQTPOCHFL-UHFFFAOYSA-N 0.000 description 1
- 239000002023 wood Substances 0.000 description 1
Images
Landscapes
- Buildings Adapted To Withstand Abnormal External Influences (AREA)
- Vibration Prevention Devices (AREA)
- Vibration Dampers (AREA)
- Compositions Of Macromolecular Compounds (AREA)
Description
【発明の属する技術分野】
本発明は、建物と基礎との間に設置して地震の衝撃と振動を吸収する免震装置に用いられるダンパー材料に関する。
【0002】
【従来の技術】
建物と基礎との間に設置して地震の衝撃や振動を吸収することにより建物を保護する免震装置は、一般に、積層ゴム(鋼板等の硬質板とゴム等の粘弾性的性質を有する軟質板とを積層した免震ゴム:アイソレータ)とダンパーとで主に構成される。免震装置の免震ゴムは、ゴムの剪断剛性の柔らかさと大きな変形能力を利用して、水平方向に対して基礎と建物との滑りを作り、地震力を低減する作用を奏し、ダンパーは、振動時のエネルギーを吸収し、免震構造に減衰性能を付与して、地震時に生じる建物と地盤との過大な相対変位を抑制する作用を奏する。
【0003】
このような免震装置のダンパーを構成する材料としては、従来、主に鉛が使用されている。また、アスファルト系熱可塑材料(特許第2987888号公報)も提案されている。
【0004】
【特許文献1】
特許第2987888号公報
【0005】
【発明が解決しようとする課題】
現在、免震装置用ダンパー材料として主として用いられている鉛は、環境問題の観点から製造及び設計上大きな制約を受ける。また、将来的に免震装置を廃棄する際の処分の問題も予測されることから、鉛に代わる免震装置用ダンパー材料が求められている。
【0006】
一方、アスファルト系熱可塑材料は、その性能の温度依存性が著しく大きく、温度調整がなされている屋内での使用には有効であるが、建築物の下部などの外気に曝された環境では安定した性能を発揮し得ない。
【0007】
本発明は上記従来の免震装置用ダンパー材料の問題点を解決し、鉛代替のダンパー材料として、取り扱い性に優れたダンパー材料であって、制振効果に優れると共に制振性能が外部環境に左右されず、制振性能の安定性に優れる免震装置用ダンパー材料を提供することを目的とする。
【0008】
【課題を解決するための手段】
本発明の免震装置用ダンパー材料は、硬質プラスチックスAよりなる海相と、この海相内に分散する、該硬質プラスチックスAよりも低硬度のプラスチックスBよりなる島相とを有する海島構造を持つ免震装置用ダンパー材料であって、免震装置用ダンパー材料を構成するプラスチックスAとプラスチックスBとの組み合せが、次のようなものであることを特徴とする。
(1) プラスチックスAがポリエチレンテレフタレート(PET)で、プラスチックスBがポリエチレン。相容化剤としてスチレン−エチレン−プロピレンブロック共重合体を含んでいても良い。
(2) プラスチックスAがポリアミドで、プラスチックスBがポリエチレン。相容化剤として無水マレイン酸変性のスチレン−エチレン−プロピレンブロック共重合体を含んでいても良い。
(3) プラスチックスAがポリブチレンテレフタレート(PBT)で、プラスチックスBがポリブテン。
(4) プラスチックスAがポリエチレンナフタレート(PEN)で、プラスチックスBがポリエチレン。
【0009】
このような本発明の免震装置用ダンパー材料は、プラスチックス特有の脆性的な破壊挙動をせず、延性的な応力歪挙動を取り、繰り返し変形に耐え、力学的な高減衰性を発現する。しかも、減衰性能の耐環境安定性も良好であり、また、生産性が高く、製造作業性も優れる。
【0010】
本発明の免震装置用ダンパー材料は、更に、プラスチックスAとプラスチックスBとの相容化剤を含んでいても良い。
【0011】
この免震装置用ダンパー材料において、プラスチックスAの含有量は10〜90体積%で、プラスチックスBの含有量は90〜10体積%であることが好ましく、島相の最大径の平均値は0.1〜100μmであることが好ましい。
【0012】
また、プラスチックスAの引張弾性率硬度が120kgf・mm−2以上であり、プラスチックスBの引張弾性率硬度が10〜120kgf・mm−2であることが好ましい。
【0015】
【発明の実施の形態】
以下に本発明の免震装置用ダンパー材料の実施の形態を詳細に説明する。
【0016】
本発明の免震装置用ダンパー材料は、硬質プラスチックス(以下「高硬度プラスチックス」と称す場合がある。)Aよりなる海相と、この海相内に分散する硬質プラスチックスAよりも低硬度のプラスチックス(以下「低硬度プラスチックス」と称す場合がある。)Bよりなる島相とを有する海島構造を持つものである。
【0017】
高硬度プラスチックスAとしては、JIS K 7113の引張弾性率硬度が120kgf・mm−2以上、好ましくは280〜420kgf・mm−2程度のものが好ましい。プラスチックスAの引張弾性率硬度が120kgf・mm−2未満では、低硬度プラスチックスBとの複合化で海島構造をとることによる良好な減衰性能を得ることができない場合がある。
【0018】
このような高硬度プラスチックスAとしては、ポリエチレンテレフタレート(PET)、ポリアミド(ナイロン)、ポリブチレンテレフタレート(PBT)、ポリエチレンナフタレート(PEN)、ポリカーボネート(PC)等が挙げられるが、何らこれらに限定されるものではない。
【0019】
一方、低硬度プラスチックスBとしては、JIS K 7113の引張弾性率硬度が10〜120kgf・mm−2(120kgf・mm−2未満)、好ましくは17〜111kgf・mm−2程度のものが好ましい。プラスチックスBの引張弾性率硬度が120kgf・mm−2を超えると、高硬度プラスチックスAとの複合化で海島構造をとることによる良好な減衰性能を得ることができない場合があり、10kgf・mm−2未満のプラスチックスは材料調製上実現が困難である。
【0020】
このような低硬度プラスチックスBとしては、ポリエチレン、ポリブテン、エチレン酢酸ビニル共重合体(EVA)、ポリ塩化ビニル(PVC)、ポリテトラフルオロエチレン(PTFE)等が挙げられるが、何らこれらに限定されるものではない。
【0021】
高硬度プラスチックスA、低硬度プラスチックスBは、上述のものをそれぞれ1種ずつ用いても良く、いずれか一方又は双方を2種以上混合して用いても良い。
【0022】
本発明の免震装置用ダンパー材料においては、高硬度プラスチックスAと低硬度プラスチックスBとの相溶性を高めるための相容化剤を含有していても良く、この場合、相容化剤は、高硬度プラスチックスAと低硬度プラスチックスBとの組み合せにより、双方のプラスチックスになじみの良いものが適宜選択使用されるが、例えば、スチレン−エチレン−プロピレンブロック共重合体、或いはその無水マレイン酸変性物等を用いることができる。
【0023】
本発明の免震装置用ダンパー材料は、海相を構成する高硬度プラスチックスAの含有量が90〜10体積%で、島相を構成する低硬度プラスチックスBの含有量が10〜90体積%であることが好ましい。高硬度プラスチックスAの割合が10体積%未満で低硬度プラスチックスBが90体積%を超えると材料の減衰力が不十分であり、高硬度プラスチックスAの割合が90体積%を超え低硬度プラスチックスBが10体積%未満であると大変形に耐えられず、脆性的に破壊してしまう。
【0024】
また、相容化剤を用いる場合、相容化剤の含有量は、ダンパー材料の全量に対して1.0〜20.0重量%であることが好ましい。この割合が1.0重量%未満では、相容化剤を添加したことによる十分な相溶化効果を得ることができず、20.0重量%を超えると系が低硬度化して十分な減衰性が得られない。
【0025】
本発明の免震装置用ダンパー材料は、次のような高硬度プラスチックスAと低硬度プラスチックスBの組み合せの海島構造とする。
【0026】
(1) プラスチックスAがポリエチレンテレフタレート(PET)で、プラスチックスBがポリエチレン。相容化剤としてスチレン−エチレン−プロピレンブロック共重合体を含んでいても良い。
(2) プラスチックスAがポリアミド、即ち、6−ナイロン、6,6−ナイロン等のナイロンで、プラスチックスBがポリエチレン。相容化剤として無水マレイン酸変性のスチレン−エチレン−プロピレンブロック共重合体や無水マレイン酸変性のポリエチレンを含んでいても良い。
(3) プラスチックスAがポリブチレンテレフタレート(PBT)で、プラスチックスBがポリブテン。
(4) プラスチックスAがポリエチレンナフタレート(PEN)で、プラスチックスBがポリエチレン。
【0027】
高硬度プラスチックスAの海相中に形成される低硬度プラスチックスBの島相の大きさは、大き過ぎても小さ過ぎても、これらの海島構造とすることによる良好な減衰効果を得ることができないことから、低硬度プラスチックスBによる島相の平均大径、即ち、島相を平行に配置した2枚の平板で挟んだ場合、その距離が最も離隔する場合の長さの平均値が0.1〜100μm程度であることが好ましい。また、低硬度プラスチックスBによる島相の1個当たりの体積の平均値は(0.1)3〜(100)3μm3であることが好ましい。なお、この低硬度プラスチックスBによる島相の形状は、ダンパー材料の製造条件等によっても異なるが、通常は球状、ラグビーボール形状、アメーバ状、層状等である。
【0028】
このような本発明の免震装置用ダンパー材料は、高硬度プラスチックスAと低硬度プラスチックスB、更に必要に応じて添加される相容化剤、その他、充填材、滑剤、老化防止剤等の所定量を汎用の二軸混練り機やゴム用のニーダーなども使用して混合して調製することができ、得られたダンパー材料を射出成形、押出成形など種々の成形手法で成形し、必要に応じて硬質材と貼り合わせたり、ゴムを加硫接着するなどして、免震装置用ダンパーとすることができる。
【0029】
以下、図面を参照して本発明の免震装置用ダンパー材料を用いたダンパーについて説明する。
【0030】
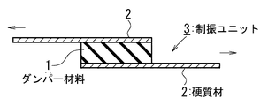
本発明のダンパー材料は、例えば、硬質材の間に挟み込んで用いることができる。例えば、拘束タイプ制振材や制振鋼板としての使用方法であるが、より効果的かつ有効な使用方法は、本発明のダンパー材料を硬質材の間に挟み、その剪断変形時のエネルギー吸収能力を利用する方法である。
【0031】
図1はこのような使用例の基本的なユニットを示す断面図、図2は同斜視図であり、図3は図1に示すユニットを複数個重ね合わせたダンパーを示す断面図である。図中、1はダンパー材料、2は板状の硬質材である。図3に示すダンパー10は、図1に示すダンパー材料1を板状の硬質材2の間に挟み込んだ制振ユニット3を、複数個重ね合せ、支持部材4,5で固定したものである(なお、図1〜3において、矢印は振動の方向を示す。)。
【0032】
図1〜3に示す例は、板状の硬質材2を用いたものであるが、硬質材は板状に限らず、円管体等の他の形状、或いは、それらと板状体との組み合せであっても良い。
【0033】
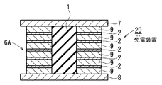
また、本発明のダンパー材料1は、図4に示す如く、板状の硬質材2と交互に積層した積層構造体5とし、上下にフランジ7,8を取り付けたダンパー10Aとして用いることもできる。このダンパー10Aは、一般ゴムと硬質板とを交互に積層してなる免震ゴムと併用し、免震装置として建物と基礎との間に配置することができる。
【0034】
更に、図5に示す如く、硬質材2と一般ゴム9との積層構造体6Aの中心部をくり抜き、この部分に本発明のダンパー材料1を充填し、上下にフランジ7,8を取り付けた免震装置20としても有効に使用することができる。この免震装置20を一般ゴムと硬質材とを交互に積層してなる免震ゴムと併用して建物と基礎との間に配置することもできる。
【0035】
なお、硬質材2としては、特に制限されないが、例えば、金属、セラミックス、ガラス、FRP、プラスチックス、ポリウレタン、高硬度ゴム、木材、岩石、紙、革等を用いることができる。
【0036】
図1〜5は、本発明のダンパー材料の適用例にすぎず、本発明のダンパー材料は、その剪断変形時のエネルギー吸収能力を原理的に利用するものであれば、どのような形態の免震装置にも有効に適用することができる。
【0037】
【実施例】
以下に実施例及び比較例を挙げて本発明をより具体的に説明する。
【0038】
なお、以下の実施例及び比較例で用いた材料は次の通りである。
[高硬度プラスチックスA]
PET:ポリエチレンテレフタレート
(引張弾性率硬度281〜422kgf・mm−2)
ナイロン:ポリアミド(ナイロン6)
(引張弾性率硬度267kgf・mm−2)
PBT:ポリブチレンテレフタレート
(引張弾性率硬度197kgf・mm−2)
PEN:ポリエチレンナフタレート
(引張弾性率硬度281〜422kgf・mm−2)
【0039】
[低硬度プラスチックスB]
ポリエチレン(引張弾性率硬度17.6〜28.8kgf・mm−2)
ポリブテン(引張弾性率硬度21〜28kgf・mm−2)
【0040】
[相容化剤]
相容化剤I:スチレン−エチレン−プロピレンブロック共重合体
相容化剤II:無水マレイン酸変性のスチレン−エチレン−プロピレン
ブロック共重合体
【0041】
実施例1〜4
高硬度プラスチックスA、低硬度プラスチックスB及び相容化剤として表1に示すものを表1に示す割合で用い(ただし、実施例3,4では相容化剤使用せず。)、これらを2軸混練機により混練した後、射出成形により直径10mm×長さ50mmの丸棒形状の試験片をそれぞれ作製し、この試験片について下記剪断変形試験を行い、結果を表1に示した。
【0042】
なお、表1には、低硬度プラスチックスBによる島相の形状と、最大径及び体積の平均値を示した。
【0043】
[剪断変形試験]
図6に示す如く、試験片に対して±10mmの繰り返し変形を10回行ったときの破損の有無を調べた。
【0044】
比較例1〜6
高硬度プラスチックスAと低硬度プラスチックスBとを併用せず、表1に示す高硬度プラスチックスA或いは低硬度プラスチックスBのみを用いて実施例1〜4と同様にしてそれぞれ試験片を作製し、同様に剪断変形試験を行って結果を表1に示した。
【0045】
【表1】
【0046】
表1より本発明のダンパー材料は剪断変形試験による破損はなく、免震装置用ダンパー材料として十分な高減衰性能を有することが明らかである。
【0047】
【発明の効果】
以上詳述した通り、本発明によれば、鉛代替のダンパー材料として、取り扱い性に優れたダンパー材料であって、制振効果に優れると共に制振性能が外部環境に左右されず、制振性能の安定性に優れる免震装置用ダンパー材料が提供される。
【図面の簡単な説明】
【図1】本発明のダンパー材料を用いた制振ユニットの一例を示す断面図である。
【図2】図1の制振ユニットの斜視図である。
【図3】図1の制振ユニットを用いたダンパーの断面図である。
【図4】本発明のダンパー材料を用いたダンパーの一例を示す断面図である。
【図5】本発明のダンパー材料を用いた免震装置の一例を示す断面図である。
【図6】実施例及び比較例における剪断変形試験方法を示す斜視図である。
【符号の説明】
1 ダンパー材料
2 硬質材
3 制振ユニット
9 一般ゴム
10 ダンパー
20 免震装置
Claims (10)
- 硬質プラスチックスAよりなる海相と、この海相内に分散する、該硬質プラスチックスAよりも低硬度のプラスチックスBよりなる島相とを有する海島構造を持つ免震装置用ダンパー材料であって、プラスチックスAがポリエチレンテレフタレートであり、プラスチックスBがポリエチレンであることを特徴とする免震装置用ダンパー材料。
- 硬質プラスチックスAよりなる海相と、この海相内に分散する、該硬質プラスチックスAよりも低硬度のプラスチックスBよりなる島相とを有する海島構造を持つ免震装置用ダンパー材料であって、プラスチックスAがポリアミドであり、プラスチックスBがポリエチレンであることを特徴とする免震装置用ダンパー材料。
- 硬質プラスチックスAよりなる海相と、この海相内に分散する、該硬質プラスチックスAよりも低硬度のプラスチックスBよりなる島相とを有する海島構造を持つ免震装置用ダンパー材料であって、プラスチックスAがポリブチレンテレフタレートであり、プラスチックスBがポリブテンであることを特徴とする免震装置用ダンパー材料。
- 硬質プラスチックスAよりなる海相と、この海相内に分散する、該硬質プラスチックスAよりも低硬度のプラスチックスBよりなる島相とを有する海島構造を持つ免震装置用ダンパー材料であって、プラスチックスAがポリエチレンナフタレートであり、プラスチックスBがポリエチレンであることを特徴とする免震装置用ダンパー材料。
- 請求項1ないし4のいずれか1項において、更に、プラスチックスAとプラスチックスBとの相容化剤を含むことを特徴とする免震装置用ダンパー材料。
- 請求項1ないし5のいずれか1項において、プラスチックスAの含有量が10〜90体積%で、プラスチックスBの含有量が90〜10体積%であることを特徴とする免震装置用ダンパー材料。
- 請求項1ないし6のいずれか1項において、該島相の最大径の平均値が0.1〜100μmであることを特徴とする免震装置用ダンパー材料。
- 請求項1ないし7のいずれか1項において、プラスチックスAの引張弾性率硬度が120kgf・mm−2であり、プラスチックスBの引張弾性率硬度が10〜120kgf・mm−2であることを特徴とする免震装置用ダンパー材料。
- 請求項1において、相容化剤としてスチレン−エチレン−プロピレンブロック共重合体を含むことを特徴とする免震装置用ダンパー材料。
- 請求項2において、相容化剤として無水マレイン酸変性のスチレン−エチレン−プロピレンブロック共重合体を含むことを特徴とする免震装置用ダンパー材料。
Priority Applications (1)
| Application Number | Priority Date | Filing Date | Title |
|---|---|---|---|
| JP2003173697A JP4360133B2 (ja) | 2003-06-18 | 2003-06-18 | 免震装置用ダンパー材料 |
Applications Claiming Priority (1)
| Application Number | Priority Date | Filing Date | Title |
|---|---|---|---|
| JP2003173697A JP4360133B2 (ja) | 2003-06-18 | 2003-06-18 | 免震装置用ダンパー材料 |
Publications (2)
| Publication Number | Publication Date |
|---|---|
| JP2005009558A JP2005009558A (ja) | 2005-01-13 |
| JP4360133B2 true JP4360133B2 (ja) | 2009-11-11 |
Family
ID=34097451
Family Applications (1)
| Application Number | Title | Priority Date | Filing Date |
|---|---|---|---|
| JP2003173697A Expired - Fee Related JP4360133B2 (ja) | 2003-06-18 | 2003-06-18 | 免震装置用ダンパー材料 |
Country Status (1)
| Country | Link |
|---|---|
| JP (1) | JP4360133B2 (ja) |
Families Citing this family (3)
| Publication number | Priority date | Publication date | Assignee | Title |
|---|---|---|---|---|
| JP2005030585A (ja) * | 2003-06-18 | 2005-02-03 | Bridgestone Corp | 建築物用ダンパー材料及び建築物用ダンパー |
| CN100455842C (zh) * | 2005-11-10 | 2009-01-28 | 太原科技大学 | 粘弹性减振器 |
| JP6693698B2 (ja) * | 2014-11-28 | 2020-05-13 | オイレス工業株式会社 | 免震装置 |
-
2003
- 2003-06-18 JP JP2003173697A patent/JP4360133B2/ja not_active Expired - Fee Related
Also Published As
| Publication number | Publication date |
|---|---|
| JP2005009558A (ja) | 2005-01-13 |
Similar Documents
| Publication | Publication Date | Title |
|---|---|---|
| JP5113672B2 (ja) | 転倒防止が施された墓石もしくは石碑 | |
| WO1997042844A1 (en) | Energy conversion composition | |
| JP2615639B2 (ja) | 免震構造体 | |
| JP2855605B2 (ja) | 免震装置 | |
| JP2008121799A (ja) | 免震構造体 | |
| JP4360133B2 (ja) | 免震装置用ダンパー材料 | |
| JPH01190847A (ja) | 免震ゴム | |
| JP2832983B2 (ja) | ダンパー | |
| JP2615626B2 (ja) | 免震構造体 | |
| JPH011843A (ja) | 免震構造体 | |
| JPH09177370A (ja) | 免震構造体 | |
| JP2005248076A (ja) | 高分子組成物及びその成形品 | |
| JP2004211745A (ja) | 高減衰支承装置 | |
| JP2006045975A (ja) | ダンパー | |
| JP2658024B2 (ja) | 免震装置 | |
| JPH0729395B2 (ja) | 免震構造体 | |
| JP2001200103A (ja) | 建築物振動減衰用粘弾性体 | |
| KR102133592B1 (ko) | 저경도 및 고탄성을 가지는 발포체 조성물 | |
| JP2005030585A (ja) | 建築物用ダンパー材料及び建築物用ダンパー | |
| JPH11201231A (ja) | 免震構造体及びその製造方法 | |
| JPH05262918A (ja) | 振動エネルギー吸収能に優れる加硫ゴム組成物 | |
| JP2832986B2 (ja) | 建築用制振材 | |
| JP3314716B2 (ja) | 建築用制振装置 | |
| JP2004035648A (ja) | 建築用振動減衰エラストマー組成物 | |
| JP2007308939A (ja) | 制震構造 |
Legal Events
| Date | Code | Title | Description |
|---|---|---|---|
| A621 | Written request for application examination |
Free format text: JAPANESE INTERMEDIATE CODE: A621 Effective date: 20060412 |
|
| A977 | Report on retrieval |
Free format text: JAPANESE INTERMEDIATE CODE: A971007 Effective date: 20080724 |
|
| A131 | Notification of reasons for refusal |
Free format text: JAPANESE INTERMEDIATE CODE: A131 Effective date: 20090106 |
|
| A521 | Written amendment |
Free format text: JAPANESE INTERMEDIATE CODE: A523 Effective date: 20090303 |
|
| A131 | Notification of reasons for refusal |
Free format text: JAPANESE INTERMEDIATE CODE: A131 Effective date: 20090324 |
|
| A521 | Written amendment |
Free format text: JAPANESE INTERMEDIATE CODE: A523 Effective date: 20090416 |
|
| TRDD | Decision of grant or rejection written | ||
| A01 | Written decision to grant a patent or to grant a registration (utility model) |
Free format text: JAPANESE INTERMEDIATE CODE: A01 Effective date: 20090721 |
|
| A01 | Written decision to grant a patent or to grant a registration (utility model) |
Free format text: JAPANESE INTERMEDIATE CODE: A01 |
|
| A61 | First payment of annual fees (during grant procedure) |
Free format text: JAPANESE INTERMEDIATE CODE: A61 Effective date: 20090803 |
|
| R150 | Certificate of patent or registration of utility model |
Free format text: JAPANESE INTERMEDIATE CODE: R150 |
|
| FPAY | Renewal fee payment (event date is renewal date of database) |
Free format text: PAYMENT UNTIL: 20120821 Year of fee payment: 3 |
|
| FPAY | Renewal fee payment (event date is renewal date of database) |
Free format text: PAYMENT UNTIL: 20120821 Year of fee payment: 3 |
|
| FPAY | Renewal fee payment (event date is renewal date of database) |
Free format text: PAYMENT UNTIL: 20130821 Year of fee payment: 4 |
|
| LAPS | Cancellation because of no payment of annual fees |
