JP4348317B2 - グロープラグ - Google Patents
グロープラグ Download PDFInfo
- Publication number
- JP4348317B2 JP4348317B2 JP2005158389A JP2005158389A JP4348317B2 JP 4348317 B2 JP4348317 B2 JP 4348317B2 JP 2005158389 A JP2005158389 A JP 2005158389A JP 2005158389 A JP2005158389 A JP 2005158389A JP 4348317 B2 JP4348317 B2 JP 4348317B2
- Authority
- JP
- Japan
- Prior art keywords
- ceramic heater
- electrode
- glow plug
- sectional area
- base
- Prior art date
- Legal status (The legal status is an assumption and is not a legal conclusion. Google has not performed a legal analysis and makes no representation as to the accuracy of the status listed.)
- Expired - Lifetime
Links
Images
Landscapes
- Resistance Heating (AREA)
Description
前記セラミックヒータは、絶縁体からなる柱状の基体と、該基体の一端側内部に埋設された抵抗体と、該抵抗体と接続された状態で該基体に埋設されつつ該基体の他端側に延びる一対の通電部と、各該通電部と接続された状態で、互いに軸方向に位置を違えて該基体の他端側の側面に露出する電極部とを有し、
先端側の該電極部は前記金属外筒を介して前記主体金具と電気的に接続されたグロープラグにおいて、
前記両通電部は前記両電極部と同一材料からなり、該電極部の軸方向の断面積は該通電部の軸直角方向の断面積以上であり、
先端側の該電極部は、前記セラミックヒータの先端部をディーゼルエンジンの燃焼室内に位置決めするテーパ面よりも後端側に位置していることを特徴とする。
(数1)
R=ρ・l/a
と表されることから、電極部の電気抵抗値が通電部の電気抵抗値以下となる。このため、電極部は、通電部に比べて、昇温し難くなる。このため、外気の酸素と触れ得る電極部は酸化が抑制される。このため、電極部の膨張が抑制されるため、セラミックヒータの抗折強度の低下を抑制することが可能となる。
基体用成形体内に該通電用成形体が収容された複合成形体を焼成し、該基体用成形体により、絶縁体からなる柱状の基体が構成され、該通電用成形体により、該基体の一端側内部に埋設された抵抗体と、該抵抗体と接続された状態で該基体に埋設されつつ該基体の他端側に延びる一対の通電部と、各該通電部と接続された状態で該基体の他端側表面に露出する電極部とが構成され、該基体、該抵抗体、両該通電部及び両該電極部を有するセラミックヒータを得る焼成工程とを備え、
該通電用成形体は、焼成後に該抵抗体となる第1成形体と、該第1成形体と一体をなし、焼成後に両該通電部及び両該電極部となる第2成形体とからなり、
該第2成形体は、焼成後に両該通電部となる両棒状部と、各該棒状部と一体をなし、焼成後に両該電極部となる両突出部とからなるセラミックヒータの製造方法において、
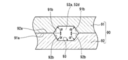
前記通電用成形体を成形する成形型は、互いに内部に該通電用成形体を成形可能なキャビティを有し、互いの合わせ面により型開き可能な第1型及び第2型からなり、
該第1型及び該第2型における該キャビティのうちの前記両突出部を成形する部分には、対をなして該合わせ面から離れるに従って互いに近づく傾斜面が形成されていることを特徴とする。
試験例1は、長時間使用した場合でもセラミックヒータが高い耐久性を発揮することができるかどうかを評価するものである。まず、図1及び図2に示すように、実施例1−1〜1−3及び比較例1−1、1−2のセラミックヒータ1を用いたグロープラグ50を説明する。このグロープラグ50は、筒状の主体金具4と、この主体金具4の先端部内側に金属外筒3を介して配置され、先端に発熱部をもつ柱状のセラミックヒータ1と、主体金具4の後端側に配置された中軸6と、中軸6とセラミックヒータ1の後端部とを接続する接続金具17及び金属リング18とを備えたものである。
各セラミックヒータ1が折れやすいか折れにくいかを判断する方法として、JIS R 1601に準じた下記の抗折強度測定方法を実施した。各セラミックヒータ1単体を図6に示す通り、電極部12dを跨ぐ支持点A、B(スパン間12mm)で支持し、クロスヘッド移動速度0.5mm/分で負荷点Pに荷重を付加した。測定時の雰囲気温度は常温である。このように荷重を付加する場所を決定した理由は、抗折強度に対する本発明の効果を明確にするために電極部12a、12dが埋設された位置に対応する基体13の表面が最も適しているからである。
各セラミックヒータ1と金属外筒3又は金属リング18との接続部分の耐久性を判断するため、各セラミックヒータ1に対して、通電状態と不通電状態とを繰り返す通電耐久試験を実施した。通電サイクルは、1分間通電状態とした後、1分間不通電状態とすることの繰り返しである。また、1分間通電状態においては、セラミックヒータ1の先端部分は1350°C程度に加熱される。
上記通電耐久試験時における電極部12a、12dの最高温度(°C)を測定した。
試験例2は、試験例1のセラミックヒータ1に関して、電極部12a、12dの材料を変化させた場合、セラミックヒータ1が十分な抗折強度を有し、製造時或いは組み付け等の作業時の折損等を抑制することができるかどうかを評価するものである。なお、通電部12b、12cは、電極部12a、12dと同一材料からなる。試験例2は、実施例2−1〜2−8及び比較例2−1〜2−9で構成される。
4…主体金具
6…中軸
11…抵抗体
12b、12c…通電部
12a、12d…電極部
13…基体
30…複合成形体
36、37…基体用成形体(36…第2基体用成形体、37…第1基体用成形体)
40…通電用成形体
50…グロープラグ
51…第1成形体
52…第2成形体
52a、52d…突出部
52b、52c…棒状部
90…成形型
91…第1型
92…第2型
91a、92a…合わせ面
91b、92b…傾斜面
93…キャビティ
S1…電極部の軸方向の断面積
S2…通電部の軸直角方向の断面積
α…傾斜面の母線の合わせ面に対する傾斜角
Claims (5)
- 筒状の主体金具と、該主体金具の先端部内側に配置され、先端に発熱部をもつ柱状のセラミックヒータと、該主体金具と該セラミックヒータとの間に設けられた金属外筒とを備え、
前記セラミックヒータは、絶縁体からなる柱状の基体と、該基体の一端側内部に埋設された抵抗体と、該抵抗体と接続された状態で該基体に埋設されつつ該基体の他端側に延びる一対の通電部と、各該通電部と接続された状態で、互いに軸方向に位置を違えて該基体の他端側の側面に露出する電極部とを有し、
先端側の該電極部は前記金属外筒を介して前記主体金具と電気的に接続されたグロープラグにおいて、
前記両通電部は前記両電極部と同一材料からなり、該電極部の軸方向の断面積は該通電部の軸直角方向の断面積以上であり、
先端側の該電極部は、前記セラミックヒータの先端部をディーゼルエンジンの燃焼室内に位置決めするテーパ面よりも後端側に位置していることを特徴とするグロープラグ。 - 前記通電部は前記金属外筒よりも先端側に突出していることを特徴とする請求項1記載のグロープラグ。
- 前記電極部の軸方向の断面積は前記通電部の軸直角方向の断面積よりも1.5倍以上大きいことを特徴とする請求項1又は2記載のグロープラグ。
- 前記基体は窒化珪素質からなり、各前記電極部は窒化珪素質の絶縁材料が30〜35質量%及びWCが65〜70質量%からなる焼結体であり、該絶縁材料100質量%中にはSiO2及びRE2O3(REは希土類元素)が10〜20質量%含まれていることを特徴とする請求項1乃至3のいずれか1項記載のグロープラグ。
- 前記基体は直径が3.5mm以下であることを特徴とする請求項1乃至4のいずれか1項記載のグロープラグ。
Priority Applications (1)
| Application Number | Priority Date | Filing Date | Title |
|---|---|---|---|
| JP2005158389A JP4348317B2 (ja) | 2004-06-29 | 2005-05-31 | グロープラグ |
Applications Claiming Priority (3)
| Application Number | Priority Date | Filing Date | Title |
|---|---|---|---|
| JP2004191027 | 2004-06-29 | ||
| JP2004191025 | 2004-06-29 | ||
| JP2005158389A JP4348317B2 (ja) | 2004-06-29 | 2005-05-31 | グロープラグ |
Publications (2)
| Publication Number | Publication Date |
|---|---|
| JP2006049279A JP2006049279A (ja) | 2006-02-16 |
| JP4348317B2 true JP4348317B2 (ja) | 2009-10-21 |
Family
ID=36027554
Family Applications (1)
| Application Number | Title | Priority Date | Filing Date |
|---|---|---|---|
| JP2005158389A Expired - Lifetime JP4348317B2 (ja) | 2004-06-29 | 2005-05-31 | グロープラグ |
Country Status (1)
| Country | Link |
|---|---|
| JP (1) | JP4348317B2 (ja) |
Families Citing this family (18)
| Publication number | Priority date | Publication date | Assignee | Title |
|---|---|---|---|---|
| JP4562029B2 (ja) * | 2004-10-29 | 2010-10-13 | 日本特殊陶業株式会社 | セラミックヒータ及びその製造方法並びにグロープラグ |
| EP1998595B1 (en) * | 2006-03-21 | 2016-09-14 | NGK Spark Plug Co., Ltd. | Ceramic heater and glow plug |
| EP1998596B1 (en) * | 2006-03-21 | 2017-05-10 | NGK Spark Plug Co., Ltd. | Ceramic heater and glow plug |
| JP4700573B2 (ja) * | 2006-07-21 | 2011-06-15 | 日本特殊陶業株式会社 | セラミックヒータ製造方法 |
| US20100288747A1 (en) * | 2007-10-29 | 2010-11-18 | Kyocera Corporation | Ceramic heater and glow plug provided therewith |
| DE102007053807A1 (de) * | 2007-11-12 | 2009-05-14 | Robert Bosch Gmbh | Keramische Glühstiftkerze mit verringertem Heizerabstand |
| WO2009096477A1 (ja) | 2008-01-29 | 2009-08-06 | Kyocera Corporation | セラミックヒータおよびグロープラグ |
| EP2257119B1 (en) * | 2008-02-20 | 2018-04-04 | Ngk Spark Plug Co., Ltd. | Ceramic heater and glow plug |
| EP2623866B1 (en) * | 2010-09-27 | 2018-06-13 | Kyocera Corporation | Heater and glow plug provided with same |
| EP2667686B1 (en) * | 2011-01-20 | 2019-03-13 | Kyocera Corporation | Heater and glow plug provided with same |
| JP5777406B2 (ja) * | 2011-05-28 | 2015-09-09 | 京セラ株式会社 | ヒータおよびこれを備えたグロープラグ |
| JP5751968B2 (ja) * | 2011-07-25 | 2015-07-22 | 京セラ株式会社 | ヒータおよびこれを備えたグロープラグ |
| US9400109B2 (en) | 2011-08-29 | 2016-07-26 | Kyocera Corporation | Heater and glow plug including the same |
| JP5632958B2 (ja) * | 2011-09-27 | 2014-11-26 | 日本特殊陶業株式会社 | セラミックグロープラグ |
| WO2013047654A1 (ja) * | 2011-09-29 | 2013-04-04 | 京セラ株式会社 | ヒータおよびこれを備えたグロープラグ |
| EP2869666B1 (en) | 2012-06-29 | 2017-03-29 | Kyocera Corporation | Heater and glow plug equipped with same |
| DE102013212260A1 (de) * | 2013-06-26 | 2014-12-31 | Robert Bosch Gmbh | Glühstiftkerze |
| JPWO2019004286A1 (ja) * | 2017-06-28 | 2019-12-12 | 京セラ株式会社 | ヒータ |
-
2005
- 2005-05-31 JP JP2005158389A patent/JP4348317B2/ja not_active Expired - Lifetime
Also Published As
| Publication number | Publication date |
|---|---|
| JP2006049279A (ja) | 2006-02-16 |
Similar Documents
| Publication | Publication Date | Title |
|---|---|---|
| JP4348317B2 (ja) | グロープラグ | |
| JP4294232B2 (ja) | セラミックヒータ及びそれを用いたグロープラグ | |
| EP1612486B1 (en) | Glow plug | |
| EP1255076B1 (en) | Ceramic heater, glow plug using the same, and method for manufacturing the same | |
| JP3924193B2 (ja) | セラミックヒータ、それを用いたグロープラグ及びセラミックヒータの製造方法 | |
| JP4851570B2 (ja) | グロープラグ | |
| EP2704519B1 (en) | Heater and glow plug comprising same | |
| JP5342694B2 (ja) | セラミックヒータ素子、セラミックヒータ、およびグロープラグ | |
| JP5438961B2 (ja) | セラミックヒータ及びグロープラグ | |
| EP2600688A1 (en) | Heater and glow plug provided with same | |
| JP4546756B2 (ja) | セラミックヒータおよびグロープラグ | |
| JP2006024394A (ja) | セラミックヒータおよびグロープラグ | |
| JP5280877B2 (ja) | セラミックヒータ及びグロープラグ | |
| EP2914057B1 (en) | Heater and glow plug equipped with same | |
| JP5634282B2 (ja) | セラミックヒータ及びグロープラグ | |
| JP3799195B2 (ja) | セラミックヒータ | |
| JP2008235034A (ja) | セラミックヒータ及びグロープラグ | |
| JP4699816B2 (ja) | セラミックヒータの製造方法及びグロープラグ | |
| JP3115254B2 (ja) | セラミックヒータ | |
| JP3819705B2 (ja) | セラミックヒータ及びグロープラグ | |
| JP2018010717A (ja) | セラミックヒータおよびグロープラグ | |
| JP5751968B2 (ja) | ヒータおよびこれを備えたグロープラグ | |
| JP2001132949A (ja) | セラミックヒータ及びグロープラグ | |
| JP2002124363A (ja) | セラミックヒータ |
Legal Events
| Date | Code | Title | Description |
|---|---|---|---|
| A621 | Written request for application examination |
Free format text: JAPANESE INTERMEDIATE CODE: A621 Effective date: 20070606 |
|
| A977 | Report on retrieval |
Free format text: JAPANESE INTERMEDIATE CODE: A971007 Effective date: 20081030 |
|
| A131 | Notification of reasons for refusal |
Free format text: JAPANESE INTERMEDIATE CODE: A131 Effective date: 20090317 |
|
| A521 | Request for written amendment filed |
Free format text: JAPANESE INTERMEDIATE CODE: A523 Effective date: 20090513 |
|
| TRDD | Decision of grant or rejection written | ||
| A01 | Written decision to grant a patent or to grant a registration (utility model) |
Free format text: JAPANESE INTERMEDIATE CODE: A01 Effective date: 20090707 |
|
| A01 | Written decision to grant a patent or to grant a registration (utility model) |
Free format text: JAPANESE INTERMEDIATE CODE: A01 |
|
| A61 | First payment of annual fees (during grant procedure) |
Free format text: JAPANESE INTERMEDIATE CODE: A61 Effective date: 20090717 |
|
| R150 | Certificate of patent or registration of utility model |
Free format text: JAPANESE INTERMEDIATE CODE: R150 Ref document number: 4348317 Country of ref document: JP |
|
| FPAY | Renewal fee payment (event date is renewal date of database) |
Free format text: PAYMENT UNTIL: 20120724 Year of fee payment: 3 |
|
| FPAY | Renewal fee payment (event date is renewal date of database) |
Free format text: PAYMENT UNTIL: 20120724 Year of fee payment: 3 |
|
| FPAY | Renewal fee payment (event date is renewal date of database) |
Free format text: PAYMENT UNTIL: 20120724 Year of fee payment: 3 |
|
| FPAY | Renewal fee payment (event date is renewal date of database) |
Free format text: PAYMENT UNTIL: 20120724 Year of fee payment: 3 |
|
| FPAY | Renewal fee payment (event date is renewal date of database) |
Free format text: PAYMENT UNTIL: 20130724 Year of fee payment: 4 |
|
| R250 | Receipt of annual fees |
Free format text: JAPANESE INTERMEDIATE CODE: R250 |
|
| R250 | Receipt of annual fees |
Free format text: JAPANESE INTERMEDIATE CODE: R250 |
|
| R250 | Receipt of annual fees |
Free format text: JAPANESE INTERMEDIATE CODE: R250 |
|
| R250 | Receipt of annual fees |
Free format text: JAPANESE INTERMEDIATE CODE: R250 |
|
| R250 | Receipt of annual fees |
Free format text: JAPANESE INTERMEDIATE CODE: R250 |
|
| R250 | Receipt of annual fees |
Free format text: JAPANESE INTERMEDIATE CODE: R250 |
|
| R250 | Receipt of annual fees |
Free format text: JAPANESE INTERMEDIATE CODE: R250 |
|
| R250 | Receipt of annual fees |
Free format text: JAPANESE INTERMEDIATE CODE: R250 |
|
| R250 | Receipt of annual fees |
Free format text: JAPANESE INTERMEDIATE CODE: R250 |
|
| R250 | Receipt of annual fees |
Free format text: JAPANESE INTERMEDIATE CODE: R250 |
|
| R250 | Receipt of annual fees |
Free format text: JAPANESE INTERMEDIATE CODE: R250 |
|
| S531 | Written request for registration of change of domicile |
Free format text: JAPANESE INTERMEDIATE CODE: R313531 |
|
| R350 | Written notification of registration of transfer |
Free format text: JAPANESE INTERMEDIATE CODE: R350 |
|
| R250 | Receipt of annual fees |
Free format text: JAPANESE INTERMEDIATE CODE: R250 |
|
| R250 | Receipt of annual fees |
Free format text: JAPANESE INTERMEDIATE CODE: R250 |
|
| EXPY | Cancellation because of completion of term |
