JP4339049B2 - 排ガス処理方法及び排ガス処理装置 - Google Patents

排ガス処理方法及び排ガス処理装置 Download PDF

Info

Publication number
JP4339049B2
JP4339049B2 JP2003306307A JP2003306307A JP4339049B2 JP 4339049 B2 JP4339049 B2 JP 4339049B2 JP 2003306307 A JP2003306307 A JP 2003306307A JP 2003306307 A JP2003306307 A JP 2003306307A JP 4339049 B2 JP4339049 B2 JP 4339049B2
Authority
JP
Japan
Prior art keywords
exhaust gas
voltage electrode
low
concentration
low voltage
Prior art date
Legal status (The legal status is an assumption and is not a legal conclusion. Google has not performed a legal analysis and makes no representation as to the accuracy of the status listed.)
Expired - Fee Related
Application number
JP2003306307A
Other languages
English (en)
Other versions
JP2005076497A5 (ja
JP2005076497A (ja
Inventor
健太 内藤
暁 千林
純一 河西
彰 水野
Current Assignee (The listed assignees may be inaccurate. Google has not performed a legal analysis and makes no representation or warranty as to the accuracy of the list.)
Isuzu Motors Ltd
Nissin Electric Co Ltd
Original Assignee
Isuzu Motors Ltd
Nissin Electric Co Ltd
Priority date (The priority date is an assumption and is not a legal conclusion. Google has not performed a legal analysis and makes no representation as to the accuracy of the date listed.)
Filing date
Publication date
Application filed by Isuzu Motors Ltd, Nissin Electric Co Ltd filed Critical Isuzu Motors Ltd
Priority to JP2003306307A priority Critical patent/JP4339049B2/ja
Priority to PCT/JP2004/012262 priority patent/WO2005021940A1/ja
Priority to EP04772218A priority patent/EP1669562A1/en
Priority to US10/569,841 priority patent/US20070000236A1/en
Publication of JP2005076497A publication Critical patent/JP2005076497A/ja
Publication of JP2005076497A5 publication Critical patent/JP2005076497A5/ja
Application granted granted Critical
Publication of JP4339049B2 publication Critical patent/JP4339049B2/ja
Anticipated expiration legal-status Critical
Expired - Fee Related legal-status Critical Current

Links

Images

Classifications

    • FMECHANICAL ENGINEERING; LIGHTING; HEATING; WEAPONS; BLASTING
    • F01MACHINES OR ENGINES IN GENERAL; ENGINE PLANTS IN GENERAL; STEAM ENGINES
    • F01NGAS-FLOW SILENCERS OR EXHAUST APPARATUS FOR MACHINES OR ENGINES IN GENERAL; GAS-FLOW SILENCERS OR EXHAUST APPARATUS FOR INTERNAL-COMBUSTION ENGINES
    • F01N3/00Exhaust or silencing apparatus having means for purifying, rendering innocuous, or otherwise treating exhaust
    • F01N3/02Exhaust or silencing apparatus having means for purifying, rendering innocuous, or otherwise treating exhaust for cooling, or for removing solid constituents of, exhaust
    • F01N3/021Exhaust or silencing apparatus having means for purifying, rendering innocuous, or otherwise treating exhaust for cooling, or for removing solid constituents of, exhaust by means of filters
    • BPERFORMING OPERATIONS; TRANSPORTING
    • B03SEPARATION OF SOLID MATERIALS USING LIQUIDS OR USING PNEUMATIC TABLES OR JIGS; MAGNETIC OR ELECTROSTATIC SEPARATION OF SOLID MATERIALS FROM SOLID MATERIALS OR FLUIDS; SEPARATION BY HIGH-VOLTAGE ELECTRIC FIELDS
    • B03CMAGNETIC OR ELECTROSTATIC SEPARATION OF SOLID MATERIALS FROM SOLID MATERIALS OR FLUIDS; SEPARATION BY HIGH-VOLTAGE ELECTRIC FIELDS
    • B03C3/00Separating dispersed particles from gases or vapour, e.g. air, by electrostatic effect
    • B03C3/02Plant or installations having external electricity supply
    • B03C3/04Plant or installations having external electricity supply dry type
    • B03C3/06Plant or installations having external electricity supply dry type characterised by presence of stationary tube electrodes
    • BPERFORMING OPERATIONS; TRANSPORTING
    • B03SEPARATION OF SOLID MATERIALS USING LIQUIDS OR USING PNEUMATIC TABLES OR JIGS; MAGNETIC OR ELECTROSTATIC SEPARATION OF SOLID MATERIALS FROM SOLID MATERIALS OR FLUIDS; SEPARATION BY HIGH-VOLTAGE ELECTRIC FIELDS
    • B03CMAGNETIC OR ELECTROSTATIC SEPARATION OF SOLID MATERIALS FROM SOLID MATERIALS OR FLUIDS; SEPARATION BY HIGH-VOLTAGE ELECTRIC FIELDS
    • B03C3/00Separating dispersed particles from gases or vapour, e.g. air, by electrostatic effect
    • B03C3/02Plant or installations having external electricity supply
    • B03C3/04Plant or installations having external electricity supply dry type
    • B03C3/14Plant or installations having external electricity supply dry type characterised by the additional use of mechanical effects, e.g. gravity
    • B03C3/155Filtration
    • BPERFORMING OPERATIONS; TRANSPORTING
    • B03SEPARATION OF SOLID MATERIALS USING LIQUIDS OR USING PNEUMATIC TABLES OR JIGS; MAGNETIC OR ELECTROSTATIC SEPARATION OF SOLID MATERIALS FROM SOLID MATERIALS OR FLUIDS; SEPARATION BY HIGH-VOLTAGE ELECTRIC FIELDS
    • B03CMAGNETIC OR ELECTROSTATIC SEPARATION OF SOLID MATERIALS FROM SOLID MATERIALS OR FLUIDS; SEPARATION BY HIGH-VOLTAGE ELECTRIC FIELDS
    • B03C3/00Separating dispersed particles from gases or vapour, e.g. air, by electrostatic effect
    • B03C3/34Constructional details or accessories or operation thereof
    • B03C3/40Electrode constructions
    • B03C3/41Ionising-electrodes
    • BPERFORMING OPERATIONS; TRANSPORTING
    • B03SEPARATION OF SOLID MATERIALS USING LIQUIDS OR USING PNEUMATIC TABLES OR JIGS; MAGNETIC OR ELECTROSTATIC SEPARATION OF SOLID MATERIALS FROM SOLID MATERIALS OR FLUIDS; SEPARATION BY HIGH-VOLTAGE ELECTRIC FIELDS
    • B03CMAGNETIC OR ELECTROSTATIC SEPARATION OF SOLID MATERIALS FROM SOLID MATERIALS OR FLUIDS; SEPARATION BY HIGH-VOLTAGE ELECTRIC FIELDS
    • B03C3/00Separating dispersed particles from gases or vapour, e.g. air, by electrostatic effect
    • B03C3/34Constructional details or accessories or operation thereof
    • B03C3/40Electrode constructions
    • B03C3/45Collecting-electrodes
    • B03C3/49Collecting-electrodes tubular
    • BPERFORMING OPERATIONS; TRANSPORTING
    • B03SEPARATION OF SOLID MATERIALS USING LIQUIDS OR USING PNEUMATIC TABLES OR JIGS; MAGNETIC OR ELECTROSTATIC SEPARATION OF SOLID MATERIALS FROM SOLID MATERIALS OR FLUIDS; SEPARATION BY HIGH-VOLTAGE ELECTRIC FIELDS
    • B03CMAGNETIC OR ELECTROSTATIC SEPARATION OF SOLID MATERIALS FROM SOLID MATERIALS OR FLUIDS; SEPARATION BY HIGH-VOLTAGE ELECTRIC FIELDS
    • B03C3/00Separating dispersed particles from gases or vapour, e.g. air, by electrostatic effect
    • B03C3/34Constructional details or accessories or operation thereof
    • B03C3/40Electrode constructions
    • B03C3/45Collecting-electrodes
    • B03C3/51Catch- space electrodes, e.g. slotted-box form
    • BPERFORMING OPERATIONS; TRANSPORTING
    • B03SEPARATION OF SOLID MATERIALS USING LIQUIDS OR USING PNEUMATIC TABLES OR JIGS; MAGNETIC OR ELECTROSTATIC SEPARATION OF SOLID MATERIALS FROM SOLID MATERIALS OR FLUIDS; SEPARATION BY HIGH-VOLTAGE ELECTRIC FIELDS
    • B03CMAGNETIC OR ELECTROSTATIC SEPARATION OF SOLID MATERIALS FROM SOLID MATERIALS OR FLUIDS; SEPARATION BY HIGH-VOLTAGE ELECTRIC FIELDS
    • B03C3/00Separating dispersed particles from gases or vapour, e.g. air, by electrostatic effect
    • B03C3/34Constructional details or accessories or operation thereof
    • B03C3/40Electrode constructions
    • B03C3/60Use of special materials other than liquids
    • B03C3/62Use of special materials other than liquids ceramics
    • BPERFORMING OPERATIONS; TRANSPORTING
    • B03SEPARATION OF SOLID MATERIALS USING LIQUIDS OR USING PNEUMATIC TABLES OR JIGS; MAGNETIC OR ELECTROSTATIC SEPARATION OF SOLID MATERIALS FROM SOLID MATERIALS OR FLUIDS; SEPARATION BY HIGH-VOLTAGE ELECTRIC FIELDS
    • B03CMAGNETIC OR ELECTROSTATIC SEPARATION OF SOLID MATERIALS FROM SOLID MATERIALS OR FLUIDS; SEPARATION BY HIGH-VOLTAGE ELECTRIC FIELDS
    • B03C3/00Separating dispersed particles from gases or vapour, e.g. air, by electrostatic effect
    • B03C3/34Constructional details or accessories or operation thereof
    • B03C3/40Electrode constructions
    • B03C3/60Use of special materials other than liquids
    • B03C3/64Use of special materials other than liquids synthetic resins
    • FMECHANICAL ENGINEERING; LIGHTING; HEATING; WEAPONS; BLASTING
    • F01MACHINES OR ENGINES IN GENERAL; ENGINE PLANTS IN GENERAL; STEAM ENGINES
    • F01NGAS-FLOW SILENCERS OR EXHAUST APPARATUS FOR MACHINES OR ENGINES IN GENERAL; GAS-FLOW SILENCERS OR EXHAUST APPARATUS FOR INTERNAL-COMBUSTION ENGINES
    • F01N3/00Exhaust or silencing apparatus having means for purifying, rendering innocuous, or otherwise treating exhaust
    • F01N3/01Exhaust or silencing apparatus having means for purifying, rendering innocuous, or otherwise treating exhaust by means of electric or electrostatic separators
    • BPERFORMING OPERATIONS; TRANSPORTING
    • B03SEPARATION OF SOLID MATERIALS USING LIQUIDS OR USING PNEUMATIC TABLES OR JIGS; MAGNETIC OR ELECTROSTATIC SEPARATION OF SOLID MATERIALS FROM SOLID MATERIALS OR FLUIDS; SEPARATION BY HIGH-VOLTAGE ELECTRIC FIELDS
    • B03CMAGNETIC OR ELECTROSTATIC SEPARATION OF SOLID MATERIALS FROM SOLID MATERIALS OR FLUIDS; SEPARATION BY HIGH-VOLTAGE ELECTRIC FIELDS
    • B03C2201/00Details of magnetic or electrostatic separation
    • B03C2201/04Ionising electrode being a wire
    • BPERFORMING OPERATIONS; TRANSPORTING
    • B03SEPARATION OF SOLID MATERIALS USING LIQUIDS OR USING PNEUMATIC TABLES OR JIGS; MAGNETIC OR ELECTROSTATIC SEPARATION OF SOLID MATERIALS FROM SOLID MATERIALS OR FLUIDS; SEPARATION BY HIGH-VOLTAGE ELECTRIC FIELDS
    • B03CMAGNETIC OR ELECTROSTATIC SEPARATION OF SOLID MATERIALS FROM SOLID MATERIALS OR FLUIDS; SEPARATION BY HIGH-VOLTAGE ELECTRIC FIELDS
    • B03C2201/00Details of magnetic or electrostatic separation
    • B03C2201/08Ionising electrode being a rod
    • BPERFORMING OPERATIONS; TRANSPORTING
    • B03SEPARATION OF SOLID MATERIALS USING LIQUIDS OR USING PNEUMATIC TABLES OR JIGS; MAGNETIC OR ELECTROSTATIC SEPARATION OF SOLID MATERIALS FROM SOLID MATERIALS OR FLUIDS; SEPARATION BY HIGH-VOLTAGE ELECTRIC FIELDS
    • B03CMAGNETIC OR ELECTROSTATIC SEPARATION OF SOLID MATERIALS FROM SOLID MATERIALS OR FLUIDS; SEPARATION BY HIGH-VOLTAGE ELECTRIC FIELDS
    • B03C2201/00Details of magnetic or electrostatic separation
    • B03C2201/12Cleaning the device by burning the trapped particles
    • BPERFORMING OPERATIONS; TRANSPORTING
    • B03SEPARATION OF SOLID MATERIALS USING LIQUIDS OR USING PNEUMATIC TABLES OR JIGS; MAGNETIC OR ELECTROSTATIC SEPARATION OF SOLID MATERIALS FROM SOLID MATERIALS OR FLUIDS; SEPARATION BY HIGH-VOLTAGE ELECTRIC FIELDS
    • B03CMAGNETIC OR ELECTROSTATIC SEPARATION OF SOLID MATERIALS FROM SOLID MATERIALS OR FLUIDS; SEPARATION BY HIGH-VOLTAGE ELECTRIC FIELDS
    • B03C2201/00Details of magnetic or electrostatic separation
    • B03C2201/30Details of magnetic or electrostatic separation for use in or with vehicles
    • YGENERAL TAGGING OF NEW TECHNOLOGICAL DEVELOPMENTS; GENERAL TAGGING OF CROSS-SECTIONAL TECHNOLOGIES SPANNING OVER SEVERAL SECTIONS OF THE IPC; TECHNICAL SUBJECTS COVERED BY FORMER USPC CROSS-REFERENCE ART COLLECTIONS [XRACs] AND DIGESTS
    • Y02TECHNOLOGIES OR APPLICATIONS FOR MITIGATION OR ADAPTATION AGAINST CLIMATE CHANGE
    • Y02TCLIMATE CHANGE MITIGATION TECHNOLOGIES RELATED TO TRANSPORTATION
    • Y02T10/00Road transport of goods or passengers
    • Y02T10/10Internal combustion engine [ICE] based vehicles
    • Y02T10/12Improving ICE efficiencies

Landscapes

  • Engineering & Computer Science (AREA)
  • Chemical & Material Sciences (AREA)
  • Combustion & Propulsion (AREA)
  • Mechanical Engineering (AREA)
  • General Engineering & Computer Science (AREA)
  • Ceramic Engineering (AREA)
  • Processes For Solid Components From Exhaust (AREA)
  • Electrostatic Separation (AREA)
  • Filtering Of Dispersed Particles In Gases (AREA)

Description

本発明は、コロナ放電を利用して排ガス中の浮遊微粒子物質を濃縮する排ガス処理方法及び排ガス処理装置に関する。
ディーゼルエンジンの排ガス中に含まれる浮遊微粒子物質(粒子状物質:パティキュレート・マター、以下PMという)の除去に、ディーゼルパティキュレートフィルタ(Diesel Particulate Filter :以下DPFという)と呼ばれるフィルタで捕集して、外部へ排出されるPMの量を低減する技術が開発されている。
一方、この大気汚染の原因となるPMにおいて、近年特に、PM2.5と呼ばれる粒子径2.5μm以下(特に直径数十nm)の超微粒子が公害対策上問題となってきている。この超微粒子は、現在自動車用エンジンとして多く採用されてきている直噴ガソリンエンジンにおいても排出されていると考えられ、この超微粒子を除去する技術の確立が強く求められている。
しかしながら、この超微粒子の捕集をDPFを用いた方法だけで行うとすると、フィルタの目を非常に細かくする必要が生じるため、大きな圧力損失無しに、この超微粒子を捕集することは非常に難かしいという問題がある。
そのため、これらの数十nmサイズの超微粒子を、大きな圧力損失が生じることなく、捕集する方法として電気集塵技術を利用することが考えられる。この電気集塵技術を利用する方法として、集塵電極となる金属円筒管中に張った金属細線で形成される高圧放電線に高電圧を印加して、工場排煙等の白煙やミスト状物質等の浮遊微粒子を静電吸着して除去する方法や装置が提案されている(例えば、特許文献1、特許文献2参照。)。
これらの電気集塵方法や電気集塵装置では、荷電部において排ガス等の気体中にコロナ放電を発生させて浮遊している微粒子物質を帯電し、集塵部において帯電した微粒子物質を静電気力(クーロン力)を利用して、低電圧(一般には接地電位)の面状電極である集塵電極に捕捉し、気体中から除去している。
また、内燃機関のPMを捕集する装置として、電気集塵装置を排気ガス通路内に設けると共に、集塵電極に電熱器を配設して、電熱器表面に付着捕集されたPMの捕集量を火花放電の発生頻度で検知し、この発生頻度に基づいて電熱器を所定時間作動して捕集されたPMを燃焼除去する装置が提案されている(例えば、特許文献3参照。)。
しかしながら、この電気集塵装置では、帯電した微粒子を静電気力を利用し、低電圧電位(一般には接地電位)にある容器壁面を集塵電極として該帯電粒子を捕捉するが、単純に容器壁面を集塵電極として利用して帯電粒子を捕集するような構成では、気体(排ガス)の量に対する集塵面積が比較的小さくなるため、捕集できる微粒子物質の量が小さくなり、また、集塵電極上への微粒子の堆積により比較的短時間(例えば、数分間)で浄化性能が低下してしまうという問題がある。
また、ディーゼルエンジン等の内燃機関の排ガス中のPMを捕集しようとする場合には、このPMは比較的抵抗率が低いため、再飛散現象が起き易いという問題がある。この再飛散したPMを捕捉するために、帯電部の下流側にフィルタを配置して、集塵面積の増大と再飛散粒子の捕捉を図ることが考えられるが、フィルタの捕集性能を良好に保ち、かつ、圧力損失の増大を防ごうとすると、フィルタに流入する排ガスの流速をある程度低く(例えば3m/s以下)する必要が生じ、フィルタの開口面積を大きくせざるを得ないため、装置をコンパクト化できないという問題が生じる。
登録実用新案第3019526号公報 特開平06−142551号公報 特開昭59−85415号公報
本発明の目的は、ディーゼルエンジンの排ガス等の浮遊微粒子物質を含む排ガスに対して、コロナ放電を利用して、浮遊微粒子物質の空間密度分布を制御し、相対的に微粒子物質濃度が高くなる領域と、相対的に微粒子物質の濃度が低くなる領域を形成せしめ、排ガス流を前者と後者に分ける排ガス処理方法及び排ガス処理装置を提供することにある。
上記目的を達成するための本発明の排ガス処理方法は、高電圧電極と、該高電圧電極に対向して配置され、かつ、筒体で形成された低電圧電極とを備え、該低電圧電極の少なくとも上流側部分の帯電部において、前記筒体の低電圧電極の中心付近に沿って長手方向に前記高電圧電極を配置した排ガス処理装置の排気ガス処理方法であって、対向電極間に排ガスを流通させ、放電部で該対向電極間に高電圧を印加して排ガス中にコロナ放電を発生させ、前記帯電部で該コロナ放電によって前記排ガス中の浮遊微粒子物質を帯電・凝集して、前記放電部の下流側の濃縮部で、前記低電圧電極近傍に偏在させ、前記濃縮部の下流の分流部において、前記低電圧電極の内側に設けた排ガス分流用の内筒の内側に前記低濃度排ガスが流れ、該内筒の外側に前記高濃度排ガスが流れるようにして、両電極間に流通させた排ガスを、前記低電圧電極近傍を流れる排ガスと前記低電圧電極の中心部を流れる排ガスとに分流させることを特徴とする方法である。
あるいは、上記目的を達成するための本発明の排ガス処理方法は、高電圧電極と該高電圧電極に対向して配置され、筒体で形成された低電圧電極とを備え、前記低電圧電極の少なくとも上流側部分の帯電部において、前記筒体の低電圧電極の中心付近に沿って長手方向に前記高電圧電極を配置し、かつ、前記帯電部の下流側の濃縮部において、前記低電圧電極を通気可能に形成し、更に、前記濃縮部の下流側の分流部を設け、前記濃縮部と前記分流部において、前記低電圧電極の外側に外筒を設けた排ガス処理装置の排気ガス処理方法であって、対向電極間に排ガスを流通させ、該対向電極間に高電圧を印加して排ガス中にコロナ放電を発生させ、該コロナ放電によって前記排ガス中の浮遊微粒子物質を帯電・凝集して、静電気力により低電圧電極に引き寄せることにより前記低電圧電極近傍に偏在させ、前記浮遊微粒子物質の濃度が相対的に高くなった高濃度排ガスを排ガス分流用の筒体である前記低電圧電極の外側に流し、前記浮遊微粒子物資の濃度が相対的に低くなった低濃度排ガスを前記低電圧電極の内側に流して分流することを特徴とする方法である。
ここでいう高電圧と低電圧の関係は、正負の電圧において、その絶対値の大きい方の電圧を高電圧とし、その絶対値の小さい方の電圧を低電圧とする。また、一方が正で他方が負の場合にも、それらの絶対値の大小で電圧の高低をいうものとする。
つまり、高電圧電極と低電圧電極とを備えた排ガス処理装置において、対向する高電圧電極と低電圧電極との間に排ガスを流し、前記対向電極間に高電圧を印加して、排ガス中にコロナ放電を発生させることにより、排ガス中の浮遊微粒子物質を帯電させ、対向電極間の静電気力によって排ガス中の浮遊微粒子物質の空間密度分布を制御し、相対的に微粒子物質濃度が高くなる低電圧電極近傍の高濃度排ガスと、相対的に微粒子物質濃度が低くなる高電圧電極近傍の低濃度排ガスとに排ガスを分流する。
そして、コロナ放電部によってコロナ放電処理を受けた排ガスの流れを、二重管構造等で分流するが、この分流に際し、コロナ放電処理で帯電した微粒子物質を静電気力により集塵電極に引き寄せることにより、微粒子物質を一方の排ガス流れに偏在させて分離濃縮させる。
この排ガス処理方法によれば、ディーゼルエンジンの排ガス中のPMのように、比較的電気抵抗が小さく、電気集塵では再飛散するような微粒子物質であっても、容易に濃縮できる。
また、この排ガス処理方法において、前記高濃度排ガスをフィルタで浄化すると、浮遊微粒子物質は凝集して肥大化しているので、目の粗いフィルタでも容易に捕集でき、また、圧力損失も少なくて済む。その上、高濃度排ガスの量が元の排ガス量よりも減少しているので、フィルタの容量を小さくでき、排ガス処理システムをコンパクトにすることができる。
そして、上記目的を達成するための本発明の排ガス処理装置は、高電圧電極と該高電圧電極に対向して配置された低電圧電極とを備え、対向電極間に排ガスを流通させ、該対向電極間に高電圧を印加して排ガス中にコロナ放電を形成し、浮遊微粒子物質を帯電させる帯電部と、該帯電部によって帯電された前記浮遊微粒子物質を前記低電圧電極近傍に偏在させる濃縮部と、前記対向電極間に流通させた排ガスを、前記浮遊微粒子物質の濃度が相対的に高くなった高濃度排ガスと、前記浮遊微粒子物資の濃度が相対的に低くなった低濃度排ガスとに分流する分流部とを有して構成し、更に、前記低電圧電極を筒体で形成し、該低電圧電極の少なくとも上流側部分の帯電部において、前記筒体の低電圧電極の中心付近に沿って長手方向に前記高電圧電極を配置すると共に、前記濃縮部の下流の分流部において、前記低電圧電極の内側に排ガス分流用の内筒を設け、該内筒はその内側に前記低濃度排ガスが流れ、該内筒の外側に前記高濃度排ガスが流れるように配置して、両電極間に流通させた排ガスを、前記低電圧電極近傍を流れる排ガスと前記低電圧電極の中心部を流れる排ガスとに分流させるように構成される。これにより、排ガス浄化装置の径も小さくシンプルな構成となる。
この帯電部の下流と濃縮部の上流の境界や濃縮部の下流と分流部の上流の境界は必ずしも明確なものではなく、また、互いに重なり合う場合も多いが、上流側から帯電部、濃縮部、分流部を構成する。
あるいは、上記目的を達成するための本発明の排ガス処理装置は、高電圧電極と該高電圧電極に対向して配置された低電圧電極とを備え、対向電極間に排ガスを流通させ、該対向電極間に高電圧を印加して排ガス中にコロナ放電を形成し、浮遊微粒子物質を帯電させる帯電部と、該帯電部によって帯電された前記浮遊微粒子物質を前記低電圧電極近傍に偏在させる濃縮部と、前記浮遊微粒子物質の濃度が相対的に高くなった前記低電圧電極近傍の排ガスを、前記浮遊微粒子物質の濃度が相対的に高くなった高濃度排ガスと、前記浮遊微粒子物資の濃度が相対的に低くなった低濃度排ガスとに分流する分流部とを有して構成し、更に、前記低電圧電極を筒体で形成し、該低電圧電極の少なくとも上流側部分の帯電部において、前記筒体の低電圧電極の中心付近に沿って長手方向に前記高電圧電極を配置し、前記帯電部の下流側の前記濃縮部において、前記低電圧電極を通気可能に形成すると共に、前記濃縮部と前記分流部において、前記低電圧電極の外側に外筒を設け、前記低電圧電極の上流側から流入する排ガスを、前記低電圧電極の内側を流れる前記低濃度排ガスと、該低電圧電極の外側を流れる前記高濃度排ガスに分けるように構成する。この構成により、集塵電極と外筒の間に、フィルタ等のガス処理部材を設けることができる空間を確保することが容易にできるようになる。
そして、上記の排ガス処理装置において、前記高濃度排ガス中に含まれる浮遊微粒子物質を浄化するフィルタを設けることにより、容易に排ガス中の浮遊微粒子物質を浄化することができる。このフィルタは、前記の濃縮部や分流部に組み入れると、排気ガスシステム全体をコンパクトにすることができる。また、この排ガス処理装置の低電圧電極とは別体にして周知のDPF等を設けることもでき、この場合には既存のDPFを利用できる。
なお、高濃度排ガスをフィルタで浄化する場合には、浮遊微粒子物質は凝集して肥大化しているので、目の粗いフィルタでも容易に捕集でき、また、圧力損失も少なくて済む。その上、高濃度排ガスの量が元の排ガスの量よりも減少しているので、フィルタの容量を小さくでき、排ガス処理システムをコンパクトにすることができる。
そして、低濃度排ガス側が更なる排ガス処理を必要としない程度まで浄化されていれば、低濃度排ガス側を直接放出する構成にすることができる。また、多少浄化が必要であれば、EGRガスとしてシリンダに再循環することにより、低濃度排ガス側の更なる排ガス処理を不要にできる。
また、低濃度排ガス側においても更なる排ガス処理が必要で、低濃度排ガスをフィルタで浄化する場合には、大きな浮遊微粒子物質は除去されており、しかもPM量は著しく減少しているので、目の細かいフィルタを使用して残存している数十nmサイズの超微粒子を捕集でき、また、目の細かいフィルタを使用しても目詰まりが生じ難く、長時間にわたって低圧力損失でPMを除去できる。その上、低濃度排ガスの量が元の排ガス量よりも減少しているので、フィルタの容量を小さくできる。
つまり、肥大化したPMを含む高濃度排ガスと、肥大化したPMを含まない低濃度排ガスをそれぞれに適したフィルタ等の除塵装置や集塵装置で効率よく浄化できるようになる。
そして、本発明の排ガス処理方法及び排ガス処理装置は、特に、排ガスが内燃機関の排ガス、中でも、ディーゼルエンジンの排ガスである場合に、この排ガス中に含まれるPMの電気抵抗が比較的低く、電気集塵した場合に再飛散し易いため、特にその効果が大きい。
また、これらの排ガス処理装置は、処理すべき排ガスの量と、排ガス処理装置の容量との関係に基づいて、単独又は複数個の組み合せで用いることができる。また、多段に組み合わせて用いることにより、希薄化及び濃縮化の程度や、PM浄化性能を更に向上することできる。
なお、本発明の排ガス処理方法及び排ガス処理装置の対象ガスは、ディーゼルエンジンの排ガスに限定されるものではなく、その他の車両用の内燃機関、定置式の内燃機関の排ガスのみならず、ボイラや発電機やコジェネレータ等の燃焼機器の排ガス等も含む。また、燃焼によって生じる煤塵のみならず、機械加工等で発生する煤塵も含む。
本発明の排ガス処理方法及び排ガス処理装置によれば、高電圧電極に高電圧を印加して、排気ガス中にコロナ放電を発生させることにより、排ガス中の浮遊微粒子物質を帯電させて、低電圧電極もしくはその近傍に凝集及び偏在させると共に、排ガスを、浮遊微粒子物質の濃度が高い高濃度排ガスと浮遊微粒子物質の濃度が低い低濃度排ガスとに分流するので、ディーゼルエンジンの排ガス中のPMのように、比較的電気抵抗が小さく、電気集塵では再飛散するような微粒子物質であっても、容易に濃縮できる。
また、高濃度排ガスでは、浮遊微粒子物質は凝集して肥大化し、しかも濃縮されているので、目の粗いフィルタでも容易に効率よく捕集でき、また、圧力損失も少なくて済む。その上、高濃度排ガスの量が元の排ガス量よりも減少しているので、フィルタの容量を小さくでき、排ガス処理装置や排ガス処理システムをコンパクトにすることができる。
また、低濃度排ガス側においては、大きな浮遊微粒子物質は除去されており、しかもPM量は著しく減少しているので、更に浄化の度合いを高めるためにフィルタで浄化する際にも、目の細かいフィルタを使用して超微粒子を捕集でき、また、目の細かいフィルタを使用しても目詰まりが生じ難く、長時間にわたって低圧力損失でPMを除去できる。その上、低濃度排ガスの量が元の排ガス量よりも減少しているので、フィルタの容量を小さくできる。
以下、本発明に係る実施の形態について、ディーゼルエンジンの排ガス中に含まれるPMを分離、濃縮する排ガス処理装置を例にして、図面を参照しながら説明する。なお、本発明の対象ガスはこのディーゼルエンジンの排ガスに限定されるものではなく、その他の車両用の内燃機関、定置式の内燃機関の排ガスのみならず、ボイラや発電機やコジェネレータ等の燃焼機器の排ガス、機械加工によって生じる煤塵を含む排ガス等も含むものである。
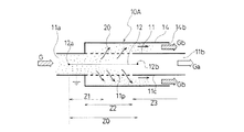
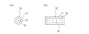
図1及び図2に、本発明の第1の実施の形態の排ガス処理装置10の構成を示す。この排ガス処理装置10は筒状の低電圧電極11と高電圧電極12と内筒13とを有して構成される。
この低電圧電極11は、高電圧電極12と対向配置され、高電圧電極と低電圧電極間に印加された高電圧で生じるコロナ放電によって帯電した浮遊微粒子物質20を捕捉する集塵機能を有すると共に、排ガスG,Gbの流路の外壁を形成するもので、ステンレス等の金属等の導電体で形成される。この低電圧電極11の一端側は排ガスGの入口部11aとなり、他端側は浮遊微粒子物質20が濃縮された高濃度排ガスGbの出口部11bとなる。そして、この低電圧電極11は電気的に接地(アース)される。
また、高電圧電極12は、コロナ放電を発生させるための放電極(コロナ放電極)であり、低電圧電極11の入口部11a側の上流部分の帯電部Z1を最小限含むコロナ放電部Z0の部分において、低電圧電極11の略中心線上に、即ち低電圧電極11の中心付近に沿って長手方向に配置される。高電圧電極12としては、放電の発生及び電気力による効果をよくするために、また、機械的強度等を考慮して、丸形、角形、角捩形等の断面を持った細線、棒、撚り線や、有刺鉄線様、捩りブラシ様のエッジ構造を持った細線、棒、撚り線等で構成する。例えば、直径0.2〜2mmのステンレスワイヤーやピアノ線、不銹鋼線等でもよいし、用途に応じて材質としては、タングステン、ニッケル、チタン、インコネル等の耐蝕性に優れた金属線や、外表面を樹脂、ガラス、セラミック等でコーティングした金属線等を用いてもよい。
そして、内筒13は、筒状の排ガス分流用配管であり、低電圧電極11の下流側部分の分流部Z3において、低電圧電極11の内側に同心で配置される。この内筒13により、排ガスGを分流し、内筒13の内側に浮遊微粒子物質20が希薄された低濃度排ガスGaを流通させ、内筒13の外側に浮遊微粒子物質20が濃縮された高濃度排ガスGbを流通させる。この内筒13は、導電体であっても導電体でなくもよいので、排ガスGの種類に応じて金属やその他の材料で形成される。ここでは、ディーゼルエンジンの排ガスGに対応してステンレス製とする。
この低電圧電極11と内筒13は、処理排ガス量が少ない時は、図2(a)に示すように、円形断面の筒状に形成され、高電圧電極12もその中心に1本配置されるが、処理排ガス量が多い時には、図2(b)に示すように、矩形断面の筒状に形成され、高電圧電極12もその中心において平行に複数本配置される。
この構造の排ガス処理装置10において、ディーゼルエンジンの排ガスGを入口部11aから流入させると共に、高電圧電極12に負の高電圧(例えば−10kV)を印加する。この高電圧の印加により、この高電圧電極12の周辺部にコロナ放電が生じ、その外周部にイオンが充満するので、排ガスG中のPM(浮遊微粒子物質)20は、このイオンを吸着して帯電する。
この放電部Z0の上流側の帯電部Z1で帯電したPM20は、放電部Z0の下流側の濃縮部Z2において、静電気力(クーロン力)により低電圧電極11(この例では接地電位)の電極表面11sに捕集される。この低電圧電極表面11sでは数十nmサイズの超微粒子を含んだPM20が捕集され、凝集し、より大きなサイズのPM20を形成しPM20の肥大化が行われる。
このディーゼルエンジンの排ガスG中に含まれるPM20は比較的電気抵抗が低いため、電荷を失い易い。そのため、肥大化したPM20は電荷を失って静電気力を失うので、排ガスGの流れによって低電圧電極表面11sから剥離し、再飛散する。この再飛散したPM20は低電圧電極表面11sに沿って下流側に移行するので、内筒13と低電圧電極11の間の通路を通り、出口部11bから排ガスGbと共に排出される。
そして、排ガスG中の殆どのPM20が静電気力により低電圧電極11に引き寄せられるので、低電圧電極11の周辺では(入口部の排ガス中に比べて)相対的にPM20の濃度は高くなり、低電圧電極11近傍にPM20が「濃縮」された状態となる。そのため、出口部11bから排出される排ガスGbはPM20の濃度が相対的に高くなった高濃度排ガスとなる。
一方、低電圧電極11の中心部、即ち、高電圧電極12の周辺部を流れる排ガスGaは、内筒13の入口部13aから内筒13の内側に入り、この内側通路を通って出口部13bから排出される。この排ガスGaは、排ガスG中の殆どのPM20が静電気力により低電圧電極11に引き寄せられるので、PM20は希薄され低濃度排ガスとなる。
従って、この排ガス処理装置10によれば、コロナ放電による帯電部Z1の下流側に濃縮部Z2を設けることによって、コロナ放電で帯電したPM20を低電圧電極表面11sに捕集し、この捕集され、凝集して大きなサイズになったPM20が低電圧電極表面11sから再飛散する現象を利用して、低電圧電極11近傍でPM20を濃縮できる。そして、内筒13による分流部Z3を設けることにより、高電圧電極12近傍のPMが希薄された低濃度排ガスGaと、低電圧電極11近傍のPM20が濃縮された高濃度排ガスGbを分離できる。
なお、この内筒13を導電体で形成し、電位を低電圧電極11と同じにした場合には、この内筒13の内側表面及び外側表面でPM20の凝集及び再飛散によるPMの肥大化効果を得ることができる。また、図1では、高電圧電極12を内筒13の上流側で配置を終えている構成となっているが、高電圧電極12を内筒13内まで延設する構成とし、分離された低濃度排ガスGaに対して内筒13内におけるPMの肥大化効果を得るようにしてもよい。なお、実際には、この高電圧電極12の下流端12bと内筒13の先端部分においては、静電場(電気力線)を好ましい状態にし、放電を安定化するために、絶縁破壊に対する配慮として、高電圧電極12の端末部の電界緩和等が必要である。
図3及び図4に、本発明の第2の実施の形態の排ガス処理装置10Aの構成を示す。この排ガス処理装置10Aは、筒状の低電圧電極11と高電圧電極12と外筒14とを有して構成される。
この筒状の低電圧電極11は、濃縮部Z2においては、高電圧電極12に高電圧を印加した時に生じるコロナ放電により帯電した浮遊微粒子物質20を引き寄せる集塵機能を有すると共に、排ガスGの一部Gbを分岐する境界として機能する。そして、分流部Z3においては、排ガスG,Ga,Gbの流路壁を形成するものとして機能する。
この低電圧電極11は、第1の実施の形態の排ガス浄化装置10と同様に、金属等の導電体で形成され、電気的に接地(アース)されるが、高電圧電極12の上流端12aより少し下流側の濃縮部Z2においては、排気ガスGbが通過可能な透過部11pを設けて構成される。この透過部11pは、金網、パンチングメタル、発泡金属等でメッシュ状又は多孔状に形成され、集塵機能と排ガスGb及びPM20を通過させる機能を有して構成される。そして、この低電圧電極11は、透過部11pの下流側の分流部Z3では、通気不能の壁面11cで形成される。
また、高電圧電極12は、第1の実施の形態の排ガス処理装置10と同様に、金属等の導電体で形成される。そして、外筒14は、濃縮部Z2と分流部Z3において、低電圧電極11の外側に配置される円筒状の外壁であり、金属またはその他の材料で形成される。
この低電圧電極11と外筒14は、処理排ガス量が少ない時は、図4(a)に示すように、円形断面の筒状に形成され、高電圧電極12もその中心に1本配置されるが、処理排ガス量が多い時には、図4(b)に示すように、細長い断面の筒状に形成され、高電圧電極12もその中心において平行に複数本配置される。
この構造の排ガス処理装置10Aにおいて、ディーゼルエンジンの排ガスGを入口部11aから流入させると共に、高電圧電極12に高電圧を印加する。この高電圧の印加により、この高電圧電極12の周辺部にコロナ放電を生じ、その外周部にイオンが充満するので、排ガスG中のPM(浮遊微粒子物質)20は、このイオンを吸着して帯電する。
この放電部Z0の上流側の帯電部Z1で帯電したPM20は、放電部Z0の下流側の濃縮部Z2において、静電気力(クーロン力)により低電圧電極11の透過部11pに引き寄せられる。この引き寄せられたPM20は、透過部11pに付着したり、慣性により透過部11pのメッシュの隙間や孔から通り抜ける。なお、高電圧電極12の近傍に形成されたコロナ放電場から離れても、帯電したPM20は静電気力で低電圧電極11方向にドリフトする。
この透過部11pに一旦付着した数十nmサイズの超微粒子を含んだPM20は凝集し、より大きなサイズのPM20を形成しPM20の肥大化が行われる。そして、ディーゼルエンジンの排ガス中に含まれるPMは比較的電気抵抗が低く、電荷を失い易いため、肥大化したPM20は電荷を失って静電気力を失うので、排ガスGbの流れによって低電圧電極11の透過部11pから剥離及び再飛散し、下流側に移行する。そして、このPM20を含んだ高濃度排ガスGbは、外筒14と低電圧電極11の間の通路を通り、出口部14bから排出される。
一方、低電圧電極11の中心部、即ち、高電圧電極12の周辺部を流れる低濃度排ガスGaは、低電圧電極11の内側を通り、出口部11bから排出される。
そして、この中心部側の排ガスGaでは、PM20の量が減少し、PM20が希薄された低濃度排ガスとなり、一方の低電圧電極11の外側の排ガスGbでは、PM20の量が増加し、PMが濃縮された高濃度排ガスとなる。
なお、図3では、高電圧電極12を透過部11pよりも上流側に延設し、帯電部Z1を上流側に設けて、この部分でも低電圧電極11で捕集されたPM20を肥大化し再飛散させているが、構造を単純化するために、この部分の凝集効果を犠牲にして、高電圧電極12の上流端12aを透過部11pの上流端と同じ部分に設けてもよい。
また、図3では、高電圧電極12の下流端12bを低電圧電極11の分流部Z3内まで延設する構成とし、これにより、低濃度排ガスGaを分離した後について更にコロナ放電場を維持し、この部分で低濃度排ガスGaに残存しているPMの凝集処理を行って、PMの2次処理のための前処理を行っているが、構成の単純化のために、高電圧電極12の下流端12bを分流部Z3の上流側に設ける構成としてもよい。
また、外筒14は、高濃度排ガスGbの通路形成の機能を有するものであればよいが、導電体で形成し、低電圧電極11と同じ電位(接地等)に保持すると、慣性によりそのまま透過部11pを通過してきたPM20がこの外筒14の内周壁面で凝集すると、その電荷を失い易くなるので、剥離及び再飛散し易くなる。
この排ガス処理装置10Aによれば、コロナ放電による帯電部Z1の下流側にPMの濃縮部Z2を設けることによって、コロナ放電で帯電したPM20を濃縮できる。つまり、帯電したPM20が、透過部Z2の電極表面である透過部11pに付着し、この部分で凝集して大きなサイズになって、透過部11pから再飛散する現象と、PM20が慣性により透過部11pを通過する現象を利用して、低電圧電極11の透過部11pの外側にPM20を濃縮できる。また、分流部Z3において、高電圧電極12近傍の排ガスGaを低電圧電極11の内側に流し、透過部11pを通過した排ガスGbを低電圧電極11の外側に流すことにより、PM20が希薄された低濃度排ガスGaとPM20が濃縮された高濃度排ガスGbとを分けることができる。
図5に、本発明の第3の実施の形態の排ガス処理装置10Bの構成を示す。この排ガス処理装置10Bは、第2の実施の形態の排ガス処理装置10Aの構成に加えて、低電圧電極11の透過部11pから帯電したPM20を引き込む静電界を設けるために第3の電極である吸引用電極15を設けて構成する。
この吸引用電極15を設けた場合においては、吸引用電極15を電気的に接地し、低電圧電極11には、高電圧電極12と吸引用電極15の間の適当な中間電位が印加される。
また、この吸引用電極15は、図5では、低電圧電極11と外筒14の間に設けているが、外筒14を導電体で形成し電気的に接地することによりに吸引用電極15の機能を兼用させてもよい。
この構造の排ガス処理装置10Bによれば、低電圧電極11の透過部11pで再飛散するPM20や透過部11pを通過する帯電したPM20を、吸引用電極15で形成した電位場により、より強く低電圧電極11の透過部11pの外側に吸引できるので、再飛散したPM20や帯電したPM20が低電圧電極11の内側に入り込むのを防止でき、より効率よくPM20を分離及び濃縮できる。
図6及び図7に、本発明の第4の実施の形態の排ガス処理装置10Cの構成を示す。この排ガス処理装置10Cでは、第2又は第3の実施の形態の微粒子分離装置10A,10Bの構成に、フィルタ16を追加して設けることにより、PM20が濃縮された高濃度排ガスGbからPM20を除去するように構成する。なお、17は高電圧電極12を電気的に絶縁するための碍子である。
また、低電圧電極11の外側の外筒14においては、低電圧電極11の透過部11pの下流側に仕切り壁14aを設けて、フィルタ16を配置する部分と、低濃度排ガスGaを通過させる部分とを区切る。それと共に、仕切り壁14aの上流側にフィルタ処理された排ガスGb’を流出させる第1排出口14bを設け、仕切り壁14aの下流側に低濃度排ガスGaを流出させる第2排出口14cを設ける。
また、低電圧電極11の透過部11pの下流側の通気不能の壁面11cの下流側に、更に通気可能の第2透過部11dを設け、壁面11c内を通ってきた低濃度排ガスGaがこの第2透過部11dを通過して第2排出口14cから流出できるように構成する。
そして、低電圧電極11と外筒14の仕切り壁14aの上流側の空間に配置されるフィルタ16は、低電圧電極11の透過部11pを通過する高濃度排ガスGbを浄化するためのフィルタであり、パンチングメタル、焼結金網、焼結フィルタ、金属繊維フィルタ、孔径がDPFより粗いセラミックフィルタ、金属ハニカム、セラミックハニカム、ガラスウールやこれらの基材に酸化触媒を担持したもの等の周知のフィルタを用いて形成することができる。
また、このフィルタ16では、高濃度排ガスGb中のPM20は肥大化しているので、目の粗いフィルタでも容易に捕集でき、圧力損失を小さくすることができる。図6の構成では、孔径1mm(ピッチ2mm)のパンチングメタルを3層に設けて形成している。
そして、フィルタ16に捕集されたPM20については、PM捕集面の近傍に第4のPM燃焼用電極を配置する方法や、PM捕集面に酸化触媒を塗布する方法や、PM捕集面近傍にヒータを配置する方法等により、PM捕集面の再生を図り、そのPM捕集性能を長時間維持する。
この第4のPM燃焼用電極を用いてPMの燃焼除去する場合には、パンチングメタルの多層配置のピッチを大きくとると共に、低電圧電極11等の配管とは電気的に絶縁した金網(図示しない)を第4のPM燃焼用電極として、パンチングメタルのPM捕集面に対して1mm〜2mm程度の間隔を設けて配置し、この金網に外部から電圧を供給して金網とPM捕集面の間で放電を発生させることにより、フィルタ16に捕集したPMを燃焼除去するように構成する。
また、酸化触媒を塗布する場合には、フィルタ16のPM捕集面に酸化チタン、白金等の酸化触媒を塗布したり、又は、PM捕集面に肉厚が3mm程度以下の触媒担持体を配置して、これらの酸化触媒の作用により、PM燃焼開始温度を低下させてるように構成する。なお、この触媒の担持体は金属でも絶縁材料でもよいし、また、形状的にはバルクでもよいし、多孔体でもよい。
また、ヒータを使用する場合には、フィルタ16のPM捕集面にニクロム線等のヒータを配置し、定期的にヒータ加熱してPM燃焼除去する。
この低電圧電極11と外筒14とフィルタ16は、処理排ガス量が少ない時は、図7(a)に示すように、円形断面の筒状に形成され、高電圧電極12もその中心に1本配置されるが、処理排ガス量が多い時には、図7(b)に示すように、細長い断面の筒状に形成され、高電圧電極12もその中心において平行に複数本配置される。
この構成の排ガス処理装置10Cによれば、このフィルタ16を設けることにより、PM20が肥大化されて濃縮された高濃度排ガスGbを効率よく浄化して、第1排出口14bから排出される排ガスGb’をクリーンなガスにすることができる。
一方、低濃度排ガスGaはPM20が希薄されているので、必ずしもPM捕集用のフィルタを通さなくてもよいが、この低濃度排ガスGa用のフィルタを設ける場合でも、排ガス量が元の排ガスGの量に比較して大きく減少し、しかも、大きなPMは除去されているので、目の細かいフィルタを使用することができ、しかも目の細かいフィルタを使用しても目詰まりの進展が遅く、圧力損失も小さくてすむ。
また、この低濃度排ガスGaをEGR用の排ガスとしてシリンダ内に再循環するように構成すると、低濃度排ガスGaが直接外気に排出されることがなくなり、フィルタを設ける必要もなくなる。
図8に、本発明の第5の実施の形態の排ガス処理装置10Dの構成を示す。この排ガス処理装置10Dの構成では、フィルタ16を通過した後の排ガスGb’と、低濃度排ガスGaを合流させてから排ガスGcとして排出する構成にしたものである。
これにより、排ガスG,Ga,Gbの流れを円滑にすると共に、図6に示されている排気ガスGbの第1排出部14bのような装置の凹凸を無くして、省スペースにし、また、配管し易くしている。
なお、この第5の実施の形態の排ガス処理装置10Dの構成においては、低電圧電極11の透過部11pの下流側の通気不能の壁面11cの部分は必ずしも必要ではなくなるが、この場合は仕切り壁14aの部分が分流部Z3に対応することになる。
また、図6〜図8の構成では、外筒14内にフィルタ16を収容し、装置のコンパクト化を図っているが、排ガス処理装置10,10A,10Bとは別体にフィルタを設けた場合でも、高濃度排ガスGb中のPMが肥大化しているので、目の粗いフィルタでも捕集が容易であり、圧力損失を小さくすることができる。
以上の各実施の形態の排ガス処理装置10、10A〜10Dにおいては、図2(a),図4(a),図7(a)に示すように、低電圧電極11を円筒として説明してきたが、本発明は、この構成に限定されることなく、円筒以外の四角形等の多角形の筒体であってもよい。また、排ガス量が多い場合には、図2(b),図4(b),図7(b)に示すように、低電圧電極11を断面矩形状に形成し、その中心付近に長手方向(矩形断面と垂直な方向)に沿って、高電圧電極12を複数本、平行に配置して構成するが、更に、排ガス量が多い場合は、図9に示すように、複数本の高電圧電極12を平行配置し、コロナ放電部を広げることもできる。また、排ガスが多量の場合には、各実施の形態の形態の排ガス処理装置を、並行配置することにより対応でき、また、高濃度排ガスの濃縮度、低濃度排ガスの浄化率をより高くする場合には、多段に配置することで対応できる。
図1及び図2(a)に示すような第1の実施の形態の排ガス処理装置10において、高電圧電極12を径0.2mmφのステンレスワイヤーで形成し、低電圧電極11を内径38mmφのステンレスの円筒で形成し、内筒13を内径15mmφのステンレスの円筒で形成した。円筒の内側の断面積と外側の断面積の比は5:3となる。
この排ガス処理装置10を、小型のディーゼル発電機(最大出力5kW)の排ガス管部分に直接接続して配置し、2.4kW(48%)負荷時の運転条件で実験を行った。高電圧電極には、負極性直流高電圧電源を用いて、−10kV,0.4mAの電流を供給した。排ガス処理装置10の温度は100℃〜200℃で、排ガス流量は200L/min(常温換算)程度で、放電部(長さ120mm)での滞留時間は0.1s程度である。
この実験で、0.6μmの微粒子を捕集できる石英フィルタにより各排ガス中のPMを捕集し、50Lサンプリングした後のフィルタの表面を低真空電子走査顕微鏡を用いて観察し、粒子直径の分布を観察した。
その結果、放電有りと放電無しの場合では二重管内側の低濃度排ガスが通過したフィルタに、見た目でも明らかな差が見られ、また、顕微鏡観察でも、数μmサイズの微粒子が殆ど見当たらず、希薄されていることが分かった。また、高濃度排ガスに含まれたPMを顕微鏡観察した結果、数十μm〜数百μmの微粒子となっており、このPMの粒子径が処理前の排ガス中のPMの粒子径(数μm)よりも大きくなっており、著しく肥大化効果のあることが分かった。
つまり、この実験結果より、排ガス圧力の上昇無しに、ディーゼルエンジンのPMを低電圧電極近傍のガス排出ラインに集め、高電圧電極近傍のガス排出ラインからほぼ完全に分離することが可能であることが確認でき、また、数μm程度の微粒子を高電圧印加により、より大きな微粒子に肥大化できることも確認できた。
図6及び図7(a)に示すような第4の実施の形態の排ガス処理装置10Cにおいて、高電圧電極12を径0.6mmφのステンレスワイヤーで形成し、低電圧電極11を内径58mmφのステンレスの円筒で形成し、外筒14を外径220mmφのステンレスの円筒で形成した。また、フィルタ16を孔径1mmのパンチングメタルで2mmピッチで3層に配置した。
この排ガス処理装置10Cを、2tトラック車の排ガス管部分に直接接続して配置し、エンジン回転数550rpm,排ガス温度約70℃、排ガス量約1400L/min条件で実験を行った。高電圧電極には、負極性直流高電圧電源を用いて、−18kVを印加した。帯電部(長さ300mm)における滞留時間は約30msで、濃縮部(長さ550mm)の滞留時間は約55msである。
この実験では、0.3μmφ粒子の捕捉率99.9%以上のガラス繊維濾紙を用いて,排ガスGa,Gb’を定流量ポンプで吸引して排ガス中のPMを捕集した。
その結果、放電有りと放電無しの場合では排ガスGaが通過した濾紙及びフィルタ16を通過した排ガスGb’が通過した濾紙において、見た目でも明らかな差が見られ、コロナ放電電極に電圧を印加することによって、PMが著しく低減できていることが分かった。
図8に示すような第5の実施の形態の排ガス処理装置10Dにおいて、実施例2と同様な寸法及び条件で実験を行い、0.3μmφ粒子の捕捉率99.9%以上のガラス繊維濾紙を用いて、再合流した排ガスGcを定流量ポンプで吸引して排ガス中のPMを捕集した。
その結果、放電有りと放電無しの場合では、排ガスGcが通過した濾紙において、見た目でも明らかな差が見られ、コロナ放電電極に電圧を印加することによって、PMが著しく低減できていることが分かった。
本発明の第1の実施の形態の排ガス処理装置の構成図である。 図1の排ガス処理装置の断面図であり、(a)は円筒状の低電圧電極と単数の高電圧電極を示す図で、(b)矩形状の低電圧電極と複数の高電圧電極を示す図である。 本発明の第2の実施の形態の分離装置の構成図である。 図3の排ガス処理装置の断面図であり、(a)は円筒状の低電圧電極と単数の高電圧電極を示す図で、(b)細長い断面形状の低電圧電極と複数の高電圧電極を示す図である。 本発明の第3の実施の形態の分離装置の構成図である。 本発明の第4の実施の形態の分離装置の構成図である。 図6の排ガス処理装置の断面図であり、(a)は円筒状の低電圧電極と単数の高電圧電極を示す図で、(b)細長い断面形状の低電圧電極と複数の高電圧電極を示す図である。 本発明の第5の実施の形態の分離装置の構成図である。 円筒状の低電圧電極と複数の高電圧電極を示す図である。
符号の説明
10,10A〜10D 排ガス処理装置
11 低電圧電極
12 高電圧電極
13 内筒
14 外筒
20 浮遊微粒子物質
G 排ガス
Ga 低濃度排ガス
Gb 高濃度排ガス
Z0 放電部
Z1 帯電部
Z2 濃縮部
Z3 分流部

Claims (7)

  1. 高電圧電極と、該高電圧電極に対向して配置され、かつ、筒体で形成された低電圧電極とを備え、該低電圧電極の少なくとも上流側部分の帯電部において、前記筒体の低電圧電極の中心付近に沿って長手方向に前記高電圧電極を配置した排ガス処理装置の排気ガス処理方法であって、対向電極間に排ガスを流通させ、放電部で該対向電極間に高電圧を印加して排ガス中にコロナ放電を発生させ、前記帯電部で該コロナ放電によって前記排ガス中の浮遊微粒子物質を帯電・凝集して、前記放電部の下流側の濃縮部で、前記低電圧電極近傍に偏在させ、前記濃縮部の下流の分流部において、前記低電圧電極の内側に設けた排ガス分流用の内筒の内側に前記低濃度排ガスが流れ、該内筒の外側に前記高濃度排ガスが流れるようにして、両電極間に流通させた排ガスを、前記低電圧電極近傍を流れる排ガスと前記低電圧電極の中心部を流れる排ガスとに分流させることを特徴とする排ガス処理方法。
  2. 高電圧電極と該高電圧電極に対向して配置され、筒体で形成された低電圧電極とを備え、前記低電圧電極の少なくとも上流側部分の帯電部において、前記筒体の低電圧電極の中心付近に沿って長手方向に前記高電圧電極を配置し、かつ、前記帯電部の下流側の濃縮部において、前記低電圧電極を通気可能に形成し、更に、前記濃縮部の下流側の分流部を設け、前記濃縮部と前記分流部において、前記低電圧電極の外側に外筒を設けた排ガス処理装置の排気ガス処理方法であって、対向電極間に排ガスを流通させ、該対向電極間に高電圧を印加して排ガス中にコロナ放電を発生させ、該コロナ放電によって前記排ガス中の浮遊微粒子物質を帯電・凝集して、静電気力により低電圧電極に引き寄せることにより前記低電圧電極近傍に偏在させ、前記浮遊微粒子物質の濃度が相対的に高くなった高濃度排ガスを排ガス分流用の筒体である前記低電圧電極の外側に流し、前記浮遊微粒子物資の濃度が相対的に低くなった低濃度排ガスを前記低電圧電極の内側に流して分流することを特徴とする排ガス処理方法。
  3. 前記高濃度排ガスをフィルタで浄化することを特徴とする請求項1又は2に記載の排ガス浄化方法。
  4. 高電圧電極と該高電圧電極に対向して配置された低電圧電極とを備え、対向電極間に排ガスを流通させ、該対向電極間に高電圧を印加して排ガス中にコロナ放電を形成し、浮遊微粒子物質を帯電させる帯電部と、該帯電部によって帯電された前記浮遊微粒子物質を前記低電圧電極近傍に偏在させる濃縮部と、前記対向電極間に流通させた排ガスを、前記浮遊微粒子物質の濃度が相対的に高くなった高濃度排ガスと、前記浮遊微粒子物資の濃度が相対的に低くなった低濃度排ガスとに分流する分流部とを有して構成し、更に、前記低電圧電極を筒体で形成し、該低電圧電極の少なくとも上流側部分の帯電部において、前記筒体の低電圧電極の中心付近に沿って長手方向に前記高電圧電極を配置すると共に、前記濃縮部の下流の分流部において、前記低電圧電極の内側に排ガス分流用の内筒を設け、該内筒はその内側に前記低濃度排ガスが流れ、該内筒の外側に前記高濃度排ガスが流れるように配置して、両電極間に流通させた排ガスを、前記低電圧電極近傍を流れる排ガスと前記低電圧電極の中心部を流れる排ガスとに分流させることを特徴とする排ガス処理装置。
  5. 高電圧電極と該高電圧電極に対向して配置された低電圧電極とを備え、対向電極間に排ガスを流通させ、該対向電極間に高電圧を印加して排ガス中にコロナ放電を形成し、浮遊微粒子物質を帯電させる帯電部と、該帯電部によって帯電された前記浮遊微粒子物質を前記低電圧電極近傍に偏在させる濃縮部と、前記浮遊微粒子物質の濃度が相対的に高くなった前記低電圧電極近傍の排ガスを、前記浮遊微粒子物質の濃度が相対的に高くなった高濃度排ガスと、前記浮遊微粒子物資の濃度が相対的に低くなった低濃度排ガスとに分流する分流部とを有して構成し、更に、前記低電圧電極を筒体で形成し、該低電圧電極の少なくとも上流側部分の帯電部において、前記筒体の低電圧電極の中心付近に沿って長手方向に前記高電圧電極を配置し、前記帯電部の下流側の前記濃縮部において、前記低電圧電極を通気可能に形成すると共に、前記濃縮部と前記分流部において、前記低電圧電極の外側に外筒を設け、前記低電圧電極の上流側から流入する排ガスを、前記低電圧電極の内側を流れる前記低濃度排ガスと、該低電圧電極の外側を流れる前記高濃度排ガスに分けるように構成したことを特徴とする排ガス処理装置。
  6. 前記高濃度排ガス中に含まれる浮遊微粒子物質を浄化するフィルタを設けたことを特徴とする請求項4又は5のいずれか1項に記載の排ガス浄化装置。
  7. 前記排ガスが内燃機関の排気ガスであることを特徴とする請求項4〜6のいずれか1項に記載の排ガス浄化装置。
JP2003306307A 2003-08-29 2003-08-29 排ガス処理方法及び排ガス処理装置 Expired - Fee Related JP4339049B2 (ja)

Priority Applications (4)

Application Number Priority Date Filing Date Title
JP2003306307A JP4339049B2 (ja) 2003-08-29 2003-08-29 排ガス処理方法及び排ガス処理装置
PCT/JP2004/012262 WO2005021940A1 (ja) 2003-08-29 2004-08-26 排ガス処理方法及び排ガス処理装置
EP04772218A EP1669562A1 (en) 2003-08-29 2004-08-26 Exhaust gas processing method and exhaust gas processing system
US10/569,841 US20070000236A1 (en) 2003-08-29 2004-08-26 Exhaust gas processing method and exhaust gas processing system

Applications Claiming Priority (1)

Application Number Priority Date Filing Date Title
JP2003306307A JP4339049B2 (ja) 2003-08-29 2003-08-29 排ガス処理方法及び排ガス処理装置

Publications (3)

Publication Number Publication Date
JP2005076497A JP2005076497A (ja) 2005-03-24
JP2005076497A5 JP2005076497A5 (ja) 2006-03-23
JP4339049B2 true JP4339049B2 (ja) 2009-10-07

Family

ID=34269383

Family Applications (1)

Application Number Title Priority Date Filing Date
JP2003306307A Expired - Fee Related JP4339049B2 (ja) 2003-08-29 2003-08-29 排ガス処理方法及び排ガス処理装置

Country Status (4)

Country Link
US (1) US20070000236A1 (ja)
EP (1) EP1669562A1 (ja)
JP (1) JP4339049B2 (ja)
WO (1) WO2005021940A1 (ja)

Families Citing this family (32)

* Cited by examiner, † Cited by third party
Publication number Priority date Publication date Assignee Title
DE602006014805D1 (de) 2005-03-18 2010-07-22 Toyota Motor Co Ltd Brennkraftmotorsteuervorrichtung und abgasreinigungsverfahren
JP4581130B2 (ja) * 2005-08-19 2010-11-17 いすゞ自動車株式会社 排気ガス処理方法及び排気ガス処理装置
JP2007100635A (ja) * 2005-10-06 2007-04-19 Mitsubishi Heavy Ind Ltd 排気ガス浄化装置
FR2903726B1 (fr) * 2006-07-12 2008-10-10 Renault Sas Dispositif et procede pour la capture et l'elimination des particules contenues dans les gaz d'echappement d'un moteur a combustion interne de vehicule automobile.
GR1005756B (el) * 2006-09-20 2007-12-20 (������� 30%) ��������� Διαταξη επεξεργασιας αεριων
JP2009243419A (ja) 2008-03-31 2009-10-22 Denso Corp 内燃機関の排気浄化装置
US20100018850A1 (en) * 2008-07-28 2010-01-28 Caterpillar Inc. System for removing particulate matter from exhaust streams
DE102008057960A1 (de) * 2008-11-19 2010-05-20 Emitec Gesellschaft Für Emissionstechnologie Mbh Anordnung und Verfahren zur Reinigung eines Abgasstromes einer Verbrennungskraftmaschine durch die Abscheidung von Partikeln
DE102009025136A1 (de) * 2009-06-17 2010-12-23 Emitec Gesellschaft Für Emissionstechnologie Mbh Vorrichtung und Verfahren zur Behandlung eines Partikel aufweisenden Abgases
US7959883B2 (en) * 2009-08-28 2011-06-14 Corning Incorporated Engine exhaust gas reactors and methods
JP5705461B2 (ja) * 2010-05-27 2015-04-22 富士電機株式会社 電気集塵装置
JP5838373B2 (ja) * 2010-09-27 2016-01-06 パナソニックIpマネジメント株式会社 放電電極の製造方法、静電霧化装置、および、イオン発生装置
JP5863087B2 (ja) * 2010-11-16 2016-02-16 臼井国際産業株式会社 重油以下の低質燃料を使用する大排気量ディーゼルエンジン用排ガス処理装置
JP5768423B2 (ja) * 2011-03-17 2015-08-26 富士電機株式会社 電気集塵装置
JP5761461B2 (ja) * 2012-07-31 2015-08-12 富士電機株式会社 電気集塵装置
ITAN20120152A1 (it) * 2012-11-20 2014-05-21 S C M Societa Costruzioni Metal Liche S R L Filtro elettrostatico perfezionato.
US9808809B2 (en) 2013-02-07 2017-11-07 Mitsubishi Hitachi Power Systems Environmental Solutions, Ltd. Dust collector, electrode selection method for dust collector, and dust collection method
US10071384B2 (en) 2013-02-07 2018-09-11 Mitsubishi Hitachi Power Systems Environmental Solutions, Ltd. Dust collector, dust collection system, and dust collection method
JP6172714B2 (ja) * 2013-05-09 2017-08-02 臼井国際産業株式会社 重油を使用する船舶用ディーゼルエンジンの排ガス処理装置
DE102013113334A1 (de) * 2013-12-02 2015-06-03 Jochen Deichmann Vorrichtung zum Reinigen von Gasen
JP2015202425A (ja) * 2014-04-11 2015-11-16 国立大学法人金沢大学 微粒子捕集装置
JP6268609B2 (ja) * 2015-04-24 2018-01-31 パナソニックIpマネジメント株式会社 溶媒分離装置及び熱処理装置
CN105673139A (zh) * 2016-03-21 2016-06-15 东北电力大学 基于介质阻挡放电等离子体的汽车尾气处理装置及处理方法
JP6505050B2 (ja) * 2016-06-02 2019-04-24 パナソニック株式会社 溶媒分離方法及び装置
FI20175319A1 (en) 2017-04-06 2018-10-07 Olfactomics Oy Method and equipment for the analysis of biological samples
CN109236423A (zh) * 2017-07-10 2019-01-18 东北林业大学 三段式低温等离子体木纤维柴油车尾气污染物净化器
CN108554631B (zh) * 2018-06-04 2023-08-22 江苏大学 基于介质阻挡放电的同轴多级ntp发生器
EP3872322A4 (en) * 2018-10-22 2021-12-22 Shanghai Bixiufu Enterprise Management Co., Ltd. SYSTEM AND PROCEDURE FOR END GAS OZONE CLEANING OF AN ENGINE
US20220250087A1 (en) * 2018-10-22 2022-08-11 Shanghai Bixiufu Enterprise Management Co., Ltd. Engine exhaust dust removing system and method
JP2020195954A (ja) * 2019-05-31 2020-12-10 臼井国際産業株式会社 電気集塵装置
KR20210141740A (ko) * 2019-11-05 2021-11-23 후지 덴키 가부시키가이샤 전기 집진기
CN112879124A (zh) * 2021-01-26 2021-06-01 东风汽车集团股份有限公司 汽车尾气颗粒物吸附装置

Family Cites Families (9)

* Cited by examiner, † Cited by third party
Publication number Priority date Publication date Assignee Title
US4338784A (en) * 1979-08-22 1982-07-13 The Regents Of The University Of Minn. Method of recycling collected exhaust particles
JPS57148017A (en) * 1981-03-09 1982-09-13 Toyota Central Res & Dev Lab Inc Device for disposing of exhaust smoke of internal combustion engine
DE3622623A1 (de) * 1986-07-05 1988-01-14 Man Nutzfahrzeuge Gmbh Verfahren und vorrichtung zum beseitigen von in einem abgasfilter einer brennkraftmaschine abgeschiedenem russ
CH675895A5 (ja) * 1987-04-03 1990-11-15 Daimler Benz Ag
DE3723544A1 (de) * 1987-07-16 1989-01-26 Man Technologie Gmbh Elektrostatischer filter zum reinigen von gasen
JPH05222915A (ja) * 1992-02-10 1993-08-31 Nippon Soken Inc 内燃機関の排気ガス浄化装置
US6038854A (en) * 1996-08-19 2000-03-21 The Regents Of The University Of California Plasma regenerated particulate trap and NOx reduction system
JP2001041024A (ja) * 1999-08-02 2001-02-13 Isuzu Ceramics Res Inst Co Ltd 電荷型のディーゼルパティキュレートフィルタ装置
US6660061B2 (en) * 2001-10-26 2003-12-09 Battelle Memorial Institute Vapor purification with self-cleaning filter

Also Published As

Publication number Publication date
EP1669562A1 (en) 2006-06-14
WO2005021940A1 (ja) 2005-03-10
JP2005076497A (ja) 2005-03-24
US20070000236A1 (en) 2007-01-04

Similar Documents

Publication Publication Date Title
JP4339049B2 (ja) 排ガス処理方法及び排ガス処理装置
RU2182850C1 (ru) Устройство для очистки воздуха от пыли и аэрозолей
US8991153B2 (en) Self-regenerating particulate trap systems for emissions and methods thereof
US8771600B2 (en) Electrostatic filter and non-thermal plasma system for air pollution control of hydrocarbon combustion engines
US20140020558A1 (en) Apparatus and method for removal of particulate matter from a gas
JP2008019853A (ja) 内燃機関の排気処理装置
AU2012336492B2 (en) Apparatus with conductive strip for dust removal
EP0083845A1 (en) Process and apparatus for reducing the environment pollution effect of exhaust and other gases
CN103154453B (zh) 用于减少内燃机的废气中的煤烟颗粒的方法和装置
US20060021503A1 (en) Electrostatic precipitator particulate trap with impingement filtering element
JP2006342730A (ja) 内燃機関の排気処理装置
JP4896629B2 (ja) 排気ガス処理装置
Hayashi et al. Collection of diesel exhaust particles using electrostatic charging prior to DPF and regeneration of DPF using sliding discharge
JP2002195618A (ja) 厨房排気装置
JP4345568B2 (ja) 排気処理装置用凝集器
US9333512B2 (en) Electrostatic screen device and method for emission control
RU2525539C1 (ru) Электрофильтр
CN209866326U (zh) 一种高压静电积尘模块烟气排放净化装置
RU81655U1 (ru) Устройство для очистки газов от аэрозольных частиц
WO2024248645A1 (en) Multi-stage filtration device
JP2007255295A (ja) 排気浄化装置
JP3027924U (ja) 電気式集塵機能付エアーフィルタ
HK40026359A (en) Apparatus with conductive strip for dust removal
JP2004332608A (ja) Pm浄化リアクター
JPH01299647A (ja) 多重極電界型静電凝集装置

Legal Events

Date Code Title Description
A521 Request for written amendment filed

Free format text: JAPANESE INTERMEDIATE CODE: A523

Effective date: 20060206

A621 Written request for application examination

Free format text: JAPANESE INTERMEDIATE CODE: A621

Effective date: 20060605

A131 Notification of reasons for refusal

Free format text: JAPANESE INTERMEDIATE CODE: A131

Effective date: 20090303

A521 Request for written amendment filed

Free format text: JAPANESE INTERMEDIATE CODE: A523

Effective date: 20090507

TRDD Decision of grant or rejection written
A01 Written decision to grant a patent or to grant a registration (utility model)

Free format text: JAPANESE INTERMEDIATE CODE: A01

Effective date: 20090623

A01 Written decision to grant a patent or to grant a registration (utility model)

Free format text: JAPANESE INTERMEDIATE CODE: A01

A61 First payment of annual fees (during grant procedure)

Free format text: JAPANESE INTERMEDIATE CODE: A61

Effective date: 20090701

R150 Certificate of patent or registration of utility model

Free format text: JAPANESE INTERMEDIATE CODE: R150

FPAY Renewal fee payment (event date is renewal date of database)

Free format text: PAYMENT UNTIL: 20120710

Year of fee payment: 3

FPAY Renewal fee payment (event date is renewal date of database)

Free format text: PAYMENT UNTIL: 20120710

Year of fee payment: 3

S111 Request for change of ownership or part of ownership

Free format text: JAPANESE INTERMEDIATE CODE: R313117

FPAY Renewal fee payment (event date is renewal date of database)

Free format text: PAYMENT UNTIL: 20120710

Year of fee payment: 3

R360 Written notification for declining of transfer of rights

Free format text: JAPANESE INTERMEDIATE CODE: R360

FPAY Renewal fee payment (event date is renewal date of database)

Free format text: PAYMENT UNTIL: 20120710

Year of fee payment: 3

S111 Request for change of ownership or part of ownership

Free format text: JAPANESE INTERMEDIATE CODE: R313117

FPAY Renewal fee payment (event date is renewal date of database)

Free format text: PAYMENT UNTIL: 20120710

Year of fee payment: 3

R350 Written notification of registration of transfer

Free format text: JAPANESE INTERMEDIATE CODE: R350

FPAY Renewal fee payment (event date is renewal date of database)

Free format text: PAYMENT UNTIL: 20120710

Year of fee payment: 3

FPAY Renewal fee payment (event date is renewal date of database)

Free format text: PAYMENT UNTIL: 20130710

Year of fee payment: 4

R250 Receipt of annual fees

Free format text: JAPANESE INTERMEDIATE CODE: R250

LAPS Cancellation because of no payment of annual fees