JP4335495B2 - 定圧チャンバ、それを用いた照射装置及び回路パターンの検査装置 - Google Patents

定圧チャンバ、それを用いた照射装置及び回路パターンの検査装置 Download PDF

Info

Publication number
JP4335495B2
JP4335495B2 JP2002087678A JP2002087678A JP4335495B2 JP 4335495 B2 JP4335495 B2 JP 4335495B2 JP 2002087678 A JP2002087678 A JP 2002087678A JP 2002087678 A JP2002087678 A JP 2002087678A JP 4335495 B2 JP4335495 B2 JP 4335495B2
Authority
JP
Japan
Prior art keywords
chamber
pressure
constant
sample chamber
sample
Prior art date
Legal status (The legal status is an assumption and is not a legal conclusion. Google has not performed a legal analysis and makes no representation as to the accuracy of the status listed.)
Expired - Fee Related
Application number
JP2002087678A
Other languages
English (en)
Other versions
JP2003282423A (ja
Inventor
真樹 水落
芳雅 福嶋
伸 松井
Current Assignee (The listed assignees may be inaccurate. Google has not performed a legal analysis and makes no representation or warranty as to the accuracy of the list.)
Canon Inc
Hitachi High Tech Corp
Original Assignee
Hitachi High Technologies Corp
Canon Inc
Priority date (The priority date is an assumption and is not a legal conclusion. Google has not performed a legal analysis and makes no representation as to the accuracy of the date listed.)
Filing date
Publication date
Application filed by Hitachi High Technologies Corp, Canon Inc filed Critical Hitachi High Technologies Corp
Priority to JP2002087678A priority Critical patent/JP4335495B2/ja
Publication of JP2003282423A publication Critical patent/JP2003282423A/ja
Application granted granted Critical
Publication of JP4335495B2 publication Critical patent/JP4335495B2/ja
Anticipated expiration legal-status Critical
Expired - Fee Related legal-status Critical Current

Links

Images

Landscapes

  • Length Measuring Devices By Optical Means (AREA)
  • Exposure And Positioning Against Photoresist Photosensitive Materials (AREA)
  • Electron Beam Exposure (AREA)
  • Exposure Of Semiconductors, Excluding Electron Or Ion Beam Exposure (AREA)

Description

【0001】
【発明の属する技術分野】
本発明は、真空室、照射装置、又は回路パターンの検査装置に関する。
【0002】
【従来の技術】
磁気ヘッドや半導体装置の回路パターン、半導体装置に回路パターンを形成するマスク、レチクルなどの回路パターンを製造または検査する装置において、これら試料に荷電粒子線、又は縮小X線(EUV)を照射して回路パターンを製造または検査することが行われている。このとき、荷電粒子線、なかでも電子線は、真空中で使用されることが必須である。
【0003】
また、ステッパ及びスキャナと呼ばれる縮小投影露光装置の光源は回路パターンの微細化に伴い、エキシマレーザより波長の短いX線、縮小X線の使用が検討されており、この縮小X線も真空中,或いは低真空度雰囲気中での使用が必須である。
【0004】
以下、一例として、電子線を用いて試料に回路パターンを描画する電子線描画装置について説明する。
【0005】
電子線描画装置は、超高真空の環境において電子線を発生し、走査することで半導体基盤上、或いはステッパ等の露光装置に用いられるレチクルと呼ばれるガラス基盤上にLSIパターンを形成する装置である。
【0006】
図4に従来の電子線描画装置の構成を示す。
【0007】
図4において、カラム1内で発せられた電子線は、試料室3内のステージ4に載置される試料10に照射される。試料位置はステージ4上のミラー20をレーザ測長することで管理される。レーザは大気中では、空気の揺らぎ及び気圧の変化に影響を受けやすい為、真空中に干渉計21を配置している。
【0008】
また、試料位置はカラム1を基準として測定したい為、カラム1と比較的同期しやすい試料室3の蓋3A下面に取付けている。試料室3は定盤8上に載置され、定盤8は振動絶縁の機能を有するマウント5により支持される。
【0009】
更に、マウント5を保持する本体架台7は、床9に設置されたベース6上に配置される。カラム1はカラム用真空ポンプ50により真空排気され、内部の雰囲気を高真空(例えば10-4Pa以下)に保たれている。また、試料室3は試料室用真空ポンプ40により真空排気され、内部の雰囲気を高真空(例えば10-4Pa台)に保っている。
【0010】
次に、試料10の搬送経路について説明する。
【0011】
試料10は試料室3と隣接する予備排気室30内の搬送装置31によって大気雰囲気である外部から予備排気室30内に搬送され、図示しない真空ポンプにより大気状態から真空状態へ予備排気される。試料室3と同程度の真空度になった時にバルブ32を開き、試料10をステージ4上に搬送する。描画後は逆の経路となり、予備排気室30内で真空から大気へと雰囲気を戻して、外部へと搬送する。
【0012】
上記一連の動作により、試料室3が真空状態のまま試料の搬送が可能となり、スループットの向上が計られている。また、描画中に搬送装置、及びバルブを動作させると、描画精度の劣化に繋がる振動が発生してしまう。このため、試料室3と予備排気室30に低剛性(弾性)の連結部材である予備排気室用ベローズ30Aを介することで振動の絶縁を行い、描画中の搬送動作を可能にしている。また、試料室排気用真空ポンプ40の振動も同様に描画精度に悪影響を及ぼす為、試料室3との間に試料室排気用ベローズ40Aを介している。
【0013】
一方,カラム排気用真空ポンプ50はカラム排気用ベローズ50Aを介して、カラム1に接続されており、定盤8に支持される架台51によって保持されている。
【0014】
電子線描画装置では、前述したように電子線のエネルギー損失を防ぐ為に、電子線の経路を高真空に保つ必要があるが、従来の装置構成では以下のような問題点が挙げられる。
(1)測長誤差の増加
近年の試料、特にウエハは、生産性を向上させる為に大口径化し、1枚当りのチップ取得数を増加させている。この為、試料を移動させるステージのストロークも大きくする必要があり、必然的に試料室も大型化する。これにより、真空負圧を受ける試料室の面積が増加し、従来の装置構成では以下のような誤差要因が増徴される。
【0015】
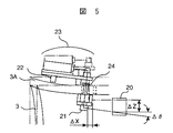
真空負圧により試料室3が変形し、それに伴い試料室3に取付けられている干渉計21,及び光学部品23の位置が変化し,測長誤差を生じてしまう。図5は試料室3の変形によるレーザ光学系の変化を示しており、図6はカラム1を真空排気したときの真空負圧による変形(倒れ)の様子を示しており、以下のような誤差が生じてしまう。
i)干渉計の変位ΔXによる測長誤差
干渉計21がΔX変位すると、カラム基準の試料位置の情報にΔXだけ誤差が加わる。
ii)カラムの変形ΔYによる測長誤差
カラム21がΔY変位すると、カラム基準の試料位置の情報にΔYだけ誤差が加わる。
iii)干渉計の変位ΔZによるアッベ誤差
干渉計21がΔZ変位した状態で、ステージのピッチングがθp生じた場合、下記のような測長誤差を生ずる。
【0016】
ΔZ・sinθp
iv)干渉計の回転Δθによるコサインエラー
干渉計21がΔθ回転すると、下記のような測長誤差を生ずる。
【0017】
L(1−cosΔθ) L:測定長さ
上記の誤差を低減する方法として、試料室の剛性を高くする方法が上げられるが、試料室の質量増加に伴うマウントへの負荷の増加は避けられない。
【0018】
一方、予め誤差を測定して、制御に補正値を与えるなどの校正方法が考えられるが、大気圧は時間と共に変化する為、一定の補正値では校正しきれず、リアルタイムの補正が必要となり、装置のシステムが非常に複雑になる。
【0019】
また,上記i)、及びii)の誤差については、図7のように干渉計21のリファレンス光をカラム1に取付けられたリファレンスミラー25に照射する構造にすることで、低減することが可能であるが、光軸調整は煩雑になり、作業時間が増加する。
(2)マウント特性への影響
予備排気室30、及び試料室排気用真空ポンプ40と試料室3をベローズのような低剛性の連結機構で接続すると真空負圧の影響により、試料室3に対して、見かけ上図8の矢印で示すような、ベローズの面積に比例した圧力が加わる。従って予備排気室用ベローズ30Aに起因する真空負圧と、試料室排気用ベローズ40Aに起因する真空負圧がマウント5に作用する。
【0020】
これらの負荷は、見かけ上、試料室3と予備排気室30、試料室排気用ベローズ40Aとの間に働く圧縮力と見なすことができる。試料の搬送精度を確保するには、搬送装置31とステージ4の相対位置を保持する必要がある為、これらの圧縮力に対して、試料室3を支持するマウント5は打消すような力を発生しなければならない。
【0021】
【発明が解決しようとする課題】
しかし、これらの圧縮力を考慮してマウントを設計する場合、圧縮力による制御特性への影響を把握することは困難である。本課題についての解決策として、実公平1−28669号公報、及び特開2001−210576号公報がある。これらは、予備排気室と試料室を接続するベローズの近傍に、空気バネ等のキャンセル機構を取付け、予備排気室と試料室に働く圧縮力を相殺する方法が開示されている。
【0022】
これらの方法では、直接試料室に対して、キャンセル機構が発生する力が加わり、試料室は歪んでしまう。その結果、試料室内に取付けられる干渉計とカラムに相対変位が生じ、計測器の測長誤差が生ずる。大気圧が一定の場合については、測長誤差を校正可能であるが、前述したように大気圧が変動した場合は、リアルタイムの補正が必要となり、装置のシステムが複雑になるばかりか、また試料に描かれた回路パターンが不正確で試料の歩留まりが悪い。
【0023】
以上のような問題点は電子線描画装置に限られず、電子線を用いた荷電粒子線を真空中で使用する検査装置、或いはX線、縮小X線を用いた露光装置、或いはX線、縮小X線を用いた検査装置においても同様である。
【0024】
本発明の目的は、計測器の測定誤差を是正し、パターンを形成した試料の歩留まりを向上した定圧チャンバ等を提供することである。
【0025】
【課題を解決するための手段】
上記課題に対する解決策として、本発明では、内部が一定な真空圧力を有する試料室を定圧チャンバにより包囲し、定圧チャンバに定圧チャンバ内の圧力を試料室の真空圧力が一定に維持されるように調整するか、或いは大気圧より減圧した圧力で維持する圧力制御手段を設けることを特徴とする。
【0026】
即ち、試料を移動させるステージを内包し、試料位置の測長に使用される干渉計が取付けられ、カラム、或いは投影光学系、或いは反射光学系を支持して、内部を一定の真空圧力に保つ試料室を定圧チャンバにより包囲し、定圧チャンバ内の圧力を試料室内の真空圧力を一定に維持するように調整する圧力制御手段を構成する。
【0027】
或いは、試料を移動させるステージを内包し、試料位置の測長に使用される干渉計が取付けられ、カラム、或いは投影光学系、或いは反射光学系を試料室で支持し、試料室内の真空圧力を真空ポンプにより一定にし、定圧チャンバ内を試料室の真空圧力が一定に維持されるように調整する圧力制御手段を定圧チャンバに設けて構成する。
【0028】
【発明の実施の形態】
以下、本発明の実施形態の理解を容易にするために第1の実施例として図1に示す電子線描画装置の構成から説明する。
【0029】
図1において、ベース6上に定圧チャンバ2が配置され、内部に試料室3を載せた定盤8がマウント5により支持される。試料室3には試料10を載置するステージ4が搭載され、試料室3上方にカラム1を支持している。試料室3には干渉計21が取付けられ、レーザ光学部品23は試料室3に取付けられて構成される。定圧チャンバ2内の圧力は、内壁に取付けられた圧力センサ60の情報を基に、圧力制御手段80により一定の圧力になるよう制御される。
【0030】
圧力制御手段80については、気体排気ポンプ、大気導入用リークバルブ、エアコンプレッサー等の流体用アクチュエータと、圧力センサ60の情報を取込み、フィードバック信号を各アクチュエータに与える制御部により構成される。
【0031】
定圧チャンバ2に取付けられている予備排気室30内には搬送装置31とバルブ32、大気用バルブ33が具備されており、予備排気室用ベローズ30Aを介して試料室3に接続されている。
【0032】
また、定圧チャンバ2に取付けられている試料室排気用真空ポンプ40は、試料室排気用ベローズ40Aを介して試料室3と接続される。試料室3に支持されたカラム1は定圧チャンバ2に包括され、カラム1とカラム排気用真空ポンプ50との間をカラム排気用ベローズ50Aにより連結されている。
【0033】
次に本構成の特徴について説明する。
【0034】
本構造の特徴は、試料室3内の雰囲気と、定圧チャンバ2内の雰囲気と、大気の雰囲気が隔離されていることである。このことにより、従来の構成で問題となった2つの項目(測長誤差、マウント特性への影響)に対して、以下に示す効果が得られる。
【0035】
測長誤差の軽減
本構成では、試料室3に加わる真空負圧は、定圧チャンバ2内の圧力と試料室3内の圧力差、及び試料室3の表面積によって規定される。従って、定圧チャンバ2内の圧力がほぼ大気と同じ大きさ(10000Pa程度)で制御されていると、試料室は従来の構成と同等の変形を生ずる。
【0036】
しかし、圧力制御手段80により定圧チャンバ内の圧力を試料室3の変形を低減するように圧力を制御し、図示しない装置の制御部に測長誤差を見込んだ試料位置の校正を実施する。校正により、校正後は大気圧の変動に関わらず定圧チャンバ2内及び試料室内の圧力は一定に保持される為、カラム1、干渉計21及びレーザ光学部品23等が変形し難くなり、試料10に高精度の描画が可能となる。
【0037】
また、定圧チャンバ2内の圧力を低真空(例えば10Pa程度)に保てば、大気圧(約10000Pa)の1/1000となる為、試料室3、及びカラム1に加わる真空負圧を従来の構成に比べて1/1000に低減できる。従って、装置の制御部に測長誤差を見込んだ試料位置の校正を実施しなくても、試料室3、及びカラム1の変形に起因する測長誤差は大幅に低減される。
【0038】
即ち、測長誤差を大幅に低減できる理由を図2により説明する。図2は縦軸の気圧P(Pa)と横軸の時間Tとの関係を示す特性図である。同図(A)は大気圧P10(1000Pa)の特性図Aであり、同図(B)は試料室3内の真空圧力特性Bであり、同図(C)は定圧チャンバ2内の圧力特性図Cである。
【0039】
時間Tにおいて真空ポンプ50の駆動を開始して、試料室3内の真空引きを開始した開始時間T0から経過するに伴い真空特性Bは一定の真空圧力値P1(10-4Pa)になる。この真空圧力値P1を校正値T1或いは基準値と称する。校正値T1の真空圧力は略一定であるから、試料室3が変形しても一定の変形状態で維持される。圧力制御手段80により、定圧チャンバ内の圧力を試料室3の真空圧力が一定に維持されように調整して、試料室3の一定の変形状態を維持すると共に、校正値T1において、カラム1、干渉計21、レーザ光学部品23等の計測器の基準値として校正をする。
【0040】
この結果、定圧チャンバ内の圧力を試料室3の真空圧力が一定に維持されように調整して、試料室3の一定の変形状態を維持することにより、試料室3の変形は、定圧チャンバを設けた分だけ少なく、試料室3の剛性を小さくしたり、或いは試料室3を薄くしたり、軽くしたり、安くしたりすることができる。また小さい真空圧力値で試料室3の変形を保持するから、変形量は更に小さく、測長誤差が少なくなり、パターンを試料10に正確に描くことができるようになり、パターンを形成した試料の歩留まりが大幅に向上した。
【0041】
更に校正値T1をカラム1、干渉計21、レーザ光学部品23等の計測器の基準値として試料10にパターンを形成できる。パターンの測長誤差が少なくなり、正確にパターンを試料10に描くことできるようになり、更にパターンを形成した試料10の歩留まりが大幅に向上した。
【0042】
また校正値T1を決定したらこれを基準値として使用するので、従来のようにいちいち校正値を変更する必要がなく、計測器等での変更作業がなくなり、測定作業が容易になった。
2)マウントへの負荷軽減
試料室3とベローズ30A,及び40Aにより連通される予備排気室30、及び試料室排気用真空ポンプ40の真空負圧は、試料室3内の圧力と、定圧チャンバ2内の圧力差、及び各ベローズの面積によって規定される。定圧チャンバ2内の圧力が大気圧程度の場合、マウント5に作用する真空負圧は、従来の構成と同程度の大きさである。
【0043】
しかし、定圧チャンバ2内の圧力を大気圧以下に減圧することで、マウント5へ作用する真空負圧の大きさは比例して減少する。例えば、定圧チャンバ内の圧力を試料室3の圧力より低真空(例えば10Pa程度)に保てば、従来の構成に比べて1/1000の真空負圧となり、マウント5の制御特性に殆ど影響を及ぼさないまでに減少する。
【0044】
このような低真空中に使用するマウントについては、受圧媒体、及び制御媒体がエア等の流体を使用するマウントよりも、受圧媒体としては、流体の漏れなどリスクが無いバネ等の機械的な弾性体の方が実装に適している。また、制御媒体としては、機械的なアクチュエータの方が実装容易であり、特に、リニアモータは可動部と固定部が非接触な為、制御性が良い。
【0045】
また、上記2)の改善効果以外では、次のような効果が挙げられる。
【0046】
図5に示す従来の構成においては、カラム排気用真空ポンプ50の振動を直接試料室3に伝えないよう、定盤8に支持される架台51に取付けていた。この場合、ポンプ保持用の架台は大型化し、コストの増加並びに実装スペースの増加などデメリットが多い。
【0047】
従来、試料室に直接真空ポンプを支持したい場合は、イオンポンプのような比較的振動の少ない真空ポンプを採用する必要があった。但し、イオンポンプは排気速度が小さく、カラムを高真空まで立上げる時間が長くなる欠点がある。
【0048】
本発明の構成では試料室3と定圧チャンバ2は、予備排気室用ベローズ30A、及び真空ポンプ用ベローズ40A,50Aにより接続されている為、振動的にほぼ絶縁されている。よって、イオンポンプに限らず、比較的振動も大きいターボ分子ポンプ等も定圧チャンバ2から直接支持することが可能であり、架台製作コストの低減、振動の絶縁、ターボ分子ポンプの使用による立上げ時間の短縮を同時に達成できる。
【0049】
即ち、図2(B)に示すように試料室3内が一定の真空圧力値P1を保持するために、圧力制御手段80により、図2(D)に示すように定圧チャンバ2内の圧力を試料室3の真空圧力値P1を一定に維持するように大気圧P10以下の圧力P2(Pa)に減圧する。
【0050】
そうすると、圧力P2は大気圧P10に比べて、圧力特性Cの変動が少く、圧力制御手段80に使用するポンプでは加圧ポンプを必要とすることなく、減圧ポンプのみを使用すればよいから、圧力制御手段80の構成を簡素化できる。また試料室3と定圧チャンバ2との間を連通するベローズ30A,40Aに加わる応力は大気圧P10を使用した場合に比べて、小さくなった分だけ、ベローズ30A,40Aの寿命を延ばすことができる。圧力P2の値は大気圧P10における値の10分1以下の大きさである。10分1以下であれば、圧力特性の変動が少く減圧ポンプのみでよい。
【0051】
尚、実施例1では電子線描画装置を例にしている為、カラムと表記したが、ステッパ、スキャナ等の装置においては、投影光学系、或いは反射光学系等の電子、光等のエネルギーを照射する装置をカラムと置き換えて考えると同様の効果が得られる。以下、第2の実施例及び第3の実施例についても同様である。
【0052】
次に、図3に示す第2の実施例について説明する。
【0053】
第1の実施例では定圧チャンバ2内の圧力を、大気圧から低真空までの雰囲気を想定していたが、第2の実施例では、低真空以下の雰囲気を想定した構成となっている。
【0054】
以下、定圧チャンバ2を使用した装置について説明する。
【0055】
ベース6上には、定盤8を支持するマウント5が配置され、定盤8上には試料室3が載置される。試料室3には支持台22が取付けられ、支持台22上にはレーザ光学部品23が配置される。また、ベース6上には定圧チャンバ2が支持され、カラム1、マウント5、及び支持台22と各々カラム用ベローズ1A、マウント用ベローズ5A、支持台用ベローズ22Aを介して接続される。定圧チャンバ2は定圧チャンバ用真空ポンプ60により真空排気され、内部は低真空から高真空までの雰囲気に保つことが可能となる。
【0056】
ここで、本構成の特徴について説明する。
【0057】
本構成では、定圧チャンバ2内の圧力を比較的真空度の高い雰囲気に、効率よく保つ為に、定圧チャンバ2内の容積を抑えている。実施例1では、カラム1、マウント5、及びレーザ光学部品23を定圧チャンバ2内に配置していたが、本実施例ではそれらを大気中に配置し、各々ベローズにより定圧チャンバ2と接続することで、内部の圧力を比較的容易に減圧することが出来る。
【0058】
本構成の効果は、定圧チャンバ2内の圧力を低真空以下(例えば1Pa以下)に保てれば良い為、実施例1で説明したような圧力制御手段80の代わりに定圧チャンバ用真空ポンプ60を取付けている。
【0059】
これにより、一定の圧力以下に定圧チャンバ2内の雰囲気を減圧出来れば、真空ポンプをフィードバック制御する必要が無く、測長誤差、及びマウント特性への影響を大幅に低減可能なことである。
【0060】
但し、カラム1、マウント5、及びレーザ光学部品23は大気中にある為、定圧チャンバ2と接続されるカラム用ベローズ1A、マウント用ベローズ5A、及び支持台用ベローズ22Aの面積分だけ、真空負圧が試料室3に加わる。よって、試料室の変形を小さくするには、各ベローズの面積を出来るだけ小さくする必要がある。また、カラム排気用真空ポンプ50によるカラム1への真空負圧は、従来の構成と同じである為、カラムの変形(倒れ)を抑える為には、カラムと試料室の取付け部の剛性を高くする必要がある。
【0061】
一方、マウント5については、大気中にある為、受圧媒体、及びアクチュエータには制約が無く、エア等の流体を使用できる。
【0062】
第3の実施例については、試料室で試料を1個又は少数個を実験等で使用する場合には、試料室を定圧チャンバで包囲し、試料室と定圧チャンバとの間に設けたベローズにより試料を供給及び排出するか、予め試料室内に試料を配置しておいても良い。
【0063】
このように、本発明の実施例では、カラムは試料に電子線,光,レーザ等のエネルギーを照射する照射装置である。照射装置として例えば前述の電子線描画装置、レーザ加工装置、露光装置である。この装置は高精度な露光、又は検査が可能である。また試料室で試料を1個又は少数個を実験等で使用する場合には、予備排気室は必ずしも必要としない。
【0064】
【発明の効果】
以上のように、本発明によれば、定圧チャンバ内の圧力を試料室の真空圧力が一定に維持されように調整して、試料室の一定の変形状態を維持することができる。これにより、試料室3の変形が少ないだけ、パターンを試料に正確に描くことができるようになり、パターンを形成した試料の歩留まりが大幅に向上する。更に、校正値を基準値として使用するので、計測器等での校正作業が容易になった。
【図面の簡単な説明】
【図1】本発明の実施例1に係わる定圧チャンバを使用した電子線描画装置の側面図。
【図2】図1の電子線描画装置における圧力と時間の関係を示す圧力特性図。
【図3】本発明の実施例2に係わる定圧チャンバを使用した電子線描画装置の側面図。
【図4】従来例の電子線描画装置を示す側面図。
【図5】図4の電子線描画装置における問題点を示す説明図。
【図6】図4の電子線描画装置における問題点を示す説明図。
【図7】図4の電子線描画装置における問題点を示す説明図。
【図8】従来例の試料室を使用した電子線描画装置の側面図。
【符号の説明】
1…カラム、1A…カラム排気用ベローズ、2…定圧チャンバ、3…試料室、3A…蓋、4…ステージ、5…マウント、5A…マウント用ベローズ、6…ベース、7…本体架台、8…定盤、9…床、10…試料、20…ミラー、21…干渉計、22…支持台、22A…支持台用ベローズ、23…レーザ光学部品、24…透過ガラス、25…リファレンスミラー、30…予備排気室、30A…予備排気室用ベローズ、31…搬送装置、32…バルブ、33…大気バルブ、34…予備排気室用架台、40…試料室排気用真空ポンプ、40A…試料室排気用ベローズ、41…配管、50…カラム排気用真空ポンプ、50A…カラム排気用ベローズ、51…架台、60…圧力センサ、70…真空ポンプ用架台、80…圧力制御手段。

Claims (10)

  1. 試料室を包囲する定圧チャンバと、前記試料室内を一定の真空圧力にする真空ポンプと、前記定圧チャンバに設けたこの内部の圧力を前記試料室内の真空圧力が一定に維持されるように調整する圧力制御手段と前記試料室を載置すると共に定圧チャンバに包囲された定盤と、前記定盤を支持し、且つ定圧チャンバより大気中に延びるマウントとを備え、マウント端部と定圧チャンバとの間に弾性の連結機構を設け、この連結機構を介して前記マウント端部と定圧チャンバとを接続し、前記連結機構内を気密に保持していることを特徴とする定圧チャンバ及びそれを用いた照射装置。
  2. 請求項1において、前記定盤と前記マウントとの間に、前記マウントにかかる圧力を受ける受圧媒体として機械的弾性体を設けることを特徴とする定圧チャンバ及びそれを用いた照射装置。
  3. 請求項1において、前記定盤とマウントとの間に固定部と可動部とを有するリニアモータを設けることを特徴とする定圧チャンバ及びそれを用いた照射装置。
  4. 請求項1において、前記カラム、或いは投影光学系、或いは反射光学系の排気経路を弾性の連結機構を介して連結していることを特徴とする定圧チャンバ及びそれを用いた照射装置。
  5. 試料室を包囲する定圧チャンバと、前記試料室内を一定の真空圧力にする真空ポンプと、前記定圧チャンバに設けたこの内部の圧力を前記試料室内の真空圧力が一定に維持されるように調整する圧力制御手段とを備え、前記試料室に支持され、かつ定圧チャンバの外側に光学系部品及びカラムを配置し、前記カラム及び光学系部品と定圧チャンバとの間を弾性の連結機構で接続し、この連結機構の内側を気密に保持していることを特徴とする定圧チャンバ及びそれを用いた照射装置。
  6. 試料室を包囲する定圧チャンバと、前記試料室内を一定の真空圧力にする真空ポンプと、前記定圧チャンバに設けたこの内部の圧力を前記試料室内の真空圧力が一定に維持されるように調整する圧力制御手段とを備え、大気雰囲気中に配置されるレーザ光学部品を前記試料室により支持部材を支持し、この支持部材を包囲すると共に、前記試料室と定圧チャンバとの間に弾性の連結機構を設け、定圧チャンバ内を気密に維持することを特徴とする定圧チャンバ及びそれを用いた照射装置。
  7. 試料室を包囲する定圧チャンバと、前記試料室内を一定の真空圧力にする真空ポンプと、前記定圧チャンバに設けたこの内部の圧力を前記試料室内の真空圧力が一定に維持されるように調整する圧力制御手段とを備え、前記定圧チャンバと前記試料室との間を弾性の連結機構で連結し、この連結機構内に定圧チャンバと前記試料室との間を連通する試料搬送経路及び試料室排気経路であることを特徴とする定圧チャンバ及びそれを用いた照射装置。
  8. 試料室を包囲する定圧チャンバと、前記試料室内を一定の真空圧力にする真空ポンプと、前記定圧チャンバに設けたこの内部の圧力を前記試料室内の真空圧力が一定に維持されるように調整する圧力制御手段とを備え、前記試料室と予備室との間を弾性の連結機構により連通し、この連通穴が試料搬送経路及び試料室排気経路であることを特徴とする定圧チャンバ及びそれを用いた照射装置。
  9. 試料室を包囲する定圧チャンバと、前記試料室内を一定の真空圧力にする真空ポンプと、前記定圧チャンバに設けたこの内部の圧力を前記試料室内の真空圧力が一定に維持されるように調整する圧力制御手段とを備え、前記試料に電子線を照射する装置を有するカラム内を真空にする真空ポンプを定圧チャンバに支持し、カラムと真空ポンプとの間に低剛性の連結機構を設けることを特徴とする定圧チャンバ及びそれを用いた照射装置。
  10. 試料室を包囲する定圧チャンバと、前記試料室内を一定の真空圧力にする真空ポンプと、前記定圧チャンバに設けたこの内部の圧力を前記試料室内の真空圧力が一定に維持されるように調整する圧力制御手段とを備え、前記定圧チャンバ内の圧力によって内部の真空圧力を一定に維持された試料室、又は前記定圧チャンバ内の圧力を大気圧以下の圧力に減圧された圧力によって内部の真空圧力を一定に維持された試料室であって、前記試料室内の試料に荷電粒子線、X線、及び縮小X線(EUV)等を照射し、回路パターンの性能を検査する装置であることを特徴とする回路パターンの検査装置。
JP2002087678A 2002-03-27 2002-03-27 定圧チャンバ、それを用いた照射装置及び回路パターンの検査装置 Expired - Fee Related JP4335495B2 (ja)

Priority Applications (1)

Application Number Priority Date Filing Date Title
JP2002087678A JP4335495B2 (ja) 2002-03-27 2002-03-27 定圧チャンバ、それを用いた照射装置及び回路パターンの検査装置

Applications Claiming Priority (1)

Application Number Priority Date Filing Date Title
JP2002087678A JP4335495B2 (ja) 2002-03-27 2002-03-27 定圧チャンバ、それを用いた照射装置及び回路パターンの検査装置

Publications (2)

Publication Number Publication Date
JP2003282423A JP2003282423A (ja) 2003-10-03
JP4335495B2 true JP4335495B2 (ja) 2009-09-30

Family

ID=29233783

Family Applications (1)

Application Number Title Priority Date Filing Date
JP2002087678A Expired - Fee Related JP4335495B2 (ja) 2002-03-27 2002-03-27 定圧チャンバ、それを用いた照射装置及び回路パターンの検査装置

Country Status (1)

Country Link
JP (1) JP4335495B2 (ja)

Families Citing this family (17)

* Cited by examiner, † Cited by third party
Publication number Priority date Publication date Assignee Title
WO2004090952A1 (ja) 2003-04-09 2004-10-21 Nikon Corporation 露光方法及び装置、並びにデバイス製造方法
JP4370924B2 (ja) 2003-08-27 2009-11-25 株式会社ニコン 真空装置、真空装置の運転方法、露光装置、及び露光装置の運転方法
TWI360158B (en) 2003-10-28 2012-03-11 Nikon Corp Projection exposure device,exposure method and dev
TWI519819B (zh) 2003-11-20 2016-02-01 尼康股份有限公司 光束變換元件、光學照明裝置、曝光裝置、以及曝光方法
TW201809727A (zh) 2004-02-06 2018-03-16 日商尼康股份有限公司 偏光變換元件
JP4547997B2 (ja) * 2004-06-04 2010-09-22 株式会社ニコン 真空容器、露光装置、及び検査装置
JP2006261212A (ja) * 2005-03-15 2006-09-28 Nikon Corp 露光装置
KR101544336B1 (ko) 2005-05-12 2015-08-12 가부시키가이샤 니콘 투영 광학계, 노광 장치 및 노광 방법
JP5267029B2 (ja) 2007-10-12 2013-08-21 株式会社ニコン 照明光学装置、露光装置及びデバイスの製造方法
US8379187B2 (en) 2007-10-24 2013-02-19 Nikon Corporation Optical unit, illumination optical apparatus, exposure apparatus, and device manufacturing method
US9116346B2 (en) 2007-11-06 2015-08-25 Nikon Corporation Illumination apparatus, illumination method, exposure apparatus, and device manufacturing method
JP5305701B2 (ja) * 2008-03-21 2013-10-02 株式会社アドバンテスト 電子ビーム露光装置及び電子ビーム露光方法
JP5539113B2 (ja) * 2010-08-30 2014-07-02 キヤノン株式会社 インプリント装置及び物品の製造方法
JP5864934B2 (ja) * 2011-07-21 2016-02-17 キヤノン株式会社 インプリントシステム及び物品の製造方法
JP2014075520A (ja) * 2012-10-05 2014-04-24 Nuflare Technology Inc 荷電粒子ビーム描画装置
JP6170694B2 (ja) 2013-03-06 2017-07-26 株式会社荏原製作所 測長計の設置構造
JP6271852B2 (ja) 2013-03-29 2018-01-31 株式会社荏原製作所 電子線応用装置の鏡筒部へ真空ポンプを接続する真空ポンプ用接続装置、及び該接続装置の設置方法

Also Published As

Publication number Publication date
JP2003282423A (ja) 2003-10-03

Similar Documents

Publication Publication Date Title
JP4335495B2 (ja) 定圧チャンバ、それを用いた照射装置及び回路パターンの検査装置
JP2770960B2 (ja) Sor−x線露光装置
US7230257B2 (en) Electron beam exposure apparatus
US6406245B2 (en) Processing system and device manufacturing method using the same
JP5273522B2 (ja) 露光装置及びデバイスの製造方法
JP2004031954A (ja) 収差補正システム、収差補正方法、変形レチクルチャック及びeuv露光装置
US20020126269A1 (en) Gas replacement method and apparatus, and exposure method and apparatus
JP7152602B2 (ja) 接合装置、接合システム及び接合方法
WO2008041575A1 (en) Stage device and exposure device
EP2449431A1 (en) Projection optical system, exposure apparatus, and assembly method thereof
JP7182703B2 (ja) 接合装置、接合システム及び接合方法
JP4205390B2 (ja) 露光装置及びデバイス製造方法
JP4348734B2 (ja) 基板保持装置及び露光装置、並びにデバイス製造方法
JP3445257B2 (ja) 処理システム及びこれを用いた露光装置およびデバイス製造方法
JP2005277117A (ja) 基板保持装置、露光方法及び装置、並びにデバイス製造方法
JP4074224B2 (ja) 真空装置及び電子ビーム近接露光装置
JP4655433B2 (ja) 減圧雰囲気下処理装置、エネルギビーム照射装置及び露光装置
JP2003229350A (ja) ステージ装置及び露光装置
JP2001267200A (ja) ガス置換方法及び装置、並びに露光方法及び装置
JP7581146B2 (ja) チャック、基板保持装置、基板処理装置、及び物品の製造方法
JP3308967B2 (ja) 処理システム及びデバイス製造方法
JP4291188B2 (ja) 搬送装置、回路パターンの製造装置、及び回路パターンの検査装置
JP2008147280A (ja) 露光装置
JP2001044109A (ja) 露光装置
JPH06275494A (ja) 縮小投影露光装置

Legal Events

Date Code Title Description
A621 Written request for application examination

Free format text: JAPANESE INTERMEDIATE CODE: A621

Effective date: 20050311

A977 Report on retrieval

Free format text: JAPANESE INTERMEDIATE CODE: A971007

Effective date: 20070221

RD02 Notification of acceptance of power of attorney

Free format text: JAPANESE INTERMEDIATE CODE: A7422

Effective date: 20070418

A131 Notification of reasons for refusal

Free format text: JAPANESE INTERMEDIATE CODE: A131

Effective date: 20080408

A521 Request for written amendment filed

Free format text: JAPANESE INTERMEDIATE CODE: A523

Effective date: 20080603

A131 Notification of reasons for refusal

Free format text: JAPANESE INTERMEDIATE CODE: A131

Effective date: 20081224

A521 Request for written amendment filed

Free format text: JAPANESE INTERMEDIATE CODE: A523

Effective date: 20090206

TRDD Decision of grant or rejection written
A01 Written decision to grant a patent or to grant a registration (utility model)

Free format text: JAPANESE INTERMEDIATE CODE: A01

Effective date: 20090623

A01 Written decision to grant a patent or to grant a registration (utility model)

Free format text: JAPANESE INTERMEDIATE CODE: A01

A61 First payment of annual fees (during grant procedure)

Free format text: JAPANESE INTERMEDIATE CODE: A61

Effective date: 20090625

FPAY Renewal fee payment (event date is renewal date of database)

Free format text: PAYMENT UNTIL: 20120703

Year of fee payment: 3

R150 Certificate of patent or registration of utility model

Free format text: JAPANESE INTERMEDIATE CODE: R150

FPAY Renewal fee payment (event date is renewal date of database)

Free format text: PAYMENT UNTIL: 20130703

Year of fee payment: 4

LAPS Cancellation because of no payment of annual fees