JP4222652B2 - 注出口とキャップとの組合体、および注出口 - Google Patents

注出口とキャップとの組合体、および注出口 Download PDF

Info

Publication number
JP4222652B2
JP4222652B2 JP35810797A JP35810797A JP4222652B2 JP 4222652 B2 JP4222652 B2 JP 4222652B2 JP 35810797 A JP35810797 A JP 35810797A JP 35810797 A JP35810797 A JP 35810797A JP 4222652 B2 JP4222652 B2 JP 4222652B2
Authority
JP
Japan
Prior art keywords
spout
ring
cap
ratchet
cap body
Prior art date
Legal status (The legal status is an assumption and is not a legal conclusion. Google has not performed a legal analysis and makes no representation as to the accuracy of the status listed.)
Expired - Fee Related
Application number
JP35810797A
Other languages
English (en)
Other versions
JPH11189255A (ja
Inventor
田 克 巳 亀
Current Assignee (The listed assignees may be inaccurate. Google has not performed a legal analysis and makes no representation or warranty as to the accuracy of the list.)
Dai Nippon Printing Co Ltd
Original Assignee
Dai Nippon Printing Co Ltd
Priority date (The priority date is an assumption and is not a legal conclusion. Google has not performed a legal analysis and makes no representation as to the accuracy of the date listed.)
Filing date
Publication date
Application filed by Dai Nippon Printing Co Ltd filed Critical Dai Nippon Printing Co Ltd
Priority to JP35810797A priority Critical patent/JP4222652B2/ja
Publication of JPH11189255A publication Critical patent/JPH11189255A/ja
Application granted granted Critical
Publication of JP4222652B2 publication Critical patent/JP4222652B2/ja
Anticipated expiration legal-status Critical
Expired - Fee Related legal-status Critical Current

Links

Images

Landscapes

  • Closures For Containers (AREA)

Description

【0001】
【発明の属する技術分野】
本発明は注出口とキャップとの組合体、および注出口に係り、とりわけ注出口からキャップを取外したことを容易に確認することができる注出口とキャップとの組合体、および注出口に関する。
【0002】
【従来の技術】
従来より、例えば飲料水を内部に収納した柔軟容器に、注出口が取付けられており、この注出口にはキャップがねじ込まれて装着される。この場合、キャップはキャップ本体と、キャップ本件に薄肉部を介して連結されたリングとを有している。
【0003】
キャップを注出口から取外す場合、キャップのリングが注出口に固定され、キャップ本体とリングとが分離されキャップ本体のみが注出口から取外される。
【0004】
このようにキャップ取外時に、キャップ本体とリングとが分離されて、外方よりキャップ取外しを確認することができる。
【0005】
【発明が解決しようとする課題】
上述のようにキャップを注出口から取外す場合、キャップ本体とリングとが分離してキャップ本体のみが注出口から取外され、リングは注出口側へ残る。
【0006】
使用者が飲料水を注出口から飲む場合は、容器を引繰り返し注出口を使用者の口にあてて飲むことになる。この際、注出口に残ったリングが落下して、使用者の口に当たり飲みにくくなることがある。
【0007】
本発明はこのような点を考慮してなされたものであり、使用時において容器を引繰り返しても注出口に残ったリングが使用者の口に当接することのない注出口とキャップとの組合体、および注出口を提供することを目的とする。
【0008】
【課題を解決するための手段】
本発明は、フランジから外方へ突出するとともに、おねじを有する円筒状注出口と、注出口のおねじに係合するめねじを有し、注出口に装着された円筒状キャップとを備え、キャップはキャップ本体と、キャップ本体に薄肉部を介して破断可能に連結されるとともに注出口に沿って摺動可能なリングとを有し、リング内面の下端に円周突部が設けられるとともに、その上端に所定間隙をおいて複数のリングラチェットが設けられ、注出口外面には注出口からキャップを取外す際、円周方向においてリングラチェットに係合する複数の注出口ラチェットと、軸方向において円周突部に係合する止め部が所定間隔をおいて複数設けられ、注出口からキャップを取外す際に注出口ラチェットとリングラチェットが係合する場合、リングに設けられたリングラチェットは、注出口に設けられた止め部および注出口ラチェットと円周方向に関してずれて配置され、キャップを注出口に対して回転させて注出口ラチェットとリングラチェットとが係合することによりリングがキャップ本体から破断した際、リングがフランジ側に落下することを特徴とする注出口とキャップとの組合体、および
円周方向においてキャップのリングラチェットに係合する複数の注出口ラチェットと、軸方向においてキャップの円周突部に係合する止め部とが外面に設けられたことを特徴とする、上記記載の注出口とキャップとの組合体を構成する注出口である。
【0009】
本発明によれば、キャップを取外す際、注出口に対してキャップのキャップ本体を緩める方向に回転させる。この場合、注出口側の注出口ラチェットとリング側のリングラチェットとが係合し、リングが注出口に係止される。更にキャップ本体を回転させると、リングとキャップ本体との間に設けられた薄肉部が破断し、リングとキャップ本体とが分離する。キャップ本体から分離したリングはその自重で注出口を摺動しながら落下する。注出口を引繰り返すと、リングの円周突部が注出口側の止め部に係合し、リングが注出口先端側へ落下することが防止される。
【0010】
【発明の実施の形態】
以下、図面を参照して本発明の実施の形態について説明する。
図1乃至図5は本発明の実施の形態を示す図である。
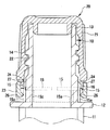
図1乃至図5に示すように、注出口とキャップとの組合体は、円筒状注出口10と、この注出口10に装着されるキャップ20とを備えている。
【0011】
このうち注出口10はフランジ12を境として図示しない容器内側へ延びる内側筒部11と、容器外側へ延びる外側筒部13とを有している。また外側筒部13の外面にはおねじ14が設けられている。
【0012】
一方、キャップ20は、外側筒部13のおねじ14に係合するめねじ22が内面に設けられたキャップ本体21と、キャップ本体21に薄肉部24を介して連結されたリング23とを有している。
【0013】
また図1および図2に示すように、リング23の下端には、内方へ突出する円周突部26が円周状に設けられており、またリング23の上端には、所定間隙をおいて複数、例えば4個のリングラチェット27が設けられている。
【0014】
なお、図1および図2に示すように、キャップ本体21とリング23との間に設けられた薄肉部24は、薄肉の柱状となっている。本実施の形態においては図1および図2に示すように、柱状薄肉部24はキャップ本体21とリング23のリングラチェット27の間に延びるとともに、円周方向に所定間隔をおいて複数(例えば4個)設けられている。また各柱状薄肉部24は、キャップ本体21からリングラチェット27側に向って先細状に形成され、水平断面が略半円形の三日月形をしている。このため柱状薄肉部24においてキャップ本体21とリング23とは容易に破断可能となっており、このとき薄肉部21の破断箇所はリング23のリングラチェット27側に位置するようになっている。
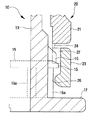
【0015】
次に注出口10について、図1乃至図4により更に詳述する。図1乃至図4に示すように、注出口10の外側筒部13の外面には、リング23のリングラチェット27と円周方向において係合する注出口ラチェット16が円周方向に所定間隔において複数(例えば4個)設けられている(図4参照)。すなわち注出口10の注出口ラチェット16とリング23のリングラチェット27は、注出口10に装着されたキャップ20を取外す際互いに係合し、キャップ20のうちリング23を注出口10に残したままキャップ本体21のみを薄肉部24を介してリング23から分離して取外すためのものである。
【0016】
また、図4に示すように注出口10の外側筒部13の外面には、注出口ラチェット16より下方側にリング23の円周突部26と軸方向において係合する止め部15が円周方向に所定間隔をおいて複数(例えば4個)設けられている。この止め部15は、使用時にキャップ本体21とリング23とを薄肉部24を介して破断し、容器および注出口10を引繰り返して注出口10から容器内の内容物を飲む場合、リング23の円周突部26に係合してリング23の落下を防止するものである。また図4に示すように注出口ラチェット16と止め部15は、共に円周方向に関して所定間隔において配置されている。
【0017】
また、注出口10の外側筒部13外面に設けられた止め部15の下部には、フランジ12側へ延びる突起15aが各止め部15に複数(例えば2個)設けられている。この突起15aはキャップ本体21から分離したリング23をガタつくことなく、注出口10の外側筒部13外面に保持するものである。
【0018】
なお、図3に示すように、注出口10に装着されたキャップ20を取外す際に注出口ラチェット16とリングラチェット27が係合した場合、リング23側のリングラチェット27と、注出口10側の止め部15とは円周方向に関して互いにずれて配置されている。このためキャップ本体21とリング23とを分離した場合、リング23がスムーズに注出口10のフランジ12側へ落下するようになっている。
【0019】
また、図5に示すように、キャップ20のキャップ本体21とリング23に、キャップ20を注出口10にねじ込む際互いに係合する係合突起21a、23aが円周方向に関して相対向する位置に各々設けられている。
【0020】
このような係合突起21a、23aによって、キャップ20を注出口10にねじ込む際、薄肉部24が破断することを未然に防止することができる。
【0021】
次にこのような構成からなる本実施の形態の作用について説明する。
【0022】
まず、図示しない容器内面に対して注出口10の内側筒部11外面がヒートシールされ、このようにして注出口10が容器に取付けられる。
【0023】
次に注出口10から容器内に飲料水等の内容物が充てんされ、その後注出口10側のおねじ14とキャップ20側のめねじ22とを係合させて注出口10にキャップ20がねじ込まれ、キャップ20が注出口10のフランジ12側へ接近する。その後注出口10側の注出口ラチェット16上をキャップ20側のリングラチェット27が乗り越えて、キャップ20が注出口10に対して確実に装着される。注出口10へキャップ20をねじ込む場合、上述のように、キャップ本体21の係合突起21aとリング23の係合突起23aが係合するので、キャップ本体21とリング23との間に設けられた薄肉部24が破断することはない。
【0024】
使用に際しては、まず使用者がキャップ20のキャップ本体21を把持し、キャップ20を注出口10から緩める方向(ねじ込み方向と逆方向)に回転させる。この場合、注出口10側の注出口ラチェット16とキャップ20側のリングラチェット27とが円周方向において係合し、リング23が注出口10側に係止される。このため、キャップ本体21のみが注出口10から緩める方向に回転し、キャップ本体21とリング23との間の薄肉部24が破断してキャップ本体21とリング23とが分離する。
【0025】
上述のように薄肉部24はリング23のリングラチェット27側へ向って先細状となる柱形状を有しているので、薄肉部24はリング23のリングラチェット27側において破断する。このためリング23のキャップ本体21側の面に薄肉部24の破断端が残ることはない。
【0026】
更にキャップ本体21を注出口10に対して緩める方向に回転させることによって、注出口10側のおねじ14と、キャップ本体21側のめねじ22との係合が解除してキャップ本体21のみが注出口10から取外される。
【0027】
この間、キャップ本体21から分離したリング23は、その自重により注出口10の外側筒部13に沿って摺動しながらフランジ12側へ落下する。この場合、リング23のリングラチェット27は、注出口10側の止め部15および注出口ラチェット16のいずれとも円周方向に関して所定間隔をおいて配置されているため、リング23はその自重によってスムーズにフランジ12側へ落下することができる。また注出口10側には止め部15から延びる突起15aが設けられているので、リング23がフランジ12側へ落下する際リング23内面がこの突起15aにガイドされることになる。このためリング23の落下時にリング23が注出口10外周においてガタついて外れることはない。
【0028】
次に使用者は注出口10を容器ごと引繰り返し、注出口10を口にあてて内容物を注出口10から飲みほす。この場合、リング23の円周突部26が注出口10の止め部15に係合するので、容器を引繰り返した場合にリング23が注出口10の先端から使用者の口側へ落下してしまうことはない。また薄肉部24はリング23のリングラチェット27側において破断するので、リング23側に薄肉部24の破断端が残ることはない。このため使用者が注出口10を口にあてた場合でも、リング23に残った薄肉部24の破断端が口部に当接するということはない。
【0029】
その後使用者は、容器を注出口10が上方を向く元の状態まで戻し、次に注出口10に対してキャップ本体21を再度装着する。この場合、キャップ20はキャップ本体21とリング23とが分離した状態となっているので、外部からキャップ20を一度取外したことを容易に認識することができる。
【0030】
【発明の効果】
以上のように本発明によれば、キャップのキャップ本体を緩める方向に回転させると、注出側の注出口ラチェットとリング側のリングラチェットが係合し、その後薄肉部が破断してリングとキャップ本体とが分離する。分離したリングは注出口を摺動しながら落下する。この後キャップ本体を再度注出口に装着した場合、キャップ本体とリングとが分離しているので、外部からキャップを一度取外した事実を確認することができる。また使用時に注出口を引繰り返した場合、リングの円周突部は注出口側の止め部に係合するので、リングが注出口先端側へ落下することはない。このため、使用時に注出口を引繰り返しても、リングが邪魔になることはない。
【図面の簡単な説明】
【図1】本発明による注出口とキャップとの組合体を示す側断面図。
【図2】注出口側の注出口ラチェットおよび止め部と、キャップ側のキャップラチェットおよび円周突部を示す拡大側断面図。
【図3】注出口とキャップのリング部分を示す断面図。
【図4】注出口を示す斜視図。
【図5】キャップを示す斜視図。
【符号の説明】
10 注出口
11 内側筒部
12 フランジ
13 外側筒部
15 止め部
16 注出口ラチェット
20 キャップ
21 キャップ本体
23 リング
24 薄肉部
26 円周突部
27 リングラチェット

Claims (1)

  1. フランジから外方へ突出するとともに、おねじを有する円筒状注出口と、
    注出口のおねじに係合するめねじを有し、注出口に装着された円筒状キャップとを備え、
    キャップはキャップ本体と、キャップ本体に薄肉部を介して破断可能に連結されるとともに注出口に沿って摺動可能なリングとを有し、
    リング内面の下端に円周突部が設けられるとともに、その上端に所定間隙をおいて複数のリングラチェットが設けられ、
    注出口外面には注出口からキャップを取外す際、円周方向においてリングラチェットに係合する複数の注出口ラチェットと、軸方向において円周突部に係合する止め部が所定間隔をおいて複数設けられ、
    注出口からキャップを取外す際に注出口ラチェットとリングラチェットが係合する場合、リングに設けられたリングラチェットは、注出口に設けられた止め部および注出口ラチェットと円周方向に関してずれて配置され、キャップを注出口に対して回転させて注出口ラチェットとリングラチェットとが係合することによりリングがキャップ本体から破断した際、リングがフランジ側に落下することを特徴とする注出口とキャップとの組合体。
JP35810797A 1997-12-25 1997-12-25 注出口とキャップとの組合体、および注出口 Expired - Fee Related JP4222652B2 (ja)

Priority Applications (1)

Application Number Priority Date Filing Date Title
JP35810797A JP4222652B2 (ja) 1997-12-25 1997-12-25 注出口とキャップとの組合体、および注出口

Applications Claiming Priority (1)

Application Number Priority Date Filing Date Title
JP35810797A JP4222652B2 (ja) 1997-12-25 1997-12-25 注出口とキャップとの組合体、および注出口

Publications (2)

Publication Number Publication Date
JPH11189255A JPH11189255A (ja) 1999-07-13
JP4222652B2 true JP4222652B2 (ja) 2009-02-12

Family

ID=18457586

Family Applications (1)

Application Number Title Priority Date Filing Date
JP35810797A Expired - Fee Related JP4222652B2 (ja) 1997-12-25 1997-12-25 注出口とキャップとの組合体、および注出口

Country Status (1)

Country Link
JP (1) JP4222652B2 (ja)

Families Citing this family (4)

* Cited by examiner, † Cited by third party
Publication number Priority date Publication date Assignee Title
JP2001130608A (ja) * 1999-11-08 2001-05-15 Fujimori Kogyo Co Ltd 改ざん防止用クロージャー構造及びバッグインボックス内容器
JP2002177388A (ja) * 2000-12-15 2002-06-25 Daikyo Seiko Ltd 医薬・医療用既充填注射器
DE102020130311A1 (de) * 2020-11-17 2022-05-19 Bericap Holding Gmbh Verschlusskappe und Behälter mit Behälterhals für Ablöse-Sicherung des Garantiebandes
JP7796385B2 (ja) * 2022-03-30 2026-01-09 大日本印刷株式会社 カートン用注出口

Also Published As

Publication number Publication date
JPH11189255A (ja) 1999-07-13

Similar Documents

Publication Publication Date Title
US4541536A (en) Tamper-resistant container assembly
US4330067A (en) Container closure with childproof lock and original package seal
US10689158B2 (en) Closure
JP6410652B2 (ja) 中栓付きヒンジキャップ
KR101221795B1 (ko) 측면 가압식 안전캡
JP4222652B2 (ja) 注出口とキャップとの組合体、および注出口
JP6050993B2 (ja) オーバーキャップ付き注出容器
JP4454202B2 (ja) 紙製容器用の注出具
JP2598488Y2 (ja) ビン体用中栓
JP5700433B2 (ja) 容器
JP5984636B2 (ja) 中栓と蓋本体とから構成された容器蓋
JP4408314B2 (ja) 注出口とキャップとの組合体
JP4156888B2 (ja) 副容器を備えた容器蓋
JPH11189254A (ja) 注出口とキャップとの組合体、および注出口
JP4500557B2 (ja) キャップ
JP3896521B2 (ja) 分別キャップ付き容器
JPH11189256A (ja) 注出口とキャップとの組合体、およびキャップ
JP4672938B2 (ja) 複合容器蓋
JP2005206185A (ja) 液状物収納容器
JP6971172B2 (ja) 注出容器
JP2002225899A (ja) 分別キャップ付き容器
JP4663082B2 (ja) 打栓式合成樹脂製容器蓋
JP7066262B2 (ja) 中栓付きボトル
JP2008030823A (ja) 合成樹脂製のピルファープルーフキャップ
JP4993591B2 (ja) 容器蓋

Legal Events

Date Code Title Description
A621 Written request for application examination

Free format text: JAPANESE INTERMEDIATE CODE: A621

Effective date: 20041122

A977 Report on retrieval

Free format text: JAPANESE INTERMEDIATE CODE: A971007

Effective date: 20070417

A131 Notification of reasons for refusal

Free format text: JAPANESE INTERMEDIATE CODE: A131

Effective date: 20070424

A521 Written amendment

Free format text: JAPANESE INTERMEDIATE CODE: A523

Effective date: 20070531

A131 Notification of reasons for refusal

Free format text: JAPANESE INTERMEDIATE CODE: A131

Effective date: 20080404

A521 Written amendment

Free format text: JAPANESE INTERMEDIATE CODE: A523

Effective date: 20080527

TRDD Decision of grant or rejection written
A01 Written decision to grant a patent or to grant a registration (utility model)

Free format text: JAPANESE INTERMEDIATE CODE: A01

Effective date: 20081107

A01 Written decision to grant a patent or to grant a registration (utility model)

Free format text: JAPANESE INTERMEDIATE CODE: A01

A61 First payment of annual fees (during grant procedure)

Free format text: JAPANESE INTERMEDIATE CODE: A61

Effective date: 20081118

R150 Certificate of patent or registration of utility model

Free format text: JAPANESE INTERMEDIATE CODE: R150

FPAY Renewal fee payment (event date is renewal date of database)

Free format text: PAYMENT UNTIL: 20111128

Year of fee payment: 3

FPAY Renewal fee payment (event date is renewal date of database)

Free format text: PAYMENT UNTIL: 20121128

Year of fee payment: 4

FPAY Renewal fee payment (event date is renewal date of database)

Free format text: PAYMENT UNTIL: 20131128

Year of fee payment: 5

LAPS Cancellation because of no payment of annual fees