JP4219829B2 - グロメット取付方法 - Google Patents

グロメット取付方法 Download PDF

Info

Publication number
JP4219829B2
JP4219829B2 JP2004041581A JP2004041581A JP4219829B2 JP 4219829 B2 JP4219829 B2 JP 4219829B2 JP 2004041581 A JP2004041581 A JP 2004041581A JP 2004041581 A JP2004041581 A JP 2004041581A JP 4219829 B2 JP4219829 B2 JP 4219829B2
Authority
JP
Japan
Prior art keywords
wire harness
grommet
adhesive tape
fixed piece
inner member
Prior art date
Legal status (The legal status is an assumption and is not a legal conclusion. Google has not performed a legal analysis and makes no representation as to the accuracy of the status listed.)
Expired - Fee Related
Application number
JP2004041581A
Other languages
English (en)
Other versions
JP2005237085A (ja
Inventor
英久 栗原
Current Assignee (The listed assignees may be inaccurate. Google has not performed a legal analysis and makes no representation or warranty as to the accuracy of the list.)
Yazaki Corp
Original Assignee
Yazaki Corp
Priority date (The priority date is an assumption and is not a legal conclusion. Google has not performed a legal analysis and makes no representation as to the accuracy of the date listed.)
Filing date
Publication date
Application filed by Yazaki Corp filed Critical Yazaki Corp
Priority to JP2004041581A priority Critical patent/JP4219829B2/ja
Publication of JP2005237085A publication Critical patent/JP2005237085A/ja
Application granted granted Critical
Publication of JP4219829B2 publication Critical patent/JP4219829B2/ja
Anticipated expiration legal-status Critical
Expired - Fee Related legal-status Critical Current

Links

Images

Landscapes

  • Electric Cable Installation (AREA)
  • Installation Of Indoor Wiring (AREA)

Description

本発明は、略半円形状の第1部材および第2部材を連結してインナー部材を形成し、このインナー部材に軟質のアウター部材を被せたグロメットをワイヤーハーネスに取り付けるグロメット取付方法に関する。
例えば、自動車のエンジンルームと車室とを仕切る車体パネルに形成した開口部にワイヤーハーネスを挿通する際にワイヤーハーネスが開口部の周縁に直接接触することや、ワイヤーハーネスと開口部との隙間を塞ぐためにグロメットが使用されている。
このグロメットは、全体を合成ゴムなどの軟質弾性材料で一体成形されたものが一般的であった。
全体を軟質弾性材料で一体成形したグロメットは、弾性変形量が大きいので、パネルの開口部との締め代を大きくとらないと、嵌合が外れて脱落しやすくなる。
一方、脱落防止のために、締め代を大きくすると、嵌合装着する際の摩擦抵抗が大きくなって、パネル開口部への装着性が困難になる。
この問題を解決するべく、グロメットを、硬質樹脂材料製のインナー部材と、軟質樹脂材料製のアウター部材とで構成し、インナー部材にアウター部材を被せることで一体化するものが提案されている(例えば、特許文献1参照)。
特開2003−235131号公報
このグロメットによれば、軟質樹脂材料製のアウター部材で外枠のみを形成して弾性変形量を抑えることが可能になる。よって、締め代を大きくとる必要がなく、パネル開口部への装着性を高めることができる。
以下、図8〜図13に基づいて上記公報のグロメットをワイヤーハーネスに取り付ける方法について説明する。
図8に示す配索冶具板100のフォーク101に多数本の電線104Aを束ねた状態で電線束として保持し、保持した電線束に粘着テープ102を巻き付けることで、例えば車両に配索するワイヤーハーネス104を製造する。
このワイヤーハーネス104の製造の際に、グロメット105をワイヤーハーネス104に取り付ける。
このグロメット105は、インナー部材106を半割状態にすることで、略半円形状の第1部材107と第2部材108とに分けられ、インナー部材106に嵌合可能なアウター部材109が環状に形成されている。
ワイヤーハーネス104にグロメット105を取り付ける際には、先ず、環状のアウター部材109を、予めワイヤーハーネス104に嵌め込んでおく。
次に、第1部材107と第2部材108とでワイヤーハーネス104を挟みこみ、第1部材107と第2部材108とを突き合わせた状態で一体に連結することで、図9に示す環状のインナー部材106を形成する。
この状態で、第1部材107に形成されている固定片111がワイヤーハーネス104に沿って配置される。
この固定片111およびワイヤーハーネス104を、図10に示すように粘着テープ112で巻き、固定片111をワイヤーハーネス104に固定する。
次いで、インナー部材106にアウター部材109(図8参照)で被覆して、グロメット105(図8参照)をワイヤーハーネス104に取り付ける工程が完了する。
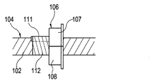
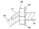
ところで、ワイヤーハーネス104のなかには、図11に示すように車体パネル114の開口部115に取り付ける際に、車体パネル114で折曲げた状態に取り付けるものがある。
この場合、図12に示すように、固定片111が第1部材107に対して傾斜された状態、すなわちワイヤーハーネス104の軸線104Aに交差された状態に形成されている。
このように、第1部材107に対して固定片111を傾斜した状態に形成すると、図13に示すように、固定片111と第2部材108とで略V字状を形成する。
このため、固定片111およびワイヤーハーネス104に粘着テープ112を巻き付ける際に、第2部材108が粘着テープ112を巻き付ける妨げ、すなわち邪魔になる。
第2部材108が邪魔になるため、固定片111およびワイヤーハーネス104に粘着テープ112を巻き付け難く、そのことがグロメット105の取付作業性を高める妨げになっていた。
本発明は、グロメットの取付作業性の向上を図ることができるグロメット取付方法を提供することを目的とする。
1)前述した目的を達成するために、本発明のグロメット取付方法は、略半円形状の第1部材および第2部材が連結されてワイヤーハーネスを挿通可能な略中空円盤状に形成されたインナー部材と、前記ワイヤーハーネスに挿通されるとともに前記インナー部材を被覆する軟質のアウター部材とを備えるグロメットを前記ワイヤーハーネスに取り付けるために、前記第1部材から前記ワイヤーハーネスに沿って延びる固定片と前記ワイヤーハーネスとを粘着テープを巻回することにより固定するグロメット取付方法であって、あらかじめ前記ワイヤーハーネスを前記アウター部材に挿通させておき、前記第1部材を前記ワイヤーハーネスに当接させることにより前記固定片を前記ワイヤーハーネスの周面に沿わせた後、前記ワイヤーハーネスおよび前記固定片に前記粘着テープを巻回し、次いで前記第1部材および前記第2部材を連結させて前記インナー部材を形成してから前記インナー部材を前記アウター部材により被覆することを特徴としている。
本発明のグロメット取付方法によれば、第1部材をワイヤーハーネスに当接させて固定片をワイヤーハーネスの周面に沿わせる。この状態で、ワイヤーハーネスおよび固定片に粘着テープを巻回する。
このように、第2部材を第1部材に連結する前に、ワイヤーハーネスおよび固定片に粘着テープを巻回するので、粘着テープを巻回する際に第2部材が邪魔になることはない。
これにより、固定片およびワイヤーハーネスに粘着テープを容易に巻き付けることができる。
本発明のグロメット取付方法によれば、第2部材を第1部材に連結する前に粘着テープを巻回することで、粘着テープを容易に巻き付けることができ、グロメットの取付作業性の向上を図ることができるという効果が得られる。
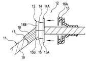
以下、本発明に係る実施形態を図面に基づいて詳細に説明する。図1はグロメット取付冶具を示す斜視図、図2〜図7は本発明に係るグロメット取付方法について説明した図である。
図1に示すグロメット取付冶具10は、略半円形状の第1部材14および第2部材15が連結されてワイヤーハーネス11(図2参照)を挿通可能な略中空円盤状に形成されたインナー部材13と、ワイヤーハーネス11に挿通されるとともにインナー部材13を被覆する軟質のアウター部材16(図2参照)と、第1部材14からワイヤーハーネス11に沿って延びる固定片17とを備え、ワイヤーハーネス11および固定片17に粘着テープ18(図5参照)を巻回することにより固定されるグロメット12(図7も参照)を取り付けるために用いられる冶具である。
すなわち、グロメット12は、インナー部材13、アウター部材16および固定片17からなる。
インナー部材13は、略半円形状の第1部材14と、略半円形状の第2部材15とからなり、第1部材14および第2部材15が連結されることで、ワイヤーハーネス11を挿通可能な略中空円盤状に形成される部材である。
第1部材14は、略半円形状の本体14Bと、本体14Bの端部に形成した拡径状のフランジ14Aとを備える。
第2部材15は、略半円形状の本体15B(図5参照)と、本体15Bの端部に形成した拡径状のフランジ15Aとを備える。
アウター部材16は、図7に示すように、ワイヤーハーネス11に挿通されるとともにインナー部材13を被覆する弾性変形可能な軟質部材である。
図2に示すワイヤーハーネス11は、配索冶具板22のフォーク23に多数本の電線11Aを束ねた状態で電線束として保持し、保持した電線束に粘着テープ19を巻き付けたものである。
ワイヤーハーネス11は、フォーク23で略く字状に折り曲げられている。
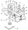
このグロメット取付冶具10は、第1部材14を保持可能な保持部25と、保持部25をワイヤーハーネス11の径方向(矢印横行)に沿って進退させる進退手段26とを有している。
保持部25は、略角柱状に形成した部材で、前部25Aにフランジ嵌入溝27が形成され、フランジ嵌入溝27に臨ませて本体嵌入溝28が形成され、フランジ嵌入溝27および本体嵌入溝28に隣接させて一対の凹部29がそれぞれ形成され、前部25Aの一方の角部25Bに受入れ凹部31が形成されている。
フランジ嵌入溝27は、第1部材14の拡径部、すなわちフランジ14Aが嵌入する溝である。本体嵌入溝28は第1部材14の本体14Bが嵌入する溝である。受入れ凹部31は、フォーク23のロッド23A(図2、図3参照)を受け入れる凹部である。
フランジ嵌入溝27に、第1部材14のフランジ14Aを嵌め込み、本体嵌入溝28に、第1部材14の本体14Bを嵌め込むことにより、第1部材14を保持部25に保持する。
この保持部25は進退手段26に取り付けられている。
すなわち、進退手段26は、配索冶具21(図2参照)の配索冶具板22にベース36がボルト37で取り付けられ、ベース36の前後のストッパ部材38,39に3本のガイドロッド41が架け渡され、これらのガイドロッド41に移動体42がスライド自在に支持されている。
さらに、進退手段26は、前ストッパ部材38に一対の前位置決めブロック43(図2参照)が取り付けられ、前位置決めブロック43の上面に前位置決め凹部44が形成され、後ストッパ部材39に一対の後位置決めブロック46が取り付けられ、後位置決めブロック46の上面に後位置決め凹部47が形成され、移動体42の下部42Aに、前後の位置決め凹部44,47に係止可能な球体(図示せず)が突没自在に設けられるとともに、球体を突出状態に保持するばね部材(図示せず)が収納されている。
移動体42は、前部42Bに保持部25が取り付けられ、図示しないエア移動手段で前後方向に進退可能な部材である。
移動体42が前方に進出して前ストッパ部材38に当接すると、図示しない球体がばね部材のばね力で前位置決め凹部44に係止する。これにより、移動体42と一体の保持部25を取付位置に保持する。
一方、移動体42が後方に後退して後ストッパ部材39に当接すると、図示しない球体がばね部材のばね力で後位置決め凹部47に係止する。これにより、移動体42と一体の保持部25を退避位置に保持する。
次に、グロメット取付冶具10を用いてワイヤーハーネス11にグロメット12を取り付けるグロメット取付方法を図2〜図7に基づいて説明する。
図2に示すように、配索冶具板22のフォーク23に多数本の電線11Aを束ねた状態で電線束として保持し、保持した電線束に粘着テープ19を巻き付けることで、例えば車両に配索するワイヤーハーネス11を製造する。
ワイヤーハーネス11は、フォーク23で略く字状に折り曲げられている。
このワイヤーハーネス11に、あらかじめアウター部材16(想像線で示す)を嵌め込ませておく。
この状態で、グロメット取付冶具10の保持部25を退避位置(図2に示す位置)に保持し、保持部25に第1部材14を嵌め込む。
次に、図示しないエア移動手段で、進退手段26の移動体42を前方、すなわち矢印の方向に移動する。
図3に示すように、移動体42が前方に進出して前ストッパ部材38に当接すると、図示しない球体がばね部材のばね力で前位置決め凹部44(図2参照)に係止する。
これにより、保持部25に嵌入した第1部材14を取付位置(図3に示す位置)に保持する。
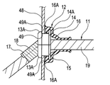
第1部材14を取付位置に保持することで、図4に示すように、第1部材14の凹部14C(図1、図2も参照)をワイヤーハーネス11の周面11Bに当接させるとともに、第1部材14の固定片17をワイヤーハーネス11の周面11Bに沿わせる。
次に、図5に示すように、ワイヤーハーネス11および固定片17に粘着テープ18を巻回することで、ワイヤーハーネス11に第1部材14を固定する。
ここで、第2部材15を第1部材14に連結する前に、ワイヤーハーネス11および固定片17に粘着テープ18を巻回するので、粘着テープ18を巻回する際に第2部材15が邪魔になることはない。
ワイヤーハーネス11に第1部材14を固定した後、第2部材15を第1部材14に向けて矢印方向に移動する。
第2部材15を矢印方向に移動することで、第1部材14に第2部材15を連結させてインナー部材13(図6参照)を形成する。
第1部材14に第2部材15を連結させた後、図示しないエア移動手段で、進退手段26の移動体42を後方、すなわち矢印の方向に移動して、退避位置に保持する。
図6に示すように、インナー部材13に向けてアウター部材16を矢印の方向に移動して、インナー部材13にアウター部材16を被覆する。
これにより、ワイヤーハーネス11にグロメット12を取り付けるグロメット取付工程が完了する。
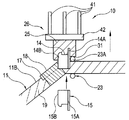
ワイヤーハーネス11にグロメット12を取り付けた後、図7に示すように、自動車のエンジンルームと車室とを仕切る車体パネル48に形成した開口部49にワイヤーハーネス11を挿通する。
この際、インナー部材13の係止爪13Aが開口部49の周縁49Aに係止し、アウター部材16のリップ部16Aが車体パネル48に当接して、車体パネル48をリップ部16Aで押圧する。
これにより、ワイヤーハーネス11を、グロメット12を介して車体パネル48の開口部49に挿通させた状態で取り付ける。
本発明のグロメット取付方法によれば、第1部材14をワイヤーハーネス11に当接させて固定片17をワイヤーハーネス11の周面11Bに沿わせる。この状態で、ワイヤーハーネス11および固定片17に粘着テープ18を巻回する。
このように、第2部材15を第1部材14に連結する前に、ワイヤーハーネス11および固定片17に粘着テープ18を巻回するので、粘着テープ18を巻回する際に第2部材15が邪魔になることはない。
これにより、固定片17およびワイヤーハーネス11に粘着テープ18を容易に巻き付けることができる。
粘着テープ18を容易に巻き付けることで、グロメット12の取付け作業性の向上を図ることができる。
加えて、上記構成のグロメット取付冶具10を使用することで、保持部25に第1部材14を保持した状態で、保持部25をワイヤーハーネス11の径方向に沿って進出させることで、第1部材14をワイヤーハーネス11に当接させて固定片17をワイヤーハーネス11の周面11Bに沿わせることが容易になる。
これにより、グロメット12の取付作業性の向上をより一層図ることができる。
なお、前記実施形態では、グロメット取付冶具10の移動体42を、図示しないエア移動手段で前後方向に進退可能に構成した例について説明したが、これに限らないで、移動体42を手動で移動することも可能である。
また、前記実施形態では、第1部材14に固定片17を設けた例について説明したが、これに限らないで、固定片17を第2部材15に設けることも可能である。
さらに、前記実施形態では、第1部材14に固定片17を傾斜させたインナー部材13に適用した例について説明したが、これに限らないで、第1部材14に固定片17を同軸状に設けたインナー部材に適用することも可能である。
加えて、前記実施形態では、第1部材14と第2部材15との分割線を垂直に配置した例について説明したが、これに限らないで、第1部材14と第2部材15との分割線は任意にすることが可能である。
その他、前述した実施形態において例示したグロメット12,インナー部材13,第1部材14,第2部材15,アウター部材16,固定片17,保持部25,進退手段26等の材質,形状,寸法,形態,数,配置個所等は本発明を達成できるものであれば任意であり、限定されない。
グロメット取付冶具を示す斜視図である。 本発明に係るグロメット取付方法において第1部材を退避位置に保持した状態を説明する斜視図である。 本発明に係るグロメット取付方法において第1部材を取付位置に保持した状態を説明する斜視図である。 本発明に係るグロメット取付方法において第1部材を取付位置に保持した状態を説明する平面図である。 本発明に係るグロメット取付方法において第1部材の固定片およびワイヤーハーネスに粘着テープを巻回した状態を示す平面図である。 本発明に係るグロメット取付方法においてインナー部材にアウター部材を被覆する状態を示す平面図である。 グロメットを利用してワイヤーハーネスを車体パネルに取り付けた状態を示す平面図である。 従来のグロメット取付方法を説明する斜視図である。 従来のグロメット取付方法においてインナー部材を連結した状態を説明する側面図である。 従来のグロメット取付方法において固定片に粘着テープを巻回した状態を説明する側面図である。 従来のもう一つのグロメット取付方法を説明する断面図である。 従来のもう一つのグロメットのインナー部材を説明する斜視図である。 従来のもう一つのグロメットの固定片に粘着テープを巻回する例を説明する平面図である。
符号の説明
10 グロメット取付冶具
11 ワイヤーハーネス
11B ワイヤーハーネスの周面
12 グロメット
13 インナー部材
14 第1部材
15 第2部材
16 アウター部材
17 固定片
18 粘着テープ
25 保持部
26 進退手段

Claims (1)

  1. 略半円形状の第1部材および第2部材が連結されてワイヤーハーネスを挿通可能な略中空円盤状に形成されたインナー部材と、前記ワイヤーハーネスに挿通されるとともに前記インナー部材を被覆する軟質のアウター部材とを備えるグロメットを前記ワイヤーハーネスに取り付けるために、
    前記第1部材から前記ワイヤーハーネスに沿って延びる固定片と前記ワイヤーハーネスとを粘着テープを巻回することにより固定するグロメット取付方法であって、
    あらかじめ前記ワイヤーハーネスを前記アウター部材に挿通させておき、
    前記第1部材を前記ワイヤーハーネスに当接させることにより前記固定片を前記ワイヤーハーネスの周面に沿わせた後、
    前記ワイヤーハーネスおよび前記固定片に前記粘着テープを巻回し、
    次いで前記第1部材および前記第2部材を連結させて前記インナー部材を形成してから前記インナー部材を前記アウター部材により被覆することを特徴とするグロメット取付方法。
JP2004041581A 2004-02-18 2004-02-18 グロメット取付方法 Expired - Fee Related JP4219829B2 (ja)

Priority Applications (1)

Application Number Priority Date Filing Date Title
JP2004041581A JP4219829B2 (ja) 2004-02-18 2004-02-18 グロメット取付方法

Applications Claiming Priority (1)

Application Number Priority Date Filing Date Title
JP2004041581A JP4219829B2 (ja) 2004-02-18 2004-02-18 グロメット取付方法

Related Child Applications (1)

Application Number Title Priority Date Filing Date
JP2008257050A Division JP4852582B2 (ja) 2008-10-02 2008-10-02 グロメット取付冶具

Publications (2)

Publication Number Publication Date
JP2005237085A JP2005237085A (ja) 2005-09-02
JP4219829B2 true JP4219829B2 (ja) 2009-02-04

Family

ID=35019489

Family Applications (1)

Application Number Title Priority Date Filing Date
JP2004041581A Expired - Fee Related JP4219829B2 (ja) 2004-02-18 2004-02-18 グロメット取付方法

Country Status (1)

Country Link
JP (1) JP4219829B2 (ja)

Also Published As

Publication number Publication date
JP2005237085A (ja) 2005-09-02

Similar Documents

Publication Publication Date Title
JP2008311034A (ja) グロメット
EP2051336A2 (en) Connector apparatus
WO2014084176A1 (ja) 車両用外装部材の取付構造及び取付方法
JP4852582B2 (ja) グロメット取付冶具
JP4219829B2 (ja) グロメット取付方法
JP5569115B2 (ja) ワイヤハーネス
JP5214310B2 (ja) デッキサイドトリムの取付構造
JP6127920B2 (ja) ワイヤハーネス及び結束具
JP6066062B2 (ja) 車両用シートのケーブル類保持構造
JP6413837B2 (ja) ワイヤーハーネス保持用クリップ
JP2005065354A (ja) ワイヤハーネスへのグロメットの取付構造
JP2008206370A (ja) グロメット用ガイドプロテクタ
JP3983212B2 (ja) ワイヤハーネスが挿通されるグロメットを備える機器
JP2014111416A (ja) 車両後部構造
JP5840956B2 (ja) 車両用ドアの止水構造
JP2013021791A (ja) グロメット
JP4327785B2 (ja) ワイヤハーネスの配索構造
WO2021187031A1 (ja) グロメットおよびワイヤハーネス
JP2006271119A (ja) グロメット
JPH039214Y2 (ja)
KR100918772B1 (ko) 자동차 후드래치 케이블 이탈 방지구조
JP2016213096A (ja) グロメット
JP4566027B2 (ja) 衝撃吸収体
JP2598925Y2 (ja) 車両のリヤホイールハウスカバー
JP2017153325A (ja) グロメットおよびこれを備えたワイヤハーネス

Legal Events

Date Code Title Description
RD04 Notification of resignation of power of attorney

Free format text: JAPANESE INTERMEDIATE CODE: A7424

Effective date: 20060327

A621 Written request for application examination

Free format text: JAPANESE INTERMEDIATE CODE: A621

Effective date: 20060721

RD04 Notification of resignation of power of attorney

Free format text: JAPANESE INTERMEDIATE CODE: A7424

Effective date: 20071129

A977 Report on retrieval

Free format text: JAPANESE INTERMEDIATE CODE: A971007

Effective date: 20080602

A131 Notification of reasons for refusal

Free format text: JAPANESE INTERMEDIATE CODE: A131

Effective date: 20080806

A521 Written amendment

Free format text: JAPANESE INTERMEDIATE CODE: A523

Effective date: 20081002

TRDD Decision of grant or rejection written
A01 Written decision to grant a patent or to grant a registration (utility model)

Free format text: JAPANESE INTERMEDIATE CODE: A01

Effective date: 20081105

A01 Written decision to grant a patent or to grant a registration (utility model)

Free format text: JAPANESE INTERMEDIATE CODE: A01

A61 First payment of annual fees (during grant procedure)

Free format text: JAPANESE INTERMEDIATE CODE: A61

Effective date: 20081112

FPAY Renewal fee payment (prs date is renewal date of database)

Free format text: PAYMENT UNTIL: 20111121

Year of fee payment: 3

R150 Certificate of patent (=grant) or registration of utility model

Free format text: JAPANESE INTERMEDIATE CODE: R150

LAPS Cancellation because of no payment of annual fees