JP4155195B2 - 飲料抽出装置 - Google Patents

飲料抽出装置 Download PDF

Info

Publication number
JP4155195B2
JP4155195B2 JP2004002160A JP2004002160A JP4155195B2 JP 4155195 B2 JP4155195 B2 JP 4155195B2 JP 2004002160 A JP2004002160 A JP 2004002160A JP 2004002160 A JP2004002160 A JP 2004002160A JP 4155195 B2 JP4155195 B2 JP 4155195B2
Authority
JP
Japan
Prior art keywords
hot water
raw material
beverage
end opening
extraction
Prior art date
Legal status (The legal status is an assumption and is not a legal conclusion. Google has not performed a legal analysis and makes no representation as to the accuracy of the status listed.)
Expired - Fee Related
Application number
JP2004002160A
Other languages
English (en)
Other versions
JP2005192801A (ja
Inventor
孝文 伊藤
学 上野
和紀 神崎
Current Assignee (The listed assignees may be inaccurate. Google has not performed a legal analysis and makes no representation or warranty as to the accuracy of the list.)
Fuji Electric Retail Systems Co Ltd
Original Assignee
Fuji Electric Retail Systems Co Ltd
Priority date (The priority date is an assumption and is not a legal conclusion. Google has not performed a legal analysis and makes no representation as to the accuracy of the date listed.)
Filing date
Publication date
Application filed by Fuji Electric Retail Systems Co Ltd filed Critical Fuji Electric Retail Systems Co Ltd
Priority to JP2004002160A priority Critical patent/JP4155195B2/ja
Publication of JP2005192801A publication Critical patent/JP2005192801A/ja
Application granted granted Critical
Publication of JP4155195B2 publication Critical patent/JP4155195B2/ja
Anticipated expiration legal-status Critical
Expired - Fee Related legal-status Critical Current

Links

Images

Classifications

    • AHUMAN NECESSITIES
    • A47FURNITURE; DOMESTIC ARTICLES OR APPLIANCES; COFFEE MILLS; SPICE MILLS; SUCTION CLEANERS IN GENERAL
    • A47JKITCHEN EQUIPMENT; COFFEE MILLS; SPICE MILLS; APPARATUS FOR MAKING BEVERAGES
    • A47J31/00Apparatus for making beverages
    • A47J31/40Beverage-making apparatus with dispensing means for adding a measured quantity of ingredients, e.g. coffee, water, sugar, cocoa, milk, tea
    • A47J31/401Beverage-making apparatus with dispensing means for adding a measured quantity of ingredients, e.g. coffee, water, sugar, cocoa, milk, tea whereby the powder ingredients and the water are delivered to a mixing bowl

Landscapes

  • Engineering & Computer Science (AREA)
  • Food Science & Technology (AREA)
  • Apparatus For Making Beverages (AREA)

Description

本発明は、抽出容器に投入した粉末原料と湯との混合体から飲料を抽出する飲料抽出装置に関するものである。
例えば、挽き豆を粉末原料としたコーヒー原料からコーヒー飲料を抽出して販売する自動販売機や飲料ディスペンサには、その内部に飲料抽出装置が設けられている。この種の飲料抽出装置としては、抽出容器、フィルタ、フィルタブロックおよび弁機構を備えたものが一般的である。抽出容器は、いわゆるシリンダと称されるものであり、上下両端面がそれぞれ開口した円筒形状を成し、内部にエアを供給するためのエア導入口が設けられている。フィルタは、抽出容器の下端開口を閉塞する態様で配置されるもので、例えば紙製のものが適用されている。フィルタブロックは、フィルタを介して抽出容器の下端開口に嵌合させて装着される有底円筒形状の容器であり、その内底部に送出通路を有している。
この飲料抽出装置でコーヒー飲料を抽出するには、まず、抽出容器の下端開口にフィルタを介してフィルタブロックを装着した後、弁機構を開放させた状態で抽出容器の上端開口からコーヒー原料としての粉末原料を投入するとともに湯タンクに貯留してタンクヒータで加熱している湯を供給する。そして、この粉末原料と湯との混合体に下部エア導入口からエアを供給して撹拌を行う。この結果、コーヒー原料である粉末原料から湯に香味や旨味が抽出され、抽出容器の内部においてコーヒー飲料が生成される。しかる後、弁機構によって抽出容器の上端開口を閉鎖し、この状態で上部エア導入口から抽出容器の内部に貯留している混合体の上部空間にエアを供給すると、抽出容器に供給されたエアの圧力により、フィルタを通過して濾過されたコーヒー飲料がフィルタブロックに送出され、送出通路を通じてカップへ注がれる。
コーヒー飲料の送出が終了し、エアの供給を停止した後、抽出容器からフィルタブロックを離隔するとともに、フィルタの交換を行って原料滓を廃棄し、次の飲料抽出に備えるべく待機状態となる(例えば、特許文献1参照)。
特開平1−158592号公報
このようにコーヒー飲料の抽出は、抽出容器に投入したコーヒー原料としての粉末原料と湯との混合体に下部エア導入口からエアを供給して撹拌を行いコーヒー原料である粉末原料から湯に香味や旨味を抽出してコーヒー飲料を生成した後、弁機構で抽出容器の上端開口を閉鎖し、この状態で上部エア導入口から抽出容器の内部に貯留している混合体の上部空間に供給したエアの圧力によりフィルタを通過して濾過されたコーヒー飲料をフィルタブロックからカップへ注出してコーヒー飲料の抽出を完了する。しかしながら、上部エア導入口から供給したエアの圧力でコーヒー飲料を送出した後の抽出容器内壁面にはコーヒー油成分や湯により原料滓が付着して残ることがあり、この付着した原料滓が長時間経つと原料滓に含まれる成分が変質して抽出時に溶出し、抽出したコーヒー飲料の香味や旨味を損ねる虞があり、飲料品質上好ましくない。
本発明は、上記実情に鑑みて、抽出容器内壁面に付着した原料滓の時間経過に起因する変質により生じる飲料への影響を排除し、香味や旨味を十分に引き出した品質の高い飲料を抽出するのに適した飲料抽出装置を提供することを目的とする。
上記目的を達成するため、本発明の請求項1に係る飲料抽出装置は、上下両端面を開口した円筒形状を成し、フィルタを介してフィルタブロックに前記下端開口を嵌合して閉塞し、前記上端開口から投入された粉末原料と湯にエアを供給して撹拌した混合体を貯留する抽出容器と、
前記抽出容器の上端開口に嵌合させて装着し、湯を流下させる多数の湯通路穴を円筒状に複数設けた湯供給器と、
を有し、前記粉末原料と湯との混合体から前記フィルタを通過させて前記フィルタブロックから濾過した飲料を抽出する飲料抽出装置であって、
前記湯供給器の円筒状に設けた内側の湯通路穴から流下させた湯で前記フィルタ上に投入された前記粉末原料を満遍なく均一に蒸らすとともに、
前記抽出容器は、その上端開口と下端開口との間をくびれ部とし、前記上端開口の内径を前記湯供給器円筒状に設けた外側の湯通路穴から流下する湯の流下径より大とし、前記くびれ部の内径を前記湯供給器円筒状に設けた外側の湯通路穴から流下する湯の流下径より小とし、
前記湯供給器円筒状に設けた外側の湯通路穴から流下させた湯を前記抽出容器の内壁面を流下させ、付着している前記粉末原料の原料滓をコーヒー油成分とともに洗い流すようにしたことを特徴とする。
請求項1の発明によれば、飲料供給の都度、湯供給器から円筒状に流下する湯で抽出容器の内壁面に付着した粉末原料の原料滓を洗い流すとともに、流下する湯が「蒸らし湯」となって粉末原料を満遍なく均一に蒸らすことにより、抽出容器内壁面に付着した原料滓の時間経過に起因する変質により生じる成分が抽出時に溶出して、抽出したコーヒー飲料の香味や旨味を損ねるなどの飲料への影響を排除することができるので、香味や旨味を十分に引き出した品質の高い飲料を抽出するのに適した飲料抽出装置を提供することができる。
以下に添付図面を参照して、本発明に係る飲料抽出装置の好適な実施の形態について詳細に説明する。
図1は、本発明の実施の形態である飲料抽出装置を示したものである。ここで例示する飲料抽出装置は、図2に示すようなカップ式飲料自動販売機に適用されるもので、特にコーヒー飲料を抽出するための飲料抽出装置を例示している。
図2に示したカップ式飲料自動販売機Aは、機器筐体Bの前面ドアCに商品選択ボタンDおよび商品販売口Eを備えている。商品選択ボタンDは、利用者が商品を選択するためのもので、商品展示部Fに展示された複数の商品見本Gに対応して設けてある。また、前面ドアCには、硬貨を投入するためのコイン投入口H、投入した硬貨を返却するためのコイン返却レバーI、硬貨を返却するためのコイン返却口Jがそれぞれ設けられている。商品販売口Eは、選択した商品を提供するための開口であり、その内底部にカップKを載置するための販売トレイLが配設してある。
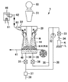
図1に示した飲料抽出装置1は、機器筐体Bの内部に設けられるもので、シリンダ10(抽出容器)およびフィルタブロック40を配設してある。
シリンダ10は上下両端面を開口した円筒形状を成し、その上端開口11と下端開口13との間のくびれ部12を鼓状に形成してあり、昇降手段(図示せず)によって上下動可能に支持され、上動した場合に、フィルタブロック40から離隔した位置に配置される一方、下動した場合にフイルタ41を介してフィルタブロック40に嵌合して下端開口13が閉塞される。
シリンダ10の上方には、ミル50からシュート51を介して供給されるコーヒー原料としての粉末原料をシリンダ10に投入する原料投入口21と、湯タンク60に貯留されタンクヒータ61で加熱(例えば、94℃)されている湯を湯バルブ62を介して湯ノズル63から供給する湯導入口22を設けた湯供給器20を上端開口11に嵌合させて装着している。
フィルタブロック40は、有底の円筒形状を成すもので、送出通路30およびエア供給通路35が接続してある。送出通路30は、フィルタブロック40から開閉バルブ31、抽出ポンプ32および注出バルブ33を介して注出ノズル34に至る流体通路であり、抽出ポンプ32が駆動している時にフィルタブロック40の液体を注出ノズル34に送出することが可能である。エア供給通路35は、フィルタブロック40にエアを供給するためのもので、フィルタブロック40からエアバルブ36を介して送出通路30における抽出ポンプ32と注出バルブ33との間に位置する部分に接続してある。
フィルタ41は、ロール状に巻回された紙製で帯状を成すフィルタ紙で、シリンダ10とフィルタブロック40との間へ順次繰り出され、コーヒー原料としての粉末原料と湯との混合体を負圧の下で濾過してコーヒー飲料とする。
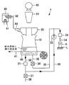
図3はシリンダ10の平面図、図4は図3のA−A部を矢印方向に見た断面側面図である。
シリンダ10は、円筒のくびれ部12からその端に向い内径を拡げて開放した上端開口11と下端開口13とを有している。
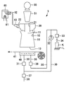
図5は湯供給器20の平面図、図6は図5のB−B部を矢印方向に見た断面側面図、図7は湯供給器20内の湯の流れを示す図、図8はシリンダ10の上端開口11に湯供給器14を嵌合させて装着した状態での湯の流れを示す図である。
湯供給器20は、原料投入口21の外周下方に延在して設けた、湯を環状の所定方向の流れにして導入するための内側方向に下降する傾斜したロート形状の傾斜面を形成した湯導入通路23と、湯を湯導入通路23の所定方向の流れに従って分散する態様で湯導入通路23の周方向に沿って複数穿設した2列の湯通路穴24a、24bと、内側方向に下降する湯導入通路下面23bの湯通路穴24aの内側に環状に形成したリブ片25aと、湯通路穴24bの内側に環状に形成したリブ片25bと、挿通した湯ノズル63が吐出した湯を湯導入通路23に導き入れる湯導入部26と、を有する。このように湯通路穴24a、24bとリブ片25a、25bを外周と内周との二重に設けている。また、リブ片25a、25b外側にはV溝を複数形成している。
そして、湯ノズル63が湯を吐出すると、図7に示すように、湯導入部26に供給された湯は所定方向(図中矢印で示す方向)に流れ、図8に示すように、湯導入通路23に穿設した2列の湯通路穴24a、24bから流下する。この湯通路穴24bから流下した湯は穴から直接またはリブ片25aに形成しているV溝から流れ落ち、フィルタ41上に投入されたコーヒー原料としての粉末原料を満遍なく均一に「蒸らし湯」となって蒸らす。また、湯通路穴24aから流下した高温(例えば、94℃)の湯はシリンダ10の上端開口11とくびれ部12との間のシリンダ傾斜面14からシリンダ内壁面15に流れ落ち、付着しているコーヒー原料の原料滓をコーヒー油成分とともに流れ落とす。このように飲料抽出の都度シリンダ10に供給する高温の湯でシリンダ内壁面15に付着した原料滓をコーヒー油成分とともに流れ落とすので、そこに含まれる成分が変質するまで付着することがなくなり、変質した成分が抽出時に溶出してコーヒー飲料の香味や旨味を損ねるようなことがなくなるので、香味や旨味を十分に引き出した品質の高い飲料を抽出するのに適した飲料抽出装置を提供することができる。
図9〜図12は、上述した飲料抽出装置の動作を説明するための模式図である。以下、図1、図7、図8、図9〜図12を適宜参照しながら、飲料抽出装置1の動作を説明する。
まず、商品選択ボタンDが押下されていない場合、飲料抽出装置1は図1に示すように、販売待機状態となっている。この販売待機状態においては、シリンダ10は、フィルタブロック40およびフィルタ41から離隔した状態にある。また、この販売待機状態においては、湯バルブ62が閉鎖した状態に保持されている一方、開閉バルブ31、注出バルブ33、エアバルブ36、開閉バルブ37がそれぞれ開放した状態に保持されている。湯タンク60では内部に貯留した湯をタンクヒータ61が所定の温度、例えば94℃に維持している。
上述した販売待機状態から利用者等によって硬貨が投入され、かつ任意の商品選択ボタンDが押下されると、抽出制御部(図示せず)から信号が出力されて昇降手段を駆動することにより、図9に示すように、フィルタ41を介してシリンダ10の下端開口13をフィルタブロック40に嵌合させて装着する。その後、ミル50を駆動することによってコーヒー豆を粉砕したコーヒー原料としての粉末原料を原料シュータ51から原料投入口21を介してシリンダ10の内部に投入する。
予め設定した量の粉末原料がシリンダ10に投入されると、抽出制御部は、開閉バルブ31、注出バルブ33、エアバルブ36をそれぞれ閉鎖した後、図10に示すように、湯バルブ62を開放して湯ノズル63から湯を吐出して供給する。そうすると、図7、図8に示すように、供給された湯は、湯導入部26、湯導入通路23を所定方向に流れ、湯通路穴24a、24bから流下する。湯通路穴24bから流下した湯はフィルタ41上に投入された粉末原料を満遍なく均一に蒸らすとともに、湯通路穴24aから流下した高温の湯がシリンダ10の上端開口11とくびれ部12との間のシリンダ傾斜面14からシリンダ内壁面15に流れ落ち、付着している粉末原料の原料滓をコーヒー油成分とともに流れ落とす。
そして、供給した湯が予め設定した量に達すると、抽出制御部は、図11に示すように、湯バルブ62を閉鎖した後、開閉バルブ31および注出バルブ33を閉鎖した状態に保持する一方、エアバルブ36、開閉バルブ37を開放した状態で抽出ポンプ32を駆動し、通路38から送出通路30、エア供給通路35を通じてフィルタブロック40からシリンダ10の内部にエアを供給して、シリンダ10に貯留される粉末原料と湯との混合体の撹拌を行う。この結果、粉末原料から湯に香味や旨味が抽出され、シリンダ10の内部においてコーヒー飲料が生成されることになる。
しかる後、抽出制御部は、図12に示すように、エアバルブ36、開閉バルブ37を閉鎖してエアの供給を停止する一方、開閉バルブ31および注出バルブ33を開放して抽出ポンプ32を駆動する。この結果、シリンダ10の内部で生成されたコーヒー飲料がフィルタ41を透過して濾過され、送出通路30から注出ノズル34を通じて販売トレイLに載置されたカップKに注がれる。
予め設定した量のコーヒー飲料をカップKに供給すると抽出制御部は、昇降手段を駆動することによりシリンダ10を上動させ、一定量のフィルタ41を繰り出し、使用後のフィルタ41およびこれに付着する抽出滓を滓バケツ(図示せず)に収納させる。
以降、上述した飲料抽出動作を繰り返し実行すると、その都度シリンダ10に供給する高温の湯でシリンダ内壁面15に付着した原料滓をコーヒー油成分とともに流れ落とすことができるので、そこに含まれる成分が変質するまで付着することがなくなり、変質した成分が抽出時に溶出してコーヒー飲料の香味や旨味を損ねるようなことがなくなるので、香味や旨味を十分に引き出した品質の高い飲料を抽出するのに適した飲料抽出装置を提供することができる。
なお、上述した実施の形態では、挽き豆を粉末原料としたコーヒー原料からコーヒー飲料を抽出する装置を例示しているが、本発明はその他の粉末原料から飲料を抽出するものに適用することができる。
本発明の実施の形態である飲料抽出装置を示した概念図である。 図1に示した飲料抽出装置を適用した自動販売機の外観図である。 図1に示した飲料抽出装置を適用した抽出容器の平面図である。 図3のA−A部を矢印方向に見た断面側面図である。 図1に示した飲料抽出装置を適用した湯供給器の平面図である。 図5のB−B部を矢印方向に見た断面側面図である。 図1に示した飲料抽出装置を適用した湯供給器内の湯の流れを示す図である。 図1に示した飲料抽出装置を適用した湯供給器と抽出容器内の湯の流れを示す図である。 図1に示した飲料抽出装置の動作を示す概念図である。 図1に示した飲料抽出装置の動作を示す概念図である。 図1に示した飲料抽出装置の動作を示す概念図である。 図1に示した飲料抽出装置の動作を示す概念図である。
符号の説明
1 飲料抽出装置
10 シリンダ
11 上端開口
12 くびれ部
13 下端開口
14 シリンダ傾斜面
15 シリンダ内壁面
20 湯供給器
21 原料投入口
22 湯導入口
23 湯導入通路
24a 湯通路穴
24b 湯通路穴
25a リブ片
25b リブ片
26 湯導入部
30 送出通路
31 開閉バルブ
32 抽出ポンプ
33 注出バルブ
34 注出ノズル
35 エア供給通路
36 エアバルブ
37 開閉バルブ
38 通路
40 フィルタブロック
41 フィルタ
50 ミル
51 原料シュータ
60 湯タンク
61 タンクヒータ
62 湯バルブ
63 湯ノズル
A カップ式飲料自動販売機
B 機器筐体
D 商品選択ボタン
E 商品販売口
K カップ
L 販売トレイ

Claims (1)

  1. 上下両端面を開口した円筒形状を成し、フィルタを介してフィルタブロックに前記下端開口を嵌合して閉塞し、前記上端開口から投入された粉末原料と湯にエアを供給して撹拌した混合体を貯留する抽出容器と、
    前記抽出容器の上端開口に嵌合させて装着し、湯を流下させる多数の湯通路穴を円筒状に複数設けた湯供給器と、
    を有し、前記粉末原料と湯との混合体から前記フィルタを通過させて前記フィルタブロックから濾過した飲料を抽出する飲料抽出装置であって、
    前記湯供給器の円筒状に設けた内側の湯通路穴から流下させた湯で前記フィルタ上に投入された前記粉末原料を満遍なく均一に蒸らすとともに、
    前記抽出容器は、その上端開口と下端開口との間をくびれ部とし、前記上端開口の内径を前記湯供給器円筒状に設けた外側の湯通路穴から流下する湯の流下径より大とし、前記くびれ部の内径を前記湯供給器円筒状に設けた外側の湯通路穴から流下する湯の流下径より小とし、
    前記湯供給器円筒状に設けた外側の湯通路穴から流下させた湯を前記抽出容器の内壁面を流下させ、付着している前記粉末原料の原料滓をコーヒー油成分とともに洗い流すようにしたことを特徴とする飲料抽出装置。
JP2004002160A 2004-01-07 2004-01-07 飲料抽出装置 Expired - Fee Related JP4155195B2 (ja)

Priority Applications (1)

Application Number Priority Date Filing Date Title
JP2004002160A JP4155195B2 (ja) 2004-01-07 2004-01-07 飲料抽出装置

Applications Claiming Priority (1)

Application Number Priority Date Filing Date Title
JP2004002160A JP4155195B2 (ja) 2004-01-07 2004-01-07 飲料抽出装置

Publications (2)

Publication Number Publication Date
JP2005192801A JP2005192801A (ja) 2005-07-21
JP4155195B2 true JP4155195B2 (ja) 2008-09-24

Family

ID=34817465

Family Applications (1)

Application Number Title Priority Date Filing Date
JP2004002160A Expired - Fee Related JP4155195B2 (ja) 2004-01-07 2004-01-07 飲料抽出装置

Country Status (1)

Country Link
JP (1) JP4155195B2 (ja)

Families Citing this family (5)

* Cited by examiner, † Cited by third party
Publication number Priority date Publication date Assignee Title
JP5055820B2 (ja) * 2006-04-24 2012-10-24 富士電機リテイルシステムズ株式会社 飲料抽出装置
ATE448720T1 (de) * 2006-05-19 2009-12-15 Koninkl Philips Electronics Nv Vorrichtung für die zubereitung eines getränks aus einer wässrigen flüssigkeit und einem fettigen instantprodukt, v.a. säuglingsmilch
JP6791685B2 (ja) * 2016-09-01 2020-11-25 ツインバード工業株式会社 コーヒーメーカー
WO2019112434A1 (en) * 2017-12-07 2019-06-13 Koninklijke Douwe Egberts B.V. A beverage fluid dispensing head and system
JP7443972B2 (ja) * 2020-07-28 2024-03-06 富士電機株式会社 抽出機

Also Published As

Publication number Publication date
JP2005192801A (ja) 2005-07-21

Similar Documents

Publication Publication Date Title
US20200163487A1 (en) Beverage producing apparatus
KR101778722B1 (ko) 음료 제조 기계
TWI454239B (zh) 飲料筒具及系統
KR920001494B1 (ko) 복수품종의 코피를 브렌드하여 판매 가능하게 한 자동판매기
US9282849B2 (en) Beverage production machines with restrictors
US11622646B2 (en) Beverage producing apparatus
JP2021502147A (ja) 食品又は飲料の注出装置及び1つ以上の容器から食品又は飲料を調製する方法
JP2015518381A (ja) コーヒーメーカ及びその操作方法
JP6709988B2 (ja) 飲料供給装置
JP2010503591A (ja) コーヒー及びお茶定量分配システム
JP4155195B2 (ja) 飲料抽出装置
JP4033064B2 (ja) 飲料抽出装置
JP4238345B2 (ja) 飲料抽出装置
JP2004159831A (ja) 飲料抽出装置
JP4218485B2 (ja) 飲料抽出装置
JP2005160649A (ja) 飲料抽出装置
KR101286926B1 (ko) 더치커피 자동판매기
JP3994935B2 (ja) 飲料抽出装置
JP2007061189A (ja) 飲料抽出装置
JP2006178572A (ja) 飲料抽出装置
JP6993695B2 (ja) コーヒー製造装置及び制御方法
JPH0785362A (ja) カップ式自動販売機のコーヒ製造装置
JP2005078552A (ja) 飲料抽出装置
JPH05274545A (ja) カップ式自動販売機の給湯装置
JP2002367022A (ja) コーヒー飲料抽出装置

Legal Events

Date Code Title Description
A621 Written request for application examination

Free format text: JAPANESE INTERMEDIATE CODE: A621

Effective date: 20060516

RD02 Notification of acceptance of power of attorney

Free format text: JAPANESE INTERMEDIATE CODE: A7422

Effective date: 20060703

RD04 Notification of resignation of power of attorney

Free format text: JAPANESE INTERMEDIATE CODE: A7424

Effective date: 20060704

A977 Report on retrieval

Free format text: JAPANESE INTERMEDIATE CODE: A971007

Effective date: 20071225

A131 Notification of reasons for refusal

Free format text: JAPANESE INTERMEDIATE CODE: A131

Effective date: 20080115

A521 Written amendment

Free format text: JAPANESE INTERMEDIATE CODE: A523

Effective date: 20080313

TRDD Decision of grant or rejection written
A01 Written decision to grant a patent or to grant a registration (utility model)

Free format text: JAPANESE INTERMEDIATE CODE: A01

Effective date: 20080617

A01 Written decision to grant a patent or to grant a registration (utility model)

Free format text: JAPANESE INTERMEDIATE CODE: A01

A61 First payment of annual fees (during grant procedure)

Free format text: JAPANESE INTERMEDIATE CODE: A61

Effective date: 20080630

FPAY Renewal fee payment (event date is renewal date of database)

Free format text: PAYMENT UNTIL: 20110718

Year of fee payment: 3

R150 Certificate of patent or registration of utility model

Free format text: JAPANESE INTERMEDIATE CODE: R150

FPAY Renewal fee payment (event date is renewal date of database)

Free format text: PAYMENT UNTIL: 20110718

Year of fee payment: 3

FPAY Renewal fee payment (event date is renewal date of database)

Free format text: PAYMENT UNTIL: 20120718

Year of fee payment: 4

S531 Written request for registration of change of domicile

Free format text: JAPANESE INTERMEDIATE CODE: R313531

FPAY Renewal fee payment (event date is renewal date of database)

Free format text: PAYMENT UNTIL: 20120718

Year of fee payment: 4

R350 Written notification of registration of transfer

Free format text: JAPANESE INTERMEDIATE CODE: R350

FPAY Renewal fee payment (event date is renewal date of database)

Free format text: PAYMENT UNTIL: 20120718

Year of fee payment: 4

FPAY Renewal fee payment (event date is renewal date of database)

Free format text: PAYMENT UNTIL: 20130718

Year of fee payment: 5

FPAY Renewal fee payment (event date is renewal date of database)

Free format text: PAYMENT UNTIL: 20130718

Year of fee payment: 5

S111 Request for change of ownership or part of ownership

Free format text: JAPANESE INTERMEDIATE CODE: R313111

FPAY Renewal fee payment (event date is renewal date of database)

Free format text: PAYMENT UNTIL: 20130718

Year of fee payment: 5

R350 Written notification of registration of transfer

Free format text: JAPANESE INTERMEDIATE CODE: R350

R250 Receipt of annual fees

Free format text: JAPANESE INTERMEDIATE CODE: R250

R250 Receipt of annual fees

Free format text: JAPANESE INTERMEDIATE CODE: R250

R250 Receipt of annual fees

Free format text: JAPANESE INTERMEDIATE CODE: R250

R250 Receipt of annual fees

Free format text: JAPANESE INTERMEDIATE CODE: R250

LAPS Cancellation because of no payment of annual fees