JP4151159B2 - 媒質の測定装置 - Google Patents
媒質の測定装置 Download PDFInfo
- Publication number
- JP4151159B2 JP4151159B2 JP17049399A JP17049399A JP4151159B2 JP 4151159 B2 JP4151159 B2 JP 4151159B2 JP 17049399 A JP17049399 A JP 17049399A JP 17049399 A JP17049399 A JP 17049399A JP 4151159 B2 JP4151159 B2 JP 4151159B2
- Authority
- JP
- Japan
- Prior art keywords
- light
- reference light
- mirror
- measurement object
- lens
- Prior art date
- Legal status (The legal status is an assumption and is not a legal conclusion. Google has not performed a legal analysis and makes no representation as to the accuracy of the status listed.)
- Expired - Fee Related
Links
Images
Landscapes
- Instruments For Measurement Of Length By Optical Means (AREA)
- Length Measuring Devices By Optical Means (AREA)
- Investigating Or Analysing Materials By Optical Means (AREA)
Description
【発明の属する技術分野】
本発明は、光学的に透明な薄板や薄膜等の媒質の厚さ及び屈折率の光学的同時測定に係り、装置の小型安定化及び測定の自動化を可能とする媒質の測定装置および測定方法に関する。
【0002】
【従来の技術】
従来から、薄膜や光ガラス等の透明試料の厚さを測定する手段として、低コヒーレンス干渉法やレーザ光を試料にスポット照射する方法などが知られている。
【0003】
低コヒーレンス干渉法を用いる光学測定系としては、例えば、特開平10−2855号公報(以下、イ号公報と呼ぶ。)に開示されたものが知られている。イ号公報に開示の光学測定系は、積層構造体に対して光を照射する点光源と、この点光源と積層構造体との間に順に配列されたビームスプリッタおよび対物レンズと、点光源と積層構造体とを結ぶ直線上において、ビームスプリッタの一方に配置された参照光ミラーと、ビームスプリッタの他方に配置した検出器を備えたものである。上記イ号公報に開示されたような光学測定系の基本的な構成は、低コヒーレンス干渉法を利用するものではごく一般的なものとして従来から広く知られている。
【0004】
低コヒーレンス干渉法の基本原理は、光学的に透明な測定対象に平行なビーム又は集光されたビームを照射し、測定対象である媒質の前面又は後面からのそれぞれの反射信号光と参照光との光路差が等しくなるように参照光ミラーの2点の位置を特定し、これらの2点の位置の間隔から測定対象の前面と後面の光路差を測定するというものである。
【0005】
しかし、測定対象の前面と後面との間の光路差は、測定対象の群屈折率と厚さの積で表される光学的厚さであり、このような低コヒーレンス干渉法による測定では、測定対象である媒質の位相屈折率と群屈折率を分離して測定することは容易ではない。
【0006】
そこで、媒質の位相屈折率及び複屈折率と厚さの分離測定を可能とするとともに位相屈折率を群屈折率の測定を可能とする光干渉法を利用した測定方法及びその装置として、特開平10−325795号公報(以下、ロ号公報と呼ぶ。)が開示されており、また、特願平10−154295号(以下、ハ号出願と呼ぶ。)が開示されている。以下、これらに記載された媒質の測定方法及び測定装置について説明する。
【0007】
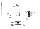
図6はロ号公報に開示の光学測定系のシステムを示す模式図である。
【0008】
図6において、51は低コヒーレンス光を照射する発光素子、52は発光素子51に対峙して配設されその光軸方向に移動可能としたステージである。ステージ52には測定対象である測定対象物Mが保持搭載されている。53は発光素子51から照射される低コヒーレンス光をコリメートするコリメートレンズ、54は発光素子51の光軸上に配設されコリメートレンズ53によってコリメートされた低コヒーレンス光(以下、平行光線と呼ぶ。)を該光軸方向と該光軸に垂直な方向に二等分するビームスプリッタ、55は発光素子51の光軸上に配設されビームスプリッタ54により二等分された平行光線を集光する集光レンズ、55aはステージ52と同じ方向に平衡移動可能に配設され集光レンズ55を搭載するステージ、56はビームスプリッタ54内で発光素子51の光軸と垂直方向に分割された平行光線(以下、直交平行光線と呼ぶ。)の光軸上に該光軸に垂直に配設された平面鏡からなる参照光ミラー、56aは参照光ミラー56を搭載し発光素子51の光軸と直交する方向に平行移動自在に配設されたステージ、56bはステージ56aに固定され参照光ミラー56を加振する振動手段、57は直交平行光線の光軸上のビームスプリッタ54に対して参照光ミラー56と逆側に配設された受光素子、57aは直交平行光線の光軸上のビームスプリッタ54と受光素子57の間に配設され直交平行光線を受光素子57上に集光するレンズである。これらの光学系は、全ては剛性の高い定盤(図示せず)上に配置される。
【0009】
受光素子57はその前面側に配置した集光レンズ57aからの光を受け、その検出信号を検出回路(図示せず)に出力する。また、制御装置等を利用した操作端末(図示せず)を備え、操作端末は検出回路からのデジタル信号を受けてデータ処理するとともに、ステージコントローラ(図示せず)に信号を入力してステージ52,56a,55aの移動方向及び移動量を制御する。
【0010】
発光素子51からの低コヒーレンス光はコリメートレンズ53によってコリメートされた後ビームスプリッタ54によって二等分され、その光の一方は集光レンズ55を通過して測定対象Mに集光され、他方の光は参照光ミラー56側へ進む。測定対象物Mからの反射光はビームスプリッタ54から受光素子57へ進む。振動手段56bによりある周波数で所定の振幅の振動を加えられた参照光ミラー56からの反射光は、参照光ミラー56の振動により位相変調され受光素子57へ入射する。受光素子57においては、これらの2つの入射光によって干渉信号が得らる。ステージコントローラは、干渉信号強度が最大となるようにステージ52又はステージ55a及び56aの位置を制御する。
【0011】
以上のように構成された媒質の測定装置において、以下その測定方法について説明する。
【0012】
まず、発光素子51からの低コヒーレンス光が測定対象物Mの前面に焦点を持つようにステージ52の位置を設定する。次に、ステージ56aを移動させ、参照光ミラー56の位置を、検出回路による干渉信号強度が最大となる位置に移動する。次いで、発光素子51からの低コヒーレンス光が測定対象の測定対象物Mの後面に焦点を持つように、ステージ52により測定対象物Mを集光レンズ55側へ移動さる。このときの測定対象物Mの移動量(すなわち、ステージ52の移動量)をzとする。
【0013】
以上の設定の後、ステージ56aにより、参照光ミラー56をビームスプリッタ54から離れる向きに移動させ、受光素子57により受光される、参照光ミラー56からの反射光と測定対象物Mの後面63からの反射光との干渉光の強度が、再び最大となる位置に参照光ミラー56の位置を設定する。このときの参考光ミラー56の移動量(すなわち、ステージ56aの移動量)をΔLとする。
【0014】
これらの各ステージの移動量であるzとΔLの値から、測定対象の測定対象物Mの位相屈折率nと厚さtとを以下のようにして導出することができる。
【0015】
低コヒーレンス光を測定対象物Mに対して集光させる集光レンズ55の開口数をS、測定対象物Mの位相屈折率をn、測定対象物Mの屈折率波長分散量をΔnとする。波長分散量Δn<<1の近似の下では、上記の移動量であるΔLとzを用い、測定対象物Mの位相屈折率nは(数1)により算出することができる。
【0016】
【数1】
【0017】
また(数1)中の波長分散量Δnも上記のΔLとzと定数aおよびbを用いて、(数2)により算出することができる。
【0018】
【数2】
【0019】
ここで定数aおよびbは、実験的に得られる値であり、固体に対してはaが0.0241、bが1.69となり、液体に対してはaが0.0460、bが1.53となる。
【0020】
さらに、測定対象の測定対象物Mの厚さtは、ここで求められた媒体Mの位相屈折率n、波長分散量Δnと、上記の上記のΔLとzを用いて(数3)により算出することができる。
【0021】
【数3】
【0022】
以上のように、上記測定により、測定対象物Mの位相屈折率nと厚さtを同時に光学的な測定によって得ることができる。
【0023】
また、同様の測定方法を用い、測定対象物Mのサンプルホルダーを使用することにより、媒体Mの位相屈折率np,群屈折率ng及び厚さtの測定を行うことができる。
【0024】
図7はハ号出願に係る明細書に記載の媒質の測定装置および測定法に用いる測定対象物を固定するホルダーの側面図である。
【0025】
図7において、Mは屈折率と厚さの測定の測定対象の測定対象物、55は測定対象物Mの前面62側の測定対象物Mに入射される平行光線の光軸上に配設され平行光線を光軸上に集光する集光レンズ、60,61は測定対象物Mの両側に平行に間隔t0で配設された2枚の透明板からなる前側透過板及び後側反射板、61aは前側透過板60の後面、62は測定対象物Mの前面、63は測定対象物Mの後面、61aは後側反射板61の前面である。測定対象物Mは前側透過板60,後側反射板61の間に所定の間隔t1,t2の空気層を設けて挟持されている。また、前側透過板60,後側反射板61及び測定対象物Mは、前側透過板60の後面60a,測定対象物Mの前面62及び後面63,後側反射板61の前面61aは、入射される平行光線の光軸に垂直となるように配設される。入射された平行光線は、集光レンズ55により集光され前側透過板60側から測定対象物Mに入射する。2枚の前側透過板60,後側反射板61の間隔t0は、使用する集光レンズ55の焦点距離によって任意に決定される。
【0026】
測定光学系の構成は図6と同様であるが、図6の集光レンズ55の位置に、図7の集光レンズ55が配設され、測定対象物Mの両側には2枚の前側透過板60,後側反射板61が配設された構成とされる。
【0027】
以上のように構成された媒質の測定装置において、以下その測定方法について説明する。
【0028】
まず、ロ号公報に開示の測定方法において説明した動作と同様にして、前側透過板60の後面60a,測定対象物Mの前面62,後面63及び後側反射板61の前面61aの4面において、各々、zとΔLを決定する。後面60aと前面62、及び後面63と前面61aとの間は空気層なので、位相屈折率np=群屈折率ng=1である。従って、後面60aと前面62、及び後面63と前面61aとの間で測定される各々のzはt1,t2となり、ΔLは0となる。これにより、前記4面(後面60a,前面62,後面63,前面61a)の各々の測定から、前側透過板60の後面60aと測定対象物Mの前面62との間の空気層の厚さt1、測定対象物Mの前面62,後面63におけるzとΔL、及び測定対象物Mの後面63と後側反射板61の前面61aとの間の空気層の厚さt2が得られる。また、前側透過板60の後面60aと後側反射板61の前面61aの間隔t0は、前もって測定しておけば既知である。従って、(数4)により、測定対象物Mの厚さtが求められる。
【0029】
【数4】
【0030】
このようにtが測定できるので、(数5)及び(数6)により、位相屈折率npおよび群屈折率ngを求めることができる。
【0031】
【数5】
【0032】
【数6】
【0033】
以上のように、測定対象物Mを固定するホルダーとして、測定対象物Mを2枚の前側透過板60,後側反射板61に間隙を設けて挟持できる媒質ホルダーを用いることにより測定対象物Mの厚さt及び位相屈折率npと群屈折率ngに分離して測定することができる。
【0034】
【発明が解決しようとする課題】
しかしながら上記従来の媒質の測定方法及び測定装置では、以下のような課題を有していた。
(1)低コヒーレンス光を利用した干渉法による媒質の測定においては、参照光ミラー56を介する参照光の光路長と測定対象物(測定対象物M)を介する信号光の光路長とを等しく設定することが測定のための条件である。即ち、例えば、図6に示したようなマイケルソン型干渉光学系の例では、ビームスプリッタ54から測定対象物(測定対象物M)へ向かうまでの光路長と、ビームスプリッタ54から参照光ミラー56へ向かうまでの光路長の、それぞれの長さを等しく設定することが必要となる。従って、ステージ52とステージ56aの移動量の制御は厳しく精度管理する必要がある。また、光学測定に必要なステージ走査範囲を持たせるために、それぞれの機器の配置も制約を受ける。故に、発光素子51、測定対象(測定対象物M)を保持搭載するステージ52等の構成要素部品の配置については、測定光学系の光路長を基準とした配置とする必要があり、これら構成要素部品が占有する面積の縮小も制限され、測定装置の小型化が難しいという課題を有していた。
(2)上記従来の測定原理で測定対象物Mの屈折率及び厚さの同時測定を行う場合、第一に集光レンズ55からの光が集光する測定対象物Mの前面および後面位置の特定を行い、その後、それら前後面の集光位置に対応する参照光ミラー56の位置を干渉信号強度から決定する必要があるが、従来の光学系の構成では、媒体の前後面での集光位置の特定が困難であり、時間がかかる。すなわち、ステージ52とステージ56aを交互に走査し、干渉信号が検出される位置を探すことになるため、自動測定には膨大な時間を要するという課題を有していた。
【0035】
本発明は上記従来の課題を解決するもので、測定装置の各構成要素部品の配置の自由度を増すことにより、装置の小型化が可能であり、更に、装置の安定化および測定の高速化が可能で、高精度な測定対象物の屈折率と厚さの同時自動測定が可能となる媒質の測定装置を提供することを目的とする。
【0037】
【課題を解決するための手段】
上記課題を解決するために本発明の媒質の測定装置は、低コヒーレンス光を出射する光源と、光源より出射された低コヒーレンス光をコリメートするコリメートレンズと、コリメートされた低コヒーレンス光を検査光と参照光とに空間的に分離し2つの光路に分割する光路分割手段と、光路分割手段により分離される検査光を集光し測定対象物に照射する対物集光レンズと、測定対象物を保持搭載し検査光の光軸方向に移動する測定対象物駆動手段及び/又は対物集光レンズを保持搭載し検査光の光軸方向に移動する対物集光レンズ駆動手段と、光路分割手段により分離される参照光の光路長を調節する参照光光路長調節手段と、参照光を位相変調する位相変調手段と、位相変調された参照光と測定対象物からの検査光の反射光である信号光とを干渉させ干渉光を生成する干渉光生成手段と、干渉光生成手段により生成された干渉光の強度を検出する受光素子と、を備え、位相変調手段が、参照光の光路内に挿入された透明板と、透明板に周期的な角度変位を与えることの可能な振動手段と、を備えた構成より成る。
【0038】
この構成により、測定装置の各構成要素部品の配置の自由度が増えるため、装置の小型化が可能であり、更に、装置の安定化および測定の高速化が可能で、高精度な測定対象物の屈折率と厚さの同時自動測定が可能となる媒質の測定装置を提供することができる。
【0041】
【発明の実施の形態】
上記目的を達成するために、本発明の請求項1に記載の媒質の測定装置は、低コヒーレンス光を出射する光源と、光源より出射された低コヒーレンス光をコリメートするコリメートレンズと、コリメートされた低コヒーレンス光を検査光と参照光とに空間的に分離し2つの光路に分割する光路分割手段と、光路分割手段により分離される検査光を集光し測定対象物に照射する対物集光レンズと、測定対象物を保持搭載し検査光の光軸方向に移動する測定対象物駆動手段及び/又は対物集光レンズを保持搭載し検査光の光軸方向に移動する対物集光レンズ駆動手段と、光路分割手段により分離される参照光の光路長を調節する参照光光路長調節手段と、参照光を位相変調する位相変調手段と、位相変調された参照光と測定対象物からの検査光の反射光である信号光とを干渉させ干渉光を生成する干渉光生成手段と、干渉光生成手段により生成された干渉光の強度を検出する受光素子と、を備え、位相変調手段が、参照光の光路内に挿入された透明板と、透明板に周期的な角度変位を与えることの可能な振動手段と、を備えた構成としたものである。
【0042】
この構成により、以下のような作用が得られる。
(1)光源より出射された低コヒーレンス光は、コリメートレンズでコリメートされた後、光路分割手段により検査光と参照光とに分割される。検査光は照射手段の対物集光レンズに入射され、対物集光レンズにより集光され、測定対象物に照射される。検査光は、測定対象物において反射され、信号光として対物集光レンズに入射の後、干渉光生成手段に入射される。一方、参照光は、参照光光路長調節手段を介して干渉光生成手段に入射される。この際、参照光の光路中において、参照光は位相変調手段により所定の周波数で位相変調される。干渉光生成手段に入射された信号光と参照光とは、干渉光生成手段で合波され、干渉光として出射され、受光素子に入射され、その強度を検出される。この際、参照光は位相変調手段により位相変調されているため、参照光と信号光とを干渉させることによりヘテロダイン検波が行われる。参照光の光路長は、参照光光路長調節手段により、変化させることが可能である。また、対物集光レンズにより集光される検査光の焦点の測定対象物に対する相対位置は、測定対象物又は対物集光レンズを検査光の光軸に沿って測定対象物駆動手段又は対物集光レンズ駆動手段により移動させることで、任意の位置に調節することが可能である。これにより、後述のサンプル走査法やレンズ走査法により、非接触で測定対象物の屈折率と厚さの分離、同時測定ができる。
(2)ビームスプリッタ(光路分割手段及び干渉光生成手段)を用いることにより、媒質の測定装置を構成する光学系に使用する構成部材の配置の自由度が増加するため、小型化が可能となる。
【0043】
ここで、光源としては、可干渉距離△lc(=((ln(2))×(2/π)×((λc 2)/△λ))/2)が概ね30μm以下の低コヒーレントな光源であればよく、スーパルミネッセントダイオード(SLD)、白色光源(ハロゲンランプやキセノンランプ)からの光をモノクロメータにより特定波長域のみ分光した光源、閾値以下の注入電流で駆動されるレーザダイオード(LD)、発光ダイオード等、が使用される。
【0044】
光源の出力は、変動なく安定でかつ、測定対象物からの信号光および参照光を合波および干渉し、検波する受光素子の感度に合わせることが、測定を安定して行うことができるので好ましい。
【0045】
光源の波長は特に限定されるものではなく、紫外光から赤外光まで、幅広く使用することができる。従って、白色光源とモノクロメータの組み合わせによる光源を用いて、短波長から長波長まで光波長の走査を行い、測定対象物の波長特性(例えば波長分散)を測定することが可能である。また、白色光源をモノクロメータによって分光した光を光源を用いるものと同様に、発振中心波長が異なる複数個のレーザダイオード等を併用することによって、波長特性を測定することも可能である。
【0046】
測定対象物としては、検査光を完全に吸収しない媒質であればよく、ガラス(例えば、石英ガラス、ソーダ石灰ガラス、ホウケイ酸ガラス、鉛ガラス等)や高分子(例えば、ポリメチルメタアクリレート、ポリカーボネート、ポリエチレンテレフタレート、ポリブチレンテレフタレート、メチルメタアクリレート、エポキシ樹脂、ポリフロロアクリレート、シリコン樹脂、メラミン樹脂、紫外線硬化樹脂、電子線硬化樹脂、触媒硬化樹脂、熱硬化樹脂等)や結晶材料(例えば、ニオブ酸リチウム、タンタル酸リチウム、サファイヤ、KDP、ADP、方解石等)や透明容器中の液体材料および生体組織(例えば、角膜、水晶体、爪等)等が挙げられる。また、測定対象物の前面および後面は、必ずしも鏡面である必要はなく、粗面であってもよい。また、測定対象物としては、上記のガラスや高分子や結晶材料に限定されるものではなく、これらの多層膜であっても良い。更に、測定対象物は、光を完全に吸収しない媒質であれば良く、媒質の中に散乱体が介在しているような散乱媒質であっても、反射直進光(信号光)のみを抽出して測定することが可能である。また、測定対象物は、必ずしも平行平板である必要はなく、前面または後面に若干の傾斜もしくは曲率を持った媒質であっても、測定が可能である。
【0047】
光路分割手段,干渉光生成手段としては、無偏光ビームスプリッタ、偏光ビームスプリッタ(即ちPBS)、クロムハーフミラー、アルミハーフミラー、誘電体多層膜ハーフミラー、シングルモード光ファイバカプラ、光導波路、方向性結合器等のビームスプリッタが好適に用いられる。構成が簡単で光強度の損失が少なく、光学系をコンパクトに構成することが可能であるからである。また、ビームスプリッタには、入射する光の反射をできるだけ小さくし、透過光量を大きくするため、反射防止(以降AR)コートを施したものが望ましい。ARコートとしては、多層膜コートが好ましい。
【0048】
尚、光路分割手段,干渉光生成手段としては、光束を分波・合波又は合波・干渉できるものであればよく、ハーフミラー、シングルモード光ファイバカプラ等も使用できる。特に、シングルモード光ファイバカプラを使用すると、干渉光学系全体を光ファイバ化することができ、光学系に使用する構成部材の配置の自由度が極めて大きくなり、光学系をコンパクトに構成することが極めて容易となる。但し、ここでシングルモード光ファイバカプラや方向性結合器等を使用すると、カプラ部分の分散により、分割後の光源の特性が変化することを考慮する必要がある。また、光源の使用波長により、これらのビームスプリッタを使用波長に対して、吸収および損失が最小となるように最適化する必要があることは言うまでもない。
【0049】
コリメートレンズ,対物集光レンズとしては、ガラス、光学結晶等の無機物、又はポリメチルメタアクリレート、ポリカーボネート等の高分子材料(有機物)の平凸レンズ、両凸レンズ、円筒レンズ、球レンズ等が使用される。中でも、可視域および近赤外域の波長に対して、透過率が極めて良いBK7を用いた集光レンズや、紫外域および可視,近赤外域の波長に対する透過率が良く熱膨張係数も小さく温度に対して安定した性質を持つ石英を用いた集光レンズなどの無機物の集光レンズが好適に用いられる。また、これらの集光レンズには、入射する光の反射をできるだけ小さくし、透過光量を大きくするため、ARコートを施すことが望ましい。ARコートとしては、多層膜コートが好ましい。尚、透過率等が良好な集光レンズとして、金属顕微鏡用の対物レンズを使用してもよい。
【0050】
参照光光路長調節手段としては、参照光をその光軸方向と平行に入射方向と逆向きに反射する参照光ミラーを移動させることによる光路長の調節手段が好適に用いられる。この際、参照光ミラーとしては、クロム全反射ミラー、アルミ全反射ミラー、誘電体多層膜全反射ミラー等が使用されるが、特にこれらに限定されるものではない。また、形状に関しても平面ミラーや直角プリズム、コーナーキューブプリズム(リトロリフレクター)等が使用され、特に形状が限定されるものではなく、干渉光学系の構成から最適な形状および特性を持ったものを選択することが望ましい。この構成により、以下のような作用が得られる。
(1)参照光は、光路分割手段から参照光ミラーを介して干渉光生成手段に入射され、参照光の光路長は、参照光ミラー駆動手段により参照光ミラーを参照光の光軸方向に移動させることにより、変化させることが可能である。
(2)参照光ミラー駆動手段の移動量と参照光の光路長の変化量が比例するため、参照光の光路長の制御が容易となる。
【0051】
測定対象物駆動手段,対物集光レンズ駆動手段としては、正確に移動距離を測定可能なものであればよく、パルスステージ、リニアモータステージ等の微動ステージや、超音波リニアモータアクチュエータ、圧電リニアアクチュエータ等の微動アクチュエータが使用される。これらの微動ステージや微動アクチュエータは、測定精度を向上させるため、分解能1μm以下、繰り返し位置決め精度±1μm以下、真直度1μm以下、平行度1μm以下、ヨーイング5sec以下、ピッチング5sec以下の特性を持ったものが望ましい。尚、測定対象物駆動手段,対物集光レンズ駆動手段としては、上述の微動ステージや微動アクチュエータに限られるものではなく、上記特性を満足できるものであれば、どのようなものを用いてもよい。
【0052】
位相変調手段として、参照光の光路内に挿入された透明板と、透明板に周期的な角度変位を与えることの可能な振動手段と、を備えた構成にすることにより、以下のような作用が得られる。
(1)振動手段が透明板に対し周期的な角度変位を与え、この振動により透明板を透過する参照光の光路長が周期的に変化し、参照光が位相変調される。これにより、ヘテロダイン検波を行うことが可能となり、干渉光信号の処理を安定化し、高精度に表裏面の位置決めができる。
(2)参照光の光路中に簡単に挿入することができ、光軸調整を必要としない。
(3)透明板は、参照光が透過する程度の大きさでよく、光学系全体の小型化が図れる。
ここで、透明板としては、参照光を効率よく透過させる透明平行平板が望ましく、溶融石英板等の各種光学ガラスや光学結晶、高分子材料等を用いることができる。また、透明板は、透過光量を大きくとるため、反射防止(AR)コートを施したものが望ましい。ARコートとしては、多層膜コートが好ましい。
【0053】
そして、透明板に周期的な角度変位を与える振動手段としては、ガルバノメータ(ガルバノミラー)に使用されるモータ(ガルバノモータ)、ピエゾ素子等が挙げられる。
振動手段が透明板に与える周期的な角度変位は、その周波数fが100Hz〜10kHz、周期的な角度変位により周期的に変化する参照光の光路長の振幅Aが光源の発振中心波長λcの1/4〜1/2となるような振動を与えることが好ましい。周波数fが100Hzより低くなるに従い、交流の60および50Hzのノイズが検出信号にのりS/N比が低下する傾向があり、周波数fが10kHzより高くなるに従い、ヘテロダイン検波される信号処理に高速化が要求され、信号処理系が追従できなくなる傾向があり、また、振幅Aが光源の発振中心波長λcの1/4より短くなるにつれ、ヘテロダイン検波される信号の振幅(強度)が小さくなる傾向があり、振幅Aが光源の発振中心波長λcの1/2より長くなると、ヘテロダイン検波される信号に基本周波数fの高調波成分が多く乗り始め、基本周波数fの整数倍に同期した検波信号を処理することになるからである。
【0054】
受光素子としては、ヘテロダイン検波が可能なフォトダイオードであればよく、シリコンフォトダイオード、シリコンPINフォトダイオード、シリコンアバランシェフォトダイオード、GaAsPフォトダイオード(拡散型)、GaAsPフォトダイオード(ショットキ型)、GaPフォトダイオード、Geフォトダイオード、Geアバランシェフォトダイオード、InGaAs−PINフォトダイオード等が使用される。ここで、受光素子は、光源の使用波長、出力強度および位相変調周波数により、最適なものを選定する必要があることは言うまでもない。中でも、光源の波長400nmから1000nmの検波においては、シリコンフォトダイオード、また、光源の波長700nmから1700nmの検波においては、Geフォトダイオードが好適に使用される。尚、受光素子としては、上記のものに限定されるものではなく、位相変調手段により、位相変調された参照光と測定対象物からの信号光をヘテロダイン検波できるものであれば良い。
【0055】
尚、媒質の測定装置の干渉光学系において光路分割手段で分割されてから受光素子に至る2つの光路は、波長分散量が互いに補償されていることが望ましい。従って、上記2つの光束の光路の何れか一方、又は両方に分散補償板,分散補償ブロック又は分散補償ファイバ等の波長分散量補償手段を介在させることが望ましい。
【0056】
また、更に参照光の光路中にシャッター等の参照光の光路を遮断・解放する参照光遮断手段を配設し、干渉光生成手段と受光素子との光路中に共焦点光学系を構成するための干渉光集光レンズとピンホールとを配設してもよい。外部から電気的な制御が可能な電磁シャッター等が好適である。これにより、自動測定が可能となり、以下の作用が得られる。
(1)参照光遮断手段により、参照光の受光素子への入射が遮断又は解放される。参照光遮断手段を解放したときには、媒質の測定装置の光学系は干渉光学系となり、参照光遮断手段を遮断したときには、媒質の測定装置の光学系は共焦点光学系となる。ピンホールは、対物集光レンズと干渉光集光レンズの共焦点光学系を構成するためのものであり、干渉光集光レンズと受光素子との間の光路中の干渉光集光レンズの焦点位置に挿入されている。これにより、参照光遮断手段で、参照光の受光素子への入射を遮断すると、本光学系は共焦点光学系として動作し、測定対象物若しくは対物集光レンズを測定対象物駆動手段又は対物集光レンズ駆動手段で検査光の光軸方向に移動させ、受光素子の受光強度を検出することにより、対物集光レンズを介して集光される検査光の焦点位置が測定対象物の反射面に一致する測定対象物若しくは対物集光レンズの位置(以下、各反射面に対する合焦点位置と呼ぶ。)を特定(フォーカスサーチ)することができる。
(2)ア.最初に、参照光遮断手段により参照光の受光素子への入射を遮断し、共焦点系による測定対象物の反射面のフォーカスサーチにより、各反射面に対する合焦点位置のおよその位置を特定する。イ.その後、参照光遮断手段を解放し、干渉光学系として動作させ、共焦点系により特定した表裏面の位置近傍で、各々参照光ミラーを走査、干渉信号強度が最大になる参照光ミラーの位置を特定する。ウ.上記ア.で共焦点系により特定した表裏面の位置は、あくまで概略座標であるため、イ.で決定した移動量(z,△L)の確度を上げるため、再度イ.の座標近傍で測定対象物若しくは集光レンズと参照光ミラーを走査し、干渉信号強度が極大になる各々の座標を決定する。ここで、本干渉系は、低コヒーレンス干渉系であるため、測定対象物の表面に集光している場合において干渉信号が極大になる測定対象物もしくは集光レンズと参照光ミラーの位置関係は1点に決定でき、同様に裏面においても1点と決定されます。この表裏面における各々のステージの差がz(測定対象物もしくは集光レンズの移動距離)と△L(参照光ミラーの移動距離)となる。これにより、各反射面に対する合焦点位置を探す時間が短縮され、媒質の測定に要する時間が短縮される。
干渉光集光レンズとしては、コリメートレンズや対物集光レンズと同様、ガラス、光学結晶等の無機物、又はポリメチルメタアクリレート、ポリカーボネート等の高分子材料(有機物)の平凸レンズ、両凸レンズ、円筒レンズ、球レンズ等が使用される。
ここで、ピンホールの径(ピンホール径)は、100μm以下とすることが好ましく、使用する干渉光集光レンズの特性、及び参照光を解放し干渉光学系として動作させたときの受光素子の干渉信号強度の感度によって最適化することが望ましい。
【0059】
上記した参照光ミラー駆動手段としては、測定対象物駆動手段,対物集光レンズ駆動手段と同様、正確に移動距離を測定可能なものであればよく、パルスステージ、リニアモータステージ等の微動ステージや、超音波リニアモータアクチュエータ、圧電リニアアクチュエータ等の微動アクチュエータが使用される。
【0060】
また、参照光光路長調節手段は、参照光の光軸方向に移動自在に配設され参照光を同軸逆向きに反射する参照光ミラーと、参照光ミラーを参照光の光軸方向に移動可能に保持搭載する参照光ミラー駆動手段と、光路分割手段から入射される参照光を参照光ミラーに出射するとともに参照光ミラーから反射される参照光を光路分割手段から入射される参照光と空間的に分離して出射する参照光分岐手段と、を備えた構成としてもよい。
【0061】
この参照光光路長調節手段の構成により、以下のような作用が得られる。
(1)参照光は、光路分割手段から参照光分岐手段を介して参照光ミラーへ入射され、参照光ミラーで反射された参照光は同軸逆向きに参照光分岐手段に入射され、光路分割手段から入射された参照光と空間的に分離された後、干渉光生成手段に入射される。参照光の光路長は、参照光ミラー駆動手段により参照光ミラーを参照光の光軸方向に移動させることにより、変化させることが可能である。
(2)参照光ミラー駆動手段の移動量と参照光の光路長の変化量が比例するため、参照光の光路長の制御が容易となる。
(3)参照光ミラーに入射する参照光と参照光ミラーで反射された参照光の光軸は同軸とすることができるため、1本のシングルモード光ファイバにより、参照光ミラーへ向かう参照光及び参照光ミラーで反射された参照光を導波させることが可能であり、光学系を更にコンパクト化することが可能となる。
(4)構成部材を少なくすることができる。
【0062】
ここで、参照光分岐手段としては、光路分割手段,干渉光生成手段と同様、無偏光ビームスプリッタ、偏光ビームスプリッタ(即ちPBS)、クロムハーフミラー、アルミハーフミラー、誘電体多層膜ハーフミラー、シングルモード光ファイバカプラ、光導波路、方向性結合器等のビームスプリッタが好適に用いられる。
【0068】
ところで、光源からコリメートレンズに至る光路中、コリメートレンズから光路分割手段に至る光路中、光路分割手段から干渉光生成手段に至る参照光の光路中、光路分割手段から対物集光レンズに至る検査光の光路中、対物集光レンズから干渉光生成手段に至る信号光の光路中のうちの少なくとも一つの光路中に配設された1乃至複数のシングルモード光ファイバを備えた構成とするのがよい。
【0069】
この構成により、以下のような作用が得られる。
(1)複数のビームスプリッタと光路に配設されたシングルモード光ファイバとを用いることにより、干渉光学系に使用する構成部材の配置の自由度を増し、小型化が可能になると共に、非接触に測定対象物の屈折率と厚さの分離、同時測定ができる。
(2)シングルモード光ファイバの条長を調整することにより、信号光および参照光アームの波長分散量のアンバランスを補償することができる。
(3)シングルモード光ファイバを用いることにより、光路を直線的な引き回しから、曲線での引き回しが可能となり、光学系のハンドリングが良くなる。
【0070】
ここで、シングルモード光ファイバとしては、偏波面保存光ファイバ等が使用される。
【0071】
尚、信号光の光路中にシングルモード光ファイバを介設した場合は、対物集光レンズを介して測定対象物から入射される信号光がシングルモード光ファイバ内を導波する際、信号光は、シングルモード光ファイバによりフィルタリングされ、干渉光集光レンズとピンホールとを組み合わせた場合と同様の作用により、受光素子へ導かれるため、干渉光集光レンズを用いる場合には、干渉光集光レンズと受光素子との間の光路中にピンホールをあえて挿入する必要はない。
【0076】
ここで、シングルモード光ファイバを偏波面保存光ファイバとすることで、以下のような作用が得られる。
(1)光ファイバ内を伝搬する光の偏波面が回転しないため、光源の偏波特性をそのまま保持することができ、安定した測定ができる。
(2)偏光ビームスプリッタ(PBS)との組み合わせにより、TEおよびTMモードの分離も可能となり、測定対象物の複屈折測定ができる。
【0088】
また、本発明の請求項1に記載の媒質の測定装置は、参照光又は検査光若しくは信号光の光路中に配設された波長分散量補償手段を備え、波長分散量補償手段は、参照光と信号光との波長分散の量を互いに補償する構成としてもよい。
【0089】
この構成により、以下のような作用が得られる。
(1)分散補償手段は、光路分割手段で分割された参照光の光路(以下、参照光アームと呼ぶ。)と検査光及び信号光の光路(以下、信号光アームと呼ぶ。)での波長分散量のアンバランスを補償するものであり、参照光アーム又は信号光アームの光路中に、両アームの波長分散量のアンバランスに見合う透明部材を挿入し、波長分散のアンバランスをキャンセルする。
(2)干渉信号の包絡線の半値全幅を光源のコヒーレンス長まで狭くすることができ、光源本来の特性を活かして、高精度に前後面の位置決めができる。
【0090】
ここで、分散補償手段としては、ガラス、光学結晶等の無機物およびポリメチルメタアクリレート、ポリカーボネート等の高分子材料(有機物)等で構成される分散補償ブロックが使用される。これら、分散補償ブロックの光軸方向の厚さは、参照光アームと信号光アームとの波長分散のアンバランスの補償に見合う厚さとすることは言うまでもない。また、分散補償ブロックには、入射する光の反射をできるだけ小さくし、透過光量を大きくするため、ARコートを施したものが望ましい。ARコートとしては、多層膜コートが好ましい。更に、参照光、及び/又は検査光及び/又は信号光の光路中にシングルモード光ファイバが配設されている場合は、各々の光路に配設されたシングルモード光ファイバの丈長を調整することにより、波長分散量のアンバランスをキャンセルすることが可能であり、シングルモード光ファイバを分散補償手段として使用することもできる。
【0093】
ところで、本発明の請求項1に記載の媒質の測定装置は、測定対象物を保持するサンプルホルダを備え、サンプルホルダは、測定対象物と対物集光レンズとの間に測定対象物と所定の間隔をあけて配設された透明板からなる前側透過板と、測定対象物をはさんで前側透過板に対向して測定対象物と所定の間隔をあけて配設された反射板からなる後側反射板と、を備えた構成としてもよい。
【0094】
この構成により、媒体Mの位相屈折率np、群屈折率ngおよび厚さtの測定を行うことができるという作用が得られる。
【0095】
上記目的を達成するために本発明の請求項1に記載の媒質の測定装置を使った測定方法は、コリメートされた低コヒーレンス光を検査光と参照光とに空間的に分離し、検査光を対物集光レンズにより測定対象物の各反射面に集光するとともに参照光を位相変調し、測定対象物からの検査光の反射光である信号光と位相変調された参照光とを干渉させ干渉光を生成し、参照光の光路中に配設され、入射される参照光をその光軸に平行逆向きに反射する参照光ミラーを、参照光の光軸方向に変位させることにより参照光の光路長を変化させ、干渉光の強度を測定する媒質の測定方法であって、参照光の光路を遮断する参照光遮断手順と、参照光が遮断された状態で測定対象物を検査光の光軸方向に走査させるとともに信号光の強度を測定する測定対象物走査手順と、測定対象物走査手順において信号光の強度の極大となる測定対象物の位置を検査光が測定対象物の各反射面上に集光する測定対象物のおよその合焦点位置として特定する測定対象物概略位置特定手順と、参照光の光路を開放し位相変調された参照光を信号光と干渉させ干渉光を生成する参照光開放手順と、測定対象物の各反射面に対し測定対象物をおよその合焦点位置に移動し、およその合焦点位置の近傍で測定対象物を走査しそれと交互して参照ミラーを微小範囲で走査し、干渉光の強度が最大となる測定対象物の位置x i と参照光ミラーの位置wiとを求める測定対象物位置特定手順と、各反射面に対する測定対象物の位置xiと参照光ミラーの位置wiとに基づき測定対象物の屈折率と厚さを求める換算手順と、を備えた構成としたものである。
【0096】
この構成により、あらかじめ共焦点光学系により、測定対象物の前後面の集光位置を特定するため、簡便にかつ短時間で測定対象物の屈折率と厚さを測定できるという作用が得られる。
【0097】
ここで、コリメートされた低コヒーレンス光を検査光と参照光とに分離する方法としては、ビームスプリッタ、ハーフミラー、シングルモード光ファイバカプラ等による光路分割の方法が用いられる。
【0098】
参照光を位相変調する方法としては、参照光の光路中に参照光を反射する反射鏡(参照光ミラー等)を挿入し、参照光ミラーを加振することで位相変調を行う方法や、参照光の光路内に透明板を挿入し参照光を該透明板に透過させ、該透明板に周期的な角度変位を与えることにより参照光の位相変調を行う方法や、参照光の光路内に電気光学結晶を挿入し参照光を該電気光学結晶に透過させ、該電気光学結晶に周期的な電界により屈折率変化を与えることにより参照光の位相変調を行う方法が用いられる。
【0099】
位相変調された参照光と信号光とを干渉させ干渉光を生成する方法としては、位相変調された参照光と信号光とをビームスプリッタ、ハーフミラー、シングルモード光ファイバカプラ等に入射し合波することにより干渉光を生成する方法が用いられる。
【0100】
参照光の光路を遮断/開放する方法としては、シャッターを用いる方法や、参照光の光路中に介設された反射鏡の反射面を回転させ光路を変える方法等が用いられる。
【0101】
信号光の強度は受光素子を使用して測定される。
【0102】
測定対象物の各反射面に対する測定対象物の位置xiと参照光ミラーの位置ziとを求める方法としては、後述のサンプル走査法などが用いられる。
【0103】
請求項1に記載の媒質の測定装置を使った測定方法は、コリメートされた低コヒーレンス光を検査光と参照光とに空間的に分離し、検査光を対物集光レンズにより測定対象物の各反射面に集光するとともに参照光を位相変調し、測定対象物からの検査光の反射光である信号光と位相変調された参照光とを干渉させ干渉光を生成し、参照光の光路中に配設され、入射される参照光をその光軸に平行逆向きに反射する参照光ミラーを、参照光の光軸方向に変位させることにより参照光の光路長を変化させ、干渉光の強度を測定する媒質の測定方法であって、参照光の光路を遮断する参照光遮断手順と、参照光が遮断された状態で対物集光レンズを検査光の光軸方向に走査させるとともに信号光の強度を測定する対物集光レンズ走査手順と、対物集光レンズ走査手順において信号光の強度の極大となる対物集光レンズの位置を検査光が測定対象物の各反射面上に集光する対物集光レンズのおよその合焦点位置として特定する対物集光レンズ概略位置特定手順と、参照光の光路を開放し位相変調された参照光を信号光と干渉させ干渉光を生成する参照光開放手順と、測定対象物の各反射面に対し対物集光レンズをおよその合焦点位置に移動し、およその合焦点位置の近傍で対物集光レンズを走査しそれと交互して参照ミラーを微小範囲で走査し、干渉光の強度が最大となる対物集光レンズの位置yiと参照光ミラーの位置wiとを求める測定対象物位置特定手順と、各反射面に対する対物集光レンズの位置xiと参照光ミラーの位置wiとに基づき測定対象物の屈折率と厚さを求める換算手順と、を備えた構成としたものである。
【0104】
この構成により、あらかじめ共焦点光学系により、測定対象物の前後面の集光位置を特定するため、簡便にかつ短時間で測定対象物の屈折率と厚さを測定できるという作用が得られる。
【0105】
ここで、測定対象物の各反射面に対する測定対象物の位置xiと参照光ミラーの位置ziとを求める方法としては、後述のレンズ走査法などが用いられる。
【0106】
請求項1に記載の媒質の測定装置を使った測定方法は、コリメートされた低コヒーレンス光を検査光と参照光とに空間的に分離し、検査光を、透明板からなる前側透過板と反射板からなる後側反射板との間に所定の間隔をあけて固定された測定対象物の各反射面に、対物集光レンズにより前側透過板を通して集光するとともに、参照光を位相変調し、測定対象物からの検査光の反射光である信号光と位相変調された参照光とを干渉させ干渉光を生成し、参照光の光路中に配設され、入射される参照光をその光軸に平行逆向きに反射する参照光ミラーを、参照光の光軸方向に変位させることにより参照光の光路長を変化させ、干渉光の強度を測定する媒質の測定方法であって、参照光の光路を遮断する参照光遮断手順と、参照光が遮断された状態で測定対象物を検査光の光軸方向に走査させるとともに信号光の強度を測定する測定対象物走査手順と、測定対象物走査手順において信号光の強度の極大となる測定対象物の位置を検査光が測定対象物の各反射面上又は前側透過板の反射面上若しくは後側反射板の反射面上に集光する測定対象物のおよその合焦点位置として特定する測定対象物概略位置特定手順と、参照光の光路を開放し位相変調された参照光を信号光と干渉させ干渉光を生成する参照光開放手順と、測定対象物の各反射面及び前側透過板の反射面並びに後側反射板の反射面に対し測定対象物をおよその合焦点位置に移動し、およその合焦点位置の近傍で測定対象物を走査しそれと交互して参照ミラーを微小範囲で走査し、干渉光の強度が最大となる測定対象物の位置xiと参照光ミラーの位置wiとを求める測定対象物位置特定手順と、各反射面及び前側透過板の反射面並びに後側反射板の反射面に対する測定対象物の位置xiと参照光ミラーの位置wiとに基づき測定対象物の屈折率と厚さを求める換算手順と、を備えた構成としたものである。
【0107】
この構成により、あらかじめ共焦点光学系により、測定対象物の前後面の集光位置を特定するため、簡便にかつ短時間で測定対象物の屈折率と厚さを測定できるという作用が得られる。
【0108】
ここで、測定対象物の各反射面及び前側透過板の反射面並びに後側反射板の反射面に対する測定対象物の位置xiと参照光ミラーの位置ziとを求める方法としては、後述のサンプル走査法などが用いられる。
【0109】
請求項1に記載の媒質の測定装置を使った測定方法は、コリメートされた低コヒーレンス光を検査光と参照光とに空間的に分離し、検査光を、透明板からなる前側透過板と反射板からなる後側反射板との間に所定の間隔をあけて固定された測定対象物の各反射面に、対物集光レンズにより前側透過板を通して集光するとともに、参照光を位相変調し、測定対象物からの検査光の反射光である信号光と位相変調された参照光とを干渉させ干渉光を生成し、参照光の光路中に配設され、入射される参照光をその光軸に平行逆向きに反射する参照光ミラーを、参照光の光軸方向に変位させることにより参照光の光路長を変化させ、干渉光の強度を測定する媒質の測定方法であって、参照光の光路を遮断する参照光遮断手順と、参照光が遮断された状態で対物集光レンズを検査光の光軸方向に走査させるとともに信号光の強度を測定する対物集光レンズ走査手順と、対物集光レンズ走査手順において信号光の強度の極大となる対物集光レンズの位置を検査光が測定対象物の各反射面上又は前側透過板の反射面上若しくは後側反射板の反射面上に集光する対物集光レンズのおよその合焦点位置として特定する対物集光レンズ概略位置特定手順と、参照光の光路を開放し位相変調された参照光を信号光と干渉させ干渉光を生成する参照光開放手順と、測定対象物の各反射面及び前側透過板の反射面並びに後側反射板の反射面に対し対物集光レンズをおよその合焦点位置に移動し、およその合焦点位置の近傍で対物集光レンズを走査しそれと交互して参照ミラーを微小範囲で走査し、干渉光の強度が最大となる対物集光レンズの位置y i と参照光ミラーの位置wiとを求める測定対象物位置特定手順と、各反射面及び前側透過板の反射面並びに後側反射板の反射面に対する対物集光レンズの位置xiと参照光ミラーの位置wiとに基づき測定対象物の屈折率と厚さを求める換算手順と、を備えた構成としたものである。
【0110】
この構成により、あらかじめ共焦点光学系により、測定対象物の前後面の集光位置を特定するため、簡便にかつ短時間で測定対象物の屈折率と厚さを測定できるという作用が得られる。
【0111】
ここで、測定対象物の各反射面及び前側透過板の反射面並びに後側反射板の反射面に対する測定対象物の位置xiと参照光ミラーの位置ziとを求める方法としては、後述のレンズ走査法などが用いられる。
【0124】
以下に本発明の一実施の形態について、図面を参照しながら説明する。
【0125】
(実施の形態1)
図1は本発明の実施の形態1の媒質の測定装置の構成図である。
【0126】
1は低コヒーレンス光を照射する光源、1aは光源1から出射された光をコリメートするコリメートレンズ、2はコリメートレンズ1aでコリメートされた光源1からの照射光をその光軸上を直進する参照光とそれに垂直な方向に直進する検査光とに二分する光路分割手段であるビームスプリッタ、3はビームスプリッタ2から出射される参照光の光軸上に配設され反射面が直角に曲折する逆V字状の折平面に形成された直角プリズムミラー、3aはビームスプリッタ2に対向する直角プリズムミラー3の反射面の一方を構成しビームスプリッタ2より入射される参照光の光軸に対し45度の角度をなす平面状の鏡面からなる入射側反射面、3bは直角プリズムミラー3のもう一方の反射面を構成し入射側反射面3aに対し直角に曲折する平面状の鏡面からなる出射側反射面、4は直角プリズムミラー3の入射側反射面3aで反射された参照光の光軸上に配設され反射面が直角に曲折するV字状の折平面に形成されたコーナーキューブプリズムからなる参照光ミラー、4aは入射側反射面3aに対向する参照光ミラー4の反射面の一方を構成し入射側反射面3aと平行な平面状の鏡面からなる入射側反射面、4bは参照光ミラー4のもう一方の反射面を構成し入射側反射面4aに対し直角に曲折し出射側反射面3bと平行に配設された平面状の鏡面からなる出射側反射面、5は参照光ミラー4に入射する参照光の光軸方向に移動自在に参照光ミラー4を保持搭載する参照光ミラー駆動手段、6は直角プリズムミラー3の出射側反射面3bに対向して配設された干渉光生成手段であるビームスプリッタ、7はビームスプリッタ2から出射される検査光の光軸上に配設された全反射ミラー、8は全反射ミラー7から入射される参照光の光軸上のビームスプリッタ6と対向する位置に配設された信号光分離手段であるビームスプリッタ、9はビームスプリッタ8を通過して直進する検査光の光軸上に配設され検査光をその光軸上に集光する対物集光レンズ、10は対物集光レンズ9に対向して配設された測定対象物、10aは測定対象物10の対物集光レンズ9に対向する側の面である前面、10bは測定対象物10の測定対象物10aと反対側の面である後面、11aは測定対象物10を検査光の光軸に沿って移動自在に保持搭載する測定対象物駆動手段、11bは対物集光レンズ9を検査光の光軸に沿って移動自在に保持搭載する対物集光レンズ駆動手段である。
【0127】
ここで、図1ではサンプルホルダーを使用しない構成を示しているが、測定対象物10を図7に示したサンプルホルダーに挟持して測定対象物駆動手段11aに搭載する構成としてもよい。
【0128】
光源1から照射された低コヒーレント光は、コリメートレンズ1aでコリメートされ、ビームスプリッタ2に導かる。ビームスプリッタ2に入射された低コヒーレント光は、ビームスプリッタ2で二等分され、空間的に分離した参照光と検査光の2つの光路に分割される。参照光は光源1からの照射光の光軸上を直進し、直角プリズムミラー3の入射側反射面3aにより参照光ミラー4の入射側反射面4aへ導かれる。参照光ミラー4の入射側反射面4aで反射された参照光は、出射側反射面4bで更に反射され、再度、直角プリズムミラー3の出射側反射面3bを介して、ビームスプリッタ6へ導かれる。この際、直角プリズムミラー3から参照光ミラー4に入射される参照光の光路と、参照光ミラー4で反射され直角プリズムミラー3に入射される参照光の光路とは平行となる。
【0129】
一方、検査光はビームスプリッタ2から全反射ミラー7に進み、全反射ミラー7により反射され光路を直角に曲げられ、ビームスプリッタ8へ導かれる。ビームスプリッタ8を透過し直進する検査光は、対物集光レンズ9により、測定対象物10に集光される。測定対象物10に照射された検査光は、測定対象物10の各反射面(前面10aや後面10b。測定対象物10が、屈折率の異なる複数の層から構成される場合には、各層間の境界面も反射面となる)において反射される。このうち、対物集光レンズ9により集光された検査光の焦点位置で反射された検査光の反射光は、入射された検査光と同軸の光路で、再び対物集光レンズ9に入射する。
【0130】
測定対象物10からの反射光(以下、信号光と呼ぶ。)は、対物集光レンズ9を介し、ビームスプリッタ8により検査光の光路と空間的に分離され、ビームスプリッタ6へ導かれ、参照光と合波され、干渉光が生成される。すなわち、本実施の形態においては、干渉光学系はマッハツェンダー型干渉系をなして配置されている。
【0131】
以下、ビームスプリッタ2から入射側反射面3a,入射側反射面4a,出射側反射面4b,出射側反射面3bを経てビームスプリッタ6へ至る光路を参照光アーム、ビームスプリッタ2から全反射ミラー7,ビームスプリッタ8,対物集光レンズ9,測定対象物10,ビームスプリッタ8を経てビームスプリッタ6へ至る光路を信号光アームと呼ぶ。
【0132】
12はビームスプリッタ6のビームスプリッタ8と反対側に配設され信号光と参照光との合成された光(以下、干渉光と呼ぶ。)を集光する干渉光集光レンズ、13は干渉光集光レンズ12により集光された干渉光を受光しその強度を検出し検出信号を出力する受光素子、13aは受光素子13の受光面前方に配設されたピンホールである。
【0133】
14aはビームスプリッタ2と直角プリズムミラー3との間の参照光の光路中に配設され周波数fでかつ所定振幅の角度変位で回動振動し参照光の位相変調を行う透明板、14a’は透明板14aに周期的な角度変位を与える振動手段である。透明板14aと振動手段14a’とにより、参照光を位相変調する位相変調手段が構成されている。尚、振動手段14a’には、ガルバノモータ等が使用される。15は出射側反射面3bとビームスプリッタ6との間の参照光の光路中に配設され参照光アームと信号光アームの波長分散のアンバランスを補償する波長分散補償手段である分散補償ブロック、16は分散補償ブロック15とビームスプリッタ6との間の参照光の光路中に配設された参照光遮断手段であるシャッターである。
【0134】
18は受光素子13の検出信号はをデジタル信号に変換する検出回路、19は検出回路18から入力されるデジタル信号に変換された検出信号のデータを処理し、参照光ミラー駆動手段5,測定対象物駆動手段11a,対物集光レンズ駆動手段11b,シャッター16の動作を制御するパーソナルコンピュータ,ワークステーション,マイコン等からなる制御装置、20は制御装置19からの制御信号により測定対象物駆動手段11a,11bの駆動制御を行うステージコントローラ、21は制御装置19からの制御信号によりシャッター16の開閉動作を制御するシャッターコントローラ、22は透明板14aの振動手段14a’に駆動用の交流信号を印加する駆動電源である。尚、図1中に波線で示しているのは、各種制御配線用のケーブルである。
【0135】
検出回路18は、受光素子13から入力されるアナログ検波(検出)信号をデジタル信号に変換する機能を有するものである。詳細には、検出回路18は、アンプ、バンドパスフィルタ、サンプルホールド回路、A/Dコンバータから構成されている。受光素子13からの信号は、小信号であることから、S/N比を増加するために、増幅回路であるアンプに入力される。その出力は、外部または電源等からのノイズ成分が含まれていることから、このノイズ信号を取り除くためのバンドパスフィルタで、ノイズが除去される。このバンドパスフィルタからの出力は、参照光の一定周期での位相変調に同期して、信号を検出するためのサンプルホールド回路にて必要なアナログ信号をホールドする。このホールドされた信号をA/Dコンバータにてアナログ信号からデジタル信号に変換することで、所望のデジタル信号が検出可能となる。検出回路18でアナログ信号からデジタル信号に変換されたデータは、制御装置19に取り込まれる。尚、ここでは、検出回路18にA/D変換の機能を入れているが、制御装置19でA/D変換の機能を行ってもかまわない。また、検出回路18は、上述した機能に限定されるものではなく、受光素子13からの検波(検出)信号を制御装置19に取り込む前段階でのデータ処理を行えれば良い。
【0136】
制御装置19としては、検出回路18およびステージコントローラ20からのデータ処理が行え、シャッターコントローラ21を制御できるものであれば、特に限定するものではない。また、制御装置19の機能としては、データ処理のみに限定されるものではなく、検出回路18で行っているアナログ/デジタル変換の機能を行ってもかまわない。
【0137】
ステージコントローラ20は、制御装置19からの信号により、参照光ミラー駆動手段5,測定対象物駆動手段11a,対物集光レンズ駆動手段11bを高精度にコントロールし、正確な位置情報を得るためのものである。ゆえに、使用する参照光ミラー駆動手段5,測定対象物駆動手段11a,対物集光レンズ駆動手段11bの分解能や位置決め精度等によって、最適なステージコントローラ20を選択する必要があり、上述した駆動手段5、11a、11bの制御ができるものであれば特に限定されるものではない。また、ステージコントローラ20は、シャッターコントローラ21と共に制御用コントローラとして、一体化したものであってもよい。
【0138】
シャッターコントローラ21は、参照光を遮断および解放するシャッター16を制御装置19からの信号により、制御するものであり、使用する参照光を遮断および解放する手段の制御ができるものであれば特に機種等を限定するものではない。また、シャッターコントローラ21は、ステージコントローラ20と共に制御用コントローラとして、一体化したものであってもよい。
【0139】
以上のように構成された本実施の形態の媒質の測定装置において、以下、媒質の測定方法について説明する。
【0140】
測定対象物10の屈折率と厚さの同時測定を行う方法としては、サンプル走査法とレンズ走査法の二つの方法がある。サンプル操作法は、対物集光レンズ9を固定し、測定対象物10(即ちサンプル)と参照光ミラー4を光軸方向に走査させることにより媒質の厚さ及び屈折率を測定する方法である。レンズ走査法は、測定対象物10を固定し、対物集光レンズ9と参照光ミラー4を光軸方向に走査させる方法である。以下、図1を参照しながらサンプル操作法、レンズ走査法の順に説明する。
【0141】
1)サンプル走査法
サンプル走査法では、まず、シャッター16により参照光の光路を遮断し、測定対象物駆動手段11aにより測定対象物10を光軸方向に走査させ、受光素子13からの検出信号の最大となる測定対象物駆動手段11aの位置により、対物集光レンズ9により集光される検査光の焦点が測定対象物10の前面10aとなる測定対象物駆動手段11aの位置x1’(以下、測定対象物駆動手段11aの概略前面合焦点位置x1’と呼ぶ。)及び後面10bとなる測定対象物駆動手段11aの位置x2’(以下、測定対象物駆動手段11aの概略後面合焦点位置x2’と呼ぶ。)を、ステージコントローラ20に設定した座標データより検出(即ちフォーカスサーチ)する。次に、シャッター16を開き参照光の光路を解放し、先に検出した、測定対象物駆動手段11aの概略前面合焦点位置x1’に測定対象物駆動手段11aを移動させ、対物集光レンズ9により集光された検査光の焦点が測定対象物10の前面10aに位置するように測定対象物10の位置を設定する。そして、参照光ミラー駆動手段5により参照光ミラー4を光軸方向に走査させることにより、受光素子13により検出される干渉光が最大になる参照光ミラー4の位置(即ち、参照光ミラー駆動手段5の稼働ステージの位置)w1’(以下、参照光ミラー4の概略前面合焦点位置w1’と呼ぶ。)を検出回路18からの信号により特定し、概略前面合焦点位置w1’に参照光ミラー駆動手段5を移動させ、参照光ミラー4の位置を調整する。
【0142】
この概略前面合焦点位置x1’,w1’の近傍で、測定対象物駆動手段11aにより測定対象物10、及び参照光ミラー駆動手段5により参照光ミラー4を交互に走査させ、測定対象物10の前面10aにおける最大干渉光強度が得られる位置(以下、前面合焦点位置x1,w1と呼ぶ。)を検出する。このときの、最大干渉光強度が得られた測定対象物駆動手段11a及び参照光ミラー駆動手段5の前面合焦点位置を基準位置とする。
【0143】
次に、測定対象物駆動手段11aにより測定対象物10を基準位置から概略後面合焦点位置x2’へ移動させ、対物集光レンズ9により集光された検査光の焦点が、測定対象物10の後面10bとなるようにする。
【0144】
次いで、再度、参照光ミラー4を介した参照光と測定対象物10の後面10bからの反射光(信号光)との干渉光強度が最大となる位置w2’(以下、参照光ミラー4の概略後面合焦点位置w2’と呼ぶ。)に参照光ミラー駆動手段5の位置を調整する。
【0145】
この概略後面合焦点位置x2’,w2’の近傍で、測定対象物駆動手段11aにより測定対象物10、及び参照光ミラー駆動手段5により参照光ミラー4を交互に走査させ、測定対象物10の後面10bにおける最大干渉光強度が得られる位置(以下、後面合焦点位置x2,w2と呼ぶ。)を検出する。このときの測定対象物駆動手段11aの基準位置からの移動量(|x1−x2|)をzとし、参照光ミラー駆動手段5の基準位置からの移動量(|w1−w2|)をΔLとする。
【0146】
以上のようにして得られた各ステージの移動量(即ち測定対象物10の保持搭載された測定対象物駆動手段11aの可動ステージ及び参照光ミラーの保持搭載された参照光ミラー駆動手段5の可動ステージの移動量)であるzとΔLの測定値及び対物集光レンズ9の開口数Sを、前述した(数1)、(数2)および(数3)へ代入することにより、測定対象物10の位相屈折率npと厚さtを算出する。
【0147】
また、測定対象物10を図7に示したサンプルホルダーに挟持して同様な測定を行う場合には、各ステージの移動量であるzとΔLの測定値及び対物集光レンズ9の開口数Sを、前述した(数4)、(数5)および(数6)へ代入することにより、測定対象物10の位相屈折率npと群屈折率ngおよび厚さtを導出することができる。ここで定数aおよびbは、実験的に得られる値であり、固体に対してはaが0.0241、bが1.69となり、液体に対してはaが0.0460、bが1.53となる。
【0148】
2)レンズ走査法
レンズ走査法では、まず、制御装置19は、シャッター16により参照光の光路を遮断し、対物集光レンズ駆動手段11bにより対物集光レンズ9を光軸方向に走査させ、受光素子13からの検出信号が最大となる対物集光レンズ駆動手段11bの位置により、対物集光レンズ9により集光される検査光の焦点が測定対象物10の前面10aとなる対物集光レンズ駆動手段11bの位置y1’(以下、対物集光レンズ駆動手段11bの概略前面合焦点位置y1’と呼ぶ。)及び後面10bとなる対物集光レンズ駆動手段11bの位置y2’(以下、対物集光レンズ駆動手段11bの概略後面合焦点位置y2’と呼ぶ。)を、ステージコントローラ20に設定した座標データより検出(即ちフォーカスサーチ)する。次に、制御装置19は、シャッター16を開き参照光の光路を解放し、先に検出した、対物集光レンズ駆動手段11bの概略前面合焦点位置y1’に対物集光レンズ駆動手段11bを移動させ、対物集光レンズ9により集光された検査光の焦点が測定対象物10の前面10aに位置するように対物集光レンズ9を保持搭載した対物集光レンズ駆動手段11bの可動ステージの位置を設定する。そして、制御装置19は、参照光ミラー駆動手段5により参照光ミラー4を光軸方向に走査させることにより、受光素子13により検出される干渉光が最大になる参照光ミラー4の位置(即ち、参照光ミラー駆動手段5の稼働ステージの位置)w1’(以下、参照光ミラー4の概略前面合焦点位置w1’と呼ぶ。)を検出回路18からの信号により特定し、概略前面合焦点位置w1’に、参照光ミラー駆動手段5を移動させ、参照光ミラー4の位置を調整する。
【0149】
この概略前面合焦点位置y1’,w1’で、対物集光レンズ駆動手段11bにより測定対象物10、及び参照光ミラー駆動手段5により参照光ミラー4を交互に走査させ、測定対象物10の前面10aにおける最大干渉光強度が得られる位置(以下、前面合焦点位置y1,w1と呼ぶ。)を検出する。このときの、最大干渉信号強度が得られた対物集光レンズ駆動手段11b及び参照光ミラー駆動手段5の前面合焦点位置を基準位置とする。
【0150】
次に、対物集光レンズ駆動手段11bにより対物集光レンズ9を基準位置から概略後面合焦点位置y2’へ移動させ、対物集光レンズ9により集光された検査光の焦点が、測定対象物10の後面10bとなるようにする。
【0151】
次いで、参照光ミラー4を介した参照光と測定対象物10の後面10bからの反射光(信号光)との干渉光の強度が最大となる位置w2’(以下、参照光ミラー4の概略後面合焦点位置w2’と呼ぶ。)に参照光ミラー駆動手段5の位置を調整する。
【0152】
この概略後面合焦点位置y2’,w2’の近傍で、対物集光レンズ駆動手段11bにより対物集光レンズ9、及び参照光ミラー駆動手段5により参照光ミラー4を交互に走査させ、測定対象物10の後面10bにおける最大干渉光強度が得られる位置(以下、後面合焦点位置y2,w2と呼ぶ。)を検出する。このときの対物集光レンズ駆動手段11bの基準位置からの移動量(|y1−y2|)をzとし、参照光ミラー駆動手段5の基準位置からの移動量(|w1−w2|)をΔLとする。
【0153】
これらの各ステージの移動量(即ち対物集光レンズ9の保持搭載された対物集光レンズ駆動手段11bの可動ステージ及び参照光ミラーの保持搭載された参照光ミラー駆動手段5の可動ステージの移動量)であるzとΔLの値を、(数7)、(数8)及び(数9)へ代入することにより、測定対象物10の位相屈折率npと厚さtを導出することができる。
【0154】
【数7】
【0155】
【数8】
【0156】
【数9】
【0157】
ここで定数aおよびbは、先に述べたサンプル走査法と同様、実験的により得られる値(固体に対してはaが0.0241、bが1.69、液体に対してはaが0.0460、bが1.53)を用いる。
【0158】
また、測定対象物10を図7に示したサンプルホルダーに挟持して同様な測定を行った場合には、前述した(数4)及び以下の(数10)、(数11)へ代入することにより、測定対象物10のハ相屈折率npと群屈折率ngおよび厚さtを導出することができる。
【0159】
【数10】
【0160】
【数11】
【0161】
尚、本実施の形態において、分散補償ブロック15の挿入位置は参照光の光路中に限られるものではなく、両アームの波長分散量のアンバランスを補償するために信号光の光路中、もしくは参照光アームと信号光アームの両光路中に挿入してもよい。また、参照光を位相変調する透明板14a、参照光の光路を遮断および解放するシャッター16の挿入位置は、図1の位置に限られるものではなく、ビームスプリッタ2からビームスプリッタ6までの参照光の光路中であれば、特に限定するものではない。
【0162】
また、直角プリズムミラー3は、2枚の全反射ミラーを光路に対して45度に傾け組み合わされたものや、ビームスプリッタ2で分けられた一方の光を参照光ミラー4側に導く全反射ミラーと参照光ミラー4からの反射光を受光素子12側へ導く全反射ミラーを独立に配置したもの等でもよく、特に直角プリズムミラー3に限定するものではない。
【0163】
全反射ミラー7は、ビームスプリッタ2で分けられた一方の光を測定対象物10側へ導くための光路変更用ミラーであればよく、クロム全反射ミラー、アルミ全反射ミラー、誘電体多層膜全反射ミラー等であり、特に限定するものではない。
【0164】
(実施の形態2)
図2は本発明の実施の形態2の媒質の測定装置の構成図であり、図3は図2の媒質の測定装置を2階層に分けシングルモード光ファイバよって各階層間の光路を確保して構成した場合の構成図である。
【0165】
図2及び図3において、1は光源、1aはコリメートレンズ、2はビームスプリッタ、4は参照光ミラー、4aは入射側反射面、4bは出射側反射面、5は参照光ミラー駆動手段、6はビームスプリッタ、7は全反射ミラー、8はビームスプリッタ、9は対物集光レンズ、10は測定対象物、11aは測定対象物駆動手段、11bは対物集光レンズ駆動手段、12は干渉光集光レンズ、13は受光素子、14aは透明板、14a’は振動手段、15は分散補償ブロック、16はシャッター、18は検出回路、19は制御装置、20はステージコントローラ、21はシャッターコントローラ、22は駆動用電源であり、これらは図1と同様であり、同一の符号を付して説明を省略する。
【0166】
14bは参照光ミラー4を入射する参照光の光軸方向に加振する振動手段、22aは振動手段14bを駆動するための交流電圧を印加する駆動用電源、23はビームスプリッタ2から参照光ミラー4に至る参照光の光路中に配設されたシングルモード光ファイバ、23aはシングルモード光ファイバ23の入射側端面に固定されたシングルモード光ファイバ23の入射用レンズ、23bはシングルモード光ファイバ23の出射側端面に固定されたシングルモード光ファイバ23の出射用レンズ、24は参照光ミラー4からビームスプリッタ6に至る参照光の光路中に配設されたシングルモード光ファイバ、24aはシングルモード光ファイバ24の入射側端面に固定されたシングルモード光ファイバ24の入射用レンズ、24bはシングルモード光ファイバ24の出射側端面に固定されたシングルモード光ファイバ24の出射用レンズ、25は入射側端面がビームスプリッタ8に対向して配設され出射側端面が対物集光レンズ9に向けて配設されたシングルモード光ファイバ、25aはシングルモード光ファイバ25の入射側端面に固定されたシングルモード光ファイバ25の入射用レンズ、25bはシングルモード光ファイバ25の出射側端面に固定されたシングルモード光ファイバ25の出射用レンズである。
【0167】
本実施の形態では、光源1から照射された低コヒーレント光は、コリメートレンズ1aでコリメートされ、ビームスプリッタ2に導かれ、ビームスプリッタ2で二等分され、参照光と検査光との空間的に分離した2つの光路に分割される。参照光は、入射用レンズ23aに入射されシングルモード光ファイバ23,出射用レンズ23bを介して参照光ミラー4の入射側反射面4aへ導かれる。参照光ミラー4の入射側反射面4aで反射された参照光は、出射側反射面4bで更に反射され、入射用レンズ24aに入射される。このとき、参照光ミラー4の入射側反射面4aに入射される参照光の光軸と参照光ミラー4の出射側反射面4bからシングルモード光ファイバ24の入射用レンズ24aに入射される参照光の光軸とは平行となるように配設される。シングルモード光ファイバ24の入射用レンズ24aに入射された参照光は、更に、シングルモード光ファイバ24を通過し、ビームスプリッタ6へ導かれる。
【0168】
一方、検査光はビームスプリッタ2を透過して直進し、全反射ミラー7に入射され、全反射ミラー7で反射され光路を直角に曲げられ、ビームスプリッタ8へ導かれる。ビームスプリッタ8を透過し直進した検査光は、シングルモード光ファイバ25の入射用レンズ25aに入射され、シングルモード光ファイバ25,出射用レンズ25bを介して、対物集光レンズ9に入射され、更に、対物集光レンズ9により、測定対象物10に集光される。測定対象物10からの反射光(以下、信号光と呼ぶ。)は、対物集光レンズ9、ビームスプリッタ8を介して、ビームスプリッタ6へ導かれ、参照光と合波され、干渉光が生成される。
【0169】
また、シャッター16はビームスプリッタ2とシングルモード光ファイバ23との間の参照光の光軸上に配設され、透明板14aは出射用レンズ24bとビームスプリッタ6との間の参照光の光軸上に配設され、分散補償ブロック15は透明板14aとビームスプリッタ6との間の参照光の光軸上に配設されている。
【0170】
このように、参照光、検査光、信号光の光路中にシングルモード光ファイバ23,24,25を介設することにより、干渉光学系に使用する構成部材の配置の自由度が増し、干渉光学系の小型化が可能になる。また、各シングルモード光ファイバ23,24,25の条長を調整することにより、信号光および参照光アームの波長分散量のアンバランスを補償することもできる。
【0171】
以上のような構成の本実施の形態2の媒質の測定装置において、実施の形態1において説明したサンプル走査法又はレンズ走査法と同様の測定方法により、各ステージの移動量であるzとΔLを測定し、zとΔLの測定値及び対物集光レンズ9の開口数Sを、前述した(数1),(数2)および(数3)、又は、(数7),(数8)及び(数9)へ代入することにより、測定対象物10の位相屈折率npと厚さtを算出することができる。
【0172】
また、測定対象物10を図7に示したサンプルホルダーに挟持して同様な測定を行う場合には、各ステージの移動量であるzとΔLの測定値及び対物集光レンズ9の開口数Sを、サンプル走査法の場合、前述した(数4)、(数5)および(数6)へ、レンズ走査法の場合、前述した(数4)及び以下の(数10)、(数11)へ代入することにより、測定対象物10の位相屈折率npと群屈折率ngおよび厚さtを導出することができる。
【0173】
但し、シングルモード光ファイバ25の出射用レンズ25bと対物集光レンズ9の距離が固定されているような場合、ビームスプリッタ2から対物集光レンズ9までの検査光の光路長は固定されるため、上述のサンプル走査法と同様の条件となる。従って、各ステージの移動量であるzとΔLを(数1)、(数2)および(数3)へ代入することにより、測定対象物10の位相屈折率npと厚さtを導出することができ、また、図7に示したサンプルホルダーを用いた場合は、前述した(数4)、(数5)および(数6)へ代入することにより、測定対象物10の位相屈折率npと群屈折率ngおよび厚さtを導出することができる。
【0174】
また、図3のように、図2の干渉光学系の構成部材を2階層に分け、シングルモード光ファイバ23,24,25よって各階層間の光路を確保してもよい。
【0175】
尚、図3では、検出回路18、制御装置19、ステージコントローラ20、シャッターコントローラ21、駆動用電源22,22aについては図示を省略しているが、図2と同様である。
【0176】
ここで、階層数および各階層間の光路を確保する手段としては、2階層およびシングルモード光ファイバに限られるものではなく、階層数については構成部材の配置や配置スペースの制限等により、少なくとも1階層の構成にすればよいし、各階層間の光路確保は、複数枚の全反射ミラー等を用いてもよい。また、使用する光源1や測定対象物10の特性に応じて、偏光子やλ/2板、λ/4板等の波長板の挿入、ビームスプリッタ2、6、8として偏光ビームスプリッタ(即ちPBS)を用いてもよい。
【0177】
(実施の形態3)
図4は本発明の実施の形態3の媒質の測定装置の構成図である。
【0178】
図4において、1は光源、1aはコリメートレンズ、2はビームスプリッタ、6はビームスプリッタ、7は全反射ミラー、8はビームスプリッタ、9は対物集光レンズ、10は測定対象物、11aは測定対象物駆動手段、11bは対物集光レンズ駆動手段、12は干渉光集光レンズ、13は受光素子、14aは透明板、14a’は振動手段、15は分散補償ブロック、16はシャッター、18は検出回路、19は制御装置、20はステージコントローラ、21はシャッターコントローラ、22は駆動用電源であり、これらは図1又は図2と同様であり、同一の符号を付して説明を省略する。
【0179】
26はビームスプリッタ2に対向してビームスプリッタ2から出射される参照光の光軸上に配設された参照光分岐手段であるビームスプリッタ、27は入射側端面がビームスプリッタ26から出射される参照光の光軸上に該光軸方向に向けて配設されたシングルモード光ファイバ、27aはシングルモード光ファイバ27の入射側端面に固定されたシングルモード光ファイバ27の入射用レンズ、27bはシングルモード光ファイバ27の出射側端面に固定されたシングルモード光ファイバ27の出射用レンズ、4’はシングルモード光ファイバ27の出射用レンズ27bに対向して配設され反射面が出射用レンズ27bより出射される参照光の光軸に対して垂直に配設された平面鏡からなる参照光ミラー、5’は参照光ミラー4’に入射する参照光の光軸方向に移動自在に参照光ミラー4’を保持搭載する参照光ミラー駆動手段、14b’は参照光ミラー4’を入射する参照光の光軸方向に加振する振動手段、22a’は振動手段14b’を駆動するための交流電圧を印加する駆動用電源、28はビームスプリッタ26に対向して配設されビームスプリッタ26からの参照光を直角方向に反射する平面鏡からなる全反射ミラーである。ビームスプリッタ26は、ビームスプリッタ2から入射される参照光を直角に反射し、シングルモード光ファイバ27の入射用レンズ27aへ出射する。また、参照光ミラー4’で反射されシングルモード光ファイバ27を通過し入射用レンズ27aから入射される参照光は透過直進させ、全反射ミラー28に出射する。
【0180】
本実施の形態では、光源1から照射された低コヒーレント光は、コリメートレンズ1aでコリメートされ、ビームスプリッタ2に導かれ、ビームスプリッタ2で参照光と検査光とに二等分される。参照光は、ビームスプリッタ26に入射され光路を直角方向に曲げられ入射用レンズ27aに入射される。入射用レンズ27aに入射された参照光は、シングルモード光ファイバ27を通り、出射用レンズ27bより出射され、参照光ミラー4’により反射された後、再び出射用レンズ27bに入射され、シングルモード光ファイバ27,27aを介してビームスプリッタ26に入射され、ビームスプリッタ26を透過し、全反射ミラー28で反射され、ビームスプリッタ6へ導かれる。
【0181】
一方、検査光はビームスプリッタ2から直進して全反射ミラー7に進み、全反射ミラー7により反射され光路を直角に曲げられ、ビームスプリッタ8へ導かれる。ビームスプリッタ8を透過した光は、入射用レンズ25aに入射され、シングルモード光ファイバ25,出射用レンズ25bを介して、対物集光レンズ9に入射され、更に、対物集光レンズ9により、測定対象物10に集光される。測定対象物10からの反射光(以下、信号光と呼ぶ。)は、対物集光レンズ9、ビームスプリッタ8を介して、ビームスプリッタ6へ導かれ、参照光と合波される。
【0182】
また、シャッター16は全反射ミラー28とビームスプリッタ6との間の参照光の光軸上に配設され、透明板14aはシャッター16とビームスプリッタ6との間の参照光の光軸上に配設され、分散補償ブロック15は透明板14aとビームスプリッタ6との間の光軸上に配設されている。
【0183】
このように、参照光、検査光、信号光の光路中にシングルモード光ファイバ25,27を介設することにより、干渉光学系に使用する構成部材の配置の自由度が増し、干渉光学系の小型化が可能になる。また、シングルモード光ファイバ25,27の条長を調整することにより、信号光および参照光アームの波長分散量のアンバランスを補償することもできる。更に、ビームスプリッタ26を参照光の光路中に介設することにより、参照光ミラー4’には平面鏡を使用することができ、更に、参照光ミラー4’に入射する参照光と参照光ミラー4’で反射された参照光の光軸は同軸とすることができるため、1本のシングルモード光ファイバ27により、参照光ミラー4’へ向かう参照光及び参照光ミラー4’で反射された参照光を導波させることができ、光学系を更にコンパクト化される。
【0184】
尚、本実施の形態3の媒質の測定装置においても、実施の形態1において説明したサンプル走査法又はレンズ走査法と同様の測定方法により、各ステージの移動量であるzとΔLを測定し、zとΔLの測定値及び対物集光レンズ9の開口数Sを、前述した(数1),(数2)および(数3)、又は、(数7),(数8)及び(数9)へ代入することにより、測定対象物10の位相屈折率npと厚さtを算出することができる。
【0185】
また、測定対象物10を図7に示したサンプルホルダーに挟持して同様な測定を行う場合には、各ステージの移動量であるzとΔLの測定値及び対物集光レンズ9の開口数Sを、サンプル走査法の場合、前述した(数4)、(数5)および(数6)へ、レンズ走査法の場合、前述した(数4)及び以下の(数10)、(数11)へ代入することにより、測定対象物10の位相屈折率npと群屈折率ngおよび厚さtを導出することができる。
【0186】
但し、シングルモード光ファイバ25の出射用レンズ25bと対物集光レンズ9の距離が固定されているような場合、ビームスプリッタ2から対物集光レンズ9までの検査光の光路長は固定されるため、上述のサンプル走査法と同様の条件となる。従って、各ステージの移動量であるzとΔLを(数1)、(数2)および(数3)へ代入することにより、測定対象物10の位相屈折率npと厚さtを導出することができ、また、図7に示したサンプルホルダーを用いた場合は、前述した(数4)、(数5)および(数6)へ代入することにより、測定対象物10の位相屈折率npと群屈折率ngおよび厚さtを導出することができる。
【0187】
(実施の形態4)
図5は本発明の実施の形態4の媒質の測定装置の構成図である。
【0188】
図5において、1は光源、1aはコリメートレンズ、4’は参照光ミラー、5’は参照光ミラー駆動手段、9は対物集光レンズ、10は測定対象物、11aは測定対象物駆動手段、11bは対物集光レンズ駆動手段、12は干渉光集光レンズ、13は受光素子、14aは透明板、14b’は振動手段、15は分散補償ブロック、16はシャッター、18は検出回路、19は制御装置、20はステージコントローラ、21はシャッターコントローラ、22,22a’は駆動用電源であり、これらは図1又は図3と同様であり、同一の符号を付して説明を省略する。
【0189】
30は光源1の光軸上に配設されコリメートレンズ1aによってコリメートされた低コヒーレンス光を該光軸方向と該光軸に垂直な方向に二等分するビームスプリッタ、31は入射側端面がビームスプリッタ30に対峙して光源1の光軸と垂直に配設され、出射側端面が参照光ミラー4’に対峙して配設されたシングルモード光ファイバ、31aはシングルモード光ファイバ31の入射側端面に固定されたシングルモード光ファイバ31の入射用レンズ、31bはシングルモード光ファイバ31の出射側端面に固定されたシングルモード光ファイバ31の出射用レンズ、32は入射側端面がビームスプリッタ30に対峙して光源1の光軸上に配設され出射側端面が対物集光レンズ9に対峙して配設されたシングルモード光ファイバ、32aはビームスプリッタ30の入射側端面に固定されたシングルモード光ファイバ32の入射用レンズ、32bはシングルモード光ファイバ32の出射側端面に固定されたシングルモード光ファイバ32の出射用レンズである。
【0190】
本実施の形態においては、干渉光学系はマイケルソン型干渉計をなして配置されている。光源1から照射された低コヒーレント光は、コリメートレンズ1aでコリメートされ、ビームスプリッタ30に導かれ、ビームスプリッタ30で参照光と検査光とに二等分される。参照光は、ビームスプリッタ30内で反射され光路を直角に曲げられシングルモード光ファイバ31の入射用レンズ31aに入射される。入射用レンズ31aに入射た参照光は、シングルモード光ファイバ31を通り、出射用レンズ31bより出射され、参照光ミラー4’により反射された後、再び出射用レンズ31bに入射され、シングルモード光ファイバ31,入射用レンズ31aを介してビームスプリッタ30へ導かれ、ビームスプリッタ30を透過し、干渉光集光レンズ12を介して、受光素子13へと入射される。
【0191】
一方、検査光はビームスプリッタ30から直進してシングルモード光ファイバ32の入射用レンズ32aに入射され、シングルモード光ファイバ32,出射用レンズ32bを通過して、対物集光レンズ9に入射され、更に、対物集光レンズ9により、測定対象物10に集光される。測定対象物10からの反射光(以下、信号光と呼ぶ。)は、対物集光レンズ9,出射用レンズ32b,シングルモード光ファイバ32,入射用レンズ32aを介して、ビームスプリッタ30へ導かれ、ビームスプリッタ30で受光素子13側へ垂直に反射されると共に参照光と合波される。
【0192】
また、分散補償ブロック15は出射用レンズ31bと参照光ミラー4’との間の参照光の光軸上に配設され、透明板14aは分散補償ブロック15と参照光ミラー4’との間の参照光の光軸上に配設され、シャッター16は透明板14aと参照光ミラー4’との間の参照光の光軸上に配設されている。
【0193】
このようなマイケルソン型干渉計のにおいても同様の原理で測定対象物10の位相屈折率nと厚さtを導出することができる。
【0194】
【実施例】
(実施例1)
実施例1では、図1に示す実施の形態1の構成により媒質の測定装置を構成した例を示す。
【0195】
図1における光源1には、発振中心波長λc=850nmのスーパルミネッセントダイオード(SLD)を用いた。このSLDのスペクトラムの半値全幅(FWHM)はΔλ=24nmであり、これによって決まる干渉計の可干渉距離はΔlc=6.6μmである。また、対物集光レンズ9として金属顕微鏡用の20倍の超長焦点対物レンズ、参照光ミラー駆動手段5、測定対象物駆動手段11a及び対物集光レンズ駆動手段11bとして、0.04μmステップのリニアモータステージ、透明板14aとして厚さ1mmの溶融石英板、分散補償ブロック15としてBK−7ガラスブロックを用いた。透明板14aには周波数f(=250Hz)、振幅λc/4に相当する角度変位を与え、参照光を位相変調し、受光素子13として用いるSiフォトダイオードにより、測定対象物10からの反射光(信号光)と参照光ミラー4を介した参照光を合波・干渉してヘテロダイン検波している。検波された検出信号は、デジタル信号に変換して制御装置19に取り込みデータ処理を行い、サンプル走査法又はレンズ走査法によりΔL、zを特定し、位相屈折率npおよび厚さtを算出する。尚、干渉光集光レンズ12,コリメートレンズ1aには、それぞれ20倍,5倍の対物レンズを用いている。
【0196】
この構成では、本干渉光学系が占有している体積は、30×40×15cm3であった。
【0197】
(実施例2)
実施例2では、図1に示す実施の形態1の構成により媒質の測定装置を構成した他の例を示す。
【0198】
本実施例2においては、図1における干渉光集光レンズ12に10倍の対物レンズを、シャッター16として電磁シャッターを、ピンホール13aにホール径50μmのものを使用した以外、実施例1と全く同様の構成としている。この構成により、測定対象物10をセットした後、制御装置19で参照光ミラー駆動手段5、測定対象物駆動手段11a、対物集光レンズ駆動手段11b及びシャッター16として用いた電磁シャッターを制御し、位相屈折率np及び群屈折率ng及び厚さtの自動測定を行う。
【0199】
この構成では、本干渉光学系が占有している体積は、30×40×15cm3であった。
【0200】
(実施例3)
実施例3では、図5に示す実施の形態4の構成により媒質の測定装置を構成した例を示す。
【0201】
図5における光源1には発振中心波長λc=850nmのスーパルミネッセントダイオード(SLD)を用いた。このSLDのスペクトラムの半値全幅(FWHM)はΔλ=24nmであり、これによって決まる干渉計の可干渉距離はΔlc=6.6μmである。対物集光レンズ9として、実施例1と同様の金属顕微鏡用の20倍の超長焦点対物レンズ、参照光ミラー駆動手段5’、測定対象物駆動手段11a、対物集光レンズ駆動手段11bとして、0.05μmステップのパルスモータステージ、透明板14aとして厚さ1mmの溶融石英板、シャッター16として電磁シャッター、シングルモード光ファイバ31,32として偏波面保存光ファイバを用い、このシングルモード光ファイバ31,32の条長を調整することにより、信号光アーム及び参照光アームの波長分散量のアンバランスを補償した。尚、図5では図示していないが、コリメートレンズ1aとビームスプリッタ2との間の光路中に偏光子を、シングルモード光ファイバ31と参照光ミラー4’の間の光路中にλ/4板を、シングルモード光ファイバ32と対物集光レンズ9の間の光路中にλ/4板を、それぞれ挿入した。透明板14aには周波数f(=250Hz)、振幅λc/4に相当する周期的な角度変位を与え、参照光を位相変調し、受光素子13として用いるSiフォトダイオードにより、測定対象物10からの反射光(信号光)と参照光ミラー4を介した参照光とを合波・干渉してヘテロダイン検波を行った。
【0202】
この構成により、測定対象物10をセットした後、制御装置19で参照光ミラー駆動手段5’、測定対象物駆動手段11a、対物集光レンズ駆動手段11b及びシャッター16として用いた電磁シャッターを制御し、サンプル走査法又はレンズ走査法によりΔL、zを特定し、位相屈折率np、群屈折率ngおよび厚さtの自動測定を行うことができる。尚、本実施例ではコリメートレンズ1a,干渉光集光レンズ12には、それぞれ20倍,10倍の対物レンズを用いている。
【0203】
この構成では、本干渉光学系が占有している体積は、30×30×15cm3であった。
【0204】
(実施例4)
実施例4では、図3に示す実施の形態2の構成により媒質の測定装置を構成した例を示す。
【0205】
図3における光源1には発振中心波長λc=850nmのスーパルミネッセントダイオード(SLD)を用いた。このSLDのスペクトラムの半値全幅(FWHM)はΔλ=24nmであり、これによって決まる干渉計の可干渉距離はΔlc=6.6μmである。対物集光レンズ9として、実施例1と同様の金属顕微鏡用の20倍の超長焦点対物レンズ、参照光ミラー駆動手段5、測定対象物駆動手段11a、対物集光レンズ駆動手段11bとして、0.05μmステップのパルスモータステージ、透明板14aとして厚さ1mmの溶融石英板、シャッター16として電磁シャッター、シングルモード光ファイバ23,24,25としては偏波面保存光ファイバを用い、このシングルモード光ファイバ23,24,25の条長を調整することにより、信号光アーム及び参照光アームの波長分散量のアンバランスを補償した。尚、図3では図示していないが、コリメートレンズ1aとビームスプリッタ2との間の光路中に偏光子を、シングルモード光ファイバ24とビームスプリッタ6との間の光路中にλ/2板を、シングルモード光ファイバ25と対物集光レンズ9との間の光路中にλ/4板をそれぞれ挿入している。透明板14aには周波数f(=250Hz)、振幅λc/4に相当する周期的な角度変位を与え、参照光を位相変調し、受光素子13として用いるSiフHトダイオードにより、測定対象物10からの反射光(信号光)と参照光ミラー4を介した参照光とを合波・干渉してヘテロダイン検波する。
【0206】
この構成により、測定対象物10をセットした後、制御装置19で参照光ミラー駆動手段5、測定対象物駆動手段11a、対物集光レンズ駆動手段11b及びシャッター16として用いた電磁シャッターを制御し、サンプル走査法又はレンズ走査法によりΔL、zを特定し、位相屈折率npおよび厚さtの自動測定を行う。尚、コリメートレンズ1a,干渉光集光レンズ12には、それぞれ20倍,10倍の対物レンズを用いている。
【0207】
この構成では、本干渉光学系が占有している体積は、20×30×15cm3であった。
【0208】
(実施例5)
実施例5では、本発明の媒質の測定方法により測定を行った例を表1を用いて説明する。
【0209】
実施例1の媒質の測定装置において測定対象物10として厚さ22μmの溶融石英板を測定した結果、実施例2の媒質の測定装置において測定対象物10として厚さ1008μmのBaCD14を図7に示すサンプルホルダーに固定し自動測定した結果、実施例3の媒質の測定装置において測定対象物10として厚さ997μmのzカットサファイヤを図7に示すサンプルホルダーに固定し自動測定した結果、及び実施例4の媒質の測定装置において測定対象物10として厚さ1022μmのXカットニオブ酸リチウムを自動測定した結果を(表1)に示す。
【0210】
【表1】
【0211】
上記実施例1〜実施例4の媒質の測定装置において本発明の媒質の測定方法により測定を行った結果は、(表1)に示す通り、位相屈折率np、群屈折率ng及び厚さtにおける理論値に対しての誤差は、0.5%以下であり、非常に精度よく位相屈折率np、群屈折率ng及び厚さtを測定できた。
【0212】
以上、上記実施例において説明した、光源および光源のの中心波長、スペクトラム半値全幅は一例であり、使用する光源に対応した受光素子、ビームスプリッタ、シングルモード光ファイバ等によって光学系を構成し、本実施の形態と同様に対応可能なことは言うまでもない。
【0213】
【発明の効果】
以上のように本発明の媒質の測定装置によれば、以下のような有利な効果が得られる。
【0214】
請求項1に記載の発明によれば、ビームスプリッタ(光路分割手段及び干渉光生成手段)を用いることにより、媒質の測定装置を構成する光学系に使用する構成部材の配置の自由度が増加するため、小型化が可能であり、前述のサンプル走査法やレンズ走査法により、非接触で測定対象物の屈折率と厚さの分離、同時測定が可能な媒質の測定装置を提供することができる。
【0222】
また、ヘテロダイン検波を行うことが可能となり、干渉光信号の処理を安定化し、高精度に表裏面の位置決めが可能な媒質の測定装置を提供することができる。
【図面の簡単な説明】
【図1】本発明の実施の形態1の媒質の測定装置の構成図
【図2】本発明の実施の形態2の媒質の測定装置の構成図
【図3】図2の媒質の測定装置を2階層に分けシングルモード光ファイバよって各階層間の光路を確保して構成した場合の構成図
【図4】本発明の実施の形態3の媒質の測定装置の構成図
【図5】本発明の実施の形態4の媒質の測定装置の構成図
【図6】ロ号公報に開示の光学測定系のシステムを示す模式図
【図7】ハ号出願に係る明細書に記載の媒質の測定装置および測定法に用いる測定対象物を固定するホルダーの側面図
【符号の説明】
1 光源
1a コリメートレンズ
2 ビームスプリッタ
3 直角プリズムミラー
3a 入射側反射面
3b 出射側反射面
4,4’ 参照光ミラー
4a 入射側反射面
4b 出射側反射面
5,5’ 参照光ミラー駆動手段
6 ビームスプリッタ
7 全反射ミラー
8 ビームスプリッタ
9 対物集光レンズ
10 測定対象物
10a 前面
10b 後面
11a 測定対象物駆動手段
11b 対物集光レンズ駆動手段
12 干渉光集光レンズ
13 受光素子
13a ピンホール
14a 透明板
14a’,14b,14b’ 振動手段
15 分散補償ブロック
16 シャッター
18 検出回路
19 制御装置
20 ステージコントローラ
21 シャッターコントローラ
22,22’,22a,22a’ 駆動用電源
23,24,25,27,31,32 シングルモード光ファイバ
23a,24a,25a,27a,31a,32a 入射用レンズ
23b,24b,25b,27b,31b,32b 出射用レンズ
26 ビームスプリッタ
28 全反射ミラー
30 ビームスプリッタ
51 発光素子
52 ステージ
53 コリメートレンズ
54 ビームスプリッタ
55 集光レンズ
55a,56a ステージ
56 参照光ミラー
56b 振動手段
57 受光素子
57a 集光レンズ
60 前側透過板
61 後側反射板
60a,63 後面
61a,62 前面
M 測定対象物
Claims (1)
- 低コヒーレンス光を出射する光源と、前記光源より出射された低コヒーレンス光をコリメートするコリメートレンズと、コリメートされた低コヒーレンス光を検査光と参照光とに空間的に分離し2つの光路に分割する光路分割手段と、前記光路分割手段により分離される前記検査光を集光し測定対象物に照射する対物集光レンズと、前記測定対象物を保持搭載し前記検査光の光軸方向に移動する測定対象物駆動手段及び/又は前記対物集光レンズを保持搭載し前記検査光の光軸方向に移動する対物集光レンズ駆動手段と、前記光路分割手段により分離される前記参照光の光路長を調節する参照光光路長調節手段と、前記参照光を位相変調する位相変調手段と、位相変調された前記参照光と前記測定対象物からの前記検査光の反射光である信号光とを干渉させ干渉光を生成する干渉光生成手段と、前記干渉光生成手段により生成された干渉光の強度を検出する受光素子と、を備え、前記位相変調手段が、前記参照光の光路内に挿入された透明板と、前記透明板に周期的な角度変位を与えることの可能な振動手段と、を備えたことを特徴とする媒質の測定装置。
Priority Applications (1)
| Application Number | Priority Date | Filing Date | Title |
|---|---|---|---|
| JP17049399A JP4151159B2 (ja) | 1999-06-17 | 1999-06-17 | 媒質の測定装置 |
Applications Claiming Priority (1)
| Application Number | Priority Date | Filing Date | Title |
|---|---|---|---|
| JP17049399A JP4151159B2 (ja) | 1999-06-17 | 1999-06-17 | 媒質の測定装置 |
Publications (2)
| Publication Number | Publication Date |
|---|---|
| JP2001004538A JP2001004538A (ja) | 2001-01-12 |
| JP4151159B2 true JP4151159B2 (ja) | 2008-09-17 |
Family
ID=15905997
Family Applications (1)
| Application Number | Title | Priority Date | Filing Date |
|---|---|---|---|
| JP17049399A Expired - Fee Related JP4151159B2 (ja) | 1999-06-17 | 1999-06-17 | 媒質の測定装置 |
Country Status (1)
| Country | Link |
|---|---|
| JP (1) | JP4151159B2 (ja) |
Cited By (1)
| Publication number | Priority date | Publication date | Assignee | Title |
|---|---|---|---|---|
| CN102007392B (zh) * | 2009-01-22 | 2013-01-16 | 松下电器产业株式会社 | 折射率测定装置 |
Families Citing this family (23)
| Publication number | Priority date | Publication date | Assignee | Title |
|---|---|---|---|---|
| JP3642996B2 (ja) * | 1999-11-18 | 2005-04-27 | 独立行政法人科学技術振興機構 | 光干渉法による測定対象物の屈折率と厚さの同時測定方法及びそのための装置 |
| DE10118392A1 (de) * | 2001-04-13 | 2002-11-07 | Zeiss Carl | System und Verfahren zum Bestimmen einer Position oder/und Orientierung zweier Objekte relativ zueinander sowie Strahlführungsanordnung, Interferometeranordnung und Vorrichtung zum Ändern einer optischen Weglänge zum Einsatz in einem solchen System und Verfahren |
| JP2003315017A (ja) * | 2002-04-25 | 2003-11-06 | Hamamatsu Photonics Kk | 厚み計測装置 |
| FR2859024B1 (fr) * | 2003-08-22 | 2005-12-09 | Centre Nat Rech Scient | Dispositif et procede de detection et de mesure non invasives d'un champ electrique |
| JP2005106706A (ja) * | 2003-09-30 | 2005-04-21 | Sumitomo Osaka Cement Co Ltd | 屈折率及び厚さの測定装置ならびに測定方法 |
| JP2005106699A (ja) * | 2003-09-30 | 2005-04-21 | Sumitomo Osaka Cement Co Ltd | 屈折率及び厚さの測定装置ならびに測定方法 |
| JP4556463B2 (ja) * | 2004-03-25 | 2010-10-06 | 有限会社グローバルファイバオプティックス | 複屈折率測定装置 |
| JP4194971B2 (ja) * | 2004-04-16 | 2008-12-10 | 日本電信電話株式会社 | 屈折率測定方法及びその装置並びに屈折率測定・硬化装置 |
| JP4486433B2 (ja) * | 2004-07-29 | 2010-06-23 | 浜松ホトニクス株式会社 | 吸収計測装置 |
| JP5156291B2 (ja) * | 2007-07-31 | 2013-03-06 | 浜松ホトニクス株式会社 | フローセル中を流れるサンプルの光学的特性計測装置 |
| JP5468836B2 (ja) * | 2009-07-28 | 2014-04-09 | 株式会社 光コム | 測定装置及び測定方法 |
| JP5787483B2 (ja) * | 2010-01-16 | 2015-09-30 | キヤノン株式会社 | 計測装置及び露光装置 |
| JP4912504B1 (ja) * | 2010-09-16 | 2012-04-11 | キヤノン株式会社 | 屈折率の計測方法および計測装置 |
| JP5930620B2 (ja) * | 2011-06-28 | 2016-06-08 | キヤノン株式会社 | 光干渉断層装置および方法 |
| DE102011053140B4 (de) * | 2011-08-31 | 2021-11-11 | Byk-Gardner Gmbh | Vorrichtung und Verfahren zum Messen optischer Eigenschaften von transparenten Materialien |
| JP2013200125A (ja) * | 2012-03-23 | 2013-10-03 | Mitsui Eng & Shipbuild Co Ltd | 蛍光検出装置及び蛍光検出方法 |
| CN102735648B (zh) * | 2012-07-16 | 2014-05-14 | 苏州大学 | 一种比较法测量三阶非线性折射的装置和方法 |
| JP2015010920A (ja) * | 2013-06-28 | 2015-01-19 | キヤノン株式会社 | 屈折率計測方法、屈折率計測装置および光学素子の製造方法 |
| JP6186215B2 (ja) * | 2013-09-04 | 2017-08-23 | 株式会社日立エルジーデータストレージ | 光計測装置及び光断層観察方法 |
| WO2016121250A1 (ja) * | 2015-01-30 | 2016-08-04 | 浜松ホトニクス株式会社 | 干渉観察装置および干渉観察方法 |
| JP6646426B2 (ja) * | 2015-12-14 | 2020-02-14 | 浜松ホトニクス株式会社 | 干渉観察装置および干渉観察方法 |
| JP6570035B2 (ja) * | 2016-03-30 | 2019-09-04 | 国立大学法人東北大学 | 変位測定装置および変位測定方法 |
| CN114812602B (zh) * | 2022-03-14 | 2025-03-07 | 北京控制工程研究所 | 一种高精度指向系统用抖动补偿装置和方法 |
-
1999
- 1999-06-17 JP JP17049399A patent/JP4151159B2/ja not_active Expired - Fee Related
Cited By (1)
| Publication number | Priority date | Publication date | Assignee | Title |
|---|---|---|---|---|
| CN102007392B (zh) * | 2009-01-22 | 2013-01-16 | 松下电器产业株式会社 | 折射率测定装置 |
Also Published As
| Publication number | Publication date |
|---|---|
| JP2001004538A (ja) | 2001-01-12 |
Similar Documents
| Publication | Publication Date | Title |
|---|---|---|
| JP4151159B2 (ja) | 媒質の測定装置 | |
| US6992779B2 (en) | Interferometer apparatus for both low and high coherence measurement and method thereof | |
| US6172752B1 (en) | Method and apparatus for simultaneously interferometrically measuring optical characteristics in a noncontact manner | |
| CN109804294B (zh) | 用于数字全息成像和干涉测量的光纤分路器装置和包括所述光纤分路器装置的光学系统 | |
| US7633053B2 (en) | Microscope, particularly a laser scanning microscope with adaptive optical arrangement | |
| KR100225923B1 (ko) | 이상 회절 간섭계 | |
| US6144449A (en) | Low coherence interferometric device | |
| JP5043106B2 (ja) | 表面特性測定装置 | |
| JP5168168B2 (ja) | 屈折率測定装置 | |
| JP3582311B2 (ja) | 媒質の測定方法および測定装置 | |
| JPH08505951A (ja) | 光学センサ表面に位置する物質を分析する装置 | |
| CN103674926A (zh) | 光学装置 | |
| JPS59113407A (ja) | 表面に光の焦点を形成するための装置 | |
| US20190072375A1 (en) | Optical image measuring apparatus | |
| US5329354A (en) | Alignment apparatus for use in exposure system for optically transferring pattern onto object | |
| JP4208069B2 (ja) | 屈折率及び厚さの測定装置ならびに測定方法 | |
| US8305584B2 (en) | Measurement instrument of optical characteristics for sample flowing in passage | |
| US7466427B2 (en) | Vibration-resistant interferometer apparatus | |
| CN106575030A (zh) | 具有分束器组件的显微镜 | |
| JP2934715B2 (ja) | 光導波路デバイス及びそれを用いたコンフォーカルレーザ走査微分干渉顕微鏡 | |
| US5715055A (en) | Spectroscope utilizing a coupler to concurrently apply parallel light beams to a sample and a reference light and processing the resulting light beams thereby compensating for environmental changes | |
| JP7669474B2 (ja) | ビームスプリッティングデバイス | |
| CN114543685B (zh) | 一种干涉仪调制器、测量系统及测量方法 | |
| JP2005106706A (ja) | 屈折率及び厚さの測定装置ならびに測定方法 | |
| JPS60253945A (ja) | 形状測定装置 |
Legal Events
| Date | Code | Title | Description |
|---|---|---|---|
| A621 | Written request for application examination |
Free format text: JAPANESE INTERMEDIATE CODE: A621 Effective date: 20060307 |
|
| RD01 | Notification of change of attorney |
Free format text: JAPANESE INTERMEDIATE CODE: A7421 Effective date: 20060412 |
|
| A977 | Report on retrieval |
Free format text: JAPANESE INTERMEDIATE CODE: A971007 Effective date: 20070927 |
|
| A131 | Notification of reasons for refusal |
Free format text: JAPANESE INTERMEDIATE CODE: A131 Effective date: 20071002 |
|
| A521 | Request for written amendment filed |
Free format text: JAPANESE INTERMEDIATE CODE: A523 Effective date: 20071114 |
|
| A131 | Notification of reasons for refusal |
Free format text: JAPANESE INTERMEDIATE CODE: A131 Effective date: 20080212 |
|
| A521 | Request for written amendment filed |
Free format text: JAPANESE INTERMEDIATE CODE: A523 Effective date: 20080307 |
|
| TRDD | Decision of grant or rejection written | ||
| A01 | Written decision to grant a patent or to grant a registration (utility model) |
Free format text: JAPANESE INTERMEDIATE CODE: A01 Effective date: 20080610 |
|
| A01 | Written decision to grant a patent or to grant a registration (utility model) |
Free format text: JAPANESE INTERMEDIATE CODE: A01 |
|
| A61 | First payment of annual fees (during grant procedure) |
Free format text: JAPANESE INTERMEDIATE CODE: A61 Effective date: 20080623 |
|
| FPAY | Renewal fee payment (event date is renewal date of database) |
Free format text: PAYMENT UNTIL: 20110711 Year of fee payment: 3 |
|
| FPAY | Renewal fee payment (event date is renewal date of database) |
Free format text: PAYMENT UNTIL: 20110711 Year of fee payment: 3 |
|
| FPAY | Renewal fee payment (event date is renewal date of database) |
Free format text: PAYMENT UNTIL: 20120711 Year of fee payment: 4 |
|
| LAPS | Cancellation because of no payment of annual fees |
