JP4127635B2 - 折曲げ装置および折曲げ方法 - Google Patents
折曲げ装置および折曲げ方法 Download PDFInfo
- Publication number
- JP4127635B2 JP4127635B2 JP2002252570A JP2002252570A JP4127635B2 JP 4127635 B2 JP4127635 B2 JP 4127635B2 JP 2002252570 A JP2002252570 A JP 2002252570A JP 2002252570 A JP2002252570 A JP 2002252570A JP 4127635 B2 JP4127635 B2 JP 4127635B2
- Authority
- JP
- Japan
- Prior art keywords
- plate
- belt
- bending
- conveyor belt
- downstream side
- Prior art date
- Legal status (The legal status is an assumption and is not a legal conclusion. Google has not performed a legal analysis and makes no representation as to the accuracy of the status listed.)
- Expired - Fee Related
Links
- 238000005452 bending Methods 0.000 title claims description 56
- 238000000034 method Methods 0.000 title claims description 19
- 238000011144 upstream manufacturing Methods 0.000 claims description 12
- 238000004806 packaging method and process Methods 0.000 claims description 11
- 230000001105 regulatory effect Effects 0.000 claims description 3
- 239000003292 glue Substances 0.000 description 2
- 239000002184 metal Substances 0.000 description 2
- 230000000694 effects Effects 0.000 description 1
- 238000012986 modification Methods 0.000 description 1
- 230000004048 modification Effects 0.000 description 1
- 229920003002 synthetic resin Polymers 0.000 description 1
- 239000000057 synthetic resin Substances 0.000 description 1
Images
Landscapes
- Making Paper Articles (AREA)
Description
【発明の属する技術分野】
本発明は折曲げ装置および折曲げ方法に係り、とくに板状体を搬送手段によって搬送しながら折曲げるようにした折曲げ装置および折曲げ方法に関する。
【0002】
【従来の技術】
包装箱として用いられるいわゆるB式ケースは、前面板と、両側の側板と、これらの両側の側板の先端部に設けられた接合片とを連続して備える段ボールから成る第1の板状体と、蓋板と、背面板と、底板とを連続して備える段ボールから成る第2の板状体と、を用いて組立てられる。すなわち上記第1の板状体の両端の接合片を第2の板状体の背面板の両端にステッチャまたは糊で接着して製箱する。なおこのような組立てを半自動あるいは全自動で行なうようにした組立て方法が可能になっている。
【0003】
【発明が解決しようとする課題】
このようなB式ケースから成る包装箱は、使用前に立体的に組立てると内部空間によってデッドスペースを生じ、搬送の効率化が妨げられる。そこで従来より、偏平に折畳んだ状態で供給されるようになっている。すなわち第1の板状体と第2の板状体とを接着して製箱した後に折畳んだ偏平な包装箱が供給されるようになっている。ところがこのような形態によると、全体としてほぼT字状をなす形態で供給されるために、立体的なスペースを要することはないものの、長方形に折畳まれたケースに比べて平面上でスペースを要し、取扱いに不便を生ずる問題がある。
【0004】
本発明はこのような問題点に鑑みてなされたものであって、例えば偏平に折畳まれたB式ケース等を、さらにコンパクトに折畳んで供給できるようにし、これによってよりスペース効率を改善するようにした折曲げ装置および折曲げ方法を提供することを目的とする。
【0005】
【課題を解決するための手段】
折曲げ装置に関する主要な発明は、
板状体を搬送手段によって搬送しながら折曲げるようにした折曲げ装置において、
搬送手段を構成する搬送ベルト上に該搬送ベルトとほぼ平行に配され、板状体を前記搬送ベルトに押える押えベルトと、
前記搬送ベルトの側方に該搬送ベルトと平行に配され、搬送される板状体を前記搬送ベルトの幅方向に位置規制するガイドプレートと、
前記搬送ベルトに対して前記ガイドプレートとは反対側に配され、前記搬送ベルトの上流側が低く下流側が高くなるように傾斜されるとともに、下流側がガイドプレート側に傾斜し、前記押えベルトによって押えられている前記板状体の前記ガイドプレートに接する側端部とは反対側の側端部を下から押上げて該側端部を折曲げる折曲げガイドバーと、
前記搬送ベルトの上流側でほぼ垂直な軸を有するローラに掛渡されるとともに下流側でほぼ水平な軸を有するローラに掛渡されてほぼ90度ねじれ、しかも下流側が前記ガイドプレートに近接するように前記搬送ベルトに対して斜めに交差し、前記折曲げガイドバーによって折曲げられた前記板状体の側端部を該板状体の主体部に重合うように折曲げる斜めの折曲げベルトと、
を具備する折曲げ装置に関するものである。
【0006】
ここで前記折曲げベルトが前記押えベルトの搬送方向の終端よりも下流側において前記板状体の搬送方向と斜めに交差するように配されるようにすることが好適である。
【0007】
折曲げ方法に関する主要な発明は、
板状体を搬送手段によって搬送しながら折曲げるようにした折曲げ方法において、
前記板状体を前記搬送ベルトの側方において前記搬送ベルトと平行に配されるガイドプレートによって前記搬送ベルトの幅方向に位置規制しながら搬送し、
板状体を押えベルトによって該押えベルトの下に平行に配された搬送ベルトに押えながら前記板状体の前記ガイドプレートに接する側端部とは反対側の側端部を、前記搬送ベルトに対して前記ガイドプレートとは反対側に配され、前記搬送ベルトの上流側が低く下流側が高くなるように傾斜されるとともに、下流側がガイドプレート側に傾斜している折曲げガイドバーに接触させて折曲げ、
折曲げられた前記板状体の側端部を前記搬送ベルトの側方に斜めに配されておりかつ前記搬送ベルトの上流側でほぼ垂直な軸を有するローラに掛渡されるとともに下流側でほぼ水平な軸を有するローラに掛渡されてほぼ90度ねじれ、しかも下流側が前記ガイドプレートに近接するように前記搬送ベルトに対して斜めに交差している押えベルトによって押えて前記板状体の主体部に重合わせるようにしたことを特徴とする折曲げ方法に関するものである。
【0008】
ここで折曲げられる板状体が段ボールを接合して偏平に折畳んだ包装箱であって、該包装箱の一部を折曲げるようにすることが好ましい。また前記包装箱が前面板および両側板から成る第1の板状体と、蓋板と背面板と底板とを具備する第2の板状体とから成り、前記第2の板状体の蓋板または底板を折曲げることが好適である。
【0009】
【発明の実施の形態】
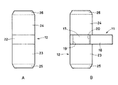
以下本発明を図示の実施の形態によって説明する。本実施の形態の折曲げ装置および折曲げ方法は、段ボールを用いて自動的に組立てられたいわゆるB式ケースの蓋板または底板を折曲げるための折曲げ装置および折曲げ方法に関する。ここで段ボールを用いたB式ケースは、図1に示すような段ボールから成る横長の第1の板状体11と、図2に示すように段ボールから成る縦長の第2の板状体とによって組立てられるようになっている。
【0010】
第1の板状体11は図1Aに示すように全体の形状が横長であってそのほぼ中央部に前面板16が備えられるとともに、その両側には側板17、18が連設され、側板17、18の先端側にはさらに接合片19、20が設けられる。なおこれらは折曲げ線によって折曲げ可能に連結されている。
【0011】
これに対して第2の板状体12は図2Aに示すように背面板22をそのほぼ中央に備え、その下側には底板23が、上側に蓋板24がそれぞれ連設される。また底板23と蓋板24の先端部にはそれぞれフラップ25、26が折曲げ可能に連設されている。
【0012】
次に図1Aに示すような第1の板状体11と図2Aに示すような第2の板状体12とを用いてB式ケースを組立てる動作を説明する。図1Bに示すように第1の板状体11の一方の側板18を前面板16の上側に重合うように折曲げるとともに、反対側の側板17の先端側の接合片19を側板18と同じ向きになるように折曲げる。そして両端の接合片19、20の表面にそれぞれ糊剤28を塗布する。
【0013】
この後に図2Bに示すように、折曲げた第1の板状体11を第2の板状体12の背面板22の内側に重合わせるとともに、糊剤28を塗布した接合片19、20を背面板22の両端に一致させる。そして接合片19、20を背面板22と糊付けして接合することによって、図2Bに示すように第1の板状体11と第2の板状体12とが互いに結合される。
【0014】
このように第1の板状体11と第2の板状体12とを組合わせると、段ボールから成るB式ケースが得られる。このようなB式ケースは図3に示すように、第1の板状体11によって箱の側面の3辺が形成される。そしてこのような3辺の下側の開口である底部開口を第2の板状体12の底板23によって閉塞し、上部開口を蓋板24によって閉塞することによって、図3Bおよび図3Cに示すようなB式ケースになる。
【0015】
なお本実施の形態のB式ケースは、図3に示すように直方体状に組立てるのは使用時であって、このB式ケースの組立て時においては図1Bに示すように第1の板状体11を折曲げて接合片19、20に糊剤を塗布し、その後に第2の板状体12の背面板22に図2Bに示すように重合わせる工程までを行なうものである。そして図2Bに示すように偏平に折畳まれた箱は、さらに折曲げ装置によって折曲げられ、よりコンパクトであってしかも偏平な状態で供給されるようになっている。
【0016】
このようなコンパクトに折曲げる動作を図4および図5によって説明する。図2Bに示すように第1の板状体11と第2の板状体12とによって偏平に組立てられたB式ケースは図2Bに示す状態から裏返しにする。これによって図4Aに示す状態になる。そしてこの後に蓋板24または底板23を折曲げる。ここでは底板23を折曲げ線29に沿って背面板22の上側であって外表面上に折曲げるようにしている。これによって図4Bに示すようにT字型のB式ケースはL字型に折曲げられるようになり、平面上におけるスペースがより少なくなってコンパクトな形状となる。従ってこのような状態で供給することによって、スペース効率の高い包装箱の供給が可能になる。
【0017】
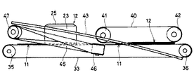
図6〜図8は上述のようなT字型に組立てられたB式ケースを折畳んでL字型にするための折曲げ装置を示しており、ここではこのB式ケースの搬送方向に延びる搬送ベルト33と、搬送ベルト33に対してほぼ平行に配されている補助搬送ベルト34とが設けられている。搬送ベルト33は前後一対のローラ35、36によって移動自在に支持されるとともに、補助搬送ベルト34はローラ37、38によって移動自在に支持されるようになっている。そして搬送ベルト33上には押えベルト40がほぼ平行に設けられており、ローラ41、42間に掛渡されている。
【0018】
上記搬送ベルト33および押えベルト40に対してその側方に位置するようにほぼ弓形に湾曲する折曲げガイドバー43が設けられている。この折曲げガイドバー43は外表面が滑り易いように金属に合成樹脂チューブを被覆した金属パイプから構成されている。またこのようなガイドバー43の下側であって上記押えベルト40の搬送方向下流側の終端には、上記搬送ベルト33と側方から斜めに交差するように折曲げベルト45とが設けられている。折曲げベルト45は軸が互いにねじれた位置関係にある一対のローラ46、47によって案内されており、ガイドバー43によって折曲げられた板状体を重合わせるように折曲げるためのものである。また上記補助搬送ベルト34の側端にはこの補助搬送ベルト34とほぼ平行にガイドプレート48が設けられている。
【0019】
次に以上のような構成になる折曲げ装置によってB式ケースの第2の板状体12の底板23を折曲げる動作を説明する。図6および図7においてこの折曲げ装置の搬送ベルト35の右端側からB式ケースを供給する。このときに第1の板状体11が下側になるとともに第1の板状体11の突出する部分が前方になるように供給する。すると搬送ベルト33および押えベルト40によってB式ケースは図6および図7において右方から左方に搬送される。なおこのときに第2の板状体12の蓋板24は補助搬送ベルト34によって支持されることになる。
【0020】
このようにこの折曲げ装置にB式ケースが供給されると、このB式ケースの第2の板状体12の底板23が折曲げガイドバー43の上側に位置することになる。このような状態で搬送ベルト33および押えベルト40によってB式ケースが右方から左方に送られると、底板23が斜めに配されている弓形折曲げガイドバー43によって次第に下から上に押上げられて折曲げられる。すなわち底板23は折曲げ線29のところで背面板22に対して背面側に折曲げられるようになる。
【0021】
B式ケースが搬送ベルト33および押えベルト40によって搬送されながら左方へ移動するとともに、押えベルト40からほぼ離脱する位置において、折曲げガイドバー43によって上側に折曲げられた底板23は搬送ベルト33に斜めに交差するように配されている折曲げベルト45に捉えられ、この折曲げベルト45によって側方であって蓋板24の先端部がガイドプレート48に当接する方向に押えられるとともに、折曲げベルト45によって底板23が底板23が背面板22の上に重合わされる。
【0022】
すなわちこの折曲げ装置の右端に図4Aに示すような形態で供給されたB式ケースは、この折曲げ装置の折曲げガイドバー43および折曲げベルト45の作用によって、とくに第2の板状体12の底板23が上側に折曲げられて図4Bに示す状態になる。このような折曲げられたB式ケースは、図5Aおよび図5Bに示すようにL型に折畳まれることになり、コンパクトな構造になる。従ってこれによって、図4Aに示すようにT字型に折畳まれた場合よりもより小さなスペースで積重ねることが可能になり、偏平であってしかもコンパクトな形態で供給されるようになる。なおこのようにして折畳まれたB式ケースは、使用時に図3A〜図3Cに示すようにして組立てられて中に内容物が充填されて包装が行なわれる。
【0023】
以上本願に含まれる発明を図示の実施の形態によって説明したが、本願に含まれる発明は上記実施の形態によって限定されることなく、本願に含まれる発明の技術的思想の範囲内で各種の変更が可能である。例えば上記実施の形態はB式ケースの第2の板状体12の底板23を折曲げるようにしているが、必ずしも底板23を折曲げる必要はなく、蓋板24を折曲げるようにしてもよい。また本願の折曲げ装置および折曲げ方法は、他の包装箱、その他の板状体の折曲げに広く適用可能である。
【0024】
【発明の効果】
折曲げ装置に関する主要な発明は、板状体を搬送手段によって搬送しながら折曲げるようにした折曲げ装置において、搬送手段を構成する搬送ベルト上に該搬送ベルトとほぼ平行に配され、板状体を前記搬送ベルトに押える押えベルトと、搬送ベルトの側方に該搬送ベルトと平行に配され、搬送される板状体を搬送ベルトの幅方向に位置規制するガイドプレートと、搬送ベルトに対してガイドプレートとは反対側に配され、搬送ベルトの上流側が低く下流側が高くなるように傾斜されるとともに、下流側がガイドプレート側に傾斜し、押えベルトによって押えられている板状体のガイドプレートに接する側端部とは反対側の側端部を下から押上げて該側端部を折曲げる折曲げガイドバーと、搬送ベルトの上流側でほぼ垂直な軸を有するローラに掛渡されるとともに下流側でほぼ水平な軸を有するローラに掛渡されてほぼ90度ねじれ、しかも下流側がガイドプレートに近接するように搬送ベルトに対して斜めに交差し、折曲げガイドバーによって折曲げられた板状体の側端部を該板状体の主体部に重合うように折曲げる斜めの折曲げベルトと、を具備するものである。
【0025】
従ってこのような折曲げ装置によれば、ガイドバーと折曲げベルトの作用を組合わせて板状体を効果的かつ確実に折曲げて板状体の側端部を主体部に重合うように折曲げるようにした折曲げ装置が提供される。
【0026】
折曲げ方法に関する主要な発明は、板状体を搬送手段によって搬送しながら折曲げるようにした折曲げ方法において、板状体を搬送ベルトの側方において搬送ベルトと平行に配されるガイドプレートによって搬送ベルトの幅方向に位置規制しながら搬送し、板状体を押えベルトによって該押えベルトの下に平行に配された搬送ベルトに押えながら板状体のガイドプレートに接する側端部とは反対側の側端部を、搬送ベルトに対してガイドプレートとは反対側に配され、搬送ベルトの上流側が低く下流側が高くなるように傾斜されるとともに、下流側がガイドプレート側に傾斜している折曲げガイドバーに接触させて折曲げ、折曲げられた板状体の側端部を搬送ベルトの側方に斜めに配されておりかつ搬送ベルトの上流側でほぼ垂直な軸を有するローラに掛渡されるとともに下流側でほぼ水平な軸を有するローラに掛渡されてほぼ90度ねじれ、しかも下流側がガイドプレートに近接するように搬送ベルトに対して斜めに交差している押えベルトによって押えて板状体の主体部に重合わせるようにしたものである。
【0027】
従ってこのような折曲げ方法によれば、まず折曲げガイドバーによって板状体の側端部を折曲げ、さらに押えベルトによって折曲げられた側端部を板状体の主体部に重合わせることが可能になり、効果的かつ確実に折曲げ動作を行なうことが可能になる。
【図面の簡単な説明】
【図1】第1の板状体の平面図および折曲げられた斜視図である。
【図2】第2の板状体およびこの第2の板状体に第1の板状体を接合したときの平面図である。
【図3】B式ケースの組立て動作を示す斜視図である。
【図4】組立てられたB式ケースの折曲げ動作を示す斜視図である。
【図5】折曲げられたB式ケースの表裏の平面図である。
【図6】折曲げ装置の要部平面図である。
【図7】折曲げ装置の要部正面図である。
【図8】折曲げ装置の要部斜視図である。
【符号の説明】
11 第1の板状体
12 第2の板状体
16 前面板
17、18 側板
19、20 接合片
22 背面板
23 底板
24 蓋板
25、26 フラップ
28 糊剤
29 折曲げ線
33 搬送ベルト
34 補助搬送ベルト
35、36 ローラ
37、38 ローラ
40 押えベルト
41、42 ローラ
43 折曲げガイドバー
45 折曲げベルト
46、47 ローラ
48 ガイドプレート
Claims (5)
- 板状体を搬送手段によって搬送しながら折曲げるようにした折曲げ装置において、
搬送手段を構成する搬送ベルト上に該搬送ベルトとほぼ平行に配され、板状体を前記搬送ベルトに押える押えベルトと、
前記搬送ベルトの側方に該搬送ベルトと平行に配され、搬送される板状体を前記搬送ベルトの幅方向に位置規制するガイドプレートと、
前記搬送ベルトに対して前記ガイドプレートとは反対側に配され、前記搬送ベルトの上流側が低く下流側が高くなるように傾斜されるとともに、下流側がガイドプレート側に傾斜し、前記押えベルトによって押えられている前記板状体の前記ガイドプレートに接する側端部とは反対側の側端部を下から押上げて該側端部を折曲げる折曲げガイドバーと、
前記搬送ベルトの上流側でほぼ垂直な軸を有するローラに掛渡されるとともに下流側でほぼ水平な軸を有するローラに掛渡されてほぼ90度ねじれ、しかも下流側が前記ガイドプレートに近接するように前記搬送ベルトに対して斜めに交差し、前記折曲げガイドバーによって折曲げられた前記板状体の側端部を該板状体の主体部に重合うように折曲げる斜めの折曲げベルトと、
を具備する折曲げ装置。 - 前記折曲げベルトが前記押えベルトの搬送方向の終端よりも下流側において前記板状体の搬送方向と斜めに交差するように配されていることを特徴とする請求項1に記載の折曲げ装置。
- 板状体を搬送手段によって搬送しながら折曲げるようにした折曲げ方法において、
前記板状体を前記搬送ベルトの側方において前記搬送ベルトと平行に配されるガイドプレートによって前記搬送ベルトの幅方向に位置規制しながら搬送し、
板状体を押えベルトによって該押えベルトの下に平行に配された搬送ベルトに押えながら前記板状体の前記ガイドプレートに接する側端部とは反対側の側端部を、前記搬送ベルトに対して前記ガイドプレートとは反対側に配され、前記搬送ベルトの上流側が低く下流側が高くなるように傾斜されるとともに、下流側がガイドプレート側に傾斜している折曲げガイドバーに接触させて折曲げ、
折曲げられた前記板状体の側端部を前記搬送ベルトの側方に斜めに配されておりかつ前記搬送ベルトの上流側でほぼ垂直な軸を有するローラに掛渡されるとともに下流側でほぼ水平な軸を有するローラに掛渡されてほぼ90度ねじれ、しかも下流側が前記ガイドプレートに近接するように前記搬送ベルトに対して斜めに交差している押えベルトによって押えて前記板状体の主体部に重合わせるようにしたことを特徴とする折曲げ方法。 - 折曲げられる板状体が段ボールを接合して偏平に折畳んだ包装箱であって、該包装箱の一部を折曲げることを特徴とする請求項3に記載の折曲げ方法。
- 前記包装箱が前面板および両側板から成る第1の板状体と、蓋板と背面板と底板とを具備する第2の板状体とから成り、前記第2の板状体の蓋板または底板を折曲げることを特徴とする請求項3または請求項4に記載の折曲げ方法。
Priority Applications (1)
| Application Number | Priority Date | Filing Date | Title |
|---|---|---|---|
| JP2002252570A JP4127635B2 (ja) | 2002-08-30 | 2002-08-30 | 折曲げ装置および折曲げ方法 |
Applications Claiming Priority (1)
| Application Number | Priority Date | Filing Date | Title |
|---|---|---|---|
| JP2002252570A JP4127635B2 (ja) | 2002-08-30 | 2002-08-30 | 折曲げ装置および折曲げ方法 |
Publications (2)
| Publication Number | Publication Date |
|---|---|
| JP2004090314A JP2004090314A (ja) | 2004-03-25 |
| JP4127635B2 true JP4127635B2 (ja) | 2008-07-30 |
Family
ID=32058808
Family Applications (1)
| Application Number | Title | Priority Date | Filing Date |
|---|---|---|---|
| JP2002252570A Expired - Fee Related JP4127635B2 (ja) | 2002-08-30 | 2002-08-30 | 折曲げ装置および折曲げ方法 |
Country Status (1)
| Country | Link |
|---|---|
| JP (1) | JP4127635B2 (ja) |
-
2002
- 2002-08-30 JP JP2002252570A patent/JP4127635B2/ja not_active Expired - Fee Related
Also Published As
| Publication number | Publication date |
|---|---|
| JP2004090314A (ja) | 2004-03-25 |
Similar Documents
| Publication | Publication Date | Title |
|---|---|---|
| KR880007329A (ko) | 패키지형성 제조방법 및 그 장치 | |
| JP7005319B2 (ja) | 包装箱 | |
| CN100441487C (zh) | 刚性香烟包装和用于形成刚性香烟包装的可折叠毛坯 | |
| US20200316898A1 (en) | Continuous fanfolded joined corrugated | |
| JP6536342B2 (ja) | 箱および箱のブランクシート | |
| JP4127635B2 (ja) | 折曲げ装置および折曲げ方法 | |
| JP5263661B2 (ja) | ケース組立装置 | |
| JPS6233138B2 (ja) | ||
| CN111376530A (zh) | 一种一体式包装袋的加工设备及其加工方法 | |
| JP5270212B2 (ja) | 包装装置 | |
| CN109514920A (zh) | 纸板的整理机构 | |
| JP6807344B2 (ja) | 喫煙品用パック | |
| JP3068297B2 (ja) | 製箱装置 | |
| JP2662085B2 (ja) | 包装ケースのフラップ折曲装置 | |
| JP4496032B2 (ja) | 段ボールシートの折畳み装置 | |
| CN219339998U (zh) | 一种一纸成型两个装免胶盒 | |
| JPH0739624Y2 (ja) | シート材の送り装置 | |
| JP7415906B2 (ja) | 包装箱および包装箱の組み立て方法 | |
| JP2005104575A (ja) | ピロー包装体用耳部折曲装置 | |
| JP2686541B2 (ja) | 底貼ケースの蓋フラップ分離折返方法及び装置 | |
| CN215852201U (zh) | 一种纸箱封箱装置 | |
| JP4463036B2 (ja) | フォルダグルア | |
| JP2023102124A (ja) | 折り畳み配送箱及び折り畳み配送箱の折り畳み方法 | |
| JP3595530B2 (ja) | 包装装置 | |
| JPS6025362Y2 (ja) | 包装機の製筒機構 |
Legal Events
| Date | Code | Title | Description |
|---|---|---|---|
| A621 | Written request for application examination |
Free format text: JAPANESE INTERMEDIATE CODE: A621 Effective date: 20050401 |
|
| A977 | Report on retrieval |
Free format text: JAPANESE INTERMEDIATE CODE: A971007 Effective date: 20071004 |
|
| A131 | Notification of reasons for refusal |
Free format text: JAPANESE INTERMEDIATE CODE: A131 Effective date: 20071017 |
|
| A521 | Written amendment |
Free format text: JAPANESE INTERMEDIATE CODE: A523 Effective date: 20071128 |
|
| TRDD | Decision of grant or rejection written | ||
| A01 | Written decision to grant a patent or to grant a registration (utility model) |
Free format text: JAPANESE INTERMEDIATE CODE: A01 Effective date: 20080507 |
|
| A01 | Written decision to grant a patent or to grant a registration (utility model) |
Free format text: JAPANESE INTERMEDIATE CODE: A01 |
|
| A61 | First payment of annual fees (during grant procedure) |
Free format text: JAPANESE INTERMEDIATE CODE: A61 Effective date: 20080509 |
|
| FPAY | Renewal fee payment (event date is renewal date of database) |
Free format text: PAYMENT UNTIL: 20110523 Year of fee payment: 3 |
|
| R150 | Certificate of patent or registration of utility model |
Free format text: JAPANESE INTERMEDIATE CODE: R150 |
|
| FPAY | Renewal fee payment (event date is renewal date of database) |
Free format text: PAYMENT UNTIL: 20120523 Year of fee payment: 4 |
|
| FPAY | Renewal fee payment (event date is renewal date of database) |
Free format text: PAYMENT UNTIL: 20130523 Year of fee payment: 5 |
|
| FPAY | Renewal fee payment (event date is renewal date of database) |
Free format text: PAYMENT UNTIL: 20130523 Year of fee payment: 5 |
|
| S531 | Written request for registration of change of domicile |
Free format text: JAPANESE INTERMEDIATE CODE: R313531 |
|
| FPAY | Renewal fee payment (event date is renewal date of database) |
Free format text: PAYMENT UNTIL: 20130523 Year of fee payment: 5 |
|
| R350 | Written notification of registration of transfer |
Free format text: JAPANESE INTERMEDIATE CODE: R350 |
|
| R250 | Receipt of annual fees |
Free format text: JAPANESE INTERMEDIATE CODE: R250 |
|
| R250 | Receipt of annual fees |
Free format text: JAPANESE INTERMEDIATE CODE: R250 |
|
| R250 | Receipt of annual fees |
Free format text: JAPANESE INTERMEDIATE CODE: R250 |
|
| LAPS | Cancellation because of no payment of annual fees |