JP4094130B2 - 換気棟 - Google Patents
換気棟 Download PDFInfo
- Publication number
- JP4094130B2 JP4094130B2 JP21180498A JP21180498A JP4094130B2 JP 4094130 B2 JP4094130 B2 JP 4094130B2 JP 21180498 A JP21180498 A JP 21180498A JP 21180498 A JP21180498 A JP 21180498A JP 4094130 B2 JP4094130 B2 JP 4094130B2
- Authority
- JP
- Japan
- Prior art keywords
- ventilation
- building
- louver
- plate
- support plate
- Prior art date
- Legal status (The legal status is an assumption and is not a legal conclusion. Google has not performed a legal analysis and makes no representation as to the accuracy of the status listed.)
- Expired - Fee Related
Links
- 238000009423 ventilation Methods 0.000 title claims description 42
- 239000011810 insulating material Substances 0.000 claims description 3
- 239000013013 elastic material Substances 0.000 description 4
- 238000007664 blowing Methods 0.000 description 3
- 230000005494 condensation Effects 0.000 description 3
- 238000009833 condensation Methods 0.000 description 3
- 238000010276 construction Methods 0.000 description 3
- 239000000463 material Substances 0.000 description 3
- 230000000630 rising effect Effects 0.000 description 3
- 230000000903 blocking effect Effects 0.000 description 2
- 230000000694 effects Effects 0.000 description 2
- 239000000454 talc Substances 0.000 description 2
- 229910052623 talc Inorganic materials 0.000 description 2
- XLYOFNOQVPJJNP-UHFFFAOYSA-N water Substances O XLYOFNOQVPJJNP-UHFFFAOYSA-N 0.000 description 2
- 238000005516 engineering process Methods 0.000 description 1
- 229920001821 foam rubber Polymers 0.000 description 1
- 230000001771 impaired effect Effects 0.000 description 1
- 239000012774 insulation material Substances 0.000 description 1
- 238000004519 manufacturing process Methods 0.000 description 1
- 239000000725 suspension Substances 0.000 description 1
Images
Landscapes
- Building Environments (AREA)
Description
【産業上の利用分野】
本発明は屋根裏や小屋裏などの空気を外部に逃がす換気棟に関するものである
。
【0002】
【従来の技術】
本発明の対象である換気棟は、小屋裏や屋根裏などの空気を外気と入れ替えて夏の熱気や湿気を取り除くために施工するものである。
従来より建物の換気は、切妻屋根などでは妻側端面のかべに通気孔などを形成して行うものがあったが、近年の洋風住宅に多く見られる寄棟形式の屋根では妻部分が無く、このような屋根形状では棟頂部に換気構造が必要となる。
この換気棟を通じて小屋裏や屋根裏の換気を行うものであるが、棟から排気される空気の補充は通常軒先などから取り入れられる。
【0003】
換気を行うためには小屋裏と外部を結ぶ換気口を設ける必要があり、この換気口は空気を流通させるために、その大きさは例えば天井の面積の1/1600以上が必要となる。
【0004】
このような場所に施工される換気棟は従来より種々の構造が知られ、箱形と呼ばれる高さの高いもの(特開平7−180314号)がよく知られているが、このような換気棟の条件としてはつぎのようなものが挙げられる。
【0005】
すなわち、小屋裏の内部の空気を容易に排出できる機能を有し、強風雨のときにも換気孔から内部に雨が吹き込まない等である。
これは内部の小屋裏から上昇してくるゆるやかな空気の流れは遮断する事なく、外部の正面から吹き付ける強風雨などの強い空気のながれに対しては遮断する能力の高いことが必用とある。
【0006】
この他にも屋根の頂部の目につき易い場所に施工するため、意匠的にも優れたものが要望され、高さが比較的低く施工したときにも建物全体の意匠を損なわないように考慮したものとして特開平7−279325号が知られている。
【0007】
また台風などでは場所によっては毎秒40m程度の風も吹くので、換気棟自体が風圧を避けるために高さを低くしなければならず、これらの強風と共に吹き込んでくる雨水も換気棟の奥までは入らない構造が求められる。
【0008】
【発明が解決しようとする課題】
このような従来よりの換気棟の課題として、換気能力を高めることは換気口を大きくすることであるが、これはまた外部から風雨による吹き込みの恐れも大きく、雨水の侵入も多くなり、これらを確実に防がなくてはならない。
雨水が換気棟から小屋裏などに侵入すると天井などが濡れてしまうことはもちろん、長期間にわたると換気棟本体や建物の腐食の原因にもなった。
【0009】
施工後の外観から考慮すると、棟の高さがあまり高いと換気棟が目だちすぎて建物全体の意匠を損なうことにもなり、高さは低くして換気能力の高いものが要望されていた。
【0010】
【課題を解決するための手段】
上記したような条件を満たすため本発明に係る換気棟は、不要な雨水の侵入を避けるため途中に空気の流路を複雑にさせて、風と一緒に吹き込んでくる雨水を内部にまで侵入させないようにしたものである。
【0011】
このため外側のルーバー部分には扉状に開いた羽根を多数配置して、空気の流路の方向を変えて複雑にすると共に流路を長くすることにより、強風などによる雨水の侵入を防止するものとした。
【0012】
【作用】
このように本発明に係る換気棟は内部の空気は排出し易く、また外部から吹き込む雨水などは完全に遮断できるものである。
その第一段階として扉状の羽根を多数設けたルーバーによって空気の流路を変えて複雑な経路を通過させており、これにより細かい雨滴の侵入も防止できるものである。
【0013】
またこのような雨滴の侵入防止構造を持っているにもかかわらず、施工したときの全体の高さは極めて低いものとなっており、屋根頂部に施工しても建物全体の意匠を損なうこともない。
【0014】
【実施例】
以下、本発明を添付図面に示した一実施例により詳説する。
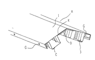
図1は本発明に係る換気棟Aを屋根Bの頂部に施工しキャップJを取り付けたときの斜視図を示し、図2は同じく換気棟Aの分解斜視図である。
【0015】
換気棟Aは上部に覆せる棟カバー1、およびルーバー3から構成され、棟カバー1は棟頂部13にて施工する屋根の勾配に合わせて折曲され、両側端部は下方の折曲して垂下片11およびその先端を裏面に折り返した折り返し片12が形成されている。
【0016】
長手方向の長さは本実施例では1m程度としたが、この長さは特に技術上の制約は特になく例えば2mないし3mでも可能で、換気する小屋裏の面積などを勘案してその長さを決めればよく、たとえば1mより短いものを多数接続させて施工することも可能である。
この棟カバー1の垂下片11には固定用のリベット孔14が適宜な間隔で窄設され、図示例のものでは片側に4箇所設けた。
リベット孔14は本体2のリベット孔29とルーバー3のリベット孔39を相互にネジGにて固定するものであり、従ってそれぞれの孔位置は相互に対応したものとなっている。
【0017】
この時ルーバー3の扉状部分を通して、奥の小屋裏との間には通気部Kが形成され、小屋裏からの空気の通路となっている。(図5)
【0018】
ルーバー3(図3)は本体2に裁置する裁置板36の両側端を立ち上げて支持板34及び分割板37が設けられ、この支持板34の両端縁からはそれぞれ扉状に折曲した羽根33が内方に向かって形成されている。
この羽根33は略両開き状態として相対向して2列に形成され、相対向した羽根33は換気口35どうしを横方向にずらして配置し、空気の流通経路を長くして、直線的に連通させず、強風と共に入ってくる雨滴などを途中で落下させて侵入を防ぐ構造となっている。
【0019】
支持板34と分割板37の上端は長手方向に連続して棟頂部方向に折曲されて支承板32が形成され棟カバー1の下面側に当接して支承するものである。
【0020】
またルーバー3の水下側は押圧板31が折曲され、更にその先端を下方に折曲してリベット孔39を窄設した垂下片40が設けられている。
このルーバー3は棟頂部の左右で対称構造のものを突き合わせて施工するが、この支承板32の突合せ部分に発泡ゴムのような断熱材Dが下面側より貼着して接続され、この断熱材Dによって湿気による結露を防止するものである。
この結露は小屋裏の暖かく湿った空気が上方に上がってきて、冷たい棟板部分で発生するものであるが、この空気と支承板32の直接当たる部分の温度差を断熱材Dによって少なくして結露を防ぐものである。
【0021】
また本体2の底板24の下面側にも帯状の弾性材Cが全長にわたって貼着されており、この弾性材Cは屋根面から強風と共に吹き上がって来る雨水が隙間に侵入するのを防ぐものである。
【0022】
そしてこの本体2を施工する際には、裁置板36に設けられた釘孔38(図2)にて野地板Fと固定されるものである。
【0023】
上記の如く構成される各部を屋根の頂部に施工するが、この頂部には予め空気が流通するような小屋裏や屋根裏と連続した通気部Kが形成されているが、これは屋根面頂部の野地板などを切り欠いて形成しておく。
【0024】
この頂部に本発明に係る換気棟を施工するが、ルーバー3を棟の頂部を跨ぐようにして配置し、前記釘孔38にて屋根の野地板FやタルキIに固定釘Hにて固定するものである。(図5)
この固定釘Hは屋根材Bを貫通して固定されているが、弾性材Cによって雨水の吹き込みによる水漏れの恐れはない。
また棟カバー1は側部からネジGなどにより固定すればよい。
【0025】
図5において小屋裏の内部から上昇して来る空気の流れtと、反対側の換気口から通過して来る空気の流れSは、通気部Kを通過して外部に排出されるものである。
【0026】
【発明の効果】
上記したように本発明に係る換気棟は、扉状のルーバーなどによる構造であるため強風雨などに対して従来にない種々の効果を有するものである。
【0027】
1.相互に互い違いとなる扉状のルーバーが設けてあるため、外部から吹き込む風雨に対して複雑な流路を有するようになり、雨滴などに対して十分な遮断効果が得られ、雨滴などが吹き込んで内部を濡らすようなこともない。
2.本発明による構造は、棟カバーを含めて全体の高さを低くできるため屋根の棟に設置したときにも外観を損なうことがない。
3.扉状のルーバー部分は板材が垂直に位置するため垂直方向の力に対しては極めて強く、施工時に踏むなどの重量が掛かっても破損しないものである。
4.本発明の換気棟はその構造も簡易なためコスト的にも有利であり、大量生産により安価に提供できる。
【図面の簡単な説明】
【図1】は本発明に係る実施例である換気棟を屋根に施工したときの斜視図、
【図2】は同上の換気棟の分解斜視図、
【図3】は同上の換気棟のルーバーの斜視図、
【図4】は同上の換気棟のルーバーの平面図、
【図5】は同上の換気棟の端部の斜視図、
【図6】は同上の換気棟を屋根に施工したときの側面断面図。
A・・・換気棟
B・・・屋根材
C・・・弾性材
D・・・断熱材
E・・・シート
F・・・野地板
G・・・ネジ
H・・・固定釘
I・・・タルキ
J・・・キャップ
K・・・通気部
1・・・棟カバー
11・・垂下片
12・・折返し片
13・・棟頂部
14・・リベット孔
3・・・ルーバー
31・・押圧板
32・・支承板
33・・羽根
34・・支持板
35・・換気口
36・・裁置板
37・・分割板
38・・釘孔
39・・リベット孔
40・・垂下片
Claims (1)
- 棟カバーとルーバーから構成される換気棟において、ルーバー内部に屋根本体に裁置する裁置板の両側端を立ち上げて支持板及び分割板を形成しその上端を折曲して支承板を形成し、前記支持板に換気口として扉状に折曲した羽根が内方に向って形成され、この羽根は略両開き状態として相対向して2列に多数形成し、換気口同士の間を分割板としその換気口同士を横方向にずらして配置し、しかもこのルーバーには、棟頂部の左右で対称構造のものを突合せて施工し、支承板の突合せ部分に断熱材が下面側より貼着して接続して成る換気棟。
Priority Applications (1)
| Application Number | Priority Date | Filing Date | Title |
|---|---|---|---|
| JP21180498A JP4094130B2 (ja) | 1998-07-10 | 1998-07-10 | 換気棟 |
Applications Claiming Priority (1)
| Application Number | Priority Date | Filing Date | Title |
|---|---|---|---|
| JP21180498A JP4094130B2 (ja) | 1998-07-10 | 1998-07-10 | 換気棟 |
Publications (2)
| Publication Number | Publication Date |
|---|---|
| JP2000027391A JP2000027391A (ja) | 2000-01-25 |
| JP4094130B2 true JP4094130B2 (ja) | 2008-06-04 |
Family
ID=16611887
Family Applications (1)
| Application Number | Title | Priority Date | Filing Date |
|---|---|---|---|
| JP21180498A Expired - Fee Related JP4094130B2 (ja) | 1998-07-10 | 1998-07-10 | 換気棟 |
Country Status (1)
| Country | Link |
|---|---|
| JP (1) | JP4094130B2 (ja) |
Families Citing this family (1)
| Publication number | Priority date | Publication date | Assignee | Title |
|---|---|---|---|---|
| CN114351952B (zh) * | 2022-01-04 | 2024-08-16 | 静美幕墙技术有限公司 | 一种屋面双层功能型百叶式通风防雨系统 |
-
1998
- 1998-07-10 JP JP21180498A patent/JP4094130B2/ja not_active Expired - Fee Related
Also Published As
| Publication number | Publication date |
|---|---|
| JP2000027391A (ja) | 2000-01-25 |
Similar Documents
| Publication | Publication Date | Title |
|---|---|---|
| US5803805A (en) | Structure ventilating device | |
| US4555982A (en) | Roof ventilator | |
| US20080072503A1 (en) | Soffit structure | |
| US20050193671A1 (en) | Soffit structure | |
| JP4151044B2 (ja) | 換気棟 | |
| JP4094130B2 (ja) | 換気棟 | |
| JP3155946U (ja) | 換気棟 | |
| JP4517412B2 (ja) | 換気棟 | |
| JP7075198B2 (ja) | 通気部材 | |
| JP3961098B2 (ja) | 喚気棟 | |
| JP3583111B2 (ja) | 換気棟構造 | |
| CA2458006A1 (en) | Soffit structure | |
| JP3761994B2 (ja) | 寄棟屋根の熱気排除構造 | |
| JPH0328552B2 (ja) | ||
| JP7623673B2 (ja) | 軒天換気材 | |
| JP7623672B2 (ja) | 軒天換気材及びこれを用いた建物構造 | |
| JP4171312B2 (ja) | 防火換気装置及び棟部の防火換気構造 | |
| JP4745431B2 (ja) | 換気棟 | |
| JP2000179116A (ja) | 換気棟 | |
| JPH0748909A (ja) | 屋根の換気装置 | |
| JP2000027390A (ja) | 換気棟 | |
| JP3889465B2 (ja) | バルコニー構造 | |
| JP2024017856A (ja) | 通気見切り部材 | |
| JP2000008566A (ja) | 換気棟 | |
| JPH11159089A (ja) | 換気棟 |
Legal Events
| Date | Code | Title | Description |
|---|---|---|---|
| A621 | Written request for application examination |
Free format text: JAPANESE INTERMEDIATE CODE: A621 Effective date: 20050614 |
|
| RD02 | Notification of acceptance of power of attorney |
Free format text: JAPANESE INTERMEDIATE CODE: A7422 Effective date: 20050614 |
|
| A977 | Report on retrieval |
Free format text: JAPANESE INTERMEDIATE CODE: A971007 Effective date: 20070510 |
|
| A131 | Notification of reasons for refusal |
Free format text: JAPANESE INTERMEDIATE CODE: A131 Effective date: 20070522 |
|
| A521 | Written amendment |
Free format text: JAPANESE INTERMEDIATE CODE: A523 Effective date: 20070719 |
|
| A131 | Notification of reasons for refusal |
Free format text: JAPANESE INTERMEDIATE CODE: A131 Effective date: 20070828 |
|
| A521 | Written amendment |
Free format text: JAPANESE INTERMEDIATE CODE: A523 Effective date: 20071025 |
|
| A131 | Notification of reasons for refusal |
Free format text: JAPANESE INTERMEDIATE CODE: A131 Effective date: 20071127 |
|
| A521 | Written amendment |
Free format text: JAPANESE INTERMEDIATE CODE: A523 Effective date: 20080116 |
|
| TRDD | Decision of grant or rejection written | ||
| A01 | Written decision to grant a patent or to grant a registration (utility model) |
Free format text: JAPANESE INTERMEDIATE CODE: A01 Effective date: 20080226 |
|
| A61 | First payment of annual fees (during grant procedure) |
Free format text: JAPANESE INTERMEDIATE CODE: A61 Effective date: 20080305 |
|
| FPAY | Renewal fee payment (event date is renewal date of database) |
Free format text: PAYMENT UNTIL: 20110314 Year of fee payment: 3 |
|
| R150 | Certificate of patent or registration of utility model |
Free format text: JAPANESE INTERMEDIATE CODE: R150 |
|
| FPAY | Renewal fee payment (event date is renewal date of database) |
Free format text: PAYMENT UNTIL: 20110314 Year of fee payment: 3 |
|
| FPAY | Renewal fee payment (event date is renewal date of database) |
Free format text: PAYMENT UNTIL: 20120314 Year of fee payment: 4 |
|
| FPAY | Renewal fee payment (event date is renewal date of database) |
Free format text: PAYMENT UNTIL: 20130314 Year of fee payment: 5 |
|
| FPAY | Renewal fee payment (event date is renewal date of database) |
Free format text: PAYMENT UNTIL: 20140314 Year of fee payment: 6 |
|
| R250 | Receipt of annual fees |
Free format text: JAPANESE INTERMEDIATE CODE: R250 |
|
| R250 | Receipt of annual fees |
Free format text: JAPANESE INTERMEDIATE CODE: R250 |
|
| R250 | Receipt of annual fees |
Free format text: JAPANESE INTERMEDIATE CODE: R250 |
|
| R250 | Receipt of annual fees |
Free format text: JAPANESE INTERMEDIATE CODE: R250 |
|
| LAPS | Cancellation because of no payment of annual fees |