JP4052386B2 - タイヤ金型及びそれを用いた空気入りタイヤの製造方法 - Google Patents
タイヤ金型及びそれを用いた空気入りタイヤの製造方法 Download PDFInfo
- Publication number
- JP4052386B2 JP4052386B2 JP2003046730A JP2003046730A JP4052386B2 JP 4052386 B2 JP4052386 B2 JP 4052386B2 JP 2003046730 A JP2003046730 A JP 2003046730A JP 2003046730 A JP2003046730 A JP 2003046730A JP 4052386 B2 JP4052386 B2 JP 4052386B2
- Authority
- JP
- Japan
- Prior art keywords
- sipe
- forming blade
- tire
- reinforcing portion
- sipe forming
- Prior art date
- Legal status (The legal status is an assumption and is not a legal conclusion. Google has not performed a legal analysis and makes no representation as to the accuracy of the status listed.)
- Expired - Fee Related
Links
- 238000004519 manufacturing process Methods 0.000 title claims description 8
- 238000000465 moulding Methods 0.000 claims description 33
- 230000003014 reinforcing effect Effects 0.000 claims description 31
- 239000002184 metal Substances 0.000 claims description 7
- 239000000463 material Substances 0.000 claims description 4
- 229910001220 stainless steel Inorganic materials 0.000 claims description 2
- 239000010935 stainless steel Substances 0.000 claims description 2
- 230000002787 reinforcement Effects 0.000 description 5
- 230000002093 peripheral effect Effects 0.000 description 3
- 239000011324 bead Substances 0.000 description 2
- 238000000034 method Methods 0.000 description 2
- 230000000694 effects Effects 0.000 description 1
- 238000010438 heat treatment Methods 0.000 description 1
- 235000013372 meat Nutrition 0.000 description 1
- 238000004073 vulcanization Methods 0.000 description 1
Images
Landscapes
- Moulds For Moulding Plastics Or The Like (AREA)
- Heating, Cooling, Or Curing Plastics Or The Like In General (AREA)
Description
【発明の属する技術分野】
本発明は、タイヤ金型及びそれを用いた空気入りタイヤの製造方法に関し、更に詳しくは、セクター分割位置まで延在するサイプ成形刃の変形を抑制するようにしたセクショナル型のタイヤ金型及びそれを用いた空気入りタイヤの製造方法に関する。
【0002】
【従来の技術】
一般に、セクショナル型のタイヤ金型は、上下の金型間に側型を複数に分割したセクターを備えている。ブロックやリブなどの陸部にサイプを設けたタイヤを製造するのに用いられるセクショナル型のタイヤ金型では、セクターの成形面にサイプ成形刃が突設されており、トレッドパターンのデザイン上、1本のサイプ成形刃がセクター分割位置まで延在し、更に隣のセクターに跨って延びることがしばしばある。
【0003】
このようにセクター分割位置まで延在するサイプ成形刃を有するタイヤ金型でタイヤを製造すると、サイプ成形刃は非常に薄肉のため加硫後に金型を離型した際に変形することがあり、その都度修正しなければならない。
【0004】
そこで、従来、上記対策として、例えば、セクター分割位置にかかるサイプ成形刃の高さを低くして変形し難くするようにした技術が提案されている(例えば、特許文献1参照)。
【0005】
【特許文献1】
特許第3004776号
【0006】
【発明が解決しようとする課題】
しかしながら、上記のようにサイプ成形刃の高さを低くすると、トレッド面の陸部に形成されたサイプの深さが他のサイプより浅くなるため、本来あるべきサイプ特性を維持することができなくなるという問題があった。また、トレッド面が早期に摩耗した(摩耗により浅いサイプがなくなった)際にトレッドパターンの外観が著しく変わってしまうという問題もある。
【0007】
本発明の目的は、良好なサイプ特性を維持し、かつ摩耗によるトレッドパターンの外観変化を招くことなく、サイプ成形刃の変形を抑制することが可能なタイヤ金型及びそれを用いた空気入りタイヤの製造方法を提供することにある。
【0008】
【課題を解決するための手段】
上記目的を達成する本発明のタイヤ金型は、複数に分割したセクターの成形面にセクター分割位置まで延在するサイプ成形刃を直接設けたセクショナル型のタイヤ金型において、前記サイプ成形刃の一方の側面にのみ前記セクター分割位置に隣接して金属板からなる補強部を設け、該補強部は、セクター分割位置からサイプ成形刃の幅方向に延びる一方、セクターの成形面からサイプ成形刃の高さ方向に延び、かつ厚さが前記サイプ成形刃の厚さ以下であることを特徴とする。
【0009】
本発明の空気入りタイヤの製造方法は、上記タイヤ金型を用いて空気入りタイヤを製造することを特徴とする。
【0010】
上記した本発明によれば、セクター分割位置に隣接するサイプ成形刃の側面に設けた補強部によりサイプ成形刃を効果的に補強することができるため、サイプ成形刃の高さを低くすることなく、金型離型時のサイプ成形刃の変形を抑制することができる。
【0011】
【発明の実施の形態】
以下、本発明の構成について添付の図面を参照しながら詳細に説明する。
【0012】
図1は、本発明のタイヤ金型の一例を示し、このセクショナル型のタイヤ金型は、環状の上下の金型1,2と、その間に配置した環状の側型3を有し、側型3が複数に分割したセクター4から構成されている。
【0013】
上型1は、タイヤの一方のサイド部を成形する成形面1aを下面に有している。下型2は、タイヤの他方のサイド部を成形する成形面2aを上面に備えている。上型1及び下型2の内周側にはタイヤのビード部を成形する上下のビードリングB1,B2が設けられている。各セクター4は、タイヤのトレッド部を成形する成形面4aを内周面に有している。
【0014】
セクター4の成形面4aには、トレッド面に周方向溝を成形する複数の溝成形刃5が側型3の周方向に沿って突設され、この溝成形刃5間の成形面4aには複数のサイプ成形刃6が直接突出して設けられている。サイプ成形刃6は、同じ高さで溝成形刃5間に斜めに延在し、その一部のサイプ成形刃6Xが図2に示すように、セクター分割位置Xまで延在し、隣接するセクター4のサイプ成形刃6Xと共同して1本のサイプを成形するようになっている。
【0015】
各サイプ成形刃6Xの一方の側面にのみ、セクター分割位置Xに隣接して金属板Pからなる補強部7が固設されている。補強部7は、セクター分割位置Xからサイプ成形刃6Xの幅方向に延び、かつ成形面4aからサイプ成形刃6Xの高さ方向に延在するように設けられている。
【0016】
このようにサイプ成形刃6Xの側面にセクター分割位置Xに隣接して金属板Pからなる補強部7を設けてサイプ成形刃6Xを補強することにより、サイプ成形刃の高さを低くすることなく、金型離型時のサイプ成形刃6Xの変形を抑制することができる。従って、本来あるべきサイプ特性を損なうことなく、また摩耗によるトレッドパターンの外観変化を招くことなく、サイプ成形刃6Xの変形抑制が可能になる。
【0017】
本発明において、上記補強部7の高さhとしては、成形面4aからサイプ成形刃6Xの高さHの1/4〜1/2倍の位置となるようにするのがよい。補強部7の高さhがサイプ成形刃6Xの高さHの1/4倍より低いと、効果的な補強を得ることが難しく、逆に1/2倍を超えると、サイプ特性の低下を招く。
【0018】
サイプ成形刃6Xが延在する方向に沿った補強部7の長さmとしては、セクター分割位置Xからサイプ成形刃6Xの長さMの1/4〜1/2倍の長さとなるようにするのがよい。補強部7の長さmがサイプ成形刃6Xの長さMの1/4倍より短いと、良好な補強効果を得ることが難しく、逆に1/2倍を超えると、サイプ特性上好ましくない。なお、この補強部7の長さm及びサイプ成形刃6Xの長さMは、図示するように厚さ方向の中心を通る中心線O,O’上で測定した長さである。
【0019】
補強部7の厚さtとしては、サイプ特性の観点からサイプ成形刃6Xの厚さT以下とする。下限値としては、補強部7の材質により様々な値を取ることができるが、サイプ成形刃と同じ材質、即ちサイプ成形刃は一般にステンレス鋼で形成されているが、その場合にはサイプ成形刃6Xの厚さTの1/2倍以上にするのが補強効果の点から好ましい。
【0020】
上述した補強部7は、金属板Pに代えて,図3に示すように、サイプ成形刃6Xの一方の側面にのみサイプ成形刃6Xと同じ材料で一体的に板状に厚肉成形した厚肉部10から構成するようにしてもよい。
【0021】
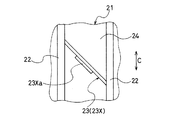
図4に上述したタイヤ金型を使用して製造した空気入りタイヤの要部を示す。トレッド面21にタイヤ周方向Cに沿って延在する複数の周方向溝22が設けられ、この周方向溝22間に形成された陸部24に複数のサイプ23が形成されている。サイプ23は、周方向溝22に連通し、セクター分割位置Xに跨ったサイプ23Xは、その位置に対応するサイプ23Xの中間部に幅広部23Xaが形成された構成になっている。
【0022】
このようなサイプ23Xを有する空気入りタイヤは、上記タイヤ金型をタイヤ加硫機に取り付け、従来と同様にして、グリーンタイヤをタイヤ金型内にセットした後、加圧加熱して加硫することにより得ることができる。
【0023】
本発明は、上記実施形態では、直線状に延在するサイプ成形刃6を有するタイヤ金型の例について説明したが、そのサイプ成形刃の形状はジグザグ状や、曲線状に延在するものであってもよく、またサイプ成形刃6は上述したように溝成形刃5間にわたって延在するものに限定されず、セクター分割位置Xまで延在するサイプ成形刃を有するセクショナル型のタイヤ金型であればいずれにも適用することができる。
【0024】
また、上述した補強部7は、サイプ成形刃6Xの一方の側面にのみセクター分割位置Xに隣接して配置されるが、補強部7の長さmがサイプ成形刃6Xの長さMの1/2倍未満である場合には、補強部7から離間したサイプ成形刃6Xの一方の側面に同様の補助補強部を設けるようにしてもよい。その場合、補助補強部の長さは、補強部7の長さmとの合計の長さがサイプ成形刃6Xの長さMの1/2倍を超えないものとする。
【0025】
【発明の効果】
上述したように本発明は、複数に分割したセクターの成形面にセクター分割位置まで延在するサイプ成形刃を備えたセクショナル型のタイヤ金型において、サイプ成形刃の側面にセクター分割位置に隣接して板状の補強部を設けたので、良好なサイプ特性を維持し、かつ摩耗によるトレッドパターンの外観変化を招くことなく、サイプ成形刃の変形を抑制することができる。
【図面の簡単な説明】
【図1】本発明のタイヤ金型の一例を示す要部縦断面図である。
【図2】セクターの要部拡大図を示し、(a)は環状の側型の内周側からみた拡大図、(b)は(a)の矢視方向から見た拡大図である。
【図3】本発明のタイヤ金型に使用されるセクターの他の例を、補強部を含むサイプ成形刃を横断する断面で示す要部拡大断面図である。
【図4】図1のタイヤ金型を用いて製造した空気入りタイヤの一例を示す要部拡大平面図である。
【符号の説明】
1 上型 2 下型
3 側型 4 セクター
4a 成形面 6,6X サイプ成形刃
7 補強部 10 肉厚部
H サイプ成形刃の高さ M サイプ成形刃の長さ
P 金属板 T サイプ成形刃の厚さ
X セクター分割位置 h 補強部の高さ
m 補強部の長さ t 補強部の厚さ
Claims (6)
- 複数に分割したセクターの成形面にセクター分割位置まで延在するサイプ成形刃を直接設けたセクショナル型のタイヤ金型において、前記サイプ成形刃の一方の側面にのみ前記セクター分割位置に隣接して金属板からなる補強部を設け、該補強部は、セクター分割位置からサイプ成形刃の幅方向に延びる一方、セクターの成形面からサイプ成形刃の高さ方向に延び、かつ厚さが前記サイプ成形刃の厚さ以下であるタイヤ金型。
- 前記補強部を、前記金属板に代えて、前記サイプ成形刃の一方の側面にのみ該サイプ成形刃と同じ材料で一体的に厚肉成形した請求項1に記載のタイヤ金型。
- 前記補強部が前記成形面から前記サイプ成形刃の高さの1/4〜1/2倍の位置まで延在する請求項1または2に記載のタイヤ金型。
- 前記補強部が前記セクター分割位置から前記サイプ成形刃の長さの1/4〜1/2倍の位置まで延在する請求項1,2または3記載のタイヤ金型。
- 前記サイプ成形刃及び補強部がステンレス鋼で形成され、前記補強部の厚さがサイプ成形刃の厚さの1/2倍以上である請求項1,2,3または4に記載のタイヤ金型。
- 請求項1乃至6のいずれか1項に記載のタイヤ金型を用いて空気入りタイヤを製造する空気入りタイヤの製造方法。
Priority Applications (1)
| Application Number | Priority Date | Filing Date | Title |
|---|---|---|---|
| JP2003046730A JP4052386B2 (ja) | 2003-02-25 | 2003-02-25 | タイヤ金型及びそれを用いた空気入りタイヤの製造方法 |
Applications Claiming Priority (1)
| Application Number | Priority Date | Filing Date | Title |
|---|---|---|---|
| JP2003046730A JP4052386B2 (ja) | 2003-02-25 | 2003-02-25 | タイヤ金型及びそれを用いた空気入りタイヤの製造方法 |
Publications (2)
| Publication Number | Publication Date |
|---|---|
| JP2004255620A JP2004255620A (ja) | 2004-09-16 |
| JP4052386B2 true JP4052386B2 (ja) | 2008-02-27 |
Family
ID=33113160
Family Applications (1)
| Application Number | Title | Priority Date | Filing Date |
|---|---|---|---|
| JP2003046730A Expired - Fee Related JP4052386B2 (ja) | 2003-02-25 | 2003-02-25 | タイヤ金型及びそれを用いた空気入りタイヤの製造方法 |
Country Status (1)
| Country | Link |
|---|---|
| JP (1) | JP4052386B2 (ja) |
Cited By (1)
| Publication number | Priority date | Publication date | Assignee | Title |
|---|---|---|---|---|
| US20240294039A1 (en) * | 2023-03-02 | 2024-09-05 | Nokian Renkaat Oyj | Tire and a mould for manufacturing a tire |
Families Citing this family (2)
| Publication number | Priority date | Publication date | Assignee | Title |
|---|---|---|---|---|
| JP4682686B2 (ja) * | 2005-05-11 | 2011-05-11 | 横浜ゴム株式会社 | タイヤモールド |
| JP7257269B2 (ja) * | 2019-06-12 | 2023-04-13 | Toyo Tire株式会社 | タイヤモールド及びタイヤの製造方法 |
-
2003
- 2003-02-25 JP JP2003046730A patent/JP4052386B2/ja not_active Expired - Fee Related
Cited By (1)
| Publication number | Priority date | Publication date | Assignee | Title |
|---|---|---|---|---|
| US20240294039A1 (en) * | 2023-03-02 | 2024-09-05 | Nokian Renkaat Oyj | Tire and a mould for manufacturing a tire |
Also Published As
| Publication number | Publication date |
|---|---|
| JP2004255620A (ja) | 2004-09-16 |
Similar Documents
| Publication | Publication Date | Title |
|---|---|---|
| CN102958685B (zh) | 预定用于硫化轮胎胎面的模具的内衬的薄板 | |
| JP4862684B2 (ja) | タイヤ加硫用成形金型 | |
| JP5115299B2 (ja) | 空気入りタイヤおよびタイヤ成形金型 | |
| CN103189217B (zh) | 具有刀槽花纹的轮胎胎面及用于制造具有刀槽花纹的轮胎胎面的方法 | |
| JP4145337B2 (ja) | 空気入りタイヤ | |
| JP5702433B2 (ja) | タイヤ成型用金型およびタイヤ | |
| JP6826432B2 (ja) | タイヤ加硫金型および空気入りタイヤ | |
| JP4438881B2 (ja) | 空気入りタイヤ及びその製造方法、並びに、タイヤ加硫モールド | |
| JP2005262973A (ja) | 空気入りタイヤ、サイプ形成用ブレード及びそのサイプ形成用ブレードを備えたタイヤ形成用金型 | |
| JP4169571B2 (ja) | タイヤ金型及び空気入りタイヤ | |
| JP2003154527A (ja) | タイヤ加硫金型及びそれを用いて製造したタイヤ | |
| JPH02295706A (ja) | セクショナル型タイヤ成形金型及びその製作方法 | |
| CN109262908B (zh) | 轮胎硫化模具 | |
| JP2005533685A (ja) | ばりを低減するための分割タイヤ金型 | |
| JP5640668B2 (ja) | タイヤ加硫用モールドおよび空気入りタイヤ | |
| JP4052386B2 (ja) | タイヤ金型及びそれを用いた空気入りタイヤの製造方法 | |
| KR20180085302A (ko) | 타이어 가류금형의 커프 성형용 블레이드와 이를 이용한 차량용 타이어 및 타이어 가류장치 | |
| JP4236527B2 (ja) | タイヤ成形用金型及びこのタイヤ成形用金型を用いて成形したタイヤ | |
| CN105829086B (zh) | 用于模制和硫化轮胎胎面的包括切割构件的模制元件 | |
| JP4270374B2 (ja) | 空気入りタイヤ及びタイヤ用モールド | |
| JPH07125506A (ja) | 中空のニューマチック型ソリッドタイヤ及びその製造方法 | |
| JP5860949B2 (ja) | タイヤ成型用金型およびタイヤ | |
| JP7415128B2 (ja) | タイヤ製造用加硫金型及びそれを用いた空気入りタイヤの製造方法 | |
| JP4346466B2 (ja) | タイヤ加硫用金型の製造方法 | |
| JP4759969B2 (ja) | タイヤ加硫用モールド |
Legal Events
| Date | Code | Title | Description |
|---|---|---|---|
| A621 | Written request for application examination |
Free format text: JAPANESE INTERMEDIATE CODE: A621 Effective date: 20051221 |
|
| A977 | Report on retrieval |
Free format text: JAPANESE INTERMEDIATE CODE: A971007 Effective date: 20070821 |
|
| A131 | Notification of reasons for refusal |
Free format text: JAPANESE INTERMEDIATE CODE: A131 Effective date: 20070828 |
|
| A521 | Request for written amendment filed |
Free format text: JAPANESE INTERMEDIATE CODE: A523 Effective date: 20071012 |
|
| TRDD | Decision of grant or rejection written | ||
| A01 | Written decision to grant a patent or to grant a registration (utility model) |
Free format text: JAPANESE INTERMEDIATE CODE: A01 Effective date: 20071120 |
|
| A61 | First payment of annual fees (during grant procedure) |
Free format text: JAPANESE INTERMEDIATE CODE: A61 Effective date: 20071127 |
|
| FPAY | Renewal fee payment (event date is renewal date of database) |
Free format text: PAYMENT UNTIL: 20101214 Year of fee payment: 3 |
|
| R150 | Certificate of patent or registration of utility model |
Free format text: JAPANESE INTERMEDIATE CODE: R150 |
|
| LAPS | Cancellation because of no payment of annual fees |