JP4046840B2 - 肥料散布機 - Google Patents
肥料散布機 Download PDFInfo
- Publication number
- JP4046840B2 JP4046840B2 JP08500398A JP8500398A JP4046840B2 JP 4046840 B2 JP4046840 B2 JP 4046840B2 JP 08500398 A JP08500398 A JP 08500398A JP 8500398 A JP8500398 A JP 8500398A JP 4046840 B2 JP4046840 B2 JP 4046840B2
- Authority
- JP
- Japan
- Prior art keywords
- spraying
- fertilizer
- shutter
- bottom plate
- spinner
- Prior art date
- Legal status (The legal status is an assumption and is not a legal conclusion. Google has not performed a legal analysis and makes no representation as to the accuracy of the status listed.)
- Expired - Fee Related
Links
- 239000003337 fertilizer Substances 0.000 title claims description 92
- 238000005507 spraying Methods 0.000 claims description 69
- 239000007921 spray Substances 0.000 claims description 15
- 210000003608 fece Anatomy 0.000 claims description 2
- 239000010871 livestock manure Substances 0.000 claims description 2
- 239000002420 orchard Substances 0.000 description 10
- 238000010586 diagram Methods 0.000 description 8
- 235000008733 Citrus aurantifolia Nutrition 0.000 description 3
- 235000011941 Tilia x europaea Nutrition 0.000 description 3
- 230000005540 biological transmission Effects 0.000 description 3
- 239000004571 lime Substances 0.000 description 3
- 235000013399 edible fruits Nutrition 0.000 description 2
- 230000004720 fertilization Effects 0.000 description 2
- 230000032258 transport Effects 0.000 description 2
- 239000012141 concentrate Substances 0.000 description 1
- 230000003111 delayed effect Effects 0.000 description 1
- 238000007599 discharging Methods 0.000 description 1
- 230000000694 effects Effects 0.000 description 1
- 238000003912 environmental pollution Methods 0.000 description 1
- 238000012423 maintenance Methods 0.000 description 1
- 239000002184 metal Substances 0.000 description 1
- 230000002093 peripheral effect Effects 0.000 description 1
- 239000000725 suspension Substances 0.000 description 1
- 239000002699 waste material Substances 0.000 description 1
Images
Landscapes
- Fertilizing (AREA)
- Catching Or Destruction (AREA)
- Special Spraying Apparatus (AREA)
Description
【発明の属する技術分野】
本発明は、主として、山間地の果樹園に対する施肥作業に用いる肥料散布機に関する。
【0002】
【従来の技術】
山間地の果樹園においては、その作業条件から農作業の機械化が遅れていたが、近年、SS(スピードスプレーヤ)の普及とともに、そのSSを走行させるためのSS道が山間地にも造成されてきて、この造成されたSS道の利用により他の農業機械の導入が可能となってきたことから、これまで手作業にたよっていた山間地の果樹園の施肥作業も、肥料散布機を用いての機械化・省力化が可能となってきている。
【0003】
この山間の傾斜地に造成されたSS道を利用して導入し得る肥料散布機Aには、肥料散布装置を、トラクタ等の牽引車に連結牽引せしめて走行させながら肥料を散布していく被牽引型のもの、トラックの荷台に肥料散布装置を搭載し、トラックを走行させながら肥料散布装置から肥料を散布していく搭載型のもの、自走して走行する機体に肥料散布装置を組付け装架して機体を自走により走行させながら肥料を散布する自走型のものとがある。
【0004】
そして、これら肥料散布機Aには、図1および図2に示す如く、肥料ホッパー1の底部の繰出穴から繰出される粒状・砂状・粉状の肥料を、回転するスピンナー2の上面に受けて、そのスピンナー2の回転により、遠心力で肥料を機体の後方に機体進行方向に対し略10メートル前後の散布巾で放出し散布する、いわゆるブローとキャスターと呼ばれる形態のものと、図3および図4に示す如く、肥料ホッパー1の下部に設けられた繰出オーガー3の回転により、肥料ホッパー1の底板に開設した繰出穴から肥料が落下し、機体の巾に対応する散布巾で散布されていく、ライムソーワ型と呼ばれる形態のものとがある。
【0005】
【発明が解決しようとする課題】
山間地の果樹園に造成したSS道に肥料散布機Aを走行させてそのSS道から肥料を散布する際、肥料は図5にあるようSS道Wの側方に散布する必要があり、かつ、その散布方向を、谷に向う側とする必要がある。散布方向を山に向う側とすると、散布する肥料が、SS道Wを切り拡いて造成したときに山側に形成された崖の壁面に衝突するようになって、果樹に対する施肥を不能にするからである。
【0006】
使用する肥料散布機Aは、ライムソーワ型のものにあっては、肥料を繰出口から落下させて機体の巾に散布していくことから、肥料をSS道Wにしか散布していけないことになるので、SS道Wを用いて行なう肥料の散布作業には適応しない。
【0007】
また、ブロードキャスタ型のものにあっては、肥料を機体の後方に平面視で扇形状に散布していくことから、これまた、図6にあるように、肥料の大半をSS道Wの上に散布することになり、効率が悪く肥料のムダが発生し、ひいては環境汚染につながる。
【0008】
このブロードキャスタ型の肥料散布機Aは、それの機体に組付け装架する肥料散布装置を、それの散布口からの肥料の散布方向が、機体の側方に向うよう、機体に対して横向きに装架しておいて、散布を行なうようにすれば、SS道Wからの側方散布は可能となる。
【0009】
しかし、このようにすると、機体の進行方向に対し片側のみしか散布できないため、SS道Wが蛇行している場合に、図7および図8にあるように、機体の進行方向が、方角に対して逆転して、散布方向が山の側に向うようになったとき、散布が不能となる。また、SS道Wが一定の方角に連続するように造成されていても、往路と復路とでは、散布方向が、山側と谷側とに変換することから、SS道Wでの往復作業ができない問題がでてくる。
【0010】
本発明は、上述の、SS道を利用してそこに肥料散布機を走行させて山間地の果樹園の果樹に対する肥料の散布作業を行なうようにする際に生じてくる問題を解消せしめるためになされたものであって、肥料ホッパーから繰出される肥料をスピンナーにより遠心力で振り出して散布口から散布するブロードキャスタ型の肥料散布装置を、それの散布口が、機体の進行方向の左右の両側にそれぞれ装備された形態に構成して機体に装架しておくとともに、その左右の散布口からの肥料の散布が、一方の散布口を所望に選択して行なえるようにすることで、図9および図10にあるように蛇行するSS道Wからの側方散布を可能とし、かつ、左右同時にも図11にあるように散布し得るようにしながら、肥料ホッパーからスピンナーに対して繰出される肥料の流れに乱れを生ぜしめないで、左右の片側散布および図11の如く左右同時の両側散布の各態様の切換えが行なえるようにする新たな手段を提供することを目的とする。
【0011】
【課題を解決するための手段】
そして、本発明においては、上述の目的を達成するための手段として、ホッパー底板60に開設した繰出口から繰出される肥料を、そのホッパー底板60の下方に配設せるスピンナー2により振り出し、そのスピンナー2を囲うケーシング5に設けた散布口から吐出せしめて散布する肥料散布装置bを、走行自在とした機体aに装架した肥料散布機Aにおいて、ホッパー底板60には、右側散布用の繰出口63と左側散布用の繰出口64とを、左右に一対に開設し、ホッパー底板60の下面側には、スピンナー2の回転軸S中心に回動する切換シャッター8を設け、それのシャッタープレート8aには、前記ホッパー底板60に設けた左右に一対の繰出口63・64のそれぞれに対応する左右の連通口83・84を、前記回転軸S中心の仮想円弧に沿う長穴状に形成して該シャッタープレート8aの前後の一半側に偏る部位にそれぞれ開設し、かつ、該シャッタープレート8aには、そのプレート8aを回転軸S中心に回動させて、そのプレート8aに設けた左右に一対の連通口83・84の、前記ホッパー底板60に設けた左右の連通口83・84に対する連通状態を順次切換える操作レバー8を設け、前記スピンナー2を囲うケーシング5は平箱状に形成して機体aに組付け支架し、そのケーシング5の左右の両側に右側散布用の散布口50と左側散布用の散布口51とを開設し、それら散布口50・51に開閉作動するシャッター9をそれぞれ設け、それらシャッター9には、各別に開閉させる作動アーム91をそれぞれ設けた肥料散布機において、スピンナーを囲うケーシングの左右の両側にそれぞれ装設する右側散布用の散布口と左側散布用の散布口には、それぞれ開閉自在のシャッターを設け、それらシャッターを、切換シャッターの回動により右側散布の状態とと左側散布の状態とを選択する作動に連動して、選択した散布方向と反対側の散布口のシャッターが閉となるように、切換シャッターと連繋機構を介し連繋したことを特徴とする肥料散布機を提起するものである。
【0012】
【発明の実施の形態】
本発明手段による肥料散布機は、トラクタに連結牽引させる被牽引型または自走して走行する自走型、またはトラックの荷台に搭載する搭載型の各態様に構成する機体に、ブロードキャスタ型の肥料散布装置を、それの肥料ホッパーの繰出口から繰出されてスピンナーにより振り出される肥料の散布口が、機体の進行方向の左右の両側にそれぞれ装備された構成として装架する。
【0013】
そして、肥料ホッパーの底板に開設する肥料の繰出口は、右側散布用の繰出口と左側散布用の繰出口との二つに分け、肥料ホッパーの下方に配設するスピンナーの回転軸の軸心線を基準として左右に一対に対称するように配位してそれぞれ肥料ホッパーの底板に開設するようにする。
【0014】
また、これら左右に一対の繰出口の下面側に配設する切換シャッターは、前述のスピンナーの回転軸を中心として自在に回動する円板状のシャッタープレートに形成して、それに、前記左右に一対の繰出口にそれぞれ対応させる連通口を、該プレートの機体の進行における前半側の部位に、それぞれ該プレートの回動方向に沿う長穴状に開設し、かつ、これに、前記回転軸を中心とする回動作動を行なわす操作レバーを装設し、そのレバーによる回動で、肥料ホッパーの底板の左側に開設してある右側散布用の繰出口が開放し、同時に、前記底板の右側に開設してある左側散布用の繰出口が閉塞して、肥料を右側に散布していく状態と、逆に、肥料ホッパーの底板の右側に開設してある左側散布用の繰出口が開放し、同時に前記底板の左側に開設してある右側散布用の繰出口が閉塞して、肥料を左側に散布していく状態とに、交互に切換わるようにし、さらに、左側散布用の繰出口と右側散布用の繰出口との両者が開放して肥料を左右の両側に散布する状態と、その両者が閉塞して肥料の散布を停止する状態とに、順次切換わっていくようにする。
【0015】
繰出口からの肥料の繰出量の調節は、この切換シャッターの回動量の調節によっても行ない得るが、この切換シャッターと肥料ホッパーの底板との間に、前述の肥料ホッパーの底板に開設した右側散布用の繰出口および左側散布用の繰出口とにそれぞれ重合していく調節口を左右に一対に開設した開度調節板を、前述のスピンナーの回転軸中心に自在に回動するように設けて、この開度調節板を回動操作することにより肥料の繰出量を調節するようにする場合がある。
【0016】
しかして、肥料ホッパーの底板に開設した繰出口の下方に、スピンナーおよびそれを囲うケーシングを装設し、そのケーシングの左右の両側部に、右側散布用の散布口と左側散布用の散布口とをそれぞれ装設する。
【0017】
そして、これら散布口には、それぞれシャッターを開閉自在に装設し、また、散布口から吐出する肥料の吐出方向を上方または下方に誘導するデフレクターを上下の傾斜角度の調節を自在に装設しておくようにする。
【0018】
【実施例】
次に実施例を図面に従い詳述する。なお、図面符号は、従来手段のものと同効の構成部材については同一の符号を用いるものとする。
【0019】
図12は、自走型に構成した本発明による肥料散布機Aの側面図で、同図において、aは自走して走行する機体、bはその機体aに組付け装架したブロードキャスタ型の肥料散布装置を示す。
【0020】
機体aは、エンジンE1の作動により駆動されるクローラcにより走行して、その機体aに設けた荷台dに荷を積載して運搬する運搬車であるが、それの運転操作を、機体aの後方(図において右方)に立って運転者が行なう歩行型に構成してある。機体aは、図13に示しているように、トラックを用い、それの荷台d上に肥料散布装置bを搭載するようにする場合がある。
【0021】
肥料散布装置bは、図14に示している如く、ベースとなる機体フレーム4と、それの上面に組付け装架したエンジンE2およびミッションMの駆動機構とケーシング5およびホッパー6等からなり、それのケーシング5内には、前記ミッションMの上面に直立するよう設けた回転軸Sに図15の如く組付けた円板状のスピンナー2が配設される。
【0022】
ホッパー6は、前記機体フレーム4に設けた組付機枠40にホッパー底板60を支架し、そのホッパー底板60に形成した円形の窪部61内に、漏斗状に形成した該ホッパー6の下端の嵌合部6aを嵌合して止着することで機体フレーム4上に装設してある。
【0023】
ホッパー底板60には、それの窪部61の中央部位に、図19に示している如く透孔62が開口し、ここに前述のミッションMから直立する回転軸Sの上端側が回転自在に嵌合している(図16)。
【0024】
また、円形の窪部61の前記透孔62の左右の両側部位には、二つの肥料の繰出口63・64が左右に対称するように配位して開設される。これら繰出口63・64は、左側に位置する繰出口63が右側散布用で右側に位置する繰出口64が左側散布用となる。
【0025】
図19において、7は前記ホッパー底板60の下面側に配設する開度調節板で、前記ホッパー底板60の下面に重合する円板状に形成してあり、それの中心部位には、前述の回転軸Sに回転自在に嵌合する透孔70が開設され、その透孔70の左右の両側部位には、前記ホッパー底板60に設けた右側散布用の繰出口63および左側散布用の繰出口64に対してそれぞれ重合していく調節口71・72が左右に一対に対称するように開設してある。
【0026】
そして、前述の透孔70をスピンナー2の回転軸Sに嵌合して、周縁部に一体または一体的に装設したレバー73の操作でこの開度調節板7を前記回転軸S中心に所望の角度量回転させることで、前述のホッパー底板60に開設した繰出口63・64の各開度を調節するようになる。
【0027】
図19において、8は、ホッパー底板60に左右に一対に開設した繰出口63・64を、それらのうちの右側散布用の繰出口63だけが開放する状態と左側散布用の繰出口64だけが開放する状態とに切換える切換シャッターで、それの主体部は、前記ホッパー底板60の下面に重合するシャッタープレート8aに形成してあるが、そのシャッタープレート8aは左右の一側が半円状で左右の他側が前端側と後端側とに角状の突起部80・81を具備する形状に形成してある。そして、それの中央部位には、前記回転軸Sに回転自在に嵌合する透孔82が開設され、それの左右の両側には、前記ホッパー底板60に開設した繰出口63・64に対応する連通口83・84が開設されるが、その連通口83・84は、図20に示しているように、シャッタープレート8aの前半側において、それぞれ回転軸Sを中心とする仮想円弧に沿う弧状の長穴に形成してあって、シャッタープレート8aの後半側を盲板にしてある。
【0028】
これにより、シャッタープレート8aの半円状をなす側に設けた操作レバー85の操作により回転軸S中心に所定の角度量回動させることで、図20にあるように、右側散布用の繰出口63を開放して左側散布用の繰出口64を閉塞する右側散布の状態と、図21にあるように左側散布用の繰出口64を開放して右側散布用の繰出口63を閉塞する左側散布の状態と、図22にあるように右側散布用の繰出口63と左側散布用の繰出口64との両方を開放して左右両側に散布する状態とに切換わるようにしてある。
【0029】
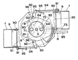
スピンナー2を収蔵するケーシング5は、平箱状に形成してあって、それの左右の両端部に、スピンナー2から振り出される肥料を吐出せしめる散布口50・51を具備するが、図23にあるように、右側の散布口50を具備する右半側5aと左側の散布口51を具備する左半側5bとに2分してあって、それらを突き合わせて、係合穴52と係止片53とからなる係止金具54と、係合鐶55とそれに係合するフック56とそのフック56をレバー57の死点越えする回動により緊締位置に動かす緊締錠58とによって、一体的に連結するようにしてある。
【0030】
そして、このケーシング5は、上述の右半側5aおよび左半側5bの各上面にそれぞれ設けた吊金具59a・59bを、前述のホッパー底板60のフランジ部60a・60bの下面側に、ボルト等により組付けることで、機体フレーム4に対し着脱自在に装架せしめてあって、これにより、前述の係止金具54と緊締錠58との係合を解放して、吊金具59a・59bによる係着を外すことで、取り外されてスピンナー2が図18にあるようにそっくり露出する状態となり、このスピンナー2のメンテナンスが楽に行なえるようにしてある。
【0031】
図23において、9・9は、前記ケーシング5の右側散布用の散布口50および左側散布用の散布口51のそれぞれに設けるシャッターで、上縁側に一体的に連結した支点軸90・90中心に自在に回動して散布口50・51を開閉するようにケーシング5に軸支してある。
【0032】
そして、これらシャッター9・9のそれぞれの支点軸90・90には、それらの一端側にそれらを回転させる作動アーム91・91が設けられ、それらにケーシング5の上面の前部および後部にそれぞれ支軸92・92中心として左右に自在に回動するよう軸支した回動アーム93・93がロッド94・94を介し連繋してあって、その回動アーム93・93の回動作動で支点軸90・90が回転することにより、これらシャッター9・9が開閉するようにしてあり、かつ、回動アーム93・93に連繋するバネ95・95の付勢により、常態において開放位置を占めるようにしてある。
【0033】
96・96は、前記回動アーム93・93にそれぞれ形成したカム部で、前述の切換シャッター8を回動させたときに、それの左右の一側の前後に設けた角状の突起部80・81に軸支しておくローラーR・Rと衝合して、これら回動アーム93・93を回動させるよう作用する。
【0034】
即ち、切換シャッター8を平面視において時計回わりに回動させて左側散布用の繰出口64を開放させると、前方の角状の突起部80に設けたローラーRが図21にあるように、前方の回動アーム93のカム部96に衝合してその回動アーム93を回動させて、右側散布用の散布口50に設けたシャッター9を閉塞させるようになり、また、逆に、切換シャッター8を反時計回わりに回転させて、図20にあるように右側散布用の繰出口63を開放させると、後方の角状の突起部81に設けたローラーRが、後方の回動アーム93のカム部96に衝合してその回動アーム93を回動させ左側散布用の散布口51に設けたシャッター9を閉塞させるようになって、肥料を左右の片側に散布していくときに、ケーシング5内に落下してくる肥料が、散布方向と反対側の散布口から外部に飛散するのを防止するようになる。
【0035】
図23において、f・fは、ケーシング5の左右の散布口50・51に装設するデフレクタで、上下に回動自在にケーシング5に軸着連結し、かつ、長穴とそれに挿通して締着するボルトにより、上下方向の傾斜角度が自在に調節されるようにしてある。
【0036】
【発明の効果】
以上説明したように、本発明による肥料散布機は、切換シャッターの操作により、ホッパー底板に左右に一対に設けた繰出口を選択切換えることで、ホッパーからスピンナーに対して繰出される肥料の流れに乱れを生ぜしめることなく、ケーシンクの左右に設けた右側散布用の散布口と左側散布用の散布口とを、所望に選択してして肥料の散布方向を切換えることができるので、山間地の傾斜果樹園に適した肥料散布ができる。
【0037】
また、ケーシングに設けた左右の散布口には、切換シャッターの切換作動に連動したシャッターを設けているたことにより、散布方向を指定する切換シャッターの作動で散布方向を右または左に切換え操作するだけで反対側散布口からの肥料もれが防止されるようになるので散布作業に集中できる。
【0038】
また、切換シャッターの作動で、左右の散布口からの同時散布も可能となるので、平地の果樹園では2倍の作業能率で作業することができるようになる。
【図面の簡単な説明】
【図1】ブロードキャスタ型の肥料散布機の平面視における説明図である。
【図2】同上肥料散布機の側面視における説明図である。
【図3】ライムソーワ型の肥料散布機の平面視における説明図である。
【図4】同上の側面視における説明図である。
【図5】山間地の果樹園に要求される肥料の散布状態の説明図である。
【図6】山間地の果樹園に造成されたSS道におけるブロードキャスタ型の肥料散布機の散布状態の説明図である。
【図7】山間地の果樹園に蛇行状に造成されたSS道における側方散布形態としたブロードキャスタ型の肥料散布機の散布状態の説明図である。
【図8】同上状態の正面視における説明図である。
【図9】本発明手段による肥料散布機による散布状態の説明図である。
【図10】同上肥料散布機の正面視における散布状態の説明図である。
【図11】同上肥料散布機の両側散布状態の説明図である。
【図12】本発明による肥料散布機の搭載型の実施例の側面図である。
【図13】同上の別の実施例の側面図である。
【図14】同上実施例の肥料散布装置の一部省略した斜視図である。
【図15】同上装置のスピンナー部の斜視図である。
【図16】同上装置の要部の縦断面図である。
【図17】同上装置の要部の平面図である。
【図18】同上装置の要部のケーシングを取外した状態の正面図である。
【図19】同上装置のホッパー底板および開度調節板ならびに切換シャッターの斜視図である。
【図20】同上装置の切換シャッターを右側散布に切換えた状態の説明図である。
【図21】同上装置の切換シャッターを左側散布に切換えた状態の説明図である。
【図22】同上装置の切換シャッターを両側散布に切換えた状態の説明図である。
【図23】同上装置のケーシングの分解斜視図である。
【符号の説明】
A…肥料散布機、E1・E2…エンジン、M…ミッション、R…ローラー、S…回転軸、W…SS道、a…機体、b…肥料散布装置、c…クローラ、d…荷台、f…デフレクタ、1…肥料ホッパー、2…スピンナー、3…繰出オーガー、4…機体フレーム、40…組付機枠、5…ケーシング、5a…右半側、5b…左半側、50・51…散布口、52…係合穴、53…係止片、54…係止金具、55…係合鐶、56…フック、57…レバー、58…緊締状、59a・59b…吊金具、6…ホッパー、6a…嵌合部、60…ホッパー底板、60a・60b…フランジ部、61…窪部、62…透孔、63・64…繰出口、7…開度調節板、70…透孔、71・72…調節口、73…レバー、8…切換シャッター、8a…シャッタープレート、80・81…突起部、82…透孔、83・84…連通口、85…操作レバー、9…シャッター、90…支点軸、91…作動アーム、92…支軸、93…回動アーム、94…ロッド、95…バネ、96…カム部。
Claims (1)
- ホッパー底板60に開設した繰出口から繰出される肥料を、そのホッパー底板60の下方に配設せるスピンナー2により振り出し、そのスピンナー2を囲うケーシング5に設けた散布口から吐出せしめて散布する肥料散布装置bを、走行自在とした機体aに装架した肥料散布機Aにおいて、ホッパー底板60には、右側散布用の繰出口63と左側散布用の繰出口64とを、左右に一対に開設し、ホッパー底板60の下面側には、スピンナー2の回転軸S中心に回動する切換シャッター8を設け、それのシャッタープレート8aには、前記ホッパー底板60に設けた左右に一対の繰出口63・64のそれぞれに対応する左右の連通口83・84を、前記回転軸S中心の仮想円弧に沿う長穴状に形成して該シャッタープレート8aの前後の一半側に偏る部位にそれぞれ開設し、かつ、該シャッタープレート8aには、そのプレート8aを回転軸S中心に回動させて、そのプレート8aに設けた左右に一対の連通口83・84の、前記ホッパー底板60に設けた左右の連通口83・84に対する連通状態を順次切換える操作レバー8を設け、前記スピンナー2を囲うケーシング5は平箱状に形成して機体aに組付け支架し、そのケーシング5の左右の両側に右側散布用の散布口50と左側散布用の散布口51とを開設し、それら散布口50・51に開閉作動するシャッター9をそれぞれ設け、それらシャッター9には、各別に開閉させる作動アーム91をそれぞれ設けた肥料散布機において、スピンナーを囲うケーシングの左右の両側にそれぞれ装設する右側散布用の散布口と左側散布用の散布口には、それぞれ開閉自在のシャッターを設け、それらシャッターを、切換シャッターの回動により右側散布の状態とと左側散布の状態とを選択する作動に連動して、選択した散布方向と反対側の散布口のシャッターが閉となるように、切換シャッターと連繋機構を介し連繋したことを特徴とする肥料散布機。
Priority Applications (1)
| Application Number | Priority Date | Filing Date | Title |
|---|---|---|---|
| JP08500398A JP4046840B2 (ja) | 1998-03-16 | 1998-03-16 | 肥料散布機 |
Applications Claiming Priority (1)
| Application Number | Priority Date | Filing Date | Title |
|---|---|---|---|
| JP08500398A JP4046840B2 (ja) | 1998-03-16 | 1998-03-16 | 肥料散布機 |
Publications (2)
| Publication Number | Publication Date |
|---|---|
| JPH11262309A JPH11262309A (ja) | 1999-09-28 |
| JP4046840B2 true JP4046840B2 (ja) | 2008-02-13 |
Family
ID=13846532
Family Applications (1)
| Application Number | Title | Priority Date | Filing Date |
|---|---|---|---|
| JP08500398A Expired - Fee Related JP4046840B2 (ja) | 1998-03-16 | 1998-03-16 | 肥料散布機 |
Country Status (1)
| Country | Link |
|---|---|
| JP (1) | JP4046840B2 (ja) |
Families Citing this family (6)
| Publication number | Priority date | Publication date | Assignee | Title |
|---|---|---|---|---|
| JP5620237B2 (ja) * | 2010-11-19 | 2014-11-05 | 株式会社ササキコーポレーション | 肥料散布装置 |
| CN107233841B (zh) * | 2017-06-16 | 2023-09-05 | 江苏正昌粮机股份有限公司 | 混合机开门机构 |
| KR102045418B1 (ko) * | 2017-11-15 | 2019-11-15 | 김창곤 | 살포방향 조절장치가 구비된 비료살포기 |
| KR102147867B1 (ko) * | 2018-07-10 | 2020-08-25 | 김창곤 | 토출량 조절장치가 구비된 비료살포기 |
| CN110537405A (zh) * | 2019-08-15 | 2019-12-06 | 贵州大学 | 一种具有土壤改良功能的马尾松幼苗施肥装置及方法 |
| CN112005675B (zh) * | 2020-08-04 | 2022-11-15 | 安徽惠泽农业科技有限公司 | 一种农业用土壤施肥装置 |
-
1998
- 1998-03-16 JP JP08500398A patent/JP4046840B2/ja not_active Expired - Fee Related
Also Published As
| Publication number | Publication date |
|---|---|
| JPH11262309A (ja) | 1999-09-28 |
Similar Documents
| Publication | Publication Date | Title |
|---|---|---|
| US6616074B2 (en) | Broadcast spreader with movable deflector | |
| US7063280B1 (en) | Broadcast spreader with a directional control assembly | |
| US20070243017A1 (en) | Road finisher | |
| US8074904B1 (en) | Broadcast spreader with a directional control assembly | |
| US6786435B2 (en) | Twin discharge conveyor for a truck mounted spreader system | |
| US6945481B2 (en) | Dual mode spreader | |
| AU2002311910A1 (en) | Broadcast spreader with movable deflector | |
| CA2369558C (en) | Spreader shield | |
| JP4046840B2 (ja) | 肥料散布機 | |
| US5370321A (en) | Deflecting guard for a broadcast spreader | |
| KR101283527B1 (ko) | 비료살포기 | |
| US6464426B1 (en) | Vehicle dispensing system | |
| US4022386A (en) | Material spreader for trucks | |
| KR100296841B1 (ko) | 제설제살포장치 | |
| KR20090011527A (ko) | 더블호퍼비료살포기 | |
| KR100650527B1 (ko) | 송풍식 입제 변량 살포기 | |
| KR19980059501U (ko) | 비료살포기의 살포방향 조절장치 | |
| JP4153762B2 (ja) | 粉粒体散布装置と、それを搭載した粉粒体散布車 | |
| KR200178043Y1 (ko) | 퇴비 살포 장치 | |
| KR102533071B1 (ko) | 염화물살포기 스프레더 반경 매칭을 통한 제설제 살포존 정밀 조정 장치 | |
| JP3579201B2 (ja) | 肥料散布装置 | |
| JP3417294B2 (ja) | 轍部散布装置 | |
| JP3543472B2 (ja) | 田植機装備用の薬剤散布装置 | |
| KR960002935B1 (ko) | 농업용 다목적 농기계 장치 | |
| JP2002345315A (ja) | 肥料散布機 |
Legal Events
| Date | Code | Title | Description |
|---|---|---|---|
| A621 | Written request for application examination |
Free format text: JAPANESE INTERMEDIATE CODE: A621 Effective date: 20050126 |
|
| A977 | Report on retrieval |
Free format text: JAPANESE INTERMEDIATE CODE: A971007 Effective date: 20061027 |
|
| A131 | Notification of reasons for refusal |
Free format text: JAPANESE INTERMEDIATE CODE: A131 Effective date: 20061114 |
|
| A521 | Written amendment |
Free format text: JAPANESE INTERMEDIATE CODE: A523 Effective date: 20070111 |
|
| A131 | Notification of reasons for refusal |
Free format text: JAPANESE INTERMEDIATE CODE: A131 Effective date: 20070417 |
|
| A521 | Written amendment |
Free format text: JAPANESE INTERMEDIATE CODE: A523 Effective date: 20070613 |
|
| A02 | Decision of refusal |
Free format text: JAPANESE INTERMEDIATE CODE: A02 Effective date: 20070814 |
|
| A521 | Written amendment |
Free format text: JAPANESE INTERMEDIATE CODE: A523 Effective date: 20070831 |
|
| A911 | Transfer of reconsideration by examiner before appeal (zenchi) |
Free format text: JAPANESE INTERMEDIATE CODE: A911 Effective date: 20071005 |
|
| TRDD | Decision of grant or rejection written | ||
| A01 | Written decision to grant a patent or to grant a registration (utility model) |
Free format text: JAPANESE INTERMEDIATE CODE: A01 Effective date: 20071030 |
|
| A61 | First payment of annual fees (during grant procedure) |
Free format text: JAPANESE INTERMEDIATE CODE: A61 Effective date: 20071121 |
|
| FPAY | Renewal fee payment (event date is renewal date of database) |
Free format text: PAYMENT UNTIL: 20101130 Year of fee payment: 3 |
|
| R150 | Certificate of patent or registration of utility model |
Free format text: JAPANESE INTERMEDIATE CODE: R150 |
|
| FPAY | Renewal fee payment (event date is renewal date of database) |
Free format text: PAYMENT UNTIL: 20111130 Year of fee payment: 4 |
|
| FPAY | Renewal fee payment (event date is renewal date of database) |
Free format text: PAYMENT UNTIL: 20111130 Year of fee payment: 4 |
|
| FPAY | Renewal fee payment (event date is renewal date of database) |
Free format text: PAYMENT UNTIL: 20121130 Year of fee payment: 5 |
|
| FPAY | Renewal fee payment (event date is renewal date of database) |
Free format text: PAYMENT UNTIL: 20131130 Year of fee payment: 6 |
|
| LAPS | Cancellation because of no payment of annual fees |