JP4040744B2 - 椅子の座板の取付構造 - Google Patents
椅子の座板の取付構造 Download PDFInfo
- Publication number
- JP4040744B2 JP4040744B2 JP07871098A JP7871098A JP4040744B2 JP 4040744 B2 JP4040744 B2 JP 4040744B2 JP 07871098 A JP07871098 A JP 07871098A JP 7871098 A JP7871098 A JP 7871098A JP 4040744 B2 JP4040744 B2 JP 4040744B2
- Authority
- JP
- Japan
- Prior art keywords
- shell
- seat
- screw
- seat plate
- chair
- Prior art date
- Legal status (The legal status is an assumption and is not a legal conclusion. Google has not performed a legal analysis and makes no representation as to the accuracy of the status listed.)
- Expired - Fee Related
Links
- 230000037431 insertion Effects 0.000 claims description 6
- 238000003780 insertion Methods 0.000 claims description 6
- 239000000463 material Substances 0.000 claims description 6
- 238000000071 blow moulding Methods 0.000 description 5
- 238000004519 manufacturing process Methods 0.000 description 3
- 230000000694 effects Effects 0.000 description 2
- -1 polyethylene Polymers 0.000 description 2
- 239000004698 Polyethylene Substances 0.000 description 1
- 239000004743 Polypropylene Substances 0.000 description 1
- 238000006073 displacement reaction Methods 0.000 description 1
- 239000002184 metal Substances 0.000 description 1
- 230000002093 peripheral effect Effects 0.000 description 1
- 229920000573 polyethylene Polymers 0.000 description 1
- 229920001155 polypropylene Polymers 0.000 description 1
- 239000011347 resin Substances 0.000 description 1
- 229920005989 resin Polymers 0.000 description 1
Images
Landscapes
- Chair Legs, Seat Parts, And Backrests (AREA)
- Chairs Characterized By Structure (AREA)
Description
【発明の属する技術分野】
本発明は、ブロー成形によって形成されたシェルの座部に、クッション体を含む座板を取り付ける椅子の構造に関する。
【0002】
【従来の技術】
従来の椅子の構造の代表的なものとして、実開平4-86446号公報記載の椅子が公知である。同公報に記載の椅子は、中空成形されたシェルが用いられ、シェルによって椅子の背もたれ部と座部とが一体化されている。シェルの座部には、クッション体を有する座板が、シェルに穿設された止め穴を利用して、金属製の止め具によって取り付けられている。
【0003】
【発明が解決しようとする課題】
しかし、上記実開平4-86446号公報記載の椅子の場合、クッション体に、水平方向に力がかかると、クッション体がシェルからはずれやすく、また、シェルが歪みやすいという問題がある。
【0004】
また、シェルの上面のみにクッション体取付用の穴を穿設しているために、留め具等の部品を、この穴からシェルの内部に落としてしまう虞もあり、椅子の製造組立時に手間がかかるという問題もある。
【0005】
本発明は、従来の技術が有する上述のような問題点に鑑みてなされたもので、ブロー成形によって、背もたれ部と座部とが一体化されたシェルを有する椅子において、シェルの強度を向上させるとともに、クッション体がシェルの座部からはずれにくく、使い勝手のよい椅子の座板の取付構造を提供することを目的とする。
【0006】
【課題を解決するための手段】
本発明は、次のようにして上記課題を解決している。
(1) 上部シェルと下部シェルとからなる座部を有するシェルをブロー成形し、このシェルの座部に、クッション体及び表皮材を有する座板を取り付けてなる椅子において、前記シェルの座部を複数箇所で、当該箇所の上部シェル及び下部シェルを下方及び上方に向けて互いに凹入させることによって、両者を当接又は一体化させて、ねじ挿通孔を有するねじ取付部を形成し、前記座板における前記シェルのねじ取付部と対応する箇所に、下向きのねじ受け部を突設し、このねじ受け部をねじ取付部に嵌合させた状態で、前記シェルの座部下方から取付ねじをねじ取付部のねじ挿通孔に挿通してねじ受け部に螺合させることにより、前記座板を前記シェルの座部に取り付ける。
【0007】
(2) 上記(1) 項において、座板に位置決め用突起を形成するとともに、シェルに、前記位置決め用突起が嵌合する凹部を形成する。
【0008】
【発明の実施の形態】
次に、本発明の実施の形態を、添付図面を参照しながら説明する。
【0009】
図1は、本実施形態の取付構造が適用された椅子の分解斜視図である。この椅子は、シェル(10)と、シェル(10)の上面に取り付けられる座板(12)等とをもって構成されている。
【0010】
シェル(10)は、座部(14)と背もたれ部(16)とからなり、これらの座部(14)及び背もたれ部(16)は、ポリエチレン、ポリプロピレン等の樹脂をブロー成形することによって、一体的に形成されている。シェル(10)の座部(14)には、表面にクッション体(18)及び表皮材(20)を具備する座板(12)が、4本の取付ねじ(22)によって、後述する方法で取り付けられる。
【0011】
図2は、シェル(10)の平面図である。シェル(10)の外周部に沿った適所には、座板(12)をシェル(10)に取り付けるためのねじ取付部(24)が、後述する要領で合計4箇所形成されている。
【0012】
図3は、図2のIII-III線に沿った断面図である。シェル(10)の座部(14)は、ブロー成形によって一体的に形成された上部シェル(14a)及び下部シェル(14b)からなっている。ねじ取付部(24)は、上部シェル(14a)及び下部シェル(14b)の前記4箇所の部分を、ブロー成形時に、それぞれ下方及び上方に凹入成形して、この凹入成形された部分同士を、互いに圧接又は一体化することによって形成されている。これらのねじ取付部(24)には、図1で示した取付ねじ(22)用のねじ挿通孔(24a)が穿設されている。
【0013】
図4は、座板(12)の平面図、図5は、図4のV-V線に沿った断面図である。図4及び図5に示すように、座板(12)には、ほぼ中央後寄りの部分に平面視十字形の位置決め用突起(26)が突設されている。一方、座部(14)の上面の位置決め用突起(26)と対応する位置には、凹部(28)が形成されている。
【0014】
このため、組み立ての際に、位置決め用突起(26)を、図1に示す座部(14)に形成された凹部(28)に嵌合させながら、座板(12)をシェル(10)に載置することによって、座板(12)はシェル(10)に対して位置決めされ、椅子の組み立てを容易に行うことができる。
【0015】
図4及び図5に示すように、座板(12)の下面には、取付ねじ(22)が螺合するねじ受け部(30)が、4箇所突設されている。これらのねじ受け部(30)は、図3に示すねじ取付部(24)と嵌合して、シェル(10)の座部(14)の下方から取付部(24)に挿通された取付ねじ(22)によってねじ止めされるようになっている。
【0016】
次に、本実施形態の座板の取付構造を適用した椅子の組立順序について説明する。
【0017】
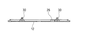
図6は、組み立てられた状態の椅子を示す側断面図である。まず、予め、座板(12)に、クッション体(18)及び表装材(20)を取り付ける。
【0018】
次いで、座板(12)のねじ受け部(30)をシェル(10)のねじ取付部(24)に嵌合させながら、シェル(10)に載置する。このとき、位置決め用突起(26)がシェル(10)の凹部(28)に嵌合するため、座板(12)のシェル(10)に対する前後左右の位置決めは容易に行われる。
【0019】
この状態で、シェル(10)の各ねじ取付部(24)の下方から、ねじ(22)を挿通してねじ受け部(30)に螺合させ、シェル(10)に座板(12)を固定する。そして、脚部(32)にシェル(10)を、ボルト及びナット(34)を溶接した取付金具によって取り付ける。その結果、座板(12)は、図6に示すように取り付けられる。
【0020】
このように、本実施形態によれば、シェル(10)の上部シェル(14a)及び下部シェル(14b)を、互いに凹入成形することにより、両者を圧接若しくは一体化させて、ねじ取付部(24)を形成し、このねじ取付部(24)からねじ(22)を挿通して、ねじ受け部(30)に螺合させることによって、座板(12)を固定している。このため、従来の椅子の問題点であるクッション体(18)の横ずれ、取付金具のシェル(10)内部への落下等を防止することができ、座板(12)を確実にシェル(10)に固定することが可能となる。
【0021】
また、シェル(10)を凹入成形しているので、シェル(10)の肉厚を厚くすることなく、シェル(10)の強度及び剛性を向上させることができる。そのため、シェル(10)の製造に必要な材料を減らすことができ、椅子の製造コストを低減することが可能となる。
【0022】
本実施形態では、座部(14)と背もたれ部(16)とが一体成形された椅子に、本発明の取付構造を適用した場合について説明したが、本発明は、これに限らず、座部(14)と背もたれ部(16)とが分離されている椅子、或いは、座部(14)のみを有する椅子にも適用可能である。
【0023】
【発明の効果】
本発明によれば、次のような効果を奏することができる。
(a) 請求項1の発明によると、シェルの強度及び剛性を向上させることができるので、耐久性の高い椅子を提供できる。
【0024】
(b) 請求項2の発明によると、座板に位置決め用突起を形成し、シェルに形成した凹部に、この位置決め用突起を嵌合させた状態で、シェルに座板を取り付けるようにしているため、組立時に、座板のシェルに対する位置決めを容易に行うことができ、椅子の組立作業が容易となる。
【図面の簡単な説明】
【図1】 本発明の取付構造が適用された椅子の要部を示す分解斜視図である。
【図2】 本実施形態の椅子に使用されるシェルの平面図である。
【図3】 図2のIII−III線に沿った断面図である。
【図4】 本実施形態の椅子の座板の平面図である。
【図5】 図4のV−V線に沿った断面図である。
【図6】 本実施形態の取付構造により、組み立てられた椅子を示す側断面図である。
【符号の説明】
(10)シェル
(12)座板
(14)座部
(16)背もたれ部
(18)クッション体
(20)表皮材
(22)ねじ
(24)ねじ取付部
(24a)ねじ挿通孔
(26)位置決め用突起
(28)凹部
(30)ねじ受け部
(32)脚部
(34)ボルト及びナット
Claims (2)
- 上部シェルと下部シェルとからなる座部を有するシェルをブロー成形し、このシェルの座部に、クッション体及び表皮材を有する座板を取り付けてなる椅子において、
前記シェルの座部を複数箇所で、当該箇所の上部シェル及び下部シェルを下方及び上方に向けて互いに凹入させることによって、両者を当接又は一体化させて、ねじ挿通孔を有するねじ取付部を形成し、前記座板における前記シェルのねじ取付部と対応する箇所に、下向きのねじ受け部を突設し、このねじ受け部をねじ取付部に嵌合させた状態で、前記シェルの座部下方から取付ねじをねじ取付部のねじ挿通孔に挿通してねじ受け部に螺合させることにより、前記座板を前記シェルの座部に取り付けてなることを特徴とする椅子の座板の取付構造。 - 座板に位置決め用突起を形成するとともに、シェルに、前記位置決め用突起が嵌合する凹部を形成してなることを特徴とする請求項1記載の椅子の座板の取付構造。
Priority Applications (1)
| Application Number | Priority Date | Filing Date | Title |
|---|---|---|---|
| JP07871098A JP4040744B2 (ja) | 1998-03-26 | 1998-03-26 | 椅子の座板の取付構造 |
Applications Claiming Priority (1)
| Application Number | Priority Date | Filing Date | Title |
|---|---|---|---|
| JP07871098A JP4040744B2 (ja) | 1998-03-26 | 1998-03-26 | 椅子の座板の取付構造 |
Publications (2)
| Publication Number | Publication Date |
|---|---|
| JPH11266957A JPH11266957A (ja) | 1999-10-05 |
| JP4040744B2 true JP4040744B2 (ja) | 2008-01-30 |
Family
ID=13669434
Family Applications (1)
| Application Number | Title | Priority Date | Filing Date |
|---|---|---|---|
| JP07871098A Expired - Fee Related JP4040744B2 (ja) | 1998-03-26 | 1998-03-26 | 椅子の座板の取付構造 |
Country Status (1)
| Country | Link |
|---|---|
| JP (1) | JP4040744B2 (ja) |
Families Citing this family (2)
| Publication number | Priority date | Publication date | Assignee | Title |
|---|---|---|---|---|
| JP5263802B2 (ja) | 2006-03-28 | 2013-08-14 | コクヨ株式会社 | 椅子 |
| JP2018057643A (ja) * | 2016-10-06 | 2018-04-12 | コクヨ株式会社 | 椅子 |
-
1998
- 1998-03-26 JP JP07871098A patent/JP4040744B2/ja not_active Expired - Fee Related
Also Published As
| Publication number | Publication date |
|---|---|
| JPH11266957A (ja) | 1999-10-05 |
Similar Documents
| Publication | Publication Date | Title |
|---|---|---|
| US7651162B2 (en) | Customizable saddle structure, particularly for bicycles, having a removable seat element | |
| US20170368971A1 (en) | Vehicle seat | |
| JP4040744B2 (ja) | 椅子の座板の取付構造 | |
| WO1997041758A1 (en) | Device having legs and a horizontal plate | |
| JP2006271622A (ja) | 椅子 | |
| JPS61161033U (ja) | ||
| JP2006271623A (ja) | 椅子 | |
| JP4427178B2 (ja) | 椅子における背板の取付構造 | |
| JP4119226B2 (ja) | 椅子における背凭れ等の取付構造 | |
| JP4261277B2 (ja) | 椅子における肘掛け取付構造 | |
| JP2012201349A (ja) | 鞍乗り型車両の風防装置とその取付方法 | |
| JP3343772B2 (ja) | 椅子の座部 | |
| JPH07246129A (ja) | 椅子の肘当取付装置 | |
| JPH0722122Y2 (ja) | 椅子の組立機構 | |
| JPH08910Y2 (ja) | バックフレームの取付構造 | |
| JPH1033300A (ja) | 椅子の背杆カバー装置 | |
| JP3303252B2 (ja) | 椅子の背凭れ板取付装置 | |
| EP1645496B1 (en) | Securing device for the pillion passenger of a motorbike | |
| JPH0626194Y2 (ja) | 椅 子 | |
| JP3127479B2 (ja) | 自動二輪車の同乗者用シート | |
| JP4114823B2 (ja) | 椅子における座板の取付構造 | |
| JPH0518999Y2 (ja) | ||
| JP3711506B2 (ja) | 椅子における座部の取付構造 | |
| JP2559094Y2 (ja) | フットレスト | |
| JP6226700B2 (ja) | 椅子 |
Legal Events
| Date | Code | Title | Description |
|---|---|---|---|
| A621 | Written request for application examination |
Free format text: JAPANESE INTERMEDIATE CODE: A621 Effective date: 20040927 |
|
| A977 | Report on retrieval |
Free format text: JAPANESE INTERMEDIATE CODE: A971007 Effective date: 20070507 |
|
| A131 | Notification of reasons for refusal |
Free format text: JAPANESE INTERMEDIATE CODE: A131 Effective date: 20070522 |
|
| A521 | Written amendment |
Free format text: JAPANESE INTERMEDIATE CODE: A523 Effective date: 20070723 |
|
| TRDD | Decision of grant or rejection written | ||
| A01 | Written decision to grant a patent or to grant a registration (utility model) |
Free format text: JAPANESE INTERMEDIATE CODE: A01 Effective date: 20071106 |
|
| A61 | First payment of annual fees (during grant procedure) |
Free format text: JAPANESE INTERMEDIATE CODE: A61 Effective date: 20071108 |
|
| FPAY | Renewal fee payment (event date is renewal date of database) |
Free format text: PAYMENT UNTIL: 20101116 Year of fee payment: 3 |
|
| R150 | Certificate of patent or registration of utility model |
Free format text: JAPANESE INTERMEDIATE CODE: R150 |
|
| FPAY | Renewal fee payment (event date is renewal date of database) |
Free format text: PAYMENT UNTIL: 20111116 Year of fee payment: 4 |
|
| FPAY | Renewal fee payment (event date is renewal date of database) |
Free format text: PAYMENT UNTIL: 20121116 Year of fee payment: 5 |
|
| FPAY | Renewal fee payment (event date is renewal date of database) |
Free format text: PAYMENT UNTIL: 20121116 Year of fee payment: 5 |
|
| FPAY | Renewal fee payment (event date is renewal date of database) |
Free format text: PAYMENT UNTIL: 20131116 Year of fee payment: 6 |
|
| R250 | Receipt of annual fees |
Free format text: JAPANESE INTERMEDIATE CODE: R250 |
|
| R250 | Receipt of annual fees |
Free format text: JAPANESE INTERMEDIATE CODE: R250 |
|
| R250 | Receipt of annual fees |
Free format text: JAPANESE INTERMEDIATE CODE: R250 |
|
| LAPS | Cancellation because of no payment of annual fees |