JP4040727B2 - ファンコイルユニットの温湿度制御装置 - Google Patents
ファンコイルユニットの温湿度制御装置 Download PDFInfo
- Publication number
- JP4040727B2 JP4040727B2 JP28960297A JP28960297A JP4040727B2 JP 4040727 B2 JP4040727 B2 JP 4040727B2 JP 28960297 A JP28960297 A JP 28960297A JP 28960297 A JP28960297 A JP 28960297A JP 4040727 B2 JP4040727 B2 JP 4040727B2
- Authority
- JP
- Japan
- Prior art keywords
- temperature
- humidity
- air volume
- sensor unit
- blower
- Prior art date
- Legal status (The legal status is an assumption and is not a legal conclusion. Google has not performed a legal analysis and makes no representation as to the accuracy of the status listed.)
- Expired - Lifetime
Links
- 238000001816 cooling Methods 0.000 claims description 4
- XLYOFNOQVPJJNP-UHFFFAOYSA-N water Substances O XLYOFNOQVPJJNP-UHFFFAOYSA-N 0.000 claims description 4
- 238000007664 blowing Methods 0.000 claims description 2
- 238000007791 dehumidification Methods 0.000 description 8
- 238000010586 diagram Methods 0.000 description 5
- 238000001514 detection method Methods 0.000 description 4
- 238000004378 air conditioning Methods 0.000 description 2
- 230000007423 decrease Effects 0.000 description 2
- 230000003247 decreasing effect Effects 0.000 description 2
- 230000000694 effects Effects 0.000 description 2
- 238000000034 method Methods 0.000 description 2
- 238000013459 approach Methods 0.000 description 1
- 230000005484 gravity Effects 0.000 description 1
- 238000010438 heat treatment Methods 0.000 description 1
Images
Landscapes
- Air Conditioning Control Device (AREA)
Description
【発明の属する技術分野】
本発明は、ファンコイルユニットの温湿度制御装置に関する。
【0002】
【従来の技術】
従来のファンコイルユニットの制御は、送風機を風量が一定の状態で運転させ、室内の温度のみを検知し、図5に示すように、室内の温度が設定温度範囲T1〜T2から外れると、熱交換器への熱源水の通水をバルブのオン・オフで対応しているものや、図示しないが、室内の温度のみを検知し、この温度が設定温度範囲から外れると、送風機の風量をオン・オフするもの等が知られている。
【0003】
【発明が解決しようとする課題】
前記した従来のファンコイルユニットの制御では、いずれも室内の温度の制御はできるが、湿度の制御まではできないので、細かな高品質の空気調和を行なうことができない。
【0004】
本発明は、このような不都合を解消することができる安価なファンコイルユニットの温湿度制御装置を提供することを課題とする。
【0005】
【課題を解決するための手段】
本発明は、前記の課題を解決するために、熱源水を通水させる熱交換器と、送風機とを備えるファンコイルユニットにおいて、室内の温度を検知する温度センサー部と湿度を検知する湿度センサー部とを有する温湿度センサーと、前記送風機の風量を制御する制御手段とを具備し、冷房時、冷房の設定温度とその下限温度との間に設定した風量変化動作温度に達するまでは前記送風機により風量を増大させて送風し、前記温度センサー部が前記風量変化動作温度を検知した時点で風量を低下して、低下した風量で前記温度センサー部が設定温度の下限温度又は前記湿度センサー部が設定湿度の下限湿度を検知するまで送風するように、前記制御手段により前記送風機の風量を制御することを特徴とする。
【0006】
本発明によれば、前記低下した風量により送風後、前記温度センサー部が設定温度の下限温度又は前記湿度センサー部が設定湿度の下限湿度を検知した時点で最小の風量に低下して、前記送風機により最小の風量で前記温度センサー部が設定温度又は前記湿度センサー部が設定湿度の上限湿度を検知するまで送風を続け、前記温度センサー部が設定温度の上限温度に達した場合は風量を増大して送風するように、前記制御手段により前記送風機の風量を制御する。
【0007】
【発明の実施の形態】
本発明の実施の形態を図面を参照して説明する。
【0008】
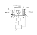
図1は、室内に設置されるファンコイルユニットの温湿度制御装置を示す。
【0009】
同図において、ファンコイルユニット1は、室内空気を取入れる取入れ口2a及び吹出し口2bを備えたケーシング2内に、その取入れ口2aに近接してフィルタ3と、その下流側に送風機4と、その下流側に熱源水を通水させる熱交換用コイル5とを備え、該ケーシング2の取入れ口2a近傍に室内の温度及び湿度を検知する温湿度センサー6を備えたものである。温湿度センサー6は、温度センサー部と湿度センサー部を備え、その各出力信号は、制御手段例えばコンピュータ7に入力し、該コンピュータ7は、前記各出力信号により送風機4を制御するようになっている。
【0010】
すなわち、コンピュータ7は、あらかじめ設定温度Ts、上限温度T1、下限温度T3(設定温度より例えば、1℃低い温度。)及び風量変化動作点温度T2(設定温度より例えば、0.5 ℃低い温度。)と、設定湿度Hs、上限湿度H1及び下限湿度H2と、送風機4の 100%の風量H、除湿量が最大になる風量L及び温度、湿度検知精度が維持できる最小風量LLが記憶されており、前記温湿度センサー6の出力信号により、送風機作動部8を介して送風機4を段階制御又は、無段階制御して、室内温度を設定温度Tsの近傍の上限温度T1 〜下限T3 内に保つと共に湿度を可能な限り好ましい状態、すなわち上限湿度H1〜下限湿度H2に保つように作動する。
【0011】
前記温湿度制御装置の作用を、図2の温湿度制御動作図及び図3のフローチャートにより、送風機4の段階制御の場合について更に詳細に説明する。
【0012】
電源をオンにすると、送風機4は100 %の風量Hで送風を開始し、コンピュータ7には、温湿度センサー6により検知された室内の温度及び湿度の出力信号が入力する(図3のステップS1)。コンピュータ7は、上限温度T1より高い室内温度から下限温度T3となるまでは温湿度センサー6の湿度センサー部に優先して温度センサー部の出力信号で作動するようになっており、温度が下降する過程で風量変化動作点温度T2を検知(S2)したとき、送風機4を除湿量が最大となる風量Lにし(S3)、温度が更に風量変化動作点温度T2より低下して下限温度T3を検知(S4)したとき、除湿検出精度が維持できる最小風量LLにする(S5)。最小風量LLにより湿度は設定湿度Hsに近付くが、それに伴い、温度が上昇し、温度が設定温度Tsになったことを検知したとき(S6)、温度センサー部の出力により、送風機4を除湿量が最大となる風量Lに制御する(S7)。温度が設定温度Ts未満で下限温度T3以上の温度範囲で安定した(例えば1分間)とき、コンピュータ7は、温度センサー部の出力による制御から湿度センサー部の出力による制御に変わり、湿度が下限湿度H2になったとき(S8)は、温度、湿度の検出精度が維持できる最小風量LLになるように送風機4を制御する(S9)。その後、温度が設定温度Tsになったとき(S10)は、除湿量が最大となる風量Lになるように送風機4を制御し(S11)、温度センサー部の出力信号により上限温度T1を検知したとき(S12)には、最大の風量Hになるように送風機4を制御する(S13)。この制御により温度が風量変化動作点温度T2に低下したとき(S14)、除湿量が最大となる風量Lになるように送風機4を制御し(S15)、温度が下限温度T3になったとき(S16)は、最小風量LLになるように送風機4を制御する(S17)。この制御により湿度が上限湿度H1に達したとき(S18)は、除湿量が最大となる風量Lに送風機4を制御する(S19)。そして、湿度が下限湿度H2になった場合は、湿度の検出精度が維持できる最小風量LLになるように送風機4を制御し(S20)、これより先に温度が下限温度T3になった場合にも、最小風量LLになるように送風機4を制御する(S21)。その後はステップ10に戻り、それ以降のステップの制御を行なう。すなわち、温度条件がT1〜T3を満足した後、湿度がH1〜H2になるように送風機4を制御する。
【0013】
尚、除湿量が最大となる風量Lは、試験にて決定するが、下記計算式
除湿量={(入口空気絶対温度)−(出口空気絶対温度)}×風量×空気の比重
から除湿値が最大となる風量を決める。
【0014】
図4は、送風機4を無段階制御した場合の本発明実施の温湿度制御装置のフローチャートを示す。
【0015】
その作用は、前記段階制御の場合とほぼ同様であるので、説明を省略する。
【0016】
尚、暖房運転の場合は、温度のみを温湿度センサーで検知して風量の調節を行なう。
【0017】
【発明の効果】
本発明は、簡単な構成で、安価に室内の温度及び湿度の制御ができ、細かな高品質の空気調和を行なうことができるという効果を有する。
【図面の簡単な説明】
【図1】 本発明実施のファンコイルユニットの温湿度制御装置の線図。
【図2】 前記装置の段階制御の場合の温湿度制御動作図。
【図3】 前記装置の段階制御の場合のフローチャート。
【図4】 前記装置の非段階制御の場合の温湿度制御動作図。
【図5】 従来のファンコイルユニットの温湿度制御動作図。
【符号の説明】
1…ファンコイルユニット 4…送風機
5…熱交換用コイル 6…温湿度センサー
7…コンピュータ
Claims (2)
- 熱源水を通水させる熱交換器と、送風機とを備えるファンコイルユニットにおいて、室内の温度を検知する温度センサー部と湿度を検知する湿度センサー部と有する温湿度センサーと、前記送風機の風量を制御する制御手段とを具備し、冷房時、冷房の設定温度とその下限温度との間に設定した風量変化動作温度に達するまでは前記送風機により風量を増大させて送風し、前記温度センサー部が前記風量変化動作温度を検知した時点で風量を低下して、低下した風量で前記温度センサー部が設定温度の下限温度又は前記湿度センサー部が設定湿度の下限湿度を検知するまで送風するように、前記制御手段により前記送風機の風量を制御することを特徴とするファンコイルユニットの温湿度制御装置。
- 前記低下した風量により送風後、前記温度センサー部が設定温度の下限温度又は前記湿度センサー部が設定湿度の下限湿度を検知した時点で最小の風量に低下して、前記送風機により最小の風量で前記温度センサー部が設定温度又は前記湿度センサー部が設定湿度の上限湿度を検知するまで送風を続け、前記温度センサー部が設定温度の上限温度に達した場合は風量を増大して送風するように、前記制御手段により前記送風機の風量を制御することを特徴とする請求項1記載のファンコイルユニットの温湿度制御装置。
Priority Applications (1)
| Application Number | Priority Date | Filing Date | Title |
|---|---|---|---|
| JP28960297A JP4040727B2 (ja) | 1997-10-22 | 1997-10-22 | ファンコイルユニットの温湿度制御装置 |
Applications Claiming Priority (1)
| Application Number | Priority Date | Filing Date | Title |
|---|---|---|---|
| JP28960297A JP4040727B2 (ja) | 1997-10-22 | 1997-10-22 | ファンコイルユニットの温湿度制御装置 |
Publications (2)
| Publication Number | Publication Date |
|---|---|
| JPH11125451A JPH11125451A (ja) | 1999-05-11 |
| JP4040727B2 true JP4040727B2 (ja) | 2008-01-30 |
Family
ID=17745370
Family Applications (1)
| Application Number | Title | Priority Date | Filing Date |
|---|---|---|---|
| JP28960297A Expired - Lifetime JP4040727B2 (ja) | 1997-10-22 | 1997-10-22 | ファンコイルユニットの温湿度制御装置 |
Country Status (1)
| Country | Link |
|---|---|
| JP (1) | JP4040727B2 (ja) |
Families Citing this family (3)
| Publication number | Priority date | Publication date | Assignee | Title |
|---|---|---|---|---|
| CN102141267B (zh) * | 2010-12-23 | 2016-03-30 | 卢娜 | 一种恒温恒湿主机 |
| CN110260590A (zh) * | 2019-06-04 | 2019-09-20 | 凯盛光伏材料有限公司 | 一种带有水冷却的风冷装置 |
| CN114294790B (zh) * | 2021-12-28 | 2024-01-02 | 中山市爱美泰电器有限公司 | 一种水源式除湿调温机的控制方法 |
-
1997
- 1997-10-22 JP JP28960297A patent/JP4040727B2/ja not_active Expired - Lifetime
Also Published As
| Publication number | Publication date |
|---|---|
| JPH11125451A (ja) | 1999-05-11 |
Similar Documents
| Publication | Publication Date | Title |
|---|---|---|
| JPH11287502A5 (ja) | ||
| JPH11132541A (ja) | 空気調和機 | |
| JPH10197028A (ja) | 空気調和機 | |
| JP4040727B2 (ja) | ファンコイルユニットの温湿度制御装置 | |
| JPH0436535A (ja) | 空気調和機の室内ファン運転方法 | |
| JP4710138B2 (ja) | 加湿機能を有する空気調和機 | |
| JP3143195B2 (ja) | 空気調和装置 | |
| JP2755003B2 (ja) | ダクト式空気調和機 | |
| KR19980033782A (ko) | 공기조화기의 토출기류 제어장치 및 그 방법 | |
| JP2776111B2 (ja) | 除湿装置 | |
| JPH0593542A (ja) | 空気調和装置 | |
| JPH04110552A (ja) | 空気調和機 | |
| JPH08276720A (ja) | 車両用空気調和装置 | |
| JPH0526487A (ja) | 同時給排型換気扇の自動運転装置 | |
| JP2512750B2 (ja) | 空調用風量調節装置 | |
| JPS6284250A (ja) | 空気調和機 | |
| JP3641119B2 (ja) | 空気調和機の運転制御装置 | |
| JPH0351658A (ja) | 空気調和機 | |
| JP2636553B2 (ja) | 空気調和機 | |
| JPH04131655A (ja) | 集中式空気調和装置 | |
| JPH04297741A (ja) | 空気調和機 | |
| JPH0351657A (ja) | 空気調和機 | |
| JPH05133560A (ja) | 空調機試験室 | |
| JPH02213634A (ja) | 容量調節付き空調装置 | |
| JPH01302057A (ja) | 空気調和機の運転制御装置 |
Legal Events
| Date | Code | Title | Description |
|---|---|---|---|
| A621 | Written request for application examination |
Free format text: JAPANESE INTERMEDIATE CODE: A621 Effective date: 20040701 |
|
| A625 | Written request for application examination (by other person) |
Free format text: JAPANESE INTERMEDIATE CODE: A625 Effective date: 20040701 |
|
| A131 | Notification of reasons for refusal |
Free format text: JAPANESE INTERMEDIATE CODE: A131 Effective date: 20061017 |
|
| A131 | Notification of reasons for refusal |
Free format text: JAPANESE INTERMEDIATE CODE: A131 Effective date: 20070417 |
|
| A521 | Written amendment |
Free format text: JAPANESE INTERMEDIATE CODE: A821 Effective date: 20070517 |
|
| RD02 | Notification of acceptance of power of attorney |
Free format text: JAPANESE INTERMEDIATE CODE: A7422 Effective date: 20070517 |
|
| A521 | Written amendment |
Free format text: JAPANESE INTERMEDIATE CODE: A523 Effective date: 20070607 |
|
| A521 | Written amendment |
Free format text: JAPANESE INTERMEDIATE CODE: A523 Effective date: 20070726 |
|
| TRDD | Decision of grant or rejection written | ||
| A01 | Written decision to grant a patent or to grant a registration (utility model) |
Free format text: JAPANESE INTERMEDIATE CODE: A01 Effective date: 20071023 |
|
| A61 | First payment of annual fees (during grant procedure) |
Free format text: JAPANESE INTERMEDIATE CODE: A61 Effective date: 20071108 |
|
| FPAY | Renewal fee payment (event date is renewal date of database) |
Free format text: PAYMENT UNTIL: 20101116 Year of fee payment: 3 |
|
| R150 | Certificate of patent or registration of utility model |
Free format text: JAPANESE INTERMEDIATE CODE: R150 |
|
| FPAY | Renewal fee payment (event date is renewal date of database) |
Free format text: PAYMENT UNTIL: 20111116 Year of fee payment: 4 |
|
| FPAY | Renewal fee payment (event date is renewal date of database) |
Free format text: PAYMENT UNTIL: 20121116 Year of fee payment: 5 |
|
| FPAY | Renewal fee payment (event date is renewal date of database) |
Free format text: PAYMENT UNTIL: 20131116 Year of fee payment: 6 |
|
| R250 | Receipt of annual fees |
Free format text: JAPANESE INTERMEDIATE CODE: R250 |
|
| R250 | Receipt of annual fees |
Free format text: JAPANESE INTERMEDIATE CODE: R250 |
|
| R250 | Receipt of annual fees |
Free format text: JAPANESE INTERMEDIATE CODE: R250 |
|
| EXPY | Cancellation because of completion of term |