JP3916131B2 - 紙製緩衝体 - Google Patents

紙製緩衝体 Download PDF

Info

Publication number
JP3916131B2
JP3916131B2 JP2001374627A JP2001374627A JP3916131B2 JP 3916131 B2 JP3916131 B2 JP 3916131B2 JP 2001374627 A JP2001374627 A JP 2001374627A JP 2001374627 A JP2001374627 A JP 2001374627A JP 3916131 B2 JP3916131 B2 JP 3916131B2
Authority
JP
Japan
Prior art keywords
buffer
wall
paper
bottom plate
wall portion
Prior art date
Legal status (The legal status is an assumption and is not a legal conclusion. Google has not performed a legal analysis and makes no representation as to the accuracy of the status listed.)
Expired - Fee Related
Application number
JP2001374627A
Other languages
English (en)
Other versions
JP2003170968A (ja
Inventor
高幸 福田
静男 佐藤
Current Assignee (The listed assignees may be inaccurate. Google has not performed a legal analysis and makes no representation or warranty as to the accuracy of the list.)
Toppan Inc
Original Assignee
Toppan Inc
Priority date (The priority date is an assumption and is not a legal conclusion. Google has not performed a legal analysis and makes no representation as to the accuracy of the date listed.)
Filing date
Publication date
Application filed by Toppan Inc filed Critical Toppan Inc
Priority to JP2001374627A priority Critical patent/JP3916131B2/ja
Publication of JP2003170968A publication Critical patent/JP2003170968A/ja
Application granted granted Critical
Publication of JP3916131B2 publication Critical patent/JP3916131B2/ja
Anticipated expiration legal-status Critical
Expired - Fee Related legal-status Critical Current

Links

Images

Landscapes

  • Cartons (AREA)
  • Buffer Packaging (AREA)

Description

【0001】
【発明の属する技術分野】
本発明は各種製品の保存や運搬の際に、保護及び破損防止を目的として用いる紙製緩衝体に関するものである。
【0002】
【発明が解決しようとする課題】
近年、携帯タイプの電子機器製品に対する需要が高まっていることから多く生産され、一般の市場において広く販売されている。そして、このような携帯タイプの電子機器製品では比較的製品強度が高い製品として生産されていることから、製造後の流通段階において製品を保護する目的で使用される緩衝体については、つぎの条件を満足すればよい。即ち、従来の電子機器製品や精密機械品などの場合と異なって、緩衝体を用いて製品を一台、または複数台まとめて梱包した状態で、角落下などの破損、製品の突起部などの部分的に脆弱な部分(例えば、アンテナ先端部分など)に直接衝撃が伝わらないようにすればよく、比較的簡易な形状の緩衝体であっても十分に製品の輸送、保管に耐えることができる。
【0003】
上述のような現状において、携帯型電子機器製品用の緩衝体には、複数枚の段ボール材を従来手法により組み合わせて製品を並べ置きできるように段ボール製のトレーが使用されているが、複数枚の段ボール材を折り合わせたりかみ合わせたりして組み起こしているため、緩衝体自体の製造に手間を要している。
また、紙繊維を材料とした紙製緩衝体も利用されることが多く、特に短繊維の紙繊維などからなるパルプを所要形状に押し固めて乾燥させたパルプモールドの利用が増大している。しかし、パルプモールドのような紙繊維を材料とするこのトレー型成型緩衝体は、収容する複数の製品が隣同士で直接接触しないようにする仕切りとして紙一枚の厚さの緩衝部分があればよい場合でも、成型時にある程度の厚さのある部分として形成されてしまい、よって、緩衝体の全体寸法が無駄に大きくなるというなどの問題があった。また、廃棄に際しても減容化し難いという問題も生じている。
そこで、本発明は上記事情に鑑み、一枚の段ボールシート製のブランクから、上記電子機器製品を収容するための所要の機能を満足する紙製緩衝体を開発することを課題とし、安価にして廃棄処分が容易に行なえる紙製緩衝体を得ることを目的とするものである。
【0004】
【課題を解決するための手段】
本発明は上記課題を考慮してなされたもので、一枚の段ボールシート製のブランクからなる紙製緩衝体であって、方形の底板部と四方の壁部とを備え、隣り合う壁部同士を糊代部を介して連結して、底板部上に前記四方の壁部で囲まれた製品配置空間が形成され、前記底板部における少なくとも一辺の壁部に沿った位置に、底板部を折り起こして上方に凸の断面略山形にして変形可能とした緩衝部が設けられ、前記緩衝部は、該緩衝部が沿う壁部とこの壁部に隣り合う外方傾斜の壁部との壁部同士の連結とともに折り起こし形成されてなり、この緩衝部が沿っている壁部に隣り合っている前記外方傾斜の壁部と前記緩衝部との間が上面に向けて上開きした非連続状態とされていることを特徴とする紙製緩衝体を提供して、上記課題を解消するものである。
そして、本発明において、上記緩衝部には、製品配置空間に載置する製品の所要部位との干渉を避ける切り欠きを設けることが可能である。また、上記底板部には、製品配置空間に載置する複数の製品を仕切る仕切りを折り起こし形成することが可能である。
さらに、本発明において、上記仕切りの端部に、この仕切り片の端部側の壁部の板材を該壁部に折り返してなる折り返し片が形成されていて、該折り返し片が前記壁部に貼り合わせられているものとすることが可能である。
【0005】
【発明の実施の形態】
つぎに本発明を図1から図13に示す実施の形態に基づいて詳細に説明する。
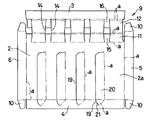
図中1は紙製緩衝体で、該紙製緩衝体1は方形の底板部2の四方に若干外方に傾斜した壁部3、4、5、6を備えたトレー形状を呈しており、底板部2の上に、この四方の壁部3、4、5、6により囲まれて上面が開放されている製品配置空間7を形成している。
そして、図1に示されているように、底板部2における長尺側の一辺の壁部3に沿った位置に、上方に凸とした緩衝部8が設けられていて、製品配置空間7に一つの収容物、あるいは複数の収容物を並べ設けた状態で置き、図示しない外箱などに収め、その外箱に収容物を収めてなる梱包物が誤って床上などに落下して、収容物が前記緩衝物8に突き当たるようなことがあっても、その衝撃を、後述の構造によって緩衝機能を有する緩衝部8で吸収できるようにしている。このように紙製緩衝体1の製品配置空間7に置く収容物にあっては、その収容物自体の製品強度が比較的高いものであって、収容物の外周部に部分的に保護したい箇所がある場合に、その脆弱箇所を緩衝部8に対応させた状態にして入れればよく、この種の収容物に対してこの紙製緩衝体1が利用されるものである。
【0006】
上記紙製緩衝体1は、金型の上型と下型との間に一枚の段ボールシート製のブランク9を配し、その金型の型締め動作によって組み起こしてなるものであり、図2に示すように方形の底板部2における長尺の辺に沿った方向に対向する辺それぞれ(即ち、短尺の辺それぞれ)に折り罫aを介して上記壁部5、6が連接されている。また、底板部2の一方の長尺の辺に折り罫aを介して上記壁部4が連接されているとともに、もう一方の長尺の辺に折り罫aを介して上記緩衝部8が連接され、この緩衝部8に折り罫aを介して上記壁部3が連接されている。
上記壁部5、6は端部それぞれに糊代部10を有していて、型締めの金型圧着による折り起こしが行われるときに、隣り合う壁部同士において一方の壁部の糊代部10が他方の壁部の端部内面側(製品配置空間側の面)に接着剤を介して貼り合わされ、これによって隣り合う壁部同士が連結されている。上記緩衝部8自体は、底板部2の底板本体2aを壁部3側に延設してこの部分を金型の型締めにて折り起こして上方に凸の断面略山形にしてなるものである。そして、図1に示されているようにこの緩衝部8が沿っている壁部に隣り合っている外方傾斜の壁部と前記緩衝部8との間が上面に向けて上開きした非連続状態とされている。
【0007】
この緩衝部8では、前記底板本体2a側から折り罫aを介して順に連接するようにした緩衝板11と支持板12とからなり、支持板12が折り罫aを介して壁部3に連接している。そして、図3に示すように前記底板本体2a側の折り罫aと壁部3側の折り罫aとを谷折りとし、緩衝板11と支持板12の間の折り罫aを山折りとなるようにして折り込むことで、前述したように断面山形の緩衝部8が形成され、緩衝板11と支持板12とが段ボールシートであることから緩衝部8全体としては変形可能にして衝撃を吸収できる構成を有し、製品配置空間7に置いた収容品がこの緩衝板11にぶつかるようなことがあっても緩衝板11が変形して衝撃を和らげ、収容品に損傷を生じさせない。
【0008】
上述したように隣り合う壁部同士は糊代部10を介して連結されていることから、上記壁部3にあっても隣り合う壁部5、6に対して糊代部10を介して連結された状態となっており、このため、紙製緩衝体1の一辺としての壁部3が単独に移動することなく定められている。よって、上方に折り起こしてなる緩衝部8において、展開状態に戻ろうとする力が生じていても緩衝部8は上方に向けて凸の断面山形状とした形状が維持され、この緩衝部8の機能が失われることがない。
【0009】
上記実施の例では緩衝部8を長尺な壁部の長手方向に沿って連続する形状に設けられているが、この緩衝部8が壁部の長手方向に沿って連続している必要は必ずしもなく、製品配置空間7に置く収容物の形状に応じて切り欠き13を有し、その結果として緩衝部3が壁部に沿って連続することなく分断された状態となってもよい。
例えば、図4から図6の第二の例に示すように収容物cの一辺側に凸部bがあり、この凸部bが壁部3側に向くようにして製品配置空間7に置く場合には、緩衝部3の中央部分に一つの切り欠き13を設けて凸部bとの干渉を避けている。これによって、製品配置空間7に置いた収容物cが仮に緩衝部8側に勢いを持って移動したとしても、分断状態の緩衝部8それぞれに収容物cの前記凸部bを除いた部分が当接して衝撃を吸収できるようになる。
【0010】
上記実施の形態では、展開したブランク9の状態で示すように、底板部2の壁部3側の部分において、壁部3の長手方向での中央に上記切り欠き13を形成するために離間している一対の切れ目14を入れており、この一対の切れ目14の位置から壁部5、6それぞれに向けて上記緩衝板11と支持板12とが設けられており、これによって緩衝板11と支持板12とのそれぞれが不連続な状態となる。
また、これら切れ目14で挟まれた領域においては、中央部分を打ち抜いて、底板本体2aから壁部3側に向けて張り出た舌片15と、壁部3の折り部aから底板本体2aに向けて張り出た舌片16とを残した状態で、壁部3と底板本体2aとが分離している。
そして上記構造のブランク9を用いて、金型の型締めにより各壁部3、4、5、6を折り起こして隣り合う壁部を連結するとともに、緩衝板11と支持板12との間の折り罫aが山折りとなるように折り上げることで、上記切り欠き13を間に配した二つの緩衝部8が設けられるようになる。
【0011】
切り欠き13を形成するための上記切れ目14それぞれは、切れ目14の間の打ち抜き部分が広くなるように略く字型に屈曲した形状としている。これによって、折り起こされた各緩衝部8にあっては、頂部17(緩衝板11と支持板12との間の折り罫aを山折りしてなる部分)の長手方向における寸法が、緩衝板11と支持板12との基端側の寸法より小さくなり、長手方向に直交する方向から緩衝部8を見たときの側面形状が上方に向けて細くなるテーパー状を呈している。
上述したように壁部3、4、5、6が外方に向けて傾斜し、そして上記緩衝部8それぞれが上方を小さくしたテーパー形状に設けられていることから、紙製緩衝体1のスタッキング性が良好となり、複数の紙製緩衝体1を積み上げても上下方向での嵩張りが少なくなり、保管時に際して空間を広く占めることない。また、切り欠き13は上方に向けて広がった状態で開放される形状となり、凸部bを切り欠き13に対応させながら収容物cを製品配置空間7に配置する作業も容易になる。
【0012】
なお、切り欠き13に位置する上記舌片15、16は緩衝部8が折り起こされるときに重なり合うように設けられており、金型の型締めが行われるときに圧着によって上記糊代部を壁部に貼り付ける場合と同じように、この舌片15、16同士も接着剤を用いて金型の圧着により貼り合わされている(図6参照)。
また、この舌片15、16を貼り合わせることで、この貼り合わせ部分を介して底板本体2aに壁部3が支持されるようになり、変形により緩衝効果を発揮する緩衝部8が近接しながらもこの壁部3の剛性が高められている。
【0013】
本発明の紙製緩衝体1にあっては、複数の収容物を並べ置くときに隣り合う収容物が干渉し合わないようにする仕切りを一体に設けるようにしてもよい。図7と図8とは第三の例として前記仕切りを有する例を示して、底板本体2aに略コ字型状の切れ目19を入れるとともに、その切れ目19の端部同士を結ぶ位置に折り罫aを入れることにより、切り起こし可能な仕切り20が複数設けられ、金型の型締めの時点で、壁部の上記連結と同時にこれら複数の仕切り20が折り起こし形成されているものである。
上記切れ目19の中央位置には指掛け孔18が図8に示すように予め打ち抜き形成され、仮に仕切り20が倒れて底板本体2aと面一となるようなことがあっても、この指掛け孔18に指先を通して仕切り20を容易に起こすことができるように設けられている。
【0014】
図9は第四の例をブランクの状態で示している。この第四の例では壁部3側に位置する上記緩衝部8を壁部4側にも設けており、収容物がこの壁部3、4の対向方向に勢いが付いた状態で移動することがあっても、壁部3側の緩衝部8や壁部4側の緩衝部8が衝撃を吸収しながらその収容物を受けて損傷が生じないようにしている。このように紙製緩衝体1では、緩衝部8が一辺の壁部側のみに限定して折り起こし形成されるものではなく、対向位置する壁部それぞれに近接するようにして、また、四辺それぞれの壁部に近接するようにして緩衝部8が折り起こし形成されるようにしてもよい。
【0015】
図10と図11とは第五の例を示していて、それぞれが端部側に凸部bを有する複数の収容物c(例えば携帯電話機)を並べ置くことができるようにした紙製緩衝体1である。この紙製緩衝体1では底板本体2aに一体にして複数の仕切り20が設けられているとともに、製品配置空間7を仕切り20で仕切ってなる部分それぞれに置く収容物cの凸部bに対応して緩衝部8に複数の切り欠き13が設けられている。そして、切り欠き13の部分に位置する舌片15、16は上記実施の例と同じように貼り合わされている。さらに、この例では緩衝部8と仕切り20との両者を有しているものであり、上記それぞれの実施例と同じように金型で型締めして、糊代部10の貼り付けによる壁部3、4、5、6の連結、緩衝部8の折り起こし、貼り合わせによる舌片15、16の連結、仕切り20の折り起こしとが同時に行われて、この紙製緩衝体1が得られている。
【0016】
図12と図13とは第六の例を示している。この実施の例では壁部3側にのみ緩衝部8が折り起こしして形成されている。そして、製品配置空間7を壁部3、4の貼着方向に仕切る複数の仕切り20それぞれが壁部4に連続するように設けられているものであって、仕切り20を折り起こすための切れ目19と折り罫aとを壁部4の基端の折り罫aまで延長し、さらに壁部4の基端の折り罫aの位置から、前記切れ目19と仕切り20の折り起こしのための折り罫aとを壁部4の板材中で接続して、切れ目19と二つの折り罫aで囲まれた略三角状の折り返し片21を形成し、仕切り20を折り起こしするときに前記折り返し片21が壁部4に折り返されるようにしている。そして、型締めが行われるときの金型圧着にて前記折り返し片21が壁部4に接着剤を介して貼り合わされている(図13参照)。この折り返し片21と壁部4との貼り合わせで仕切り20の倒れが防止される。また、この仕切り20の立ち上がり寸法を収容物の厚さより大きくしておけば、上方から加えられる圧力が収容物に直接加わるのを防止することとができるようになる。
【0017】
なお、上述した接着剤を介して貼り合わせる部分は金型の型締めの際にその金型圧着の圧力(組み起こししながら金型を閉じるときの力)により貼り合わされるものであって、特に貼り合わせ部分についてのみに高い圧着力を加えたり、型締め後に部分的に圧着力を加えたりする必要はない。
【0018】
【発明の効果】
以上説明したように本発明の紙製緩衝体によれば、一枚の段ボールシート製のブランクからなる紙製緩衝体であって、方形の底板部と四方の外方傾斜した壁部とを備え、隣り合う壁部同士を糊代部を介して連結して、底板部上に前記四方の外方傾斜した壁部で囲まれた製品配置空間が形成され、前記底板部における少なくとも一辺の壁部に沿った位置に、底板部を折り起こして上方に凸の断面略山形にして変形可能とした緩衝部が設けられ、前記緩衝部は、該緩衝部が沿う壁部とこの壁部に隣り合う外方傾斜の壁部との壁部同士の連結とともに折り起こし形成されてなり、この緩衝部が沿っている壁部に隣り合っている前記外方傾斜の壁部と前記緩衝部との間が上面に向けて上開きした非連続状態とされていることを特徴とするものである。
このように紙製緩衝体が一枚の段ボールシート製のブランクを組み起こしてなるものであるため、安価な緩衝体が得られるようになり、また、緩衝部が断面略山形に折り起こししたものであるため、緩衝部が二面の板材を有する簡単な構造となり、紙製緩衝体を製造する上でのブランクの形状を小さなものとすることができる。
そして、緩衝部は断面略山形で中空なものであるため、下位の紙製緩衝体の緩衝部が上位の紙製緩衝体の緩衝部に入り込むようにして複数の紙製緩衝体を積み重ねることができ、未使用時の多くの紙製緩衝体を保管する際にその保管スペースが低減できる。
さらに緩衝部が上述のように断面略山形を呈していることにより基本的な強度を有しているため、底板部でのこの緩衝部が占める領域を少なくしても全体の強度不足を招くことはなく、また切り欠きを設けて緩衝部を不連続のものとするなどの手段により、強度の調整も可能となる。
【0019】
そして、緩衝部自体が簡易な構造であるために切り欠きを設けることも容易であり、収容物の端部に脆弱な凸部があるなどの場合のように、部分的な箇所との干渉を避けるための加工が行なえ、収容物の形状に応じた緩衝部とすることができる。さらに、底板部自体も段ボールシートの板材であり、収容物が複数個のときの仕切りが緩衝体作成時に得られる構成を底板部に設けることができる。
また、紙製緩衝体は段ボールシート製のブランクを組み起こしてなるものであり、従来の紙製成型品では困難であった使用後の廃棄、または再使用に向けての減容化のための解体が容易になるなど、実用性に優れた効果を奏するものである。
【図面の簡単な説明】
【図1】 本発明に係る紙製緩衝体の第一の例を示す説明図である。
【図2】 第一の例のブランクを示す説明図である。
【図3】 第一の例において緩衝部を横断する断面を示す説明図である。
【図4】 第二の例を示す説明図である。
【図5】 第二の例のブランクを示す説明図である。
【図6】 第二の例における緩衝部を断面で示す説明図である。
【図7】 第三の例を示す説明図である。
【図8】 第三の例のブランクを示す説明図である。
【図9】 第四の例のブランクを示す説明図である。
【図10】 第五の例を示す説明図である。
【図11】 第五の例のブランクを示す説明図である。
【図12】 第六の例のブランクを示す説明図である。
【図13】 第六の例における仕切りと壁部との連結部分を示す説明図である。
【符号の説明】
1…紙製緩衝体
2…底板部
3、4、5、6…壁部
8…緩衝部
10…糊代部
11…緩衝板
12…支持板
13…切り欠き
20…仕切り

Claims (4)

  1. 一枚の段ボールシート製のブランクからなる紙製緩衝体であって、
    方形の底板部と四方の外方傾斜した壁部とを備え、隣り合う壁部同士を糊代部を介して連結して、底板部上に前記四方の外方傾斜した壁部で囲まれた製品配置空間が形成され、
    前記底板部における少なくとも一辺の壁部に沿った位置に、底板部を折り起こして上方に凸の断面略山形にして変形可能とした緩衝部が設けられ、前記緩衝部は、該緩衝部が沿う壁部とこの壁部に隣り合う外方傾斜の壁部との壁部同士の連結とともに折り起こし形成されてなり、この緩衝部が沿っている壁部に隣り合っている前記外方傾斜の壁部と前記緩衝部との間が上面に向けて上開きした非連続状態とされていることを特徴とする紙製緩衝体。
  2. 上記緩衝部には、製品配置空間に載置する製品の所要部位との干渉を避ける切り欠きが設けられている請求項1に記載の紙製緩衝体。
  3. 上記底板部には、製品配置空間に載置する複数の製品を仕切る仕切りが折り起こし形成されている請求項1、2のいずれか一項に記載の紙製緩衝体。
  4. 上記仕切りの端部に、この仕切り片の端部側の壁部の板材を該壁部に折り返してなる折り返し片が形成されていて、該折り返し片が前記壁部に貼り合わせられている請求項3に記載の紙製緩衝体。
JP2001374627A 2001-12-07 2001-12-07 紙製緩衝体 Expired - Fee Related JP3916131B2 (ja)

Priority Applications (1)

Application Number Priority Date Filing Date Title
JP2001374627A JP3916131B2 (ja) 2001-12-07 2001-12-07 紙製緩衝体

Applications Claiming Priority (1)

Application Number Priority Date Filing Date Title
JP2001374627A JP3916131B2 (ja) 2001-12-07 2001-12-07 紙製緩衝体

Publications (2)

Publication Number Publication Date
JP2003170968A JP2003170968A (ja) 2003-06-17
JP3916131B2 true JP3916131B2 (ja) 2007-05-16

Family

ID=19183166

Family Applications (1)

Application Number Title Priority Date Filing Date
JP2001374627A Expired - Fee Related JP3916131B2 (ja) 2001-12-07 2001-12-07 紙製緩衝体

Country Status (1)

Country Link
JP (1) JP3916131B2 (ja)

Families Citing this family (4)

* Cited by examiner, † Cited by third party
Publication number Priority date Publication date Assignee Title
JP6365517B2 (ja) * 2015-11-27 2018-08-01 京セラドキュメントソリューションズ株式会社 段ボール梱包材
JP6058838B1 (ja) * 2016-02-15 2017-01-11 ソフトバンク株式会社 梱包箱用緩衝材及び梱包方法
US10450122B2 (en) * 2018-02-13 2019-10-22 Reflex Packaging Inc. Cushioning pack for articles of different size
JP7413686B2 (ja) * 2019-09-05 2024-01-16 京セラドキュメントソリューションズ株式会社 包装体

Also Published As

Publication number Publication date
JP2003170968A (ja) 2003-06-17

Similar Documents

Publication Publication Date Title
JP3916131B2 (ja) 紙製緩衝体
JP3367913B2 (ja) 包装容器
KR200390818Y1 (ko) 포장용 상자
JP3437442B2 (ja) 緩衝構造付き段ボール箱
JP3223214U (ja) 緩衝用中仕切と包装箱
JP7293740B2 (ja) 包装箱
JP3881728B2 (ja) 仕切付包装用箱
JPH061335A (ja) 梱包用保持パネル及び梱包用装置
JP3941909B2 (ja) 板紙製緩衝体
JP3297970B2 (ja) 緩衝機能付きカートン
JP2010189040A (ja) 緩衝部材及びそれを用いた梱包構造
JP3150150U (ja) 電子部品の巻き取り用リールの包装容器
JP2009280211A (ja) 包装用箱
JP2001031175A (ja) 包装構造
JP4780747B2 (ja) 板紙製緩衝体
CN214002351U (zh) 一种音箱包装箱
CN213706128U (zh) 一种具有附件小盒的内卡及包装盒
CN220430782U (zh) 具有间壁结构的水果包装箱
JP4714393B2 (ja) 板紙製緩衝体
JP4780748B2 (ja) 板紙製緩衝体
US20250136327A1 (en) Packaging material and packing material
JP4750637B2 (ja) 梱包用緩衝材
JP5422671B2 (ja) 物品収納ケース
JP2000043852A (ja) 緩衝材
JP3135773U (ja) 桁材及びこれを用いたスキッド並びにパレット

Legal Events

Date Code Title Description
A621 Written request for application examination

Free format text: JAPANESE INTERMEDIATE CODE: A621

Effective date: 20040916

A977 Report on retrieval

Free format text: JAPANESE INTERMEDIATE CODE: A971007

Effective date: 20060921

A131 Notification of reasons for refusal

Free format text: JAPANESE INTERMEDIATE CODE: A131

Effective date: 20061010

A521 Written amendment

Free format text: JAPANESE INTERMEDIATE CODE: A523

Effective date: 20061211

TRDD Decision of grant or rejection written
A01 Written decision to grant a patent or to grant a registration (utility model)

Free format text: JAPANESE INTERMEDIATE CODE: A01

Effective date: 20070109

A61 First payment of annual fees (during grant procedure)

Free format text: JAPANESE INTERMEDIATE CODE: A61

Effective date: 20070202

R150 Certificate of patent or registration of utility model

Free format text: JAPANESE INTERMEDIATE CODE: R150

FPAY Renewal fee payment (event date is renewal date of database)

Free format text: PAYMENT UNTIL: 20100216

Year of fee payment: 3

FPAY Renewal fee payment (event date is renewal date of database)

Free format text: PAYMENT UNTIL: 20110216

Year of fee payment: 4

FPAY Renewal fee payment (event date is renewal date of database)

Free format text: PAYMENT UNTIL: 20120216

Year of fee payment: 5

FPAY Renewal fee payment (event date is renewal date of database)

Free format text: PAYMENT UNTIL: 20130216

Year of fee payment: 6

FPAY Renewal fee payment (event date is renewal date of database)

Free format text: PAYMENT UNTIL: 20140216

Year of fee payment: 7

LAPS Cancellation because of no payment of annual fees