JP3891663B2 - 実体顕微鏡 - Google Patents
実体顕微鏡 Download PDFInfo
- Publication number
- JP3891663B2 JP3891663B2 JP26623697A JP26623697A JP3891663B2 JP 3891663 B2 JP3891663 B2 JP 3891663B2 JP 26623697 A JP26623697 A JP 26623697A JP 26623697 A JP26623697 A JP 26623697A JP 3891663 B2 JP3891663 B2 JP 3891663B2
- Authority
- JP
- Japan
- Prior art keywords
- optical system
- illumination
- observation
- stereomicroscope
- light
- Prior art date
- Legal status (The legal status is an assumption and is not a legal conclusion. Google has not performed a legal analysis and makes no representation as to the accuracy of the status listed.)
- Expired - Fee Related
Links
- 230000003287 optical effect Effects 0.000 claims description 320
- 238000005286 illumination Methods 0.000 claims description 210
- 238000003384 imaging method Methods 0.000 claims description 27
- 230000002194 synthesizing effect Effects 0.000 claims description 5
- 230000001678 irradiating effect Effects 0.000 claims description 2
- 238000010586 diagram Methods 0.000 description 30
- 239000000835 fiber Substances 0.000 description 20
- 230000000007 visual effect Effects 0.000 description 15
- 230000000694 effects Effects 0.000 description 14
- 238000000034 method Methods 0.000 description 11
- 239000006059 cover glass Substances 0.000 description 7
- 230000004907 flux Effects 0.000 description 7
- 238000001356 surgical procedure Methods 0.000 description 6
- 238000012937 correction Methods 0.000 description 4
- 230000031700 light absorption Effects 0.000 description 4
- 230000015572 biosynthetic process Effects 0.000 description 2
- 230000000903 blocking effect Effects 0.000 description 2
- 210000004204 blood vessel Anatomy 0.000 description 2
- 210000004556 brain Anatomy 0.000 description 2
- 238000001000 micrograph Methods 0.000 description 2
- 241001272720 Medialuna californiensis Species 0.000 description 1
- 206010057430 Retinal injury Diseases 0.000 description 1
- 239000011248 coating agent Substances 0.000 description 1
- 238000000576 coating method Methods 0.000 description 1
- 238000011161 development Methods 0.000 description 1
- 210000003128 head Anatomy 0.000 description 1
- 238000007689 inspection Methods 0.000 description 1
- 238000005259 measurement Methods 0.000 description 1
- 210000005036 nerve Anatomy 0.000 description 1
- 230000002093 peripheral effect Effects 0.000 description 1
- 238000012545 processing Methods 0.000 description 1
- 230000002250 progressing effect Effects 0.000 description 1
- 238000007493 shaping process Methods 0.000 description 1
- 238000003786 synthesis reaction Methods 0.000 description 1
- 238000002834 transmittance Methods 0.000 description 1
Images
Landscapes
- Microscoopes, Condenser (AREA)
Description
【発明の属する技術分野】
本発明は実体顕微鏡の照明系に関し、特に手術用顕微鏡の照明に関する。
【0002】
【従来の技術】
近年、医療分野において手術用顕微鏡を用いた手術が普及している。特に、最近では、患者への負担を最小限にするために、手術機械,手術手技の開発が進んでいる。これに従い、複数人が自由な方向から顕微鏡像を長時間観察しながらの作業も必要となっている。しかしながら、現在広く用いられている手術用顕微鏡は、観察方法自体に制約があるため、改良が望まれている。
【0003】
そこで、このような要望に応えるために、ドイツ公開特許第19541237A1号や特開平6−337351号公報により、新たな観察系方式(以下、シングルズーム型光学系と称する)が提案されている。
【0004】
図31は、ドイツ公開特許第19541237A1号で提案された手術用顕微鏡の構成を示す部分側面断面図である。この手術用顕微鏡では、第1乃至第3の3つの光学成分72,73,74によりアフォーカル光学系が構成されており、第1の光学成分72及び第2の光学成分73は、夫々主対物レンズ71と共通の光軸に沿って移動可能になっている。又、照明装置は、ライトガイドファイバー75,レンズ系76,77,及び偏向部材78からなり、レンズ系76,77を経たライトガイドファイバー75からの光を偏向部材78により物体面の方向へ所定の角度偏向し対物レンズ71を介して照射する。
【0005】
図32は、特開平6−337351号公報に開示された実体顕微鏡の構成を示す図である。この実体顕微鏡は、対物レンズ81とこれと共通の光軸の変倍光学系82と接眼光学系(不図示)とを備え、変倍光学系82は物体側から順に、正の第1レンズ群82aと負の第2レンズ群82bと正の第3レンズ群82cとが配置されて構成され、第1レンズ群82a及び第3レンズ群82cを光軸に沿って移動させて変倍を行うようにしたシングルズーム型光学系である。
【0006】
ここでは、シングルズーム型光学系を、「ズーム機能を有し1本の光軸を共有する光学系を備え、この光学系から射出された光束から左右像を形成するために立体観察光束を取り出す左右開口と、これら左右開口で取り出された光束を目視又は撮影するために結像させる光学系を有する観察系」と定義する。この光学系の主な特徴は、左右共通のズーム型の光学系としたため、同時に多方向からの立体観察が可能なことである。図31,32に示した光学系は、これが可能になっている。
【0007】
【発明が解決しようとする課題】
手術用顕微鏡においては、目視又は撮影系での観察を行うため、術部に照明光を照射して観察範囲を明るく均一に照明する照明系を備えている必要がある。しかし、それだけでなく、例えば、▲1▼照明方式自体の改善、▲2▼術中における照明装置の操作上の煩雑さの改善、▲3▼照明装置の交換時の煩雑な作業の改善、▲4▼手術内容,分野に応じた柔軟な照明効果等が望まれる。
しかしながら、図31,32に示された顕微鏡をはじめとして従来のシングルズーム型光学系に用いられている照明系は、従来の照明系をそのまま用いるか、単にそれらを組み合わせただけのものであり、前記▲1▼〜▲4▼のような照明系に求められる要望を満足することはできない。
【0008】
又、脳外科分野では、頭部に小さい穴をあけ、この穴を通して内部の手術が行われる。このとき、その穴の底部や側面の観察において影を生じることなく観察したい。又、多少の血管や神経等が観察視野に入っても観察系で観察可能な部位であれば、影を生ぜずに観察したいという要望がある。
しかし、図31に示された従来のシングルズーム方式の手術用顕微鏡では、図33に示すように、対物レンズ71の光軸から離れた位置に照明光の偏向部材78が配置されている。従って、同図に示すように、照明系の光軸が観察系の光軸に対して傾き、特に凹部を観察するような場合、照明光束がけられて影を生じてしまう。
【0009】
又、前記特開平6−337351号公報に開示されているシングルズーム型の手術用顕微鏡では、照明系に関する具体的な内容が示されていないため、前述の要望を満足させることはできない。
【0010】
図34は、一般に知られている対物レンズの光軸と同軸な位置に照明プリズムの射出面を設けて同軸照明を実現した手術用顕微鏡の対物レンズ側から見た図である。又、図35(a),(b)は図34の側面図で、夫々90°異なった方向から見た図である。図35では血管のような微小な円筒状の障害物が、対物レンズの光軸を横切るように存在している状態を示している。ここに示された手術用顕微鏡では、図35(a),(b)に示すように、観察光束は穴の底面まで届くため、障害物があっても底面の観察はできるが、照明光束は障害物によって遮られて底面までは届かず、障害物によって影ができてしまうことになる。
【0011】
以上のように、従来のシングルズーム型の手術用顕微鏡では、無影照明を実現することはできなかった。
【0012】
加えて、眼科分野で用いられる手術用顕微鏡では、眼底反射光の観察のために対物レンズの光軸と同軸な照明光を照射する照明方式と、照明光による網膜障害を避けて観察を行うために対物レンズの光軸に対して照明光を傾けて照射する斜照明方式との切替えが必要である。又、その切替えも容易に行えることが好ましい。
又、眼科では、スリットランプと称されるスリット状の平行光を用いて眼の検査が行われているが、スリットランプは外付けの照明装置であり、通常の観察時には邪魔であるため、顕微鏡への着脱が可能になっている。しかし、この作業は煩雑であり、一体的にコンパクトにまとめたいとの要望がある。
【0013】
更に、脳外科,眼科等を含めて、手術に適した照明パターンが望まれているが、従来のものでは照明に自由度がなく実現し難い。例えば、対物光軸に対して傾いた成分のみからなる照明光により観察物の立体感を強調した観察と、通常の観察とを切替えながら観察したい等の要望には応えられていない。
【0014】
そこで、かかる従来技術の問題点に鑑み、本発明は次のような目的を有している。
【0015】
本発明の第1の目的は、同時に複数人による立体視観察が可能で、主側,副側の観察位置の自由度の確保を可能にし、通常観察における術部を明るく均一に照明できるシングルズーム型光学系の手術用顕微鏡を提供することである。
第2の目的は、脳外科分野において、多少の障害物があっても観察系で観察可能な部位には常に無影照明が供給できる手術用顕微鏡を提供することである。詳しくは、シングルズーム型光学系において、ズーミングによる観察光束の間隔や光束径の変化、フォーカシングによる観察光束の光軸間隔の変化によっても、影を生じることなく、明るい照明光を供給し得る手術用顕微鏡を提供することである。又、主側の観察位置や観察者の姿勢の変化、副側の観察位置の変化により観察光軸の回転方向が移動した場合にも、影のない明るい照明光を供給し得る手術用顕微鏡を提供することである。
【0016】
第3の目的は、眼科分野で要求される対物レンズの光軸と同軸な照明方式と、対物レンズの光軸に対して傾いた斜照明方式との切替えが可能で、しかも簡易な構成の照明系を有する手術用顕微鏡を提供することである。
第4の目的は、眼科分野で要求される対物レンズの光軸に対して傾いたスリット状の平行光束を傾斜角又は投影位置を変えて照明する照明方式と前記各照明方式とが切替え可能で、しかも簡易な構成の照明系を有する手術用顕微鏡を提供することである。
第5の目的は、従来顕微鏡では実現不可能であった照明効果を組み合わせた照明が実現でき、しかも照明効果の切替えが容易な手術用顕微鏡を提供することである。
【0017】
【課題を解決するための手段】
上記目的を達成するため、本発明による実体顕微鏡は、光源と、この光源からの光を物体面に照射するための照明光学系と、前記物体面の像を形成する少なくとも結像性能を有する第1の結像光学系と、第1の結像光学系の射出側に配置され左右像を形成するための左右開口と、前記左右像を目視又は撮影するための第2の結像光学系を有する観察光学系と、を備え、前記照明光学系と前記観察光学系との光路を合成するための光路合成手段を有する実体顕微鏡において、前記照明光学系には照明光の照射角度を可変にするための明るさ絞りが備えられており、前記観察光学系の観察視野中心部へ至る観察光束の少なくとも一部に前記照明光学系からの照明光束が常に含まれるようにしたことを特徴とする。
【0018】
又、本発明の実体顕微鏡は、前記明るさ絞りは絞り形状をスリット状に交換可能であることを特徴とする。
又、本発明の実体顕微鏡は、前記照明光学系には、照明範囲の形状を可変にする照野絞りが備えられていることを特徴する。
又、本発明の実体顕微鏡は、前記照野絞りは絞り形状をスリット状に交換可能であることを特徴とする。
又、本発明の実体顕微鏡は、前記第1の結像光学系の光軸と前記照明光学系の光軸とを略一致させていることを特徴とする。
又、本発明の実体顕微鏡は、2組以上の左右の立体観察光学系が備えられていることを特徴とする。
又、本発明の実体顕微鏡は、前記第1の結像光学系は変倍機能を有することを特徴とする。
又、本発明の実体顕微鏡は、前記第1の結像光学系は対物レンズとアフォーカルズーム光学系とを備えていることを特徴とする。
又、本発明の実体顕微鏡は、前記第1の結像光学系の光路上に撮影光学系の光軸を配置したことを特徴とする。
更に、本発明の実体顕微鏡は、前記明るさ絞りは中心部に遮光部を有していることを特徴とする。
【0019】
【発明の実施の形態】
以下、図示した実施例に基づき、本発明を詳細に説明する。
【0020】
第1実施例
図1は本実施例にかかる実体顕微鏡の構成を示す光軸に沿う断面図である。
本実施例の実体顕微鏡では、固定焦点の対物レンズ1と、アフォーカルズーム光学系2と、接眼レンズを備えた観察鏡筒3とにより観察光学系が構成されている。アフォーカルズーム光学系2は、対物レンズ1側から順に、正の第1レンズ群2a,負の第2レンズ群2b及び正の第3レンズ群2cが配置されて構成されている。変倍は第1レンズ群2a及び第2レンズ群2bを光軸に沿う方向に移動させることにより行われる。本実施例の実体顕微鏡においては、主側観察系として観察鏡筒3のみを備えている。この観察鏡筒3内には左右光路に相当する光学系が配置されており、左右開口は観察鏡筒3の下面の光路入射側に設けられている。又、観察鏡筒3は固定である。アフォーカルズーム光学系2の倍率の変化に応じて、対物レンズ1上の観察光軸の間隔,光束径の大きさが変化する。
又、ミラー4,5及びTVカメラ6により撮影光学系が構成されている。
【0021】
本実施例の実体顕微鏡において、対物レンズ1とアフォーカルズーム光学系2が観察物体面上の像を形成する第1の結像光学系、観察鏡筒内に配置された光学系(不図示)が第2の結像光学系に相当する。ここでは、第1の結像光学系は対物レンズ1とアフォーカルズーム光学系2で構成されているが、結像機能を有する光学系、変倍機能を有する光学系というように機能を分割することなく、結像機能及び変倍機能を併せもった対物レンズを用いてもよい。
更に、本実施例では、対物レンズ1は固定焦点のものを採用したが、可変焦点ものを用いてもよい。又、アフォーカルズーム光学系2はシングルズーム型の光学系であるが、この他の形態のズーム光学系を用いることもできる。
【0022】
一方、照明光学系は、ライトガイドファイバー7と、このライトガイドファイバー7からの光束を成形するためのレンズ8及び照野絞り9と、ミラー10と、レンズ11と、明るさ絞り12と、明るさ絞り12からの照明光束の光軸を対物レンズ1の光軸と一致させるために対物レンズ1とアフォーカルズーム光学系2との間に配置された光路合成用のハーフミラー13と、により構成されている。ライトガイドファイバー7の射出端面は円形である。又、照野絞り9及び明るさ絞り12は、複数のパターンがターレット上に設けられており、かかるターレットを回転させることにより複数の絞り形状を選択可能にしている。
【0023】
ライトガイドファイバー7から発せられた光は、レンズ8,照野絞り9で成形された後、ミラー10で反射されレンズ11で明るさ絞り12の位置にライトガイドファイバー7の端面像を結像する。更に、ハーフミラー13にて照明系の光軸を対物レンズ1の光軸と略一致させて照明光を導光し、対物レンズ1を介して物体面を照明する。本実施例では、照明開口の大きさはレンズ11の口径の大きさで定まり、円形の光束となる。
【0024】
ところで、焦点位置可変の対物レンズ等のフォーカシング機能を有する構成を採用する場合には、フォーカシングにより観察光束の間隔,光束径の大きさの変化を考慮して設定することになる。
このようにすることで、観察光学系で観察可能な物体位置には、常に照明光が導かれるため影なく観察することができる。又、予め大きな照明開口を形成することで、明るく照明できることに加えて、照明光束の一部を遮蔽することで様々な形態の照明方式を容易に実現することができる。
尚、ここで、照明光束とは、視野中心に集光する照明光の対物レンズ1(第1の結像光学系)の光軸とのなす角度を定める照明光束径の大きさのことをいう。
【0025】
図2は、本実施例の実体顕微鏡の観察光学系と照明光学系との光路を合成するハーフミラー13の位置における視野中心に相当する物体位置へ至る観察光束,撮影光束及び照明光束の範囲を示す図であり、(a)は低倍時,(b)は中倍時,(c)は高倍時の状態を示している。
低倍時は、観察光束が細く、左右の観察光軸の間隔も狭い。高倍時は、観察光束は太く、左右の観察光軸の間隔も広い。この関係は、アフォーカルズーム光学系2のズーム倍率に正比例する関係にある。即ち、観察光束径の大きさφa と、左右の観察光軸と対物レンズ1の光軸との間隔aとは比例関係にある。
【0026】
ところで、実体顕微鏡における観察で重要なのは視野中心であり、特に、手術用顕微鏡の画角は狭くおよそ視野中心の見えで代表して置き換えられる。よって、図2(a)〜(c)に示したように、視野中心へ至る観察光束の位置に対する照明系の射出光束の関係を考えればよい。
観察光学系に対して影のない照明を実現するためには、左右の観察光束の一部が常に照明光の成分を含むようにすることが必要である。具体的には、左右の観察光束と照明光束とが交わるように構成することで実現できる。
【0027】
図2(a)〜(c)に示したように、低倍時には、左右の観察光束の間隔は比較的狭くなり、しかも、観察光束自体が細くなるため、観察光束は全て照明光束に含まれ無影照明を実現できる。高倍時には、観察光束が全て照明光束に含まれることはないが、少なくとも一部は含まれているため、観察系においては影はできない。尚、点線で示した円は照明光束である。
又、本実施例では、撮影光学系が対物レンズ1の光軸より離れた位置に配設されているが、撮影光学系に対しても影が生じない照明が望ましい。このため、観察光束に加えて撮影光束をも含むように照明光束を設定している。加えて、通常の観察時には、左右の観察光束以外の部分から照明することで、より明るい照明が実現できるようにもなっている。
【0028】
図3(a)には、ターレット上に設けられた明るさ絞り12の形状の一例を示す図である。図の斜線部は遮光部を示している。この明るさ絞り12は、照明開口の一部の光束を遮蔽して照明系の角度特性を変えるためのものである。
本実施例の実体顕微鏡は、このような明るさ絞り12を備えたことで、眼科で必要な対物光軸と同軸な照明光による照明と、対物光軸に対して傾いた照明光による照明を実現できる。又、ターレットを回転させることにより、明るさ絞り12の形状が容易に切替え可能になっているため、絞りのみを切替えるだけで照明光の切替えが可能である。又、明るさ絞り12を、遮光部を視野の中心のみとして前記対物レンズ1の光軸から離れた周辺光束を透過する形状とすれば、立体感のある照明効果を得ることができる。
【0029】
図3(b)は、ターレット上に設けられた照野絞り9の形状の一例を示す図である。図の斜線部は遮光部である。この照野絞り9は照明範囲の形状を定めるためのものであり、遮光特性を可変にすることで、更に照明効果を高めることができる。
このことにより、例えば、明るさ絞り12にスリット形状のものを用い、照野絞り9もスリット形状にすれば、スリット状の平行光束を照明光として照射することができる。又、複数の絞り形状を予め交換可能にしておくことにより、容易に通常観察とスリット照明との切替えが可能になる。
【0030】
本実施例では、数種の異なるパターンの照野絞り9及び明るさ絞り12が予めターレット上に設けられているため、異なる絞り形状の交換が容易にできる。よって、手術中であっても、必要に応じて容易に照明の特性を変えることができる。又、この場合、絞りのみの変更なので、術前,術中を問わず交換が容易である。
【0031】
第2実施例
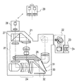
図4は本実施例にかかる実体顕微鏡の概略構成を示す光軸に沿う断面図である(側面方向から見た状態)。本実施例の実体顕微鏡は、鏡体21と、鏡筒光学系22と、接眼光学系23とにより構成されている。鏡体21は、焦点位置を変えるための可変焦点距離の対物光学系24と物体の観察倍率を変えるためのアフォーカルズーム光学系25とを含む観察光学系、及び照明光学系26を備えている。又、前記観察光学系中のアフォーカルズーム光学系25の後側には光路分割プリズム27が配置されており、これにより観察光学系から光路を分割することができ、更に撮影光学系28を備えることにより顕微鏡像の撮影が可能になる。尚、この撮影光学系28は立体視用TVカメラ29と交換可能になっている。
【0032】
更に、鏡体21内において、前記観察光学系の光軸と照明光学系26の光軸とが交わる位置には、これらの光軸を物体面上において一致させるためのハーフミラー30が設けられ、更にこのハーフミラー30の近傍には、ゴースト,フレアの発生を防止するための光吸収フィルター31が設けられている。又、鏡体21の底面部にはカバーガラス32が設けられている。
【0033】
図5は図4に示した実体顕微鏡の観察光学系の詳細な構成を示す図である。この観察光学系では、図示しない物体からの光束は、前記カバーガラス32を経て光路合成手段であるハーフミラー30で反射され、可変焦点距離の対物光学系24及び立体感補正絞り33を介して、その後側に配置されているアフォーカルズーム光学系25へ導かれる。アフォーカルズーム光学系25を経た光束は、光路分割プリズム27にて目視観察光路と撮影観察光路とに分割される。光路分割プリズム27で反射された光束は、その後側に配置されているアフォーカルリレー系34へ導かれる。アフォーカルリレー系34は、その内部で実像を形成し、その後平行光として射出する作用を有している。アフォーカルリレー系34を経た光束は、その後側に配置されている前記観察鏡筒23を介することによって、立体像として観察される。又、光路分割プリズム27を透過した光束は、撮影光学系28へ導かれ、顕微鏡像の撮影がなされる。
【0034】
図6(a)は照明光学系26の構成を示す光軸に沿う断面図である。図6(b)は同図(a)の矢印Aの方向に見た図である。
照明光学系26は、図示しない光源からの光を伝達するライトガイドファイバー35,明るさ絞り36,集光光学系37,照野絞り38,ズームレンズ群39,リレーレンズ40,フォーカスレンズ41,リレーレンズ42,及び照明光を観察物体面へ向けるための射出プリズム43が配置されて構成されている。
【0035】
ズームレンズ群39は2枚の正レンズと1枚の負レンズとからなり、光軸に沿って移動し得るように構成されている。又、フォーカスレンズ41は1枚の正レンズからなり、ズームレンズ群39と同様に光軸に沿って移動し得るようになっている。照明光学系26の変倍は、中倍から高倍にかけてはズームレンズ群39では行われずに、照野絞り38の絞り径を変化させることにより行われる。ズームレンズ群39は前記観察光学系の観察倍率を変えるアフォーカルズーム光学系25の変倍と連動して、観察範囲を良好に照明し得る照明範囲とその照度を設定するためのものである。又、フォーカスレンズ41は、前記観察光学系の焦点位置を観察物体面に合わせる前記対物光学系24と連動して、観察物体面に最適な照明光を提供するためのものである。
尚、各光学系を介して、ライトガイドファイバー35の射出端面と射出プリズム43のファイバ端面結像位置とは共役になっている。
【0036】
本実施例の実体顕微鏡では、照明光学系26の下部にハーフミラー30が配置され、照明光学系26から射出された照明光を図示しない観察物体面へ導き、この観察物体からの観察光を対物光学系24へ導くことができるようになっている。又、ハーフミラー30の近傍に設けられている光吸収フィルター31は、ハーフミラー30によって反射された照明光学系26からの光がゴースト光となって観察光学系へ侵入するのを防止するためのものである。光吸収フィルター31の表面はマルチコート処理がなされており、可視域の光線を吸収できるようになっている。更に、光の透過率を10%以下に抑えるとフレアー除去にも有効である。
【0037】
本実施例の実体顕微鏡では、焦点距離を調整する対物光学系24を構成する各レンズ群の移動により、左右の観察光束の間隔及び各光束径の大きさが変化する。例えば、図7は、ハーフミラー30の位置における視野中心に相当する物体位置へ至る観察光束,撮影系及び照明光束の範囲を示す図であり、(a)は低倍時,(b)は中倍時,(c)は高倍時の状態を夫々を示すものである。ここに示すように、観察倍率が高くなる程各光束径が大きくなると共に左右の観察光束の間隔が拡がってしまい、照明範囲から逸脱してしまうことになる。そこで、本実施例の実体顕微鏡では、前記対物光学系24の後側に立体感補正絞り33を配置することにより、高倍時に左右の観察光束の間隔が拡がる特性に鑑み、高倍時の太くなる左右の観察光束の外側を遮ることで立体感の増大を押さえ込むようにした。よって、図7(c)に示されているように、高倍時には左右の観察光束の外側が削れて半月状になる。このことも、無影照明を維持しながらも、必要以上に射出プリズム43の開口部を大きくせず、鏡体21をよりコンパクトにするための効果を生じさせている。
【0038】
更に、本実施例の実体顕微鏡では、前記対物光学系24の焦点位置調節により各光束の位置が移動する場合にも、常に無影照明と、十分な明るさを供給可能とするめに、観察系の光束と照明系の光束との関係が設定されている。このため、常に観察系で観察可能な部分には照明光が届いているため、影を生じることなく観察できる。
【0039】
但し、大きな照明光束径を確保するためには、照明光学系26内の射出プリズム43の開口を大きくする必要があり、顕微鏡全体のコンパクト化に逆行する。そこで、特にコンパクト化の強い要望のある鏡体21の縦方向の長さを最小限に止め、且つ全体的なコンパクト化を達成するために、ライトガイドファイバー35の射出端形状を長方形にすると共に、射出プリズム43の開口をライトガイドファイバー35の射出端面と相似形の長方形とし、その長手方向を主側の観察者の左右方向に相当するように配置した。これにより、主側観察者に対して無影照明を供給しながらも顕微鏡全体の小型化を実現した。
尚、本実施例の実体顕微鏡では、照明開口の大きさは射出プリズム43の開口の大きさ及び射出プリズム43と共役な位置にあるライトガイドファイバー35の射出端面の大きさによって定まる。
【0040】
一方、撮影光学系28の光軸は、対物光学系24の光軸上に設けられている。このようにすることで、撮影光学系28へ導かれる光束にも常に照明光が含まれるので、影のない観察像が得られる。又、前述のように、撮影光学系28は、立体視用TVカメラ29と付け替え可能となっている。よって、この立体視用TVカメラ29の左右の撮影光軸を観察光学系の観察光軸と一致させることで観察光学系で得られるものと同様の立体的な像を撮像できる。この場合も、立体視用TVカメラ29において影のない画像が得られることは云うまでもない。
又、立体視TVカメラ29は光軸を中心として回転可能に取り付けることができるため、その内部の撮像素子を試料に対して垂直な面内であれば自由に配置することができる。従って、立体視TVカメラ29を、主側の観察方向と同方向に配置することができるし、又主側の観察方向に対して直角な方向に配置することもできる。
【0041】
更に、照明光学系26に備えられている明るさ絞り36及び照野絞り38は着脱可能に構成されているが、以下これらの絞り形状とそれに対する照明効果について図8乃至14に基づき説明する。尚、図中の斜線部は遮光部を示している。
【0042】
図8は、通常使用される明るさ絞り36の構成を示す図である。この明るさ絞り36の形状は遮光部がなく基本となるものある。ここには射出プリズム43の開口の大きさによって照明光束径の大きさが決定される様子が示されている。
【0043】
図9は、眼科分野において必須とされる照明方式を実現するための明るさ絞36の構成を示す図である。ここに示された明るさ絞り36は、前記対物光学系24の光軸に対して、傾いた照明と同軸な照明とを切替えるためのものである。この明るさ絞り36は、四角開口絞り44と移動絞り45とからなっている。四角開口絞り44は、射出プリズム43からの照明光束の一部を遮光し得るように中央に細長い四角開口部44aが形成されている。一方、移動絞り45は、中央に円形開口部45aを有している。従って、この移動絞り45を四角開口絞り44と組み合わせることにより,円形開口部45a以外を通過する光束を遮光することができる。しかも、移動絞り45の円形開口部45aを四角開口絞り44の四角開口44aに沿って図の矢印方向に移動させることで、円形開口部45aの位置を前記対物光学系24の光軸に対して外れた位置から同軸の位置まで連続的に変化させることができる。又、四角開口絞り44は、移動絞り45の移動量を小さくし、移動絞り45をコンパクトにする役割も有している。
このように構成された明るさ絞り36を本実施例の実体顕微鏡の照明光学系26に装着することで、眼科で必須とされる照明方式が実現できる。しかも、かかる明るさ絞り36は単純な2枚構成であり、操作性も申し分ない。
【0044】
図10は、中心部に開口が形成された明るさ絞り36の構成を示す図である。ここに示すように、中心部以外の部分を通過する照明光を遮光する場合、前記ハーフミラー30と観察物体面との間では観察系の光束と重なる部分の照明光束は遮光されてしまうが、観察物体面の必要な部分に照明光が供給されれば観察に支障はないため、何ら問題がない。更に、この明るさ絞り36を用いれば、必要な明るさを確保すべく、開口形状を自由に設定できる点有利である。
【0045】
図11は、中心部に遮光部を有し、この遮光部の周辺に開口部が形成された明るさ絞り36の構成を示す図である。このような明るさ絞り36を用いる照明方式は、従来は行われておらず、より立体感のある観察像が得られる照明を実現できる。
【0046】
図12は、観察物体面に対する照明角度を限定し、しかも照明角度を連続的に変化させる場合の明るさ絞り36の構成が示されている。この明るさ絞り36は細長い開口形状を有しており、図の矢印方向に移動させることが可能になっている。このように構成された明るさ絞り36を、眼内観察等の照明角度を変えて行われる観察に用いる場合、観察物体内の内部散乱の影響を考慮しながら観察できるといった従来なかった照明効果が得られる。
【0047】
図13は、通常の観察に用いられる照野絞り38の構成を示す図である。この照野絞り38は顕微鏡の観察光学系の倍率と同期させて高倍観察時に絞り込むことが可能な構成になっている。
【0048】
図14は、一般的な照明を行う場合とスリット照明を行う場合との開口形状が切替え可能な照野絞り38の構成を示す図である。この照野絞り38は、図の矢印方向に移動させることにより、中央部に細長い開口38aが形成された絞り38bと全く遮光部のない絞り38cとの切替えが可能になっている。特に、開口38aを有する絞り38bを図12に示した明るさ絞りと共に用いることにより、良好なスリット照明を供給できる。
これにより、従来外付けのスリットランプを用いずとも、絞りの操作のみにより眼科分野で用いられるスリットランプと同等の照明を実現できる。
【0049】
以下、本実施例の実体顕微鏡の照明光学系26を構成する各光学部材等の数値データを示す。
【0050】
ライトガイドファイバー35の射出端面 3.27mm×5.42mm
ライトガイドファイバー35の開口数 0.66
射出プリズム43の開口 30mm×51mm
【0051】
【0052】
【0053】
【0054】
【0055】
【0056】
【0057】
以下、変倍と各移動レンズとの関係について表1,2に示す。
【0058】
【0059】
【0060】
第3実施例
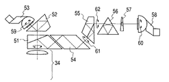
図15は、本実施例にかかる実体顕微鏡の観察光学系の概略構成を示す光軸に沿う断面図である。本実施例では、図5に示された第2実施例の実体顕微鏡の観察光学系とアフォーカルリレー系34の最終レンズまでの構成は同様であるため、ここでは省略されている。又、目視観察における主側,副側に自由度をもたせるため、複数のプリズムが配置されている。
本実施例の実体顕微鏡の観察光学系は、アフォーカルリレー系34の後側に光路分割プリズム51が配置されている。分割された一方の光路には、プリズム52を介して接眼光学系を備えた主側観察鏡筒53が設けられている。又、分割されたもう一方の光路には、プリズム54,プリズム55,イメージローテーター56及び楔型プリズム57を介して接眼光学系を備えた副側観察鏡筒58が設けられている。このようにして、シングルズーム型光学系を実現している。
【0061】
本実施例の実体顕微鏡では、観察光学系の主側観察鏡筒53を矢印59で示される方向に±30°回転させることができる自由度を有している。このため、主側でもかかる回転の自由度を利用して、観察者が観察しやすいように主側観察鏡筒53を回転させてセッティングすることが可能である。更に、主側観察鏡筒53は図の上下方向に180°回転して反転状態にもできる構成となっているため、観察者の眼の位置を反転に伴い上下方向に移動可能で、観察者がより楽な姿勢で観察できるような状態に設定できる。
【0062】
一方、副側観察鏡筒58も矢印60で示すように±30°の範囲で回転可能であるうえ、傾きを変えることが可能になっている。このため、副側で立体視観察できることに加えてより楽な姿勢での観察を可能にしている。更に、副側の観察系において、プリズム54に対してプリズム55以降が矢印61で示される方向に±180°回転可能であり、又、プリズム55に対してイメージローテーター56以降が矢印62で示される方向に±180°回転可能になっている。
【0063】
この構成において、副側の観察系は、矢印60で示される方向への副側観察鏡筒58の回転に応じて、イメージローテーター56が副側観察鏡筒58の回転角度の半分の角度で回転し、正立像を得ることができる。又、楔型プリズム57は、イメージローテーター56のピラミダル加工のエラーによって生じる像の位置移動を補正するために設けられたものである。楔型プリズム57を回転させて補正量を最適に調整した後、イメージローテーター56又はイメージローテーター56と楔型プリズム57とを一体的に移動させることにより、像位置の移動を補正することができる。
【0064】
図16乃至24は、本実施例の実体顕微鏡の観察光学系の構成を示す光軸に沿う断面図である。ここでは、主側観察系を示している。アフォーカルリレー系34以降に配置された各プリズムの構成以外は同様であるため、副側観察系は省略した。図16乃至18は低倍、図19乃至21は中倍、図22乃至24は高倍の状態を夫々示している。
尚、これらのうち、図16,19,22に示された状態の作動距離(Working Distance:以下、WDと称する)は、221.2mm、図17,20,23に示された状態のWDは291.6mm、図18,21,24に示された状態のWDは351.9mmである。又、WDは、カバーガラス32から物体側に6.375mm離れた位置を仮想の物体位置とし、かかる物体位置を基準に測定したものである。
【0065】
図16乃至24に示すように、本実施例の実体顕微鏡では、観察光学系は、図示しない物体側から順に、カバーガラス32,可変焦点距離の対物光学系24,アフォーカルズーム光学系25,アフォーカルリレー系34,光路分割プリズム51,プリズム52,及び主側観察鏡筒53が配置されている。主側観察鏡筒53内には明るさ絞り53aが設けられている。尚、カバーガラス32と対物光学系24との間には図示しない観察物体面上において前記観察光学系と後述する照明光学系の光軸を一致させるためのハーフミラー30が配置されている。又、アフォーカルズーム光学系25の前後には複数のプリズムが配置されている。
【0066】
図25(a)は本実施例の実体顕微鏡に配置される照明光学系の構成を示す光軸に沿う断面図である。図25(b)は同図(a)を矢印B方向に見た図である。この照明光学系の構成は第2実施例とほぼ同様であるが、集光光学系37を2枚のレンズで構成した上、照明光学系の各レンズを固定とし、又、図26(a),(b)に示すように、明るさ絞り61及び照野絞り62が夫々数種類ターレット上に配設され、このターレットを回転させることにより異なる絞り形状のものを交換可能にした点が相違する。尚、同図、斜線部は何れも遮光部を示している。
【0067】
本実施例の実体顕微鏡では、前述のような観察光学系の主側,副側の自由度により、観察系の光束位置が変化する。この様子を図27乃至30に示す。図27乃至30は、本実施例の実体顕微鏡の観察光学系と照明光学系との光路を合成するハーフミラー30の位置における視野中心に相当する物体位置へ至る観察光束及び照明光束の範囲を示す図であり、何れも(a)は低倍時,(b)は中倍時,(c)は高倍時の状態を示している。尚、図27は主側の通常の観察状態、図28は主側観察鏡筒53を±30°回転させた状態の様子を示すものである。又、図29は副側の通常の観察状態、図30は副側観察鏡筒53を±30°回転させた状態の様子を示すものである。
【0068】
本実施例の実体顕微鏡では、前述した観察光学系の主側,副側の自由度に対しても常に十分な明るさを備えた無影照明を供給することを目的としている。そこで、本実施例の実体顕微鏡では、可変焦点距離の対物光学系24の移動による観察光束の位置の移動,アフォーカルズーム光学系25による光束径の大きさの変化,観察系の左右の光軸間隔の変化,及び主側の回転による光束位置の移動,副側の回転,傾きの変化を考慮して、前記目的が達成できるように観察光束と照明光束との関係が設定される。
【0069】
ところで、本実施例の実体顕微鏡の場合、観察光学系の主側の回転に対して、低倍時では、常に観察光束を含むように照明光束径の大きさが設定されているが、高倍時には、観察光束の一部を含むように照明光束の大きさが設定される。
なぜなら、常に観察光束を全てを含むように照明光束径の大きさを設定すると、照明系内の射出プリズム43を大きくする必要があり、コンパクト化に逆行するからである。そこで、本実施例では、顕微鏡鏡体の縦方向の長さを最小限にし、且つ、全体をコンパクトにまとめるために、ライトガイドファイバー35の射出端面形状を長方形にすると共に、射出プリズム43の開口形状をライトガイドファイバー35の射出端面と相似形の長方形とし、その長手方向を主側観察者の左右方向と平行な位置に配置したことで、主側の観察光束に対して優先的に無影照明を供給することができる。
又、副側の観察光学系の位置的な自由度に対しても、その自由度の範囲で、観察光束の一部に照明光束が常に含まれるように射出プリズム43の開口形状が形成されている。
尚、本実施例では、照明開口の大きさは射出プリズム43の開口の大きさにより定まる。
【0070】
更に、本実施例の実体顕微鏡においても、撮影光学系の設置が可能となっている。このとき、撮影光学系は、その光軸が対物光学系24の光軸と一致するように配置される。又、照明光学系の光軸はハーフミラー30により対物レンズ系24の光軸と観察物体面上において一致させている。
【0071】
又、撮影光学系は、第2実施例に示したものと同様に、立体視用のTVカメラと交換可能で、左右の観察光軸の間隔を、観察光学系の光軸間隔と一致させると、良好な立体像を観察できる。
【0072】
以下、本実施例の実体顕微鏡に配置される観察光学系を構成する各光学部材等の数値データを示す。
【0073】
ズーム比 4倍
主側観察鏡筒53及び副側観察鏡筒59の左右光軸間隔 21mm
明るさ絞り53aの口径 9mm φ
【0074】
【0075】
【0076】
【0077】
【0078】
【0079】
【0080】
【0081】
【0082】
【0083】
【0084】
【0085】
【0086】
【0087】
【0088】
【0089】
【0090】
以下、変倍と各移動レンズとの関係を表3,4に示す。
【0091】
【0092】
【0093】
以下、本実施例の実体顕微鏡の照明光学系を構成する各光学部材等の数値データを示す。
【0094】
ライトガイドファイバー35の射出端面 3.27mm×5.42mm
ライトガイドファイバー35の開口数 0.66
射出プリズム43の開口 30mm×51mm
結像位置 カバーガラス32から221mm の位置
照明光学系の焦点距離 -131.791
【0095】
【0096】
【0097】
【0098】
【0099】
【0100】
尚、前述した各実施例の数値データにおいて、r1 ,r2 ,・・・・は各レンズ面等の曲率半径、D1 ,d1 ,・・・・は各レンズ等の肉厚又はそれらの間隔、n1 ,n2 ,・・・・は各レンズ等の屈折率、ν1 ,ν2 ,・・・・は各レンズ等のアッベ数を示している。
【0101】
以上説明したように、本発明による実体顕微鏡は、特許請求の範囲に記載された特徴と併せ、以下(1)〜(6)に示すような特徴も備えている。
【0102】
(1)前記第1の結像光学系の光軸と前記照明光学系の光軸とを略一致させていることを特徴とする請求項1に記載の実体顕微鏡。
【0103】
(2)2組以上の左右の立体観察光学系が備えられていることを特徴とする請求項1に記載の実体顕微鏡。
【0104】
(3)前記アフォーカルズーム光学系の光軸上に撮影光学系の光軸を配置したことを特徴とする請求項1に記載の実体顕微鏡。
【0105】
(4)前記第1の結像光学系は変倍機能を有することを特徴とする請求項1に記載の実体顕微鏡。
【0106】
(5)前記第1の結像光学系は対物レンズとアフォーカルズーム光学系とを備えていることを特徴とする請求項1に記載の実体顕微鏡。
【0107】
(6)略平行なスリット状の光束を生じるために、前記明るさ絞りと前記照野絞りとが共にスリット状に変化し得るようにしたことを特徴とする請求項3に記載の実体顕微鏡。
【0108】
【発明の効果】
上述のように、本発明によれば、シングルズーム型光学系において、対物光学系の光軸と同軸な照明と対物光学系の光軸に対して傾いた照明との切り替えが可能であると共に、無影照明を実現できる。又、スリット照明をはじめとした様々な照明効果が得られる。
【図面の簡単な説明】
【図1】第1実施例にかかる実体顕微鏡の構成を示す光軸に沿う断面図である。
【図2】図1に示されたハーフミラー13の位置における視野中心に相当する物体位置へ至る観察光束,撮影光束及び照明光束の範囲を示す図であり、(a)は低倍時,(b)は中倍時,(c)は高倍時の状態を示している。
【図3】(a)はターレット上に設けられた明るさ絞り12の形状の一例を示す図である。(b)はターレット上に設けられた照野絞り9の形状の一例を示す図である。
【図4】第2実施例にかかる実体顕微鏡の概略構成を示す光軸に沿う断面図である。
【図5】図4に示された実体顕微鏡の観察光学系の詳細な構成を示す図である。
【図6】(a)は図4に示された照明光学系26の構成を示す光軸に沿う断面図である。(b)は(a)を矢印Aの方向に見た図である。
【図7】図4に示されたハーフミラー30の位置における視野中心に相当する物体位置へ至る観察光束,撮影系及び照明光束の範囲を示す図であり、(a)は低倍時,(b)は中倍時,(c)は高倍時の状態を夫々を示している。
【図8】第2実施例の実体顕微鏡における照明光学系26に用いられる明るさ絞り36の構成を示す図である。
【図9】第2実施例の実体顕微鏡における照明光学系26に用いられる明るさ絞り36の構成を示す図である。
【図10】第2実施例の実体顕微鏡における照明光学系26に用いられる明るさ絞り36の構成を示す図である。
【図11】第2実施例の実体顕微鏡における照明光学系26に用いられる明るさ絞り36の構成を示す図である。
【図12】第2実施例の実体顕微鏡における照明光学系26に用いられる明るさ絞り36の構成を示す図である。
【図13】第2実施例の実体顕微鏡における照明光学系26に用いられる照野絞り38の構成を示す図である。
【図14】第2実施例の実体顕微鏡における照明光学系26に用いられる照野絞り38の構成を示す図である。
【図15】第3実施例にかかる実体顕微鏡の観察光学系の概略構成を示す光軸に沿う断面図である。
【図16】第3実施例の実体顕微鏡の観察光学系の構成を示す光軸に沿う断面図である。
【図17】第3実施例の実体顕微鏡の観察光学系の構成を示す光軸に沿う断面図である。
【図18】第3実施例の実体顕微鏡の観察光学系の構成を示す光軸に沿う断面図である。
【図19】第3実施例の実体顕微鏡の観察光学系の構成を示す光軸に沿う断面図である。
【図20】第3実施例の実体顕微鏡の観察光学系の構成を示す光軸に沿う断面図である。
【図21】第3実施例の実体顕微鏡の観察光学系の構成を示す光軸に沿う断面図である。
【図22】第3実施例の実体顕微鏡の観察光学系の構成を示す光軸に沿う断面図である。
【図23】第3実施例の実体顕微鏡の観察光学系の構成を示す光軸に沿う断面図である。
【図24】第3実施例の実体顕微鏡の観察光学系の構成を示す光軸に沿う断面図である。
【図25】(a)は第3実施例の実体顕微鏡における照明光学系の構成を示す光軸に沿う断面図である。(b)は(a)を矢印Bの方向に見た図である。
【図26】(a)は第3実施例の実体顕微鏡の照明光学系に配置される明るさ絞り61の構成を示す図である。(b)は第3実施例の実体顕微鏡の照明光学系に配置される照野絞り62の構成を示す図である。
【図27】図25(a)に示されたハーフミラー30の位置における視野中心に相当する物体位置へ至る観察光束及び照明光束の範囲を示す図であり、(a)は低倍時,(b)は中倍時,(c)は高倍時の状態を示している。
【図28】図25(a)に示されたハーフミラー30の位置における視野中心に相当する物体位置へ至る観察光束及び照明光束の範囲を示す図であり、(a)は低倍時,(b)は中倍時,(c)は高倍時の状態を示している。
【図29】図25(a)に示されたハーフミラー30の位置における視野中心に相当する物体位置へ至る観察光束及び照明光束の範囲を示す図であり、(a)は低倍時,(b)は中倍時,(c)は高倍時の状態を示している。
【図30】図25(a)に示されたハーフミラー30の位置における視野中心に相当する物体位置へ至る観察光束及び照明光束の範囲を示す図であり、(a)は低倍時,(b)は中倍時,(c)は高倍時の状態を示している。
【図31】従来の手術用顕微鏡の構成を示す部分側面断面図である。
【図32】従来の手術用顕微鏡の構成を示す図である。
【図33】図31に示された手術用顕微鏡における照明方式を説明するための図である。
【図34】一般的な手術用顕微鏡における同軸照明の構成を示す図である。
【図35】(a),(b)は図34に示された同軸照明により生じる不具合を説明するための図である。
【符号の説明】
1,71,81 対物レンズ
2,25 アフォーカルズーム光学系
2a,82a 第1レンズ群
2b,82b 第2レンズ群
2c,82c 第3レンズ群
3 観察鏡筒
4,5,10 ミラー
6 TVカメラ
7,35,75 ライトガイドファイバー
8,11 レンズ
9,38 照野絞り
12,36,53a 明るさ絞り
13,30 ハーフミラー
21 鏡体
22 鏡筒光学系
23 接眼光学系
24 対物光学系
26 照明光学系
27,51 光路分割プリズム
28 撮影光学系
29 立体視用TVカメラ
31 光吸収フィルター
32 カバーガラス
33 立体感補正絞り
34 アフォーカルリレー系
37 集光光学系
39 ズームレンズ群
40,42 リレーレンズ
41 フォーカスレンズ
43 射出プリズム
44 四角開口絞り
44a 四角開口部
45 移動絞り
45a 円形開口部
52,54,55 プリズム
53 主側観察鏡筒
56 イメージローテーター
57 楔型プリズム
58 副側観察鏡筒
59,60,61,62 矢印
72,73,74 光学成分
76,77 レンズ系
78 偏向部材
82 変倍光学系
Claims (10)
- 光源と、該光源からの光を物体面に照射するための照明光学系と、前記物体面の像を形成する少なくとも結像性能を有する第1の結像光学系と、該第1の結像光学系の射出側に配置され左右像を形成するための左右開口と、前記左右像を目視又は撮影するための第2の結像光学系を有する観察光学系と、を備え、前記照明光学系と前記観察光学系との光路を合成するための光路合成手段を有する実体顕微鏡において、
前記照明光学系には照明光の照射角度を可変にするための明るさ絞りが備えられており、
前記観察光学系の観察視野中心部へ至る観察光束の少なくとも一部に前記照明光学系からの照明光束が常に含まれるようにしたことを特徴とする実体顕微鏡。 - 前記明るさ絞りは絞り形状をスリット状に交換可能であることを特徴とする請求項1に記載の実体顕微鏡。
- 前記照明光学系には、照明範囲の形状を可変にする照野絞りが備えられていることを特徴する請求項1又は2に記載の実体顕微鏡。
- 前記照野絞りは絞り形状をスリット状に交換可能であることを特徴とする請求項3に記載の実体顕微鏡。
- 前記第1の結像光学系の光軸と前記照明光学系の光軸とを略一致させていることを特徴とする請求項1乃至4のいずれか1項に記載の実体顕微鏡。
- 2組以上の左右の立体観察光学系が備えられていることを特徴とする請求項1乃至5のいずれか1項に記載の実体顕微鏡。
- 前記第1の結像光学系は変倍機能を有することを特徴とする請求項1乃至6のいずれか1項に記載の実体顕微鏡。
- 前記第1の結像光学系は対物レンズとアフォーカルズーム光学系とを備えていることを特徴とする請求項1乃至7のいずれか1項に記載の実体顕微鏡。
- 前記第1の結像光学系の光路上に撮影光学系の光軸を配置したことを特徴とする請求項8に記載の実体顕微鏡。
- 前記明るさ絞りは中心部に遮光部を有していることを特徴とする請求項1乃至9のいずれか1項に記載の実体顕微鏡。
Priority Applications (1)
| Application Number | Priority Date | Filing Date | Title |
|---|---|---|---|
| JP26623697A JP3891663B2 (ja) | 1997-09-30 | 1997-09-30 | 実体顕微鏡 |
Applications Claiming Priority (1)
| Application Number | Priority Date | Filing Date | Title |
|---|---|---|---|
| JP26623697A JP3891663B2 (ja) | 1997-09-30 | 1997-09-30 | 実体顕微鏡 |
Publications (3)
| Publication Number | Publication Date |
|---|---|
| JPH11109254A JPH11109254A (ja) | 1999-04-23 |
| JPH11109254A5 JPH11109254A5 (ja) | 2005-06-09 |
| JP3891663B2 true JP3891663B2 (ja) | 2007-03-14 |
Family
ID=17428168
Family Applications (1)
| Application Number | Title | Priority Date | Filing Date |
|---|---|---|---|
| JP26623697A Expired - Fee Related JP3891663B2 (ja) | 1997-09-30 | 1997-09-30 | 実体顕微鏡 |
Country Status (1)
| Country | Link |
|---|---|
| JP (1) | JP3891663B2 (ja) |
Families Citing this family (12)
| Publication number | Priority date | Publication date | Assignee | Title |
|---|---|---|---|---|
| DE10144062B4 (de) * | 2001-09-07 | 2010-05-27 | Leica Microsystems Ag | Mikroskop mit einer Beleuchtungseinspiegelung |
| JP2006154229A (ja) * | 2004-11-29 | 2006-06-15 | Nikon Corp | 顕微鏡 |
| DE102005018432A1 (de) * | 2005-04-21 | 2006-10-26 | Leica Microsystems (Schweiz) Ag | Optisches System mit Display |
| DE102006009452B4 (de) * | 2005-10-20 | 2010-07-01 | Carl Zeiss Surgical Gmbh | Stereomikroskop |
| JP2007310264A (ja) * | 2006-05-22 | 2007-11-29 | Nikon Corp | ズーム顕微鏡 |
| JP5209906B2 (ja) * | 2007-07-02 | 2013-06-12 | 株式会社目白プレシジョン | 照明装置 |
| EP2185953B1 (de) * | 2007-09-03 | 2017-01-11 | Carl Zeiss Meditec AG | Lichtfalle, einkoppeleinrichtung für einen strahlengang sowie beleuchtungseinrichtung und optische beobachtungseinrichtung |
| DE102009028229B3 (de) | 2009-06-10 | 2010-12-09 | Leica Instruments (Singapore) Pte. Ltd. | Beleuchtungseinrichtung für ein Operationsmikroskop |
| DE102010042351B4 (de) * | 2010-10-12 | 2014-02-13 | Leica Microsystems Cms Gmbh | Mikroskopbeleuchtungssystem, Mikroskop und Verfahren zur schrägen Auflichtbeleuchtung |
| DE102013226784A1 (de) | 2013-12-19 | 2015-06-25 | Leica Microsysteme (Schweiz) AG | Operationsmikroskop |
| KR102142861B1 (ko) * | 2020-05-26 | 2020-08-10 | 주식회사 에프앤디파트너스 | 실시간으로 관찰 및 촬영이 동시에 가능한 더마스코프 장치 |
| CN115644795B (zh) * | 2022-12-12 | 2024-04-09 | 图湃(北京)医疗科技有限公司 | 手术显微镜系统及手术显微镜 |
-
1997
- 1997-09-30 JP JP26623697A patent/JP3891663B2/ja not_active Expired - Fee Related
Also Published As
| Publication number | Publication date |
|---|---|
| JPH11109254A (ja) | 1999-04-23 |
Similar Documents
| Publication | Publication Date | Title |
|---|---|---|
| CN102626342B (zh) | 照明装置及观察装置 | |
| JP3377238B2 (ja) | 細隙灯顕微鏡 | |
| US9055896B2 (en) | Ophthalmoscope for observing an eye | |
| US7990610B2 (en) | Stereomicroscope with repositioning assistant's microscope | |
| JP4422394B2 (ja) | 実体顕微鏡 | |
| JP2004500139A (ja) | 未拡張瞳孔を通した網膜視用目視装置 | |
| JP3891663B2 (ja) | 実体顕微鏡 | |
| US5020891A (en) | Single aperture confocal scanning biomicroscope and kit for converting single lamp biomicroscope thereto | |
| JPH085923A (ja) | 実体顕微鏡 | |
| US6072623A (en) | Slit lamp microscope | |
| JP2004272263A (ja) | 顕微鏡の照明装置 | |
| JP2004154581A (ja) | 検眼装置 | |
| US5099354A (en) | Kit for converting a slit lamp biomicroscope into a single aperture confocal scanning biomicroscope | |
| JP3534733B2 (ja) | 固定高倍率切換型顕微鏡 | |
| JPH03128033A (ja) | 眼科機械 | |
| JP7002817B2 (ja) | 前置レンズ装置及び眼科用顕微鏡 | |
| WO2019066027A1 (ja) | 前置レンズ装置及び眼科用顕微鏡 | |
| JP2021518183A (ja) | 後眼領域および前眼領域を撮像するための眼部撮像デバイス | |
| JP2019092725A (ja) | 前置レンズ装置及び眼科用顕微鏡 | |
| JP2004109488A (ja) | 実体顕微鏡 | |
| JP2019092844A (ja) | 前置レンズ装置及び眼科用顕微鏡 | |
| JP2001340301A (ja) | 眼底撮影装置 | |
| US5652639A (en) | Indirect ophthalmoscope producing an erect stereoscopic image | |
| JP2642416B2 (ja) | 同時立体視式眼底カメラ | |
| JPH06142052A (ja) | 検眼装置 |
Legal Events
| Date | Code | Title | Description |
|---|---|---|---|
| A521 | Written amendment |
Free format text: JAPANESE INTERMEDIATE CODE: A523 Effective date: 20040903 |
|
| A621 | Written request for application examination |
Free format text: JAPANESE INTERMEDIATE CODE: A621 Effective date: 20040903 |
|
| A977 | Report on retrieval |
Free format text: JAPANESE INTERMEDIATE CODE: A971007 Effective date: 20060712 |
|
| A131 | Notification of reasons for refusal |
Free format text: JAPANESE INTERMEDIATE CODE: A131 Effective date: 20060725 |
|
| A521 | Written amendment |
Free format text: JAPANESE INTERMEDIATE CODE: A523 Effective date: 20060920 |
|
| TRDD | Decision of grant or rejection written | ||
| A01 | Written decision to grant a patent or to grant a registration (utility model) |
Free format text: JAPANESE INTERMEDIATE CODE: A01 Effective date: 20061128 |
|
| A61 | First payment of annual fees (during grant procedure) |
Free format text: JAPANESE INTERMEDIATE CODE: A61 Effective date: 20061205 |
|
| FPAY | Renewal fee payment (event date is renewal date of database) |
Free format text: PAYMENT UNTIL: 20101215 Year of fee payment: 4 |
|
| FPAY | Renewal fee payment (event date is renewal date of database) |
Free format text: PAYMENT UNTIL: 20111215 Year of fee payment: 5 |
|
| FPAY | Renewal fee payment (event date is renewal date of database) |
Free format text: PAYMENT UNTIL: 20111215 Year of fee payment: 5 |
|
| FPAY | Renewal fee payment (event date is renewal date of database) |
Free format text: PAYMENT UNTIL: 20121215 Year of fee payment: 6 |
|
| LAPS | Cancellation because of no payment of annual fees |
