JP3887397B2 - 通信装置 - Google Patents

通信装置 Download PDF

Info

Publication number
JP3887397B2
JP3887397B2 JP2006043048A JP2006043048A JP3887397B2 JP 3887397 B2 JP3887397 B2 JP 3887397B2 JP 2006043048 A JP2006043048 A JP 2006043048A JP 2006043048 A JP2006043048 A JP 2006043048A JP 3887397 B2 JP3887397 B2 JP 3887397B2
Authority
JP
Japan
Prior art keywords
communication
signal
communication element
conductive layer
layer
Prior art date
Legal status (The legal status is an assumption and is not a legal conclusion. Google has not performed a legal analysis and makes no representation as to the accuracy of the status listed.)
Expired - Lifetime
Application number
JP2006043048A
Other languages
English (en)
Other versions
JP2006238439A (ja
Inventor
裕之 篠田
光弘 箱崎
欣雨 王
直也 浅村
Current Assignee (The listed assignees may be inaccurate. Google has not performed a legal analysis and makes no representation or warranty as to the accuracy of the list.)
Cell Cross Corp
Original Assignee
Cell Cross Corp
Priority date (The priority date is an assumption and is not a legal conclusion. Google has not performed a legal analysis and makes no representation as to the accuracy of the date listed.)
Filing date
Publication date
Application filed by Cell Cross Corp filed Critical Cell Cross Corp
Priority to JP2006043048A priority Critical patent/JP3887397B2/ja
Publication of JP2006238439A publication Critical patent/JP2006238439A/ja
Application granted granted Critical
Publication of JP3887397B2 publication Critical patent/JP3887397B2/ja
Anticipated expiration legal-status Critical
Expired - Lifetime legal-status Critical Current

Links

Images

Landscapes

  • Waveguides (AREA)
  • Near-Field Transmission Systems (AREA)
  • Data Exchanges In Wide-Area Networks (AREA)

Description

本発明は、信号を伝達する通信装置および信号の伝達を実現するための通信デバイスに関し、特に複数の通信デバイスを用いて信号の伝達を行う通信技術に関する。
LAN(Local Area Network)やWAN(Wide Area Network)などの通信ネットワークにおいて、複数の通信端末が同軸ケーブルや光ファイバなどを用いて接続されている。これらの通信端末は、ネットワーク中のアドレスを指定することにより、所望の通信端末に信号を伝達する。また、従来の基板実装技術においては、基板にアルミニウムや銅などで配線を形成し、この配線によりLSIやメモリなどの回路素子を電気的に接続する。
このように、従来の通信ネットワークや基板実装などの技術分野においては、素子間を接続する配線を形成することが前提とされており、これらの配線を介して信号の送受が実現されている。
しかしながら、存在する全ての素子を個別配線により接続することは、特にその数が膨大な場合に非常に困難となる。例えばLANにおいては複数の端末をケーブルにより接続するが、ケーブルを差し込むポート数やIPアドレスの設定数などの問題により、接続可能な端末の数に制約が生じる。また基板の実装技術を考えた場合、素子数が多くなると配線数も多くなるため、基板面積の問題から配線を細くするなど非常に複雑な回路設計が必要となり、やはり搭載可能な素子数に制約が生じる。
さらに、通信ネットワークや実装基板においては端末や素子などを個別配線により物理的に接続しているため、仮に配線が切断された場合には信号を伝達することができなくなり、通信機能が停止する事態も生じうる。
そこで本発明は、このような従来の通信技術に関する問題を解決するべく、通信装置および通信デバイスに関する新規な通信技術を提供することを目的とする。また、本発明は、この新規な通信技術を応用した基板実装技術やセンサ技術を提供することも目的とする。
上記課題を解決するために、本発明の一つの態様は、導電層あるいは電磁作用伝達層に電気的に接続した複数の通信素子を備えた通信装置であって、各通信素子がその周辺に配置された他の通信素子に対して導電層を介して信号を伝達する通信機能を有することを特徴とする通信装置を提供する。この通信装置において、各通信素子の通信距離は有限に設定され、その通信距離内に存在する通信素子のみに信号が伝達されることが好ましい。さらに、この通信距離は、通信装置における通信素子密度ないしは信号伝達のスループットに応じて設定されることが好ましい。電磁作用伝達層は、交流信号を伝達可能な層を意味し、例えば直流抵抗は絶縁体としての性質を有していても、交流的には容量性のインピーダンスとして機能する層を含む。
本発明の別の態様は、分散して配置された複数の通信素子を備える通信装置であって、各通信素子の通信距離は周辺に配置された他の通信素子と局所的な通信を行える程度に設定されており、この局所的な通信により通信素子間で信号を順次伝達することによって、目的とする通信素子まで信号を伝達することを特徴とする通信装置を提供する。この通信距離は、通信装置における通信素子密度ないしは信号伝達のスループットに応じて設定されることが好ましい。
これらの態様において、通信素子間には個別の配線が形成されていないことが好ましい。個別配線を形成しないことによって、従来問題であった断線のリスクを回避することが可能となる。
複数の通信素子は、通信の管理機能の低いものから順に1次からN次までの階層に分類されてもよい。それぞれの通信素子にはIDが設定されてもよく、高次の通信素子は、自身が管轄する低次の通信素子をIDによって見分けることができる。各階層の通信素子がその周囲の一定の距離までに存在する他の通信素子に信号を伝達する1次通信素子としても機能することにより、1次の階層で周辺の通信素子との局所的な通信を実現することが可能となる。M次通信素子は、(M−1)次通信素子が有する通信管理に必要な機能を少なくとも有しており、M次通信素子の配置密度は、(M−1)次通信素子の配置密度よりも低く設定することが可能である。
M次通信素子は、自身から所定の範囲内に配置された(M−1)次通信素子を管轄することが好ましい。ここで所定の範囲は、自身からの距離であってもよく、また信号を中継する通信素子の個数により設定されてもよい。M次通信素子は、自身が管轄する(M−1)次通信素子までの経路を、他の(M−1)次通信素子を経由する経路として記憶することが好ましい。さらにM次通信素子は、自身から所定の範囲内に配置された他のM次通信素子までの経路を、(M−1)次通信素子を経由する経路として記憶することが好ましい。
M次通信素子は、2次からM次までの各階層の通信素子として機能することができ、ある階層の通信素子として機能する場合には、その階層において設定された範囲内に配置された1階層下の通信素子を管轄することができる。この範囲は各階層ごとに設定されることが好ましい。(M−1)次通信素子は、自身を管轄するM次通信素子までの経路の少なくとも一部を、他の(M−1)次通信素子を経由する経路として記憶することが好ましい。
2次通信素子は近傍応答要求を発信し、この近傍応答要求を受け取った1次通信素子から返信される応答に基づいて、該応答を返信した1次通信素子に対してIDを設定してもよい。IDとは、通信素子を識別するための数字、コード、記号などを含み、一般にアドレスと呼ばれるものも含む概念である。
2次通信素子は、IDを設定した1次通信素子に対して近傍調査要求を発信し、この近傍調査要求を受け取った1次通信素子は、近傍応答要求を発信して周辺の1次通信素子の存在を調査し、該2次通信素子は、応答を返信した1次通信素子に対してIDを設定してもよい。2次通信素子は、近傍調査要求を繰り返し発信して、IDを設定して管轄する1次通信素子の数を増やしていき、且つ、自身が管轄する1次通信素子との間の経路を順次設定していくことが好ましい。
3次以上の通信素子は、2次通信素子としても機能して、1次通信素子に対してIDを設定することが好ましい。3次以上の通信素子は、3次から自身の階層までの各階層の通信素子として機能することができ、各階層の通信素子として連鎖近傍応答要求を発信して、各階層ごとに管轄する1階層下の通信素子をそれぞれ設定することが好ましい。3次以上の通信素子は、管轄する通信素子との間の経路を設定することが好ましい。
データ信号のパケットには、最終目的地である通信素子に到達するために利用される各階層内の経路データが含まれる。(M−1)次の階層内の経路データは、送信元の通信素子から最終目的地である通信素子までの経路の途中に位置するM次通信素子までの経路データを含むことが好ましい。パケットには、次にパケットを受け取るべき通信素子を特定するための受信IDが含まれる。通信素子は、受信IDに基づいてパケットを受け取ると、次にパケットを受け取るべき通信素子の受信IDを設定して前記パケットを発信することが好ましい。通信素子は、パケットに含まれる経路データに基づいて受信IDを設定することが好ましい。各通信素子は、受信IDに基づいてパケットを受け取ると、経路データを更新して前記パケットを発信することが好ましい。各通信素子にはIDが割り当てられており、高次の通信素子はパケットに含まれるIDを参照することによって、そのIDにより特定される通信素子が自身の管轄下にあるか否かを判断することができてもよい。例えば、パケットに送信先の通信素子を特定するIDが含まれており、そのIDが自身の管轄下の通信素子であることを示す場合には、その通信素子までの経路を設定して、パケットを転送することが好ましい。
本発明のさらに別の態様は、有効通信距離内に存在する他の通信素子に対して信号を発信する通信デバイスであって、絶縁された第1信号層および第2信号層と、これらの層に電気的に接続する通信素子を備え、通信素子の抵抗および容量とに基づいて有効通信距離が定められ、通信素子が前記第1信号層または第2信号層に電荷を放出することにより信号を発信することを特徴とする通信デバイスを提供する。この有効通信距離は、さらに第1信号層および/または第2信号層の抵抗、インダクタンス、これら2層間の容量に基づいて定められてもよい。
本発明のさらに別の態様は、有効通信距離内に存在する他の通信素子に対して信号を発信する通信デバイスであって、第1信号層および第2信号層と、これらの層に電気的に接続する通信素子を備え、該通信素子内において前記第1信号層および第2信号層を導通させることによって信号を発信することを特徴とする通信デバイスを提供する。第1信号層および第2信号層は適当なインピーダンスを介して導通されることが好ましく、この導通には、短絡(ショート)させる場合も含まれる。
この通信デバイスは、前記第1信号層および第2信号層よりも高い抵抗を有し、且つこれらの層を導通させる高抵抗層を更に備えてもよい。また前記第1信号層よりも高い抵抗を有し且つ前記第1信号層に電気的に接続する高抵抗層と、この高抵抗層に電気的に接続して前記通信素子に電力を供給する電源層とを備えてもよい。前記有効通信距離は、前記第1信号層の抵抗に基づいて定められる。さらに、この有効通信距離は、高抵抗層の抵抗および第1信号層と第2信号層間の容量に基づいて定められてもよい。該通信素子は、前記第1信号層および第2信号層を短絡させることによって信号を発信してもよい。
前記第2信号層は接地されたグランド層であってもよい。通信素子に電力を供給する方法として、信号発信を行っていない間に前記通信素子のコンデンサを充電してもよい。前記第1信号層および第2信号層は、導電性の柔軟体あるいは網状物体により形成されていることが好ましい。通信デバイスを柔軟体あるいは網状物体で形成することにより、伸縮自在な通信装置を構成することが可能となる。
本発明のさらに別の態様は、所定の有効通信距離の範囲内で信号を伝達する通信機能を有する複数の回路素子を導電性基板上に分散して配置させることにより、回路素子間に個別の配線を形成することなく回路素子を基板に搭載する基板実装方法を提供する。配線を形成しないため、回路素子の搭載場所を任意に設定することができ、ユーザがカスタムLSIなどを自由に作製することが可能となる。
本発明のさらに別の態様は、応力あるいは温度を測定しそれを符号化された信号に変換する回路を備えたセンサ素子と、該センサ素子からの出力信号を伝達するための導電性の柔軟体から構成されることを特徴とする触覚センサを提供する。
前記センサ素子の電気的に連続した導電性ゴム領域に複数のセンサ素子の信号端子が接続されていてもよい。また前記センサ素子に2つの電極が設けられ、前記柔軟体の2層の導電性ゴムにそれらが電気的に接触していてもよい。前記センサ素子から突き出されたピン状突起物によって、前記柔軟体の2層以上の導電性ゴムに、前記センサ素子の電極が電気的に接触していてもよい。前記センサ素子の1面に2つあるいは3つの電極があり、前記柔軟体の単一層内に形成された導電性ゴムの複数の領域に各電極が電気的に接触していてもよい。
前記センサ素子のLSIチップとそれに接続された電極部品間の容量の変化から周囲応力を検出してもよい。前記センサ素子に接続する電極部品をその中心近くの微小面積で支持することにより、電極表面における圧力の不均一に対して感度よく電極を変形させることが可能となる。
前記センサ素子のLSIチップとそれに接続された感圧導電性ゴムの抵抗変化から周囲応力を検出してもよい。また前記センサ素子のLSIチップ上の光センサに到達する光量変化から周囲応力を検出してもよい。
本発明のさらに別の態様は、有効通信距離内に存在する他の通信素子に対して信号を伝達する通信デバイスであって、絶縁された第1信号層および第2信号層と、これらの層に電磁的に接続する通信素子を備え、電磁波の減衰率に基づいて有効通信距離が定められ、通信素子が前記第1信号層または第2信号層に電磁波を放出するかまたは光を放出することにより信号を発信することを特徴とする通信デバイスを提供する。
なお、本発明の表現を装置、方法、システムの間で変換したものもまた、本発明の態様として有効である。
本発明によれば、新規な通信装置およびこれを応用した新規な触覚センサなどを提供することができる。
図1は、本発明による通信技術の方式を説明するための図である。本発明による通信技術は、大別すると連鎖伝達型と直接伝達型の方式に分けられる。いずれの場合も環境内に複数の通信素子が存在し、この環境内には通信素子間を物理的に接続するための個別配線が形成されていないことが好ましい。例えば、これらの通信素子は平坦な導電層または導電性基板、交流信号を伝達可能な電磁作用伝達層などに接続された構成であってもよく、また無線により信号の送受が行えるように構成されてもよい。信号の送信は、導電層における電荷の放出により実現されてもよく、また光や電磁波を放出することにより実現されてもよい。ここで通信素子は、チップとして構成されるものに限定されず、本発明の実施の形態において説明する通信機能を備えたものを含む概念であり、その形状は問わない。連鎖伝達型の通信技術とは、近傍に位置する通信素子間で局所的に信号を順次連鎖的に伝達することによって、信号を最終目的地である通信素子まで伝達する方式であり、直接伝達型の通信技術とは、信号を最終目的地である通信素子まで直接伝達する方式である。
各通信素子は、信号の伝達可能な距離(以下、「有効通信距離」とも呼ぶ)を比較的短く設定されていることが好ましい。信号の通信距離を長くすることは、それだけ電力消費量を大きくし且つ通信に寄与しない他の通信素子に対して悪影響を及ぼす可能性がある。そのため特に連鎖伝達型の通信方式では自身の近傍に存在する通信素子に信号を伝達できれば十分であるため、有効通信距離は周辺の通信素子までの平均距離に応じて設定されることが好ましい。また直接伝達型の通信方式であっても環境内における通信素子間の最長距離よりも無用に長く有効通信距離を設定することは好ましくない。そのため、有効通信距離は、通信素子間の距離に応じて設定されることが好ましい。
本発明の通信技術は、様々な用途に応用することができる。例えば、LSIやメモリなどの電子部品(回路素子)に本発明の通信機能をもたせることによって、各電子部品を個別に配線することなく、複数の電子部品を基板実装する技術を提供することが可能である。また、近年、皮膚の感覚を持つロボットの研究が盛んに行われているが、ロボットの触覚センサに本発明の通信機能をもたせ、触覚センサの検知情報をロボットの頭脳コンピュータに送信する技術を提供することも可能である。また建物の床に本発明の通信機能を有するセンサを点在させることにより、一人暮らしの老人の行動を監視したり、留守中の防犯に役立てることも可能である。また、発光素子に本発明の通信機能をもたせることにより、布状の表示装置などを製造することも可能となる。また、タグに本発明の通信機能をもたせることにより、安価で精度のよい情報の読み取りを可能とするタグを作製することも可能となる。さらに無線通信素子に本発明の通信機能をもたせて例えばコンピュータにそれを装備させ、無線通信素子の近傍に相手方のコンピュータの無線通信素子を配置することによって、コンピュータ間の情報の送受信を容易に行うことも可能となる。
この通信技術は、比較的短い距離に配置された通信素子間で信号を伝達するため、距離による信号の減衰および劣化がなく、高いスループットでノード数によらない高速伝送を可能とする。また環境内に多くの通信素子を分散して配置させることにより、センサなどの所定の機能をもつチップとの情報交換媒体として広範囲の信号伝達領域を実現する。また、通信素子を比較的自由な位置に配置することができるため、簡易な設計により所望の機能を備えた人工皮膚や表示装置などを実現することも可能である。また、各チップに通信機能をもたせるため、配線などの基板回路設計を不要とし、少ないプロセスで基板回路を製造することも可能である。通信素子を導電層で挟持する場合には電磁ノイズ放射がなくなるため、特に病院などの公共性の高い場所においてはその有用性が高い。さらに、導電層などに障害が生じた場合であっても、チップ間の経路を再設定することができ、新たな通信経路を確立することができるという自己修復機能もあわせ持つ。
図2は、本発明による通信方式を説明するための図を示す。
図2(a)は連鎖伝達型の通信方式の概念図であり、小さな円で示す複数の通信素子が環境内に分散して配置されている状態を示している。各通信素子は、その周辺に配置された他の通信素子に対して信号を伝達する通信機能を有している。通信素子の有効通信距離は、周辺に配置された他の通信素子と局所的な通信を行える程度に設定されているのが好ましく、この局所的な通信により通信素子間で信号を順次伝達することによって、最終目的地である通信素子まで信号を伝達する。
信号の送信元が通信素子200aであり、最終目的地が通信素子200bである場合、連鎖伝達型の通信方式においては、信号が、通信素子200aから通信素子200cおよび200dを介して通信素子200bに伝達される。信号の伝達方法としては、例えば通信素子200aが、信号が届く範囲にある周辺の全ての通信素子に信号を伝達し、それからこの信号を受けた全ての通信素子が更に周辺の通信素子に信号を伝達することによって、信号を最終目的地まで同心円状に伝達させてもよい。さらに好ましい方法としては、通信素子200aおよび200b間の経路を予め設定しておき、この経路を用いて特定の通信素子のみを介して信号を伝達してもよい。特に後者の方法を採用する場合には、信号伝達に必要な通信素子のみが発信するため、電力消費を少なくすることができ、また他の通信素子の通信に対する干渉を低減することも可能となる。連鎖伝達型の通信方式における経路の設定方法および信号伝達の方法については、後に詳細に説明する。
図2(b)は、直接伝達型の通信方式の概念図であり、送信元である通信素子200aから送信先である通信素子200bまで信号が直接伝達される。送信元である通信素子200aは他の通信素子と同様の構成を有していてもよく、また外部から接続されたホストコンピュータなどであってもよい。直接伝達型の通信方式における信号伝達の方法についても後述する。
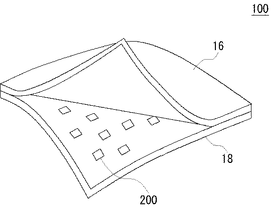
図3は、本発明の第1の実施の形態にかかる通信装置100の外観構成を示す図である。この通信装置100においては、複数の通信素子200が2枚の導電層16および18によって挟持されている。各通信素子200は、この2枚の導電層16および18に電気的に接続される。導電層16および18は、単層構造を有していても、また多層構造を有していてもよく、この例では二次元的に一面に広がった構成を有している。図3では、通信素子200が挟持されていることを説明するために、導電層16と導電層18とを開いた状態が示されている。
例えば、本発明による通信装置100をロボットの表面を覆う人工皮膚として応用する場合、導電層16および18は導電性のゴム材料により形成されることが好ましい。可撓性のあるゴム材料で人工皮膚を形成することにより、この人工皮膚はロボットの動作に合せて自在に伸縮することが可能となる。また、個別配線が存在せず、伸縮性のある導電層16および18を介して信号を伝達するため、断線などにより通信機能に障害が生じる可能性を低減し、安定した通信機能を実現することも可能となる。また、本発明による通信装置100を回路基板として応用する場合、導電層16および18を導電性のゴム材料で形成することによって、フレキシブルな回路基板を実現することも可能となる。
各通信素子200は通信機能以外に、さらに他の機能を有していてもよい。通信装置100をロボットの人工皮膚として応用する場合には、通信素子200のいくつかが触覚センサとしての機能も有し、外部から受けた刺激を検出した後、他の通信素子と協同して検出した信号を目的の通信素子まで伝達する。また通信装置100を基板の実装技術として応用する場合には、通信素子200が、例えばLSIやメモリなどの回路素子としての機能を有してもよい。このように、本明細書において「通信装置」は少なくとも通信機能を有する装置の意味で用い、これに付加した他の機能、例えば人工皮膚としてのセンサ機能や電子回路としての演算機能などを有してもよいことは、当業者に理解されるところである。
図4は、通信素子200の機能ブロック図である。通信素子200は、通信部50、処理部60およびメモリ70を備える。通信部50は、導電層16および18(図3参照)を介して、他の通信素子との間で信号の送受を行う。処理部60は、通信素子200の通信機能を制御する。具体的に処理部60は、周囲の信号の監視、受信信号の解析や、送信信号の生成および信号の送信タイミングなど他の通信素子200との間の信号伝達に関する行為を自発的に行うことが好ましい。また、処理部60は、センサ機能や演算機能など通信機能以外の他の機能を実現してもよい。メモリ70は、通信機能や他の機能を実現するために必要な情報を予め記憶し、また必要に応じて順次記憶していく。
図5は、通信装置100の断面を示し、局所的通信を実現する通信デバイスの構造の一例を説明するための図である。本明細書において「通信デバイス」は、通信機能を実現するための構造の意味で用い、具体的には有効通信距離内に存在する他の通信素子に対して信号を伝達する構造を示す。
この例において通信デバイスは、第1信号層20および第2信号層30と、これらの層に電気的に接続する通信素子200を備える。第1信号層20および第2信号層30は絶縁されており、第2信号層30は接地されたグランド層であってもよい。第1信号層20および第2信号層30は導電層である。この通信デバイスにおいて、有効通信距離は第1信号層20または第2信号層30の抵抗と、第1信号層20と第2信号層30の間の容量に基づいて定められ、第1信号層20または第2信号層30に電荷を放出することにより信号を発信する。各通信素子はコンデンサを有しており、放出された電荷は有効通信距離内に配置されている周辺の通信素子のコンデンサに蓄積される。周辺の通信素子は、第1信号層20と第2信号層30の間の電圧変化により信号を認識する。このように図5に示した通信デバイスはコンデンサを駆動するように振る舞、この通信デバイスを「電荷蓄積型」の通信デバイスと呼んでもよい。なおこの呼び名は、説明の便宜上、後述する「電流拡散型」の通信デバイスと区別するために名付けたものであって、図5に示した通信デバイスの特性および構成が、この呼び名の意味により限定されるものではない。
図6は、電荷蓄積型の通信デバイスが信号を発信する原理を説明するための図である。図6(a)は、駆動用コンデンサ34bを充電する通信素子200の状態を示す。主コンデンサ34aは、通信素子200全体を駆動するために必要な電荷を蓄積し、駆動用コンデンサ34bは、通信層36を駆動するために必要な電荷を蓄積する。通信層36は、第1信号層20および第2信号層30(図5参照)を模式的に表したものである。駆動用コンデンサ34bの充電時には、スイッチ32aを開き、スイッチ32bを閉じる。なお、各スイッチ32aおよび32bは、処理部(図4参照)により所定のタイミングで開閉される。なお本方式により、後述の電流拡散型の通信デバイスを駆動することも可能である。
図6(b)は、駆動用コンデンサ34bを放電する通信素子200の状態を示す。駆動用コンデンサ34bの放電時には、スイッチ32aを閉じ、スイッチ32bを開く。この通信デバイスは、駆動用コンデンサ34bの電荷を通信層36に放電することによって信号を発信する。1ビットの送信ごとに、主コンデンサ34aから駆動用コンデンサ34bに電荷を移動し、駆動用コンデンサ34bの電荷を通信層36に放電することによって、連続した通信を実現することが可能となる。
通信層36の面抵抗率がρ[Ω]、単位面積あたりの容量がC[F/m2]である場合、角周波数ω[rad/s]の信号の有効伝達距離(有効通信距離)D[m]は、
Figure 0003887397
のように与えられる。このように、通信デバイスの有効通信距離は、通信層36の抵抗および容量に基づいて定められる。そのため、通信層36の抵抗および容量を適宜設定することにより、所望の有効通信距離を実現することが可能となる。
特に連鎖伝達型の通信方式においては、近傍の通信素子200との間で信号の送受を行うことができればよいため、有効通信距離を可能な限り短く設定することが好ましい。例えば通信装置100内において、通信素子200間の距離が10cm以内となるような密度で複数の通信素子200が配置されている場合には、有効通信距離が10cm程度となるように通信層36の抵抗および容量を設定することが好ましい。有効通信距離を短く設定することによって、他の通信素子200への干渉や無用な電力消費を低減することが可能となる。
以上の原理を数式を用いて説明する。説明の簡単のため、1次元問題とし、原点に存在する微小電極に電圧V
V=V0exp(jωt)
が印加されたとすると、位置xにおける電圧Vは、
Figure 0003887397
として表現される。
図7は、V/V0の実部を縦軸、x/Dを横軸とするグラフであって、電荷蓄積型の通信デバイスにおける電圧と通信距離の関係を示す図である。原点から離れるにつれ、電圧の振幅は指数関数的に減少するため、有効通信距離Dを大きく越える距離への影響は無視できることが分かる。したがって、この有効通信距離Dを通信素子200の密度に応じて好適に設定することにより、効率よい通信を実現することが可能となる。
図8は、通信装置100の断面を示し、局所的な通信を実現する通信デバイスの構造の別の例について説明するための図である。この通信デバイスは、スイッチング動作によって第1信号層20と第2信号層30の間を導通させ、その電圧降下によって信号を発信、この通信デバイスを「電流拡散型」の通信デバイスと呼んでもよい。なおこの呼び名は、説明の便宜上、前述した「電荷蓄積型」の通信デバイスと区別するために名付けたものであって、図8に示す通信デバイスの特性および構成が、この呼び名の意味により限定されるものではない。
図8(a)は、電流拡散型の通信デバイスの構造の一例を示す図である。この通信デバイスは、第1信号層20および第2信号層30と、これらの層に電気的に接続する通信素子200を備える。第2信号層30は接地されたグランド層であってもよい。第1信号層20および第2信号層30は、これらの層よりも高い抵抗値を有する高抵抗層40によって導通される。具体的には、通信素子200の周囲に高抵抗層40が設けられ、この通信素子200および高抵抗層40とが第1信号層20および第2信号層30に挟持される。高抵抗層40の抵抗値を第1信号層20および第2信号層30の抵抗値と比較して適切に設定するか、または通信素子200の2つの電極間を素子内部において適切な抵抗値で常時導通させることにより、通信素子200内において第1信号層20および第2信号層30をスイッチング動作により導通させた場合に、発信した信号が遠くまで広がらず、有効通信距離を近傍の通信素子までの短い距離に設定することが可能となる。
図8(b)は、電流拡散型の通信デバイスの構造の別の例を示す図である。この通信デバイスは、第1信号層20および第2信号層30と、これらの層に電気的に接続する通信素子200を備える。第2信号層30は接地されたグランド層であってもよい。第1信号層20および第2信号層30は絶縁されており、第1信号層20には、第1信号層20よりも高い抵抗値を有する高抵抗層42が電気的に接続され、この高抵抗層42には、通信素子200に電力を供給する電源層44が電気的に接続されている。具体的には、第1信号層20上に、高抵抗層42および電源層44とがこの順に積層されている。第1信号層20および第2信号層30が絶縁されることにより、これらの層間において電流が定常的に流れる状態を回避することができる。第2信号層30と電源層44は、その抵抗値が非常に小さくなるように形成される。
第1信号層20の抵抗は、有効通信距離に基づいて設定される。すなわち第1信号層20の抵抗を高抵抗層42との関係において適切に定めることによって、電流の拡散範囲を設定することが可能となる。なお単位面積あたりで、高抵抗層42の縦方向インピーダンスが、第1信号層20と第2信号層30および電源層44との間の静電容量によるインピーダンスZよりも大きい場合には、拡散距離は第1信号層20の抵抗とインピーダンスZによって決まる。
以上の原理を数式を用いて説明する。説明の簡単のため、第1信号層20の厚みは無視できるほど薄いものとする。第1信号層20と電源層44の間の静電容量と、第1信号層20と第2信号層30の間の静電容量の和がC[F/m2]、高抵抗層42の抵抗率および厚さがそれぞれη[Ωm]およびd[m]、第1信号層20の面抵抗がρ[Ω]、角周波数がω[rad/s]である場合、第1信号層20の電位V(x,y)の非定常成分は、
Figure 0003887397
を満たす。したがって、
ηd<1/ωC (電流拡散条件)
の場合には、1/ηdの寄与が支配的となり、電流拡散型の信号伝達を実現することができる。これを1次元問題として考えると、原点に存在する微小電極に印加される電圧V
V=V0exp(jωt)
に対して、位置xにおける電圧Vは、
Figure 0003887397
として表現される。この式により明らかなように、信号が到達する範囲内において信号の位相遅れは発生しない。ここで、有効通信距離Dは、
Figure 0003887397
である。
この数式に含まれる各要素、例えば第1信号層20の抵抗を適宜設定することにより、所望の有効通信距離を得ることが可能となる。
図8(c)は、電流拡散型の通信デバイスの構造の別の例を示す図である。この通信デバイスは、第1信号層20および第2信号層30と、これらの層に電気的に接続する通信素子200を備える。第1信号層20および第2信号層30は絶縁されており、第1信号層20には、第1信号層20よりも高い抵抗値を有する高抵抗層42が電気的に接続され、この高抵抗層42には、通信素子200に電力を供給する電源層44が電気的に接続されている。同様に、第2信号層30には、第2信号層30よりも高い抵抗値を有する高抵抗層46が電気的に接続され、この高抵抗層46には、通信素子200に電力を供給する電源層48が電気的に接続されている。具体的には、第1信号層20の上面に、高抵抗層42および電源層44とがこの順に積層されており、第2信号層30の下面に、高抵抗層46および電源層48とがこの順に積層されている。図8(b)に示した通信デバイスは、通信素子200の片面のみに積層構造を形成していたが、図8(c)のように、通信素子200の両面に上下対称な積層構造を形成してもよい。各層の構成および特性については、図8(b)において説明したとおりである。
図9は、電流拡散型の通信デバイスが信号を発信する原理を説明するための図である。主コンデンサ34は、通信素子200全体を駆動するために必要な電荷を蓄積する。通信層36は、第1信号層20および第2信号層30(図8参照)を模式的に表したものである。この通信素子200は、スイッチ32のスイッチング動作により電極間インピーダンスを変化させ、信号を発信する。なおスイッチ32は処理部(図4参照)により所定のタイミングで開閉される。なお本方式で、電荷蓄積型の通信デバイスを駆動することも可能である。
スイッチ32を閉じると、第1信号層20および第2信号層30とが短絡する。その結果、第1信号層20と第2信号層30の間に電圧降下が生じ、近傍の通信素子がその影響を受け、この電圧降下を信号として認識する。前述のとおり、連鎖伝達型の通信方式においては、この電圧降下の影響は、近傍の通信素子に伝達されればよく、遠くに位置する通信素子にまで伝達される必要はない。有効通信距離を近傍に位置する他の通信素子の距離程度に設定することにより、電力消費を少なくすることができ、また他の通信素子との干渉を低減することも可能となる。
次に、通信素子200に電力を供給する方法について説明する。その一つの方法として、図8(b)を参照して、通信デバイスを多層構造に形成することにより、電源層44から電力を通信素子200に供給することが可能である。通信素子200と電源層44との間に高抵抗層42を介在させることにより、電荷が低抵抗である電源層44全面に供給されるため、通信装置100全体に分布している通信素子200のコンデンサを安定して充電し、且つ通信距離を適切な距離まで拡大するとともに信号伝達の際の電力消費を抑えることができる。
図10は、通信素子に電力を供給する別の構成を示す図である。この例では、通信装置100に電力供給線52と給電点54とが形成され、電力が電力供給線52から給電点54を介して、通信装置100内の通信素子に供給される。このときの電力供給方法として、例えば、通信素子の信号送受信期間と充電期間とを時間的に分けてもよい。ある通信素子が信号を送信する際には、周囲の素子の端子間インピーダンスを高く保ち、電力を供給する際には、全ての素子の信号送信を停止して、通信素子のコンデンサに一斉に充電する。特に、通信素子が第1信号層および第2信号層からなる2層構造を有し、電源層を含む多層構造をとらない場合には、このような電力供給線52を形成してもよい。
以上、図5から図10を通じて、通信デバイスの具体的な構造について説明したが、通信デバイスは上述した構造に限らず、周辺の通信素子との間で信号を送受できるものであればよい。以下に、局所的な通信を行う通信デバイスを用いた連鎖伝達型の通信方式の詳細について説明する。
本実施の形態において、連鎖伝達型の通信アルゴリズムには「論理波動伝播モード」と、「アドレス連鎖伝達モード」とが存在する。論理波動伝播モードは、発信元の通信素子から全ての通信素子に信号をブロードキャストする通信アルゴリズムであり、アドレス連鎖伝達モードは、経路を定めて、発信元の通信素子から目的地である通信素子まで経路に沿って信号を伝達する通信アルゴリズムである。まず、論理波動伝播モードについて説明する。
図11は、通信装置において論理波動伝播モードにより信号が伝播する状態を説明するための図である。図中、小さな円は通信素子を示し、中央の黒塗りの円は、信号の発信元である通信素子を示す。通信素子を囲んでいる同心円は、信号を受信した通信素子の領域を示す。
論理波動伝播モードにおいては、信号待機中、全ての通信素子が周囲の信号を監視する。信号を受信した通信素子は、その信号をメモリに格納し、確率1/nで同一の信号系列を送信する。送信確率1/nは、確実に信号が通信装置全体に伝播するように予め設定される。各信号系列は「信号ID」を有しており、通信素子が同一の信号IDをもつ信号を受信した場合には、その信号の転送を行わないことが好ましい。以上の動作を各通信素子が実行することにより、任意の通信素子から発生した論理波動伝播信号が、図示されるようにほぼ同心円状に広がっていき、通信装置全体に伝達されることになる。
次に、アドレス連鎖伝達モードについて説明する。
図12は、アドレス連鎖伝達モードにおける通信素子の階層構造を説明するための図である。アドレス連鎖伝達モードにおいては、複数の通信素子が、通信の管理機能の低いものから順に1次からN次までの階層に分類される。2≦M≦Nとした場合、M次通信素子の配置密度は、(M−1)次通信素子の配置密度よりも低く設定される。M次通信素子は、自身から所定の範囲内に配置された(M−1)次通信素子を管轄し、またM次通信素子は、(M−1)次通信素子が有する通信管理に必要な機能を少なくとも有している。ここで管轄するとは、他の通信素子のIDの管理などを行うことを意味する。便宜上、管轄する側の通信素子を「親素子」、管轄される側の通信素子を「子素子」と呼んでもよい。通信処理を行う際、M次通信素子は、M次の階層の通信素子として機能するだけではなく、1次から(M−1)次の階層の通信素子としても機能することができる。M次通信素子がある階層の通信素子として機能する場合には、その階層において設定された所定の範囲内に配置された1階層下の通信素子を管轄することになる。M次通信素子は、管轄下にある(M−1)次通信素子が管轄する(M−2)次通信素子についても管轄してよいが、(M−2)次通信素子について管轄していない場合であっても(M−1)次通信素子に対して適宜問い合わせを行うことにより、この(M−2)次通信素子を把握することが可能である。
連鎖伝達型の通信装置において、全ての通信素子は、その有効通信距離を、周辺に配置された他の通信素子と局所的な通信を行える程度に設定されている。素子間隔が大体10cmとなるように通信素子が分散して配置されている場合には、通信素子の有効通信距離も10cm程度に設定される。
このときの各階層における通信素子の配置間隔について説明すると、1次通信素子は大体10cm間隔で配置されており、M次通信素子の配置間隔は(M−1)次通信素子の配置間隔の数倍程度となるように配置されるのが好ましい。したがって、2次通信素子の配置間隔は、数10cm程度となる。なお、この配置間隔は厳密である必要はなく、大体の間隔が把握されていればよい。1次通信素子は最も高密度に配置されて、その周囲の一定の距離までに存在する他の通信素子に信号を伝達し、本通信装置における信号伝達の基本素子として機能する。なお、前述のように2次以上の通信素子であっても、信号の連鎖伝達時には1次通信素子として機能することができる。通信装置における信号の転送を考えた場合に、1次通信素子は、他の通信素子を管轄する機能を有しなくてよい。なお、後述するが、例えば1次通信素子の周辺にセンサなどが配置される場合には、1次通信素子は、これらのセンサを管轄する機能を有することになる。
まず、通信装置において階層構造の最上位に一つのN次通信素子が存在する場合の通信アルゴリズムについて説明する。このアルゴリズムによると、送信元と送信先の通信素子の階層構造の上位に共通の通信素子が存在するとき、その上位の通信素子が送信元から信号を受け取り、送信先までの経路を作成して信号を転送する。通信装置において階層構造最上位のN次通信素子が一つしか存在しない場合には、このN次通信素子は少なくとも上位の共通の通信素子となりうるため、この通信アルゴリズムが有効に機能することが明らかである。
M次通信素子が信号の送信元であるとすると、送信先が自分の階層構造の下位に所属する場合には、自分で送信先までの経路を作成して信号を送信する。一方、送信先が自分の階層構造の下位に所属しない場合には、自分の親素子である(M+1)次通信素子に信号を送信する。この親素子は、送信先が自分の階層構造の下位に所属しているか否かを確認して、所属する場合には送信先までの経路を作成し、所属しない場合にはさらに自分の親素子である(M+2)次通信素子に信号を送信する。この作業を繰り返して、最上位のN次通信素子まで信号が伝達された場合には、N次通信素子が、送信先までの経路を作成する。この通信アルゴリズムによると、あるM次通信素子が他のM次通信素子の子素子に信号を送信する場合、共通の親素子である(M+1)次通信素子に一旦信号を送信して、この(M+1)次通信素子が、他のM次通信素子に転送するという手法をとる。
一方、最上位であるN次通信素子が複数存在する場合には、送信元と送信先の通信素子が、一つのN次通信素子における階層内に所属しない場合も生じうる。このとき、N次通信素子が、自身の階層内に送信先の通信素子が存在しないことを確認すると、別のN次通信素子に対して調査要求を送信し、送信先の通信素子を階層下とするN次通信素子を探索する。探索の結果、送信元の上位素子であるN次通信素子は、送信先の上位素子であるN次通信素子までの経路を定め、その経路に沿って信号を送信する。この通信アルゴリズムは、最上位のN次においてだけでなく、下位の通信素子の階層において利用されてもよい。すなわち、この通信アルゴリズムによると、あるM次通信素子が他のM次通信素子の子素子に信号を送信する場合、M次通信素子が(M+1)次通信素子を介することなく、他のM次通信素子を直接探索して、そのM次通信素子に信号を送信することができる。信号の伝達効率を高めるために、M次通信素子は、適当な範囲において存在する他のM次通信素子のIDや経路などをキャッシュ等に記憶しておいてもよい。なお、送信元の上位素子であるN次通信素子は、送信先までの経路を設定すると、図13に示す送信パケットを生成して信号を送信する。
図13は、送信パケットの構成の一例を示す図である。この送信パケットは、信号の転送(伝達)に使われるものであって、
(1) コマンド
(2) 受信ID
(3) 送信先ID
(4) 送信元ID
(5) 階層数
(6) N次階層内連鎖数
(7) N次階層内経路データ
(8) 1次階層内連鎖数
(9) 1次階層内経路データ
(10) 送信データ
のデータ項目を有している。
この送信パケットのことを「転送パケット」と呼んでもよい。省略しているが、この送信パケットには、2次から(N−1)次までの各階層内の連鎖数および経路データも含まれる。以下、各データ項目の内容を説明する。この送信パケットは、N次通信素子が複数存在する環境において、送信元の階層上位のN次通信素子と送信先の階層上位のN次通信素子とが異なる場合に、N次通信素子により生成されるものと説明した。なお、送信元の通信素子と送信先の通信素子とが一つの(N+1)次通信素子の階層に所属する場合にも、この(N+1)次通信素子が、図13に示される送信パケットを生成する。
コマンドは、送信パケットの処理方法を指示するものである。上の例は信号を転送するための転送パケットであるため、このコマンドには、転送指示に関するコードなどが記述される。受信IDは、この送信パケットを次に受信するべき通信素子のIDである。送信先IDは、送信パケットの最終目的地である通信素子のIDである。送信元IDは、データ信号の発信元である通信素子のIDである。階層数は、信号伝達に携わる通信素子の階層の数であり、この項目には「N」が記述される。
N次階層内連鎖数は、最終目的地までの経路に存在するN次通信素子の連鎖数であり、N次階層内経路データは、最終目的地までの経路に存在するN次通信素子のIDおよび順序に関するデータである。具体的にN次階層内経路データは、最終目的地である通信素子を管轄するN次通信素子へ至るために、どのような順でN次通信素子を経由すればよいかを順にそのIDを並べて記述したものである。経由地であるN次通信素子は、このパケットを受け取ると、自分のIDをN次階層内経路データから削除し、N次階層内連鎖数を1だけ減らす。
同様に、2≦M≦Nとしたとき、(M−1)次階層内経路データは、次のM次以上の通信素子に至るために、どのような順で(M−1)次通信素子を経由すればよいかを順にそのIDを並べて記述したものであり、(M−1)次階層内連鎖数はそのIDの個数である。具体的に1次階層内連鎖数は、次の2次以上の通信素子までの経路に存在する1次の階層における通信素子の連鎖数であり、1次階層内経路データは、次の2次以上の通信素子までの経路に存在する1次通信素子のIDおよび順序に関するデータである。次の2次以上の通信素子がない場合には、1次階層内経路データは、最終目的地までの経路に存在する1次通信素子のIDおよび順序に関するデータとなる。送信データは、伝達すべきデータである。
図14は、各階層内の経路データを概念的に示した図である。この例では、階層数を3に設定し、左端の3次通信素子から右端の3次通信素子まで信号を送信する場合を仮定する。
3次の階層において、信号は左端の3次通信素子から中央の3次通信素子を経由して右端の3次通信素子に伝達される。したがって3次階層内経路データは、中央と右端の3次通信素子のIDをこの順に並べて構成される。
2次の階層において、信号が左端の3次通信素子から中央に位置する次の3次通信素子に中継される場合に、信号はこれら3次通信素子間に存在する3つの2次通信素子を経由する。したがって、2次階層内経路データは、3つの2次通信素子のIDと、中央の3次通信素子のIDとを左から順に並べて構成される。
1次の階層において、信号が左端の3次通信素子から次の2次通信素子に中継される場合に、信号はこれらの通信素子間に存在する3つの1次通信素子を経由する。したがって、1次階層内経路データは、3つの1次通信素子のIDと、次の2次通信素子のIDとを左から順に並べて構成される。
M次通信素子は、自身が管轄する(M−1)次通信素子までの経路を、他の(M−1)次通信素子を経由する経路としてメモリに記憶する。またM次通信素子は、自身から所定の範囲内に配置された他のM次通信素子までの経路を、(M−1)次通信素子を経由する経路としてメモリに記憶する。ここで、M次通信素子は、2次から(M−1)次の通信素子としても機能することができ、ある階層の通信素子として機能する場合には、その階層において設定される所定の範囲内に配置された1階層下の通信素子を管轄する。例えば2次通信素子として機能する場合には、M次通信素子が、2次通信素子として管轄する全ての1次通信素子までの経路を、1次通信素子を経由する経路としてメモリに記憶している。具体的には、ある1次通信素子までの経路は、複数の1次の通信素子を経由した経路として定められる。図14を参照して、左端の3次通信素子は、3次通信素子として2次通信素子を管轄する場合には、これら2次通信素子および隣の中央の3次通信素子までの経路を把握し、また2次通信素子として1次通信素子を管轄する場合には、これら1次通信素子および隣の2次通信素子までの経路を把握している。
また逆に、(M−1)次通信素子は、自身を管轄するM次通信素子までの経路の少なくとも一部を、他の(M−1)次通信素子を経由する経路としてメモリに記憶する。すなわち、子素子は、他の子素子を経由して親素子へ向かう経路を認識している。
データ信号の送信パケットには、最終目的地である通信素子に到達するために利用される各階層内の経路データが含まれ、この経路データは、信号の伝達に携わる各通信素子によって適宜更新される。M次通信素子は、(M−1)次の階層内経路データを設定する。
また送信パケットには、次に送信パケットを受け取るべき通信素子を特定する受信IDが含まれており、各通信素子は、この受信IDにより、この信号が自身に対するものであるか否かを判別する。通信素子は、この受信IDに基づいて送信パケットを受け取ると、次に送信パケットを受け取るべき通信素子の受信IDを設定して、送信パケットを発信する。経路データには、次に受け取るべき通信素子のIDが含まれており、通信素子は、経路データからこのIDを抽出して受信IDを設定する。このように各通信素子は、送信パケットを受け取ると、経路データを更新して、順次その送信パケットを転送していく。
図15は、アドレス連鎖伝達モードにおいて、送信元の通信素子からその親素子に信号を伝達する状況を説明するための説明図である。全ての通信素子は、自身を識別するためのIDを有する。このIDの設定方法については後述し、以下では、各通信素子がIDを有していることを前提として、信号伝達において、発信元から自身の上位の通信素子に信号を伝達する通信アルゴリズムについて説明する。ここでは通信に携わる通信素子のみを示すが、実際の通信装置では他の通信素子も分散して配置されていることに留意されたい。また、理解を容易にするために、階層数を3、すなわち3次通信素子が最高次として設定されている場合について説明する。以下では、具体的に、ID1の1次通信素子から別の1次通信素子まで信号を伝達する例について説明する。
まず、1次通信素子(ID1)が、自分の親素子である2次通信素子(ID2−1)に信号を送信する。1次通信素子(ID1)は、他の1次通信素子を介して自分の親素子である2次通信素子(ID2−1)に至る経路の少なくとも一部をメモリに記憶している。ここでは、1次通信素子(ID1)から2次通信素子(ID2−1)に向かう経路が、1次通信素子(ID1)から1次通信素子(ID2)および1次通信素子(ID3)を中継して2次通信素子(ID2−1)に到達するように設定されており、1次通信素子(ID1)は、この経路のうち、直接信号を伝達することになる1次通信素子(ID2)を少なくとも認識していればよい。同様に、1次通信素子(ID2)も、自分の親素子である2次通信素子(ID2−1)に向かう経路の少なくとも一部を認識している。この経路は、1次通信素子(ID2)から1次通信素子(ID3)を中継して2次通信素子(ID2−1)に到達するように設定されている。1次通信素子(ID2)は、この経路のうち、直接信号を伝達することになる1次通信素子(ID3)を少なくとも認識していればよい。同様に、1次通信素子(ID3)は、直接2次通信素子(ID2−1)に信号を伝達することが可能であることを認識している。
親素子である2次通信素子(ID2−1)に至る経路のうち、1次通信素子(ID1)が1次通信素子(ID2)のみを認識している場合、1次通信素子(ID1)は信号を1次通信素子(ID2)に伝達し、1次通信素子(ID2)は、この信号が親素子である2次通信素子(ID2−1)に伝達すべき信号であることを検出して、1次通信素子(ID3)に伝達する。同様に、1次通信素子(ID3)もこの信号を2次通信素子(ID2−1)に伝達する。このように、子素子が、親素子への伝達経路のうち、次に信号を伝達する同一階層の子素子のみを認識している場合には、信号を受け取った子素子が自身で認識する子素子宛てに信号の行き先を書き換え、信号を伝達する。
一方、1次通信素子(ID1)が親素子へ至る経路中の全ての1次通信素子のIDおよび順序を認識している場合には、1次通信素子(ID1)が経路中の1次通信素子のIDおよび順序を特定する信号パケットを生成し発信してもよい。1次通信素子(ID1)が2次通信素子(ID2−1)までの経路を設定するため、信号を中継する1次通信素子(ID2)および1次通信素子(ID3)の処理負担が軽減され、高速な通信を実現することが可能となる。
2次通信素子(ID2−1)は信号を受け取ると、この信号の最終目的地である1次通信素子(例えば、ID17)が自身の管轄下にあるかどうかをメモリに記憶したテーブルを参照して調査する。2次通信素子は、自身の管轄下にある1次通信素子のIDおよび経路を全てメモリに記憶しており、送信先の通信素子が自身の管轄下にあれば、メモリからその経路を読み出して、信号を最終目的地に伝達する。
最終目的地である1次通信素子(ID17)が自身の管轄下にない場合、2次通信素子(ID2−1)は、自身の親素子である3次通信素子(IDmax)に信号を転送する。2次通信素子(ID2−1)は自身の親素子への経路を予めメモリに記憶している。親素子との間における1次通信素子を中継する経路の持ち方は、上述したとおりである。このようにして、最高次である3次通信素子(IDmax)まで信号が送信される。3次通信素子(IDmax)は、1次通信素子(ID17)までの経路を設定して、信号を送信する。
図16は、アドレス連鎖伝達モードにおいて、上位の通信素子から送信先の通信素子に信号を伝達する状況を説明するための説明図である。図15において3次通信素子(IDmax)まで信号が転送されると、この3次通信素子(IDmax)は自身の管轄下にある2次通信素子を経由した経路を作成する。図示される例では、2次階層内経路として、2次通信素子(ID2−2)、2次通信素子(ID2−3)、2次通信素子(ID2−4)を順に並べた経路と、1次階層内経路として、3次通信素子(IDmax)から2次通信素子(ID2−2)までの1次通信素子を順に並べた経路とを設定する。3次通信素子(IDmax)は、2次通信素子(ID2−4)から最終目的地である1次通信素子(ID17)までの経路については把握していなくてもよく、この経路については2次通信素子(ID2−4)が後に設定すればよい。同様に、3次通信素子(IDmax)は、2次通信素子間の1次通信素子の経路については把握していなくてもよく、この経路については各2次通信素子が後に設定すればよい。この通信アルゴリズムでは、高次の通信素子が下位の通信素子を管理して経路を設定する。
図17は、アドレス連鎖伝達モードにおいて、管理用の高次の通信素子を経由することなく、送信先の通信素子に信号を伝達する状況を説明するための説明図である。この例では、信号をID2−1の2次通信素子から3次通信素子を経由させることなく、2次通信素子を経由してID17の1次通信素子まで伝達する。理解を容易にするために、階層数を2、すなわち2次通信素子を最高次とする場合について説明する。なお、この通信アルゴリズムは図16に関連して説明した通信アルゴリズムと併用することが可能であり、その場合には通信装置において3次以上の通信素子が存在することになる。また説明の便宜上、1次通信素子および2次通信素子のIDが連続して示されているが、実際の通信装置においてIDはランダムに設定されてもよい。
2次通信素子(ID2−1)は、この信号の最終目的地である1次通信素子(ID17)がどの2次通信素子によって管轄されているかを探索する。まず2次通信素子(ID2−1)は、1次通信素子(ID17)が自身の管轄下にあるかどうかをメモリに記憶したテーブルを参照して調査する。2次通信素子は、自身の管轄下にある1次通信素子のIDおよび経路を全てメモリに記憶しており、送信先の通信素子が自身の管轄下にあれば、メモリからその経路を読み出して、信号を最終目的地に伝達する。
最終目的地である1次通信素子(ID17)が自身の管轄下にない場合、2次通信素子(ID2−1)は、管轄範囲に位置する他の2次通信素子に対して、1次通信素子(ID17)を管轄しているか否かの調査要求を送信する。図17では説明の便宜上、1つの2次通信素子(ID2−2)しか示されていないが、実際には2次通信素子(ID2−1)の管轄範囲には複数の2次通信素子が存在し、2次通信素子(ID2−1)は、管轄下にある全ての2次通信素子に対して調査要求を送信する。調査要求を受け取った2次通信素子のそれぞれは、1次通信素子(ID17)が自身の管轄下にあるかどうかをメモリに記憶したテーブルを参照して調査する。調査の結果、自身の管轄下に存在しないことを確認すると、各2次通信素子は、その調査結果を2次通信素子(ID2−1)に報告する。
2次通信素子(ID2−1)は、この調査報告を受け、さらに調査範囲を広げるために、自身の管轄下にある複数の2次通信素子に対して、それらの管轄下にある2次通信素子に調査要求を送信する旨を指示する。このように調査要求は2次通信素子の階層内で連鎖的に伝達される。最終的に、調査要求が2次通信素子(ID2−2)から2次通信素子(ID2−3)を介して2次通信素子(ID2−4)に送信されたときに、1次通信素子(ID17)が2次通信素子(ID2−4)の管轄下にあることが判明し、2次通信素子(ID2−4)はその確認結果を2次通信素子(ID2−1)に返信する。これにより2次通信素子(ID2−1)は、1次通信素子(ID17)の大まかな位置を認識し、また2次通信素子(ID2−4)までの経路を、2次通信素子を経由する経路として取得する。信号の転送処理は1次の階層で実現されるが、2次通信素子(ID2−1)は、自身の管轄範囲以外の1次通信素子に関する情報を持つ必要はなく、2次通信素子(ID2−4)から1次通信素子(ID17)までの経路を把握しないでよい。
この通信アルゴリズムは、図16において説明した通信アルゴリズムと併用することが可能である。例えば、図17における通信アルゴリズムにおいて、2次通信素子(ID2−1)の所定の距離以内に2次通信素子(ID2−4)が存在しない場合に、3次通信素子(IDmax)にパケットを送信して、3次通信素子(IDmax)に経路の作成を依頼するようにしてもよい。
それから2次通信素子(ID2−1)は、2次の階層における2次通信素子(ID2−4)への経路データと、1次の階層における2次通信素子(ID2−2)への経路データを設定して送信パケットを生成する。具体的に、2次の階層における2次通信素子(ID2−4)への経路データとは、2次通信素子(ID2−2)、2次通信素子(ID2−3)、2次通信素子(ID2−4)をこの順に並べたデータであり、1次の階層における2次通信素子(ID2−2)への経路データとは、1次通信素子(ID4)、1次通信素子(ID5)、1次通信素子(ID6)、1次通信素子(ID7)、2次通信素子(ID2−2)をこの順に並べたデータである。
図18(a)は、2次通信素子(ID2−1)が生成する転送パケットの構成を示す図である。データ項目の詳細な内容については、図13に関連する説明を参照されたい。データ項目(1)にはコード「0001」が記述されており、このコードにより転送指示であることが示される。データ項目(2)には「ID4」が記述されており、このIDにより、パケットを次に受信するべき通信素子が特定される。このデータ項目(2)は、通信素子がこのパケットを受信するたびに更新される。データ項目(3)には「ID17」が記述されており、このIDにより、パケットの最終目的地が特定される。データ項目(4)には「ID1」が記述されており、このIDにより信号の発信元が特定される。データ項目(5)には「2」が記述されており、この数字により階層数が特定される。
データ項目(6)には「3」が記述されており、この数字により2次階層内の連鎖数が特定される。データ項目(7)には「ID2−2,ID2−3,ID2−4」が記述されており、これらのIDおよび記述された順序により、2次階層内の経路が特定される。データ項目(6)および(7)は、2次通信素子がこのパケットを受信するたびに更新される。データ項目(8)には「5」が記述されており、この数字により1次階層内の連鎖数が特定される。データ項目(9)には「ID4,ID5,ID6,ID7,ID2−2」が記述されており、これらのIDおよび記述された順序により、次の2次通信素子までの1次階層内の経路が特定される。データ項目(9)の最後に記述されるIDは、その素子が1次の最終目的地である場合以外は、2次以上の通信素子のIDとなる。データ項目(8)および(9)は、1次通信素子がこのパケットを受信するたびに更新される。
図18(a)に示された転送パケットは、2次通信素子(ID2−1)から有効通信距離内に発信される。その結果、データ項目(2)の受信ID(ID4)の記述に基づいて、1次通信素子(ID4)が、この転送パケットを受け取り、所定のデータ項目の内容を更新して転送パケットを1次通信素子(ID5)に送信する。
図18(b)は、1次通信素子(ID4)が生成する転送パケットの構成を示す図である。1次通信素子(ID4)はデータ項目(9)(図18(a)参照)を参照して、データ項目(2)に、次に受け取るべき通信素子のIDである「ID5」を書き込む。同時に1次通信素子(ID4)は、データ項目(9)の先頭に記述されている自身のIDをデータ項目(9)から消去し、データ項目(8)の1次階層内連鎖数を1だけ減らす。1次通信素子(ID4)は、以上の転送処理により転送パケットを生成し発信する。この転送パケットは、複数の1次通信素子を中継され、1次階層内経路データにより指示される経路に沿って、2次通信素子(ID2−2)に供給される。
図18(c)は、2次通信素子(ID2−2)が生成する転送パケットの構成を示す図である。2次通信素子(ID2−2)は、データ項目(9)を参照して、自身が1次階層内経路データの最後の素子であることを認識すると、データ項目(7)において自身のIDを消去し、データ項目(9)に、2次通信素子(ID2−3)に至る1次階層内経路データを書き込む。具体的には、データ項目(9)に「ID8、ID9、ID10、ID11、ID2−3」を1次階層内経路データとして書き込み、データ項目(8)の1次階層内連鎖数を「5」に設定する。また、データ項目(6)の2次階層内連鎖数を「2」に設定する。同時に、データ項目(2)に、次に受け取るべき通信素子のIDである「ID8」を書き込む。2次通信素子(ID2−2)は、以上の転送処理により転送パケットを生成し発信する。この転送パケットは、1次階層内経路データにより指示される経路に沿って、2次通信素子(ID2−3)に供給される。以上の転送処理が繰り返し行われ、転送パケットが2次通信素子(ID2−4)に供給される。
図18(d)は、2次通信素子(ID2−4)が生成する転送パケットの構成を示す図である。2次通信素子(ID2−4)は、データ項目(9)を参照して、2次通信素子(ID2−3)から2次通信素子(ID2−4)に至る経路において自身が1次階層内経路データの最後の素子であることを認識すると、データ項目(7)において自身のIDを消去し、データ項目(6)の2次階層内連鎖数を「0」に設定する。それから、データ項目(9)に、最終的な目的地である1次通信素子(ID17)に至る1次階層内経路データを書き込む。具体的にはデータ項目(9)に「ID16、ID17」を1次階層内経路データとして書き込み、データ項目(8)の1次階層内連鎖数を「2」に設定する。同時に、データ項目(2)に、次に受け取るべき通信素子のIDである「ID16」を書き込む。その後、2次通信素子(ID2−4)は、この転送パケットを発信する。この転送パケットは、1次階層内経路データにより指示される経路に沿って、1次通信素子(ID17)に供給される。
以上の動作により、送信データが最終目的地に伝達される。この例では通信装置の階層数が2の場合について説明したが、階層数はこれに限らず、3以上であっても同一のデータ伝達機能を実現することができる。
以上、各通信素子がIDを有し、親素子が全ての子素子に至る経路を予め認識し、子素子が親素子への経路を予め認識していることを前提として、アドレス連鎖伝達モードにおける通信装置の通信アルゴリズムについて説明した。以下では、本実施の形態における通信装置において、各通信素子にIDを設定し、また自分の子素子への経路および親素子への経路を自発的に取得するアルゴリズムについて説明する。
通信装置の電源がONになると、全ての通信素子が、所定の桁数の乱数を発生し、IDとしてメモリに記憶する。この桁数は、通信素子間で偶然に一致する可能性が少なくなるように、十分な大きさであることが好ましい。各通信素子は、予め組み込まれたプログラムにより各階層に分類される。この時点では、自分の周囲にどの通信素子が存在するかについて何の情報も有していない。
まず2次通信素子が、「近傍応答要求」を発信する。1次通信素子は、この近傍応答要求を受け取ると、自身のIDを2次通信素子に対して返信する。1次通信素子のIDは、1次通信素子を暫定的に特定するものとして利用される。ここで2次通信素子とは、2次通信素子としての機能を実現できる通信素子を意味し、3次以上の通信素子も含めた概念として扱う。前述したように、各通信素子の有効通信距離は、自身の周辺に配置された他の通信素子に到達できる程度に設定されており、したがって2次通信素子の周辺に配置された1次通信素子のみがこの「近傍応答要求」を受け取ることができる。2次通信素子は、このIDを返信した1次通信素子を「距離1の通信素子」としてメモリに記録し、返信のあった順に新たにIDを割り付ける。この割り付けられたIDと、親素子である2次通信素子の2次の階層内でのIDを合わせたものが、2次以下の階層におけるIDとなる。この後、近傍応答要求を3回繰り返し、2回以上返信のあった1次通信素子を「距離1の通信素子」として確定する。このようにして最上位まで各階層ごとにIDを割り付けていき、最終的に最上位までのIDを合わせたものが、その通信素子の通信装置におけるIDとなる。
図19は、近傍応答要求のパケットの構成を示す。このパケットは「コマンド」、「応答すべき素子の次数」、「親素子ID」のデータ項目を有している。具体的に「コマンド」には、近傍応答要求のコード、例えば「0010」が記述される。「応答すべき素子の次数」には、1次通信素子に対するコマンドであるため、「1」が記述される。また「親素子ID」には、近傍応答要求を発信した2次通信素子のIDが記述される。
それから、2次通信素子は、IDを設定した「距離1の通信素子」に対して「近傍調査要求」を発信する。この近傍調査要求を受け取った1次通信素子は、近傍応答要求を発信して周辺の1次通信素子の存在を調査する。周辺の1次通信素子は、この近傍応答要求を受け取ると、自身の暫定的なIDを、近傍応答要求を発信した1次通信素子に対して返信する。周辺の1次通信素子からの応答を受け取った1次通信素子は、この応答を2次通信素子に送信し、2次通信素子はこの応答を受けて、IDを返信した1次通信素子を「距離2の通信素子」として設定し、新たなIDを割り付ける。すでに2次通信素子から新たなIDを設定された1次通信素子は、この近傍応答要求に応答しないことが好ましい。このようにして、2次通信素子は、距離2までの1次通信素子のIDおよび経路をメモリに記録する。2次通信素子は、近傍調査要求を繰り返し発信して、自身がIDを設定して管轄する1次通信素子の数を増やしていき、自身が管轄する1次通信素子との間の経路を順次設定する。
図20は、近傍調査要求のパケットの構成を示す図である。このパケットは「コマンド」、「受信ID」、「応答すべき素子の次数」、「親素子ID」、「1次階層内連鎖数」、「1次階層内経路データ」のデータ項目を有している。具体的に「コマンド」には、近傍調査要求のコード、例えば「0110」が記述される。「応答すべき素子の次数」には、1次通信素子に対するコマンドであるため、「1」が記述される。また「親素子ID」には、近傍応答要求を発信した2次通信素子のIDが記述される。「受信ID」、「1次階層内連鎖数」、「1次階層内経路データ」については、図13に関連して説明したとおりである。1次階層内経路データの最後に記述された1次通信素子は、この近傍調査要求を受け取ると、周辺に対して近傍応答要求を発信する。
1次通信素子に対して新たなIDを設定した段階で、2次通信素子は、子素子となった1次通信素子に対して、「親素子からその素子に至る経路」および「連鎖回数」を「近傍コピー要求」によって伝達し記録させる。
図21は、近傍コピー要求のパケットの構成を示す図である。このパケットは「コマンド」、「受信ID」、「親素子ID」、「1次階層内連鎖数」、「1次階層内経路データ」、「データ」のデータ項目を有する。「コマンド」には、近傍コピー要求のコード、例えば「1000」が記述される。「受信ID」には、設定したIDが記述され、「データ」には「親素子からその素子に至る経路」および「連鎖回数」が記述される。1次通信素子は近傍コピー要求を受け取ると、その情報を「調査報告」によって親素子である2次通信素子に送信する。
図22は、調査報告のパケットの構成を示す図である。このパケットは「コマンド」、「受信ID」、「親素子ID」、「1次階層内連鎖数」、「1次階層内経路データ」、「実親、非実親の別」、「送信元ID」のデータ項目を有する。「コマンド」には、調査報告のコード、例えば「1001」が記述される。「親素子ID」には、IDを設定した2次通信素子のIDが記述される。「受信ID」、「1次階層内連鎖数」、「1次階層内経路データ」については前述のとおりである。「送信元ID」は、親素子により新たに設定されたIDが記述される。実親、非実親については後述する。
調査報告を受け取った2次通信素子は、「連鎖確認通知」を発信する。この連鎖確認通知を受け取った1次通信素子は、親素子となる2次通信素子のIDおよび経路を確定し、メモリに記録する。なお、非常に少ない確率ではあるが、複数の1次通信素子のIDが同一となる場合も想定される。したがって、親素子である2次通信素子は、同じIDをもつ1次通信素子から異なる経路の報告を2度受けた場合、「連鎖ID変更要求」を発信して、一方の1次通信素子のIDを変更する。
図23は、連鎖確認通知のパケットの構成を示す図である。このパケットは「コマンド」、「受信ID」、「親素子ID」、「1次階層内連鎖数」、「1次階層内経路データ」のデータ項目を有する。「コマンド」には、連鎖確認通知のコード、例えば「1010」が記述される。
図24は、連鎖ID変更要求のパケットの構成を示す図である。このパケットは「コマンド」、「受信ID」、「親素子ID」、「1次階層内連鎖数」、「1次階層内経路データ」、「新規ID」のデータ項目を有する。「コマンド」には、連鎖ID変更要求のコード、例えば「1011」が記述される。「新規ID」は、IDの重複を回避するために設定したIDである。
1次通信素子は、自分の親素子が確定した後も、他の2次通信素子からのコマンドに応答する。最初に確定した親素子のことを「実親」と呼び、1次通信素子は、実親以外の2次通信素子に対して、実親がすでに存在することを通知する。2次通信素子は、自身を実親とする1次通信素子を「実子」として登録する。
以上の手続により、2次通信素子が、距離Lまでの1次素子を子素子とする階層構造を形成する。この1次素子には、他の2次通信素子も含まれる。最終的に、2次通信素子は、実子以外の子素子のうち、別の2次通信素子に至る経路に含まれないものをすべて削除してもよい。
このように、2次通信素子は、所定の距離内に位置する1次通信素子を子素子として設定し、各子素子のIDおよび各子素子への経路をメモリに記録する。この手続きは、全ての階層において実行される。なお、3次以上のM次通信素子と(M−1)次通信素子間においては、近傍応答要求は発信されない。この近傍応答要求は、周辺の通信素子が直接受け取ることを前提とした信号であり、3次以上のM次通信素子と(M−1)次通信素子間の距離は、信号の有効通信距離よりも長いため、M次通信素子から発信した近傍応答要求を(M−1)次通信素子が直接受信することはできない。
3次以上のM次通信素子は、隣の(M−1)次の通信素子に「連鎖近傍応答要求」を送信する。なお、この隣の(M−1)次通信素子は、M次通信素子が(M−1)次通信素子として(M−2)次の子素子のテーブルを作成したときに、自身の近傍に存在する(M−1)次素子として登録されている。階層構造は、低次の階層から順に形成されていく。この連鎖近傍応答要求を受け取った(M−1)次通信素子は、自分の子素子である他の(M−1)次通信素子に連鎖近傍応答要求を送信する。3次以上の通信素子は、3次から自身の階層までの各階層の通信素子として機能することができ、各階層の通信素子として連鎖近傍応答要求を発信して、管轄する1階層下の通信素子およびその通信素子に至る経路をそれぞれ設定する。
図25は、連鎖近傍応答要求のパケットの構成を示す図である。このパケットは「コマンド」、「受信ID」、「送信先ID」、「応答すべき素子の次数」、「親素子ID」、「(M−1)次階層内連鎖数」、「(M−1)次階層内経路データ」、・・・「1次階層内連鎖数」、「1次階層内経路データ」のデータ項目を有する。
N次の通信素子まで上述したIDおよび経路の設定アルゴリズムを繰り返すことによって、通信素子の階層構造が生成され、子素子への経路および親素子への経路が確定する。このように、本実施の形態の通信装置は、各通信素子のIDおよび各通信素子へ至る経路を自動的に設定することができ、特に予めIDが設定されていない通信素子を導電層上にランダムに配置する場合には、この自動設定アルゴリズムが非常に有用となる。また、このIDおよび経路の自動設定アルゴリズムにより、通信素子の故障や導電層の破断などが生じた場合であっても、適宜IDおよび経路を変更して通信機能を回復することが可能となり、従来の回路基板などで配線の断絶により通信不能となる課題を解決することができる。
例えば、この通信技術を用いると、所定の有効通信距離の範囲内で信号を伝達する通信機能を有する複数の回路素子を導電性基板上に分散して配置させることにより、回路素子の実装を行うことが可能となる。配線を形成しないため、回路素子の搭載場所を任意に設定することができ、従来の配線面積が大きくなる問題を回避することが可能となる。
次に、この通信装置に、センサ機能を付加した本発明の第2の実施の形態について説明する。以下では、この通信装置に触覚センサを搭載し、人工皮膚などの用途に本発明による通信装置を応用する具体例を示す。なお、通信装置に搭載するセンサは触覚センサ以外にも、温度センサや聴覚センサなど、様々なセンサであってよいことは当業者であれば容易に理解されるところである。
一つの例として、触覚センサは、第1の実施の形態による通信装置において1次通信素子の周辺に配置される。通信装置において、触覚センサは、0次通信素子として機能し、信号の転送処理などの機能は有しなくてよい。触覚センサは、自身の周辺に配置されている1次通信素子を親素子とし、この親素子との間で通信できるように設定される。触覚センサは、各通信素子と同じ有効通信距離を有し、親素子である1次通信素子に直接信号を伝達することができる。人工皮膚に応用する場合には、触覚センサの配置密度を1次通信素子の配置密度よりも高く設定し、人間の肌の感覚にできるだけ近づけることが好ましい。なお、触覚センサのIDは、1次通信素子が近傍応答要求を発信し、それに応答した触覚センサに対して新たなIDを順次割り当てることにより設定される。触覚センサの面積が小さい場合、親素子の1次通信素子をホストコンピュータで代用してもよい。この場合、ホストコンピュータと触覚センサの通信は、直接伝達型の通信方式に相当する。以下、第2の実施の形態において利用することのできる触覚センサについて説明する。
第2の実施の形態は、対象物との接触によって生じる圧力の分布、さらにそこから対象物の触感や滑りなどの運動を検出する触覚センサに関するものであり、ロボットハンドの触覚センサ、ペットロボットや介護ロボットの人工皮膚、質感などの感性評価用センサ、触感を検出し触覚ディスプレイで人間に体感させるバーチャルリアリティの技術分野に属する。
触覚センサとしては、フィルム状の感圧センサアレイなど、数多くの方法が提案されているが、いまだに人間の触感と同等な情報を検出可能なデバイスは存在していない。その主な原因は高い密度で応力分布を検出し、かつ伸縮が可能な柔軟センサが実現できていないためである。
この問題の解決方法として、特開平11−245190号公報「触覚センサ及び触感検知システム」等が提案されているが、この方法では自由空間を介して触覚素子に電力供給し、また信号送信を行うため、その際のエネルギーロスが大きかった。また、それ自身が他のセンサや通信に対するノイズ源となっていた。
触覚センサの製作においては、皮膚の変形を検出する微小なセンサ素子を高い密度で広範囲に配置する必要がある。しかしながら、各素子から信号を読み出すための配線は、変形によって破損しやすく、また触覚センサ自体の柔らかさを損なうものであった。また、小さな素子からの信号を高いSN比で読み出すことも困難であった。
第2の実施の形態は、上記状況に鑑みて、各素子から信号を読み出すための変形に強い導電性構造を有し、かつ、小さな素子からの信号を高いSN比で読み出すことができる触覚センサを提供することを目的とする。
第2の実施の形態によれば、次のような触覚素子、すなわち検出した触覚の信号を素子の内部の回路で符号化し、シリアル信号として送出可能な触覚チップによって、従来の問題を解決する。触覚チップは表と裏に1つずつの電気的接点をもち、それらはそれぞれ2層の導電性ゴム状弾性体に接続される。全ての触覚チップを共通の導電性ゴムに接続すればよく、必要な数の触覚チップを2枚の導電性ゴムでサンドイッチして電気的接触をとることによって各素子への電気的接続が完了する。各触覚チップはそれぞれのID番号をもち、2層の導電性ゴムに接続されたコンピュータによって触覚チップを指定し、そのデータを読み出す。このような構成によって、各素子へ個別の配線をすることなく、高密度に配置された触覚素子からデータを読み出すことができる。また応力を検出した場所でそれを符号化して伝送するため、高いSN比で計測を行うことができる。
以下、第2の実施の形態について詳細に説明する。
図26は、第2の実施の形態における触覚チップ1と導電性ゴム2および3を用いた触覚センサの模式図である。この触覚センサは、触覚チップ(以下、「触覚素子」ともいう)1が導電性ゴム2および3に挟まれた構造を有している。触覚チップ1は、外部からの圧力を電気信号に変換する。ホストコンピュータ4は、導電性ゴム2および3に電圧を印加する機能を有する。
図27は、触覚センサの断面図である。触覚チップ1の上面および下面には電極6aおよび6bが設けられる。電極6aおよび6bは、それぞれ導電性ゴム2および3と電気的に接触する。導電性ゴム2および3の間には絶縁層7aが設けられ、また導電性ゴム2の上面には、絶縁層7bが設けられている。絶縁層7bの表面5は、外部に露出してもよい。
次にこの触覚センサの全体の動作を説明する。
図28は、第2の実施の形態の触覚センサのコンピュータから各素子へ送信される信号電圧、及び各素子の端子間入出力インピーダンスを示す図である。
図28(a)は、導電性ゴムに接続されたコンピュータから、その導電性ゴムに印加される電圧を示している。図28(b)および図28(c)は各触覚チップの電極間の入力および出力インピーダンスを表しており、電源投入時には全てのチップの2つの端子間のインピーダンスは小さく、電圧印可によって電流が各チップに流入し、動作のためのエネルギーが蓄えられる。一定時間経過後に動作可能状態となり、2層の導電性ゴム2および3に接続されたコンピュータ4から16ビットのID信号が送出される。
なお、この例において、チップの通信回路は5MHzで動作し、コンピュータと触覚チップとで送受信される信号は1MHzであるものとする。コンピュータのクロックと触覚チップ上のクロックは同期しておらず、電源投入直後にコンピュータから32個のパルスを送出し、各触覚チップはその32個のパルスが到来する間にカウントされた自身のチップ上のクロック数を記録することで、コンピュータからの信号のクロックと自身のクロックとの周波数の比を測定する。この動作は電源投入後に一度だけ行い、以後この比を用いて通信を行う。
コンピュータからID信号を受け取った触覚チップは、そのIDが自身のIDと異なる場合には、図28(b)に示すように、端子間インピーダンスを高くしたまま次のID信号受信までの一定時間を待機する。受け取ったIDが自身のIDと一致した場合には、図28(c)に示すように、保持していた32ビットの触覚データを送信する。一つのチップがIDを受信し、信号を送信するのに要する合計時間は60μ秒である。また、各素子の応力計測は通信とは独立して行われており、1m秒ごとにチップ内部の保持データを更新する。なお、この通信方式は、前述した直接伝達型の通信方式に相当する。
図29は、第2の実施の形態における人工皮膚の構造原理を示す。図29(a)は、直接伝達型の通信方式の信号送信の原理を説明するための図である。触覚素子1は上面と底面に電気的な接点をもち、2層の通信層36に電気的に接触している。触覚素子1内部のスイッチ38を開放、短絡することによって、通信層36間の電位を変化させ信号を送信する。いま、人工皮膚の面積をSとし、通信層36間の静電容量をC[F]とすると、C=ε0S/dであるから(dは通信層36の間隔)、S=0.1[m2]、d=1[mm]とするとC=1[nF]程度である。いま通信層36の面抵抗(正方形を切り出したときの対辺間の抵抗)をρとすると、τ=ρC以上の時定数においては図29(b)のような集中定数で現象を記述することができる。図29(b)は、通信層36の電位を一定とみなせる周波数における等価回路を示す図である。いまρ=100[Ω]とすると、τ=0.1[μs]であるから、人工皮膚の面積が30cm角程度であれば、この方法により触覚素子1から1MHz程度の信号を送信し、それを通信層36の任意点で観測することができる。
図29(c)は、触覚素子1の回路の基本構成を示す図である。図のようにダイオードを介して触覚素子1を動作させるのに必要な電流i(10[MHz]動作時において30[μW]程度)を信号層から受け取る。素子の総数をn=1,000程度とすれば全素子が待機中に消費する電流はni=30[mA]程度であり、この電流による通信層36間の等価抵抗は100[Ω]程度である。例えば各素子の出力がハイである時間が全体のa倍を占めている場合、ハイである間に全素子に流入すべき電流の合計はJ=ni/aであり、これによる電圧降下分を差し引いても2層間に動作電圧が確保できるのであれば信号の送受信と電力供給を同時に行うことができる。
各素子とホストコンピュータとの通信は例えば以下のように行えばよい。各素子はスイッチをオフの状態に維持しながら外部の信号を観察する。無信号時の信号層の電位はハイであり、全てのデータ、およびコマンドは原則としてmビットごと(例えばm=4)にハイとなる。この規則によって素子への電力供給を確保する。
m+1ビット以上のローの連続は、直後にホストコンピュータから信号が送信される目印となる。その後最初の立下りから16ビットをアドレスデータとし、それがあらかじめ設定されている自身のIDと一致する場合に触覚データを送信する。ホストコンピュータはそのデータを読み込む。
なお、ホストコンピュータから送信される信号のクロック周波数Fと、素子のクロック周波数G(>F)の比率はばらつきがあるため、電源投入直後に以下の手続きによってFとGの比を観測して保存する。
図29(d)は、電源の投入を検出する回路を示す図である。この回路は、電源投入直後であることを検出し、その直後から一定数の入力パルスをカウントする。ホストコンピュータ側は電源投入直後に通信のクロック信号を通信層36に印加する。決まった数の信号クロックをカウントする間に、素子内部のクロック数を同時にカウントして入力パルスの周期と自身のクロック周期の比を算出する。以後はこの比率をもとに通信層36の信号を読む。また自身が信号を発生する場合も、ホストコンピュータが発生するのと同じ周期で信号を発生させる。
AおよびG間に電圧が印加されるとC1<C2としてまず端子Bがハイとなり次に端子Dが立ち上がる。端子Bの立ち上がりと同時に触覚素子1のクロックをオンし、BとDが両方ハイとなったときに主回路が動作する。クロック比の算出動作は、BがハイでありかつDがローであるときに開始されることとしておくと、電源投入直後に1度だけ実行されることになる。
触覚センサチップの構造、および応力検出の原理は、図30〜図32に示されている。ここで、図30(a)は触覚チップの側面図、図30(b)は触覚チップの分解図、図30(c)はLSIチップ1bの表面図及びLSIチップ1bに付加する部品の図である。図30(a)におけるd1は100μm、d2は100μm、図30(c)におけるd3は3mm、d4は1mmである。図30(c)において電極6が示されている。
LSIチップ1bの表面にはE1からE4までの4つの電極が形成されており、LSIチップの内部には通信用のデジタル回路とともに、図31に示すような自励発振用回路が組み込まれている。このようなLSIチップ1bの上面には金属製(りん青銅製)の部品1aが接続される。
図31に示すように、発振回路の端子S1およびS2はLSI内部のスイッチによって電極E1からE4までのうち2つを選んで接続され、金属部品1aを介して両電極の間に生じる容量Cと、回路中の抵抗Rで与えられる時定数CRで発振が生じる。容量CはLSI上の電極と、それに接着された金属部品1aまでの距離によって決まるため、この発振回路の周波数を知ることによって指定された電極と金属部品1aまでの距離を得ることができる。したがって、ここからチップ全体への応力に対する金属部品1aの変形を知ることができる。なお電極E1からE4までとLSIのグランド層との容量が大きい場合には、各電極Eと金属部品1aの対応領域とでそれぞれ個別の発信回路を組み、4つのサイトごとに発信周波数を観測してもよい。
以上の測定原理を数式を用いて再度説明する。
いま電極E(i=1〜4)と金属部品1aとの間の容量をCと表すことにし、発振回路の端子S1およびS2を電極EおよびEに接続したとする。このとき端子S1およびS2に接続された容量Cは
1/C=1/C+1/C
で与えられ、発振回路はこの容量Cを用い、周波数fij=α/CRで発振する。ただし、αは定数である。したがって、電極Eと部品1aとの間の平均距離をdとすると、EおよびEをS1およびS2に接続したときの発振周波数は
ij=α/R・(1/εS)・(d+d
で与えられる。εは空気の誘電率、Sは各電極の面積である。
したがって、この発振周波数から選択した2つの電極と金属部品1aとの平均距離を知ることができる。
次に、図31のようにx−y軸をとり、金属部品1aの表面上にp(x,y)なる垂直応力の分布が与えられたとする。そのときの平均圧力p0とそのx方向およびy方向微分pおよびpは発振周波数と
p0=−β(Δf12+Δf34
≡(∂/∂x)p=−γ(Δf24−Δf13
≡(∂/∂y)p=−γ(Δf12−Δf34
のような関係をもつ。Δfijは、応力が働いていないときの発振周波数fijを基準としたときの、そこからの変化分である。部品1aとLSIチップを接続する部分の直径d4(図30参照)を小さくすることによって、圧力分布の空間微分pおよびpに対する感度をpの感度に対して相対的に高めることができる。なお試作回路において、図31の抵抗Rは100kΩであり、発振周波数は約10MHzである。
触覚素子は図32のように埋め込まれる。なお、空洞1cには空気が存在する。触覚チップ1の厚みHが有限の場合には、pおよびpが、素子周囲に一様に与えられるせん断応力TxzおよびTyzに比例する。基礎実験として汎用の回路基板上に電極E1〜E4を形成し、金属部品1aを接続した構造物を、試作したLSIチップ1bに外付けし、発振回路の動作を確認した実験の様子を図33に示す。この図33において、剛体壁8、柔軟ゴム9、回路基板10が示されている。d5は10mmである。
図34はLSIチップのマスクパターン(代用図)、図35(a)は、基礎実験として汎用の回路基板上に作成した電極E1〜E4から部品1aを取り外した状態を上方から撮影した写真(代用図)、図35(b)は電極E1〜E4に部品1aを接続した状態を撮影した写真(代用図)である。
図36は無負荷時に観測された発振波形であり、横軸に時間(μs)、縦軸に電圧(V)を示している。
図37は、構造物の表面に柔軟体を設置し、表面全体に変位を与えていったときに観測された発信周波数を示す図である。図37(a)は、構造物の表面に厚さ3mmの柔軟体(ヤング率は4.4×105Pa)を設置し、表面全体に垂直変位を与えていったときに観測された発振周波数f13およびf24を示す。垂直負荷によって金属部品1aと電極との距離が全体に減少し、両方の発振周波数が減少することがわかる。図37(a)において、横軸はZ変位[mm]、縦軸は周波数[MHz]を示している。
図37(b)は、表面に水平方向(x方向)変位を与えていったときに観測されたf13およびf24を示す。横軸はX変位[mm]、縦軸は周波数[MHz]を示している。ステージを+x方向に移動し、表面は相対的に左方向に変位させたとき、左側電極に対する発振周波数f24は減少し、右側電極に対する発振周波数f13は増加する傾向が見られた。
以上で観測された周波数についてf13およびf24の和および差をプロットし直したものを図38に示す。図38(a)は、垂直変位を与えていったときに観測されたf13およびf24の和および差を横軸にZ方向変位をとりプロットした図であり、図38(b)は、表面に水平方向(x方向)変位を与えていったときに観測されたf13およびf24の和および差を横軸にX方向変位をとりプロットした図である。図38(a)において、横軸はZ変位[mm]、縦軸は周波数[MHz]を示し、図38(b)において、横軸はX変位[mm]、縦軸は周波数[MHz]を示している。
垂直応力を与えた場合には和信号が変化して差信号は変化せず、水平応力を与えた場合にはその逆に和信号が変化せず、差信号が変化した。
この結果から、本触覚チップは垂直応力とせん断応力を分解して検出することができることがわかる。
また、発振周波数の安定性は、1msの観測時間に対し変動1kHzであり、誤差率は0.01%であった。弾性体表面の1mmの変位に対し、発振周波数は約10%程度変化し、検出可能な最小表面変位は1μmであった。すなわち応力測定レンジとして10ビット以上を実現することができた。
なお、導電性ゴム2および3と触覚チップ1の接続方法は、ここに示したものの他、図39のようにチップ上の電極6aおよび6bを同一面に配置し、ピン状突起11aおよび11bによって複数の層と電気接触を確保する方法や、図40のように単一層の内部に導電領域をパターニングする方法も考えられる。図40では単一層内の複数の導電領域にチップの電極を電気的に接触させている。図39において、ピン状突起11aおよび11bは、チップ上の電極6aおよび6bと導電性ゴム層2および3との電気接触をそれぞれ確保するために設けられる。導電性ゴム層3の下面および上面には、絶縁層7aおよび7bがそれぞれ設けられる。図40において、単一ゴム層内の絶縁領域12、および単一ゴム層内の導電領域13が示されている。
センサシートの面積が大きい場合、2層の導電層間の容量が大きくなるため、同一層内部でも、導電性が必要ない部分は非導電性材料に置き換えておくことは有効である。
また、個別の配線を用いずに多数の触覚チップからの信号を導電性ゴムを介して読み出すことによって、柔らかさと丈夫さを保ったまま高密度に触覚センサを配置することができ、また局所的に検出した変形データを符号化して信号送信することにより、触覚信号をSN比良く読み出すことが可能となる(実験においては測定レンジは10ビット以上)。これを用いて人間の触覚と同様に柔らかいセンサが実現されると期待され、これらをロボットの表面全体に被覆することも可能である。
以上、第2の実施形態によれば、高密度に多数の触覚素子が配置された柔軟な触覚センサを実現することができる。
以上、本発明をいくつかの実施の形態をもとに説明した。これらの実施の形態は例示であり、それらの各構成要素や各処理プロセスの組合せにいろいろな変形例が可能なこと、またそうした変形例も本発明の範囲にあることは当業者に理解されるところである。
通信技術の方式を説明するための図である。 (a)は連鎖伝達型の通信方式の概念図であり、(b)は直接伝達型の通信方式の概念図である。 第1の実施の形態にかかる通信装置の外観構成を示す図である。 通信素子の機能ブロック図である。 局所的通信を実現する通信デバイスの構造の一例を説明するための図である。 (a)は駆動用コンデンサを充電する通信素子の状態を示す図であり、(b)は駆動用コンデンサを放電する通信素子の状態を示す図である。 電荷蓄積型の通信デバイスにおける電圧と通信距離の関係を示す図である。 (a)は電流拡散型の通信デバイスの構造の一例を示す図であり、(b)は電流拡散型の通信デバイスの構造の別の例を示す図であり、(c)は電流拡散型の通信デバイスの構造のさらに別の例を示す図である。 電流拡散型の通信デバイスが信号を発信する原理を説明するための図である。 通信素子に電力を供給する構成を示す図である。 論理波動伝播モードにより信号が伝播する状態を説明するための図である。 アドレス連鎖伝達モードにおける通信素子の階層構造を説明するための図である。 送信パケットの構成の一例を示す図である。 各階層内の経路データを概念的に示した図である。 アドレス連鎖伝達モードにおいて、送信元の通信素子からその親素子に信号を伝達する状況を説明するための説明図である。 アドレス連鎖伝達モードにおいて、上位の通信素子から送信先の通信素子に信号を伝達する状況を説明するための説明図である。 アドレス連鎖伝達モードにおいて、管理用の高次の通信素子を経由することなく送信先の通信素子に信号を伝達する状況を説明するための図である。 (a)は転送パケットの一例を示す図であり、(b)は転送パケットの別の例を示す図であり、(c)は転送パケットのさらに別の例を示す図であり、(d)は転送パケットのさらに別の例を示す図である。 近傍応答要求のパケットの構成を示す図である。 近傍調査要求のパケットの構成を示す図である。 近傍コピー要求のパケットの構成を示す図である。 調査報告のパケットの構成を示す図である。 連鎖確認通知のパケットの構成を示す図である。 連鎖ID変更要求のパケットの構成を示す図である。 連鎖近傍応答要求のパケットの構成を示す図である。 触覚センサの模式図である。 触覚センサの断面図である。 (a)は導電性ゴムに接続されたコンピュータから、その導電性ゴムに印加される電圧を示す図であり、(b)は触覚チップの電極間の入力および出力インピーダンスを表す図であり、(c)は別の触覚チップの電極間の入力および出力インピーダンスを表す図である。 (a)は直接伝達型の通信方式の信号送信の原理を説明するための図であり、(b)は導電層の電位を一定とみなせる周波数における等価回路を示す図であり、(c)は触覚素子の回路の基本構成を示す図であり、(d)は電源の投入を検出する回路を示す図である。 (a)は触覚チップの側面図であり、(b)は触覚チップの分解図であり、(c)はLSIチップの表面図及びLSIチップに付加する部品の図である。 応力検出のための発信回路の説明図である。 触覚素子の実装状態を示す断面図である。 触覚センサの動作確認実験装置の模式図である。 試作したテスト用LSIチップのマスクパターンの代用図である。 (a)は外付けした電極から部品を取り外した状態を上方から撮影した写真の代用図であり、(b)は電極に部品を接続した状態を撮影した写真の代用図である。 テストチップで観測された発信波形図である。 (a)は構造物の表面全体に垂直変位を与えていったときに観測された発振周波数f13およびf24を示す図であり、(b)は表面に水平方向(x方向)変位を与えていったときに観測されたf13およびf24を示す図である。 (a)は、垂直変位を与えていったときに観測されたf13およびf24の和および差を横軸にZ方向変位をとりプロットした図であり、(b)は、表面に水平方向(x方向)変位を与えていったときに観測されたf13およびf24の和および差を横軸にX方向変位をとりプロットした図である。 チップ上の同一面に電極を配置し、ピン状突起によって2層の導電性ゴムと接触をとる方法の説明図である。 チップ上の同一面に電極を配置し、単一層の内部に導電領域をパターニングしたものと、それらの電極を電気的に接触する方法の説明図である。
符号の説明
16・・・導電層、18・・・導電層、20・・・信号層、30・・・信号層、36・・・通信層、40・・・高抵抗層、42・・・高抵抗層、44・・・電源層、46・・・高抵抗層、48・・・電源層、50・・・通信部、60・・・処理部、70・・・メモリ、100・・・通信装置、200・・・通信素子。

Claims (9)

  1. 第1導電層および第2導電層と、第1導電層および第2導電層に接続する複数の通信素子を備えた通信装置であって、各通信素子は、前記第1導電層と前記第2導電層との間の電圧を制御することにより、その周囲に広がって伝播される前記第1導電層と前記第2導電層の間の電圧変動を信号として、他の通信素子に対して発信し、且つ、他の通信素子からの信号を監視して、前記第1導電層と前記第2導電層の間の電圧変動を信号として認識する機能を有しており、
    各通信素子は、自身を識別するためのIDを有し、伝達される信号には、次に信号を受け取る通信素子を特定するIDが含まれており、
    通信素子は、信号に含まれるIDにより、信号が自身に対するものであるか否かを判別することを特徴とする通信装置。
  2. 第1導電層および第2導電層と、第1導電層および第2導電層に接続する複数の通信素子を備えた通信装置であって、各通信素子は、前記第1導電層と前記第2導電層との間の電圧を制御することにより、その周囲に広がって伝播される前記第1導電層と前記第2導電層の間の電圧変動を信号として、他の通信素子に対して発信し、且つ、他の通信素子からの信号を監視して、前記第1導電層と前記第2導電層の間の電圧変動を信号として認識する機能を有しており、
    各通信素子は、自身を識別するためのIDを有し、伝達される信号には、信号を送信した通信素子を特定するIDが含まれており、
    通信素子は、信号に含まれるIDにより、信号を送信した通信素子を特定することを特徴とする通信装置。
  3. 通信素子は、その周囲に同心円状に広がって伝搬される前記第1導電層と前記第2導電層の間の電圧変動を、信号として発信する機能をもつことを特徴とする請求項1または2に記載の通信装置
  4. 伝達される信号には、信号の最終目的地となる通信素子を特定するIDが含まれていることを特徴とする請求項1から3のいずれかに記載の通信装置。
  5. 伝達される信号には、信号の送信元となる通信素子を特定するIDが含まれていることを特徴とする請求項4に記載の通信装置。
  6. 分散して配置された複数の通信素子を備える通信装置であって、各通信素子の通信距離は周辺に配置された他の通信素子と局所的な通信を行える程度に設定されており、この局所的な通信により通信素子間で信号を順次伝達することによって、目的とする通信素子まで信号を伝達することを特徴とする請求項1から5のいずれかに記載の通信装置。
  7. 前記第1導電層および前記第2導電層は平坦層であることを特徴とする請求項1から6のいずれかに記載の通信装置。
  8. 前記第1導電層および前記第2導電層は、均質な導電層であることを特徴とする請求項1から7のいずれかに記載の通信装置。
  9. 複数の通信素子は、通信の管理機能の低いものから順に1次からN次までの階層に分類されることを特徴とする請求項1から8のいずれかに記載の通信装置。
JP2006043048A 2001-10-12 2006-02-20 通信装置 Expired - Lifetime JP3887397B2 (ja)

Priority Applications (1)

Application Number Priority Date Filing Date Title
JP2006043048A JP3887397B2 (ja) 2001-10-12 2006-02-20 通信装置

Applications Claiming Priority (2)

Application Number Priority Date Filing Date Title
JP2001315995 2001-10-12
JP2006043048A JP3887397B2 (ja) 2001-10-12 2006-02-20 通信装置

Related Parent Applications (1)

Application Number Title Priority Date Filing Date
JP2002131040A Division JP2003188882A (ja) 2001-10-12 2002-05-02 通信装置、通信デバイス、基板実装方法および触覚センサ

Publications (2)

Publication Number Publication Date
JP2006238439A JP2006238439A (ja) 2006-09-07
JP3887397B2 true JP3887397B2 (ja) 2007-02-28

Family

ID=37045527

Family Applications (1)

Application Number Title Priority Date Filing Date
JP2006043048A Expired - Lifetime JP3887397B2 (ja) 2001-10-12 2006-02-20 通信装置

Country Status (1)

Country Link
JP (1) JP3887397B2 (ja)

Families Citing this family (1)

* Cited by examiner, † Cited by third party
Publication number Priority date Publication date Assignee Title
US7969001B2 (en) * 2008-06-19 2011-06-28 Broadcom Corporation Method and system for intra-chip waveguide communication

Also Published As

Publication number Publication date
JP2006238439A (ja) 2006-09-07

Similar Documents

Publication Publication Date Title
JP2003188882A (ja) 通信装置、通信デバイス、基板実装方法および触覚センサ
US11918381B2 (en) Vital signs monitoring system
JP5414682B2 (ja) 触覚センサモジュール及び関連するセンサシステム
JP2004007448A (ja) 通信装置
JP4538594B2 (ja) 信号伝達システム
JP3866669B2 (ja) 通信デバイス
JP3887397B2 (ja) 通信装置
JP2017020819A (ja) 液体検知システム
JP2016220961A (ja) 皮膚抵抗測定装置
JP2004007450A (ja) 基板実装方法
JP3938590B2 (ja) 通信装置
JP2005055232A (ja) 歪量計測装置
JP2005026939A (ja) 通信装置および通信装置の製造方法
JP2005057401A (ja) 通信装置
JP4316429B2 (ja) 通信デバイスおよび通信装置
JP3825377B2 (ja) 通信装置
JP3869457B2 (ja) 通信装置
JP2005093603A (ja) 信号伝送用基板装置、信号伝送用基板装置の製造方法、コネクタ、通信装置および通信装置の製造方法
JP2005295236A (ja) 通信装置
JP2005295237A (ja) 通信装置
JP2005057399A (ja) 通信装置
WO2008072712A1 (ja) 無線式センサシステム、生体の健康管理システム
Sujatha et al. An Approach to Wireless Sensor Networks for Healthcare Scrutiny in Hospitals
JP2021146183A (ja) 離床検出装置と離床検出方法
JPWO2006035491A1 (ja) 通信装置

Legal Events

Date Code Title Description
A131 Notification of reasons for refusal

Free format text: JAPANESE INTERMEDIATE CODE: A131

Effective date: 20060620

A521 Request for written amendment filed

Free format text: JAPANESE INTERMEDIATE CODE: A523

Effective date: 20060811

TRDD Decision of grant or rejection written
A01 Written decision to grant a patent or to grant a registration (utility model)

Free format text: JAPANESE INTERMEDIATE CODE: A01

Effective date: 20061121

A61 First payment of annual fees (during grant procedure)

Free format text: JAPANESE INTERMEDIATE CODE: A61

Effective date: 20061124

R150 Certificate of patent or registration of utility model

Free format text: JAPANESE INTERMEDIATE CODE: R150

Ref document number: 3887397

Country of ref document: JP

Free format text: JAPANESE INTERMEDIATE CODE: R150

FPAY Renewal fee payment (event date is renewal date of database)

Free format text: PAYMENT UNTIL: 20091201

Year of fee payment: 3

S531 Written request for registration of change of domicile

Free format text: JAPANESE INTERMEDIATE CODE: R313531

FPAY Renewal fee payment (event date is renewal date of database)

Free format text: PAYMENT UNTIL: 20091201

Year of fee payment: 3

R350 Written notification of registration of transfer

Free format text: JAPANESE INTERMEDIATE CODE: R350

FPAY Renewal fee payment (event date is renewal date of database)

Free format text: PAYMENT UNTIL: 20091201

Year of fee payment: 3

FPAY Renewal fee payment (event date is renewal date of database)

Free format text: PAYMENT UNTIL: 20091201

Year of fee payment: 3

S202 Request for registration of non-exclusive licence

Free format text: JAPANESE INTERMEDIATE CODE: R315201

FPAY Renewal fee payment (event date is renewal date of database)

Free format text: PAYMENT UNTIL: 20091201

Year of fee payment: 3

R350 Written notification of registration of transfer

Free format text: JAPANESE INTERMEDIATE CODE: R350

FPAY Renewal fee payment (event date is renewal date of database)

Free format text: PAYMENT UNTIL: 20091201

Year of fee payment: 3

S202 Request for registration of non-exclusive licence

Free format text: JAPANESE INTERMEDIATE CODE: R315201

R350 Written notification of registration of transfer

Free format text: JAPANESE INTERMEDIATE CODE: R350

FPAY Renewal fee payment (event date is renewal date of database)

Free format text: PAYMENT UNTIL: 20091201

Year of fee payment: 3

FPAY Renewal fee payment (event date is renewal date of database)

Free format text: PAYMENT UNTIL: 20101201

Year of fee payment: 4

R250 Receipt of annual fees

Free format text: JAPANESE INTERMEDIATE CODE: R250

FPAY Renewal fee payment (event date is renewal date of database)

Free format text: PAYMENT UNTIL: 20101201

Year of fee payment: 4

FPAY Renewal fee payment (event date is renewal date of database)

Free format text: PAYMENT UNTIL: 20111201

Year of fee payment: 5

R250 Receipt of annual fees

Free format text: JAPANESE INTERMEDIATE CODE: R250

FPAY Renewal fee payment (event date is renewal date of database)

Free format text: PAYMENT UNTIL: 20111201

Year of fee payment: 5

FPAY Renewal fee payment (event date is renewal date of database)

Free format text: PAYMENT UNTIL: 20121201

Year of fee payment: 6

R250 Receipt of annual fees

Free format text: JAPANESE INTERMEDIATE CODE: R250

FPAY Renewal fee payment (event date is renewal date of database)

Free format text: PAYMENT UNTIL: 20121201

Year of fee payment: 6

FPAY Renewal fee payment (event date is renewal date of database)

Free format text: PAYMENT UNTIL: 20121201

Year of fee payment: 6

FPAY Renewal fee payment (event date is renewal date of database)

Free format text: PAYMENT UNTIL: 20131201

Year of fee payment: 7

R250 Receipt of annual fees

Free format text: JAPANESE INTERMEDIATE CODE: R250

R250 Receipt of annual fees

Free format text: JAPANESE INTERMEDIATE CODE: R250

S531 Written request for registration of change of domicile

Free format text: JAPANESE INTERMEDIATE CODE: R313531

R350 Written notification of registration of transfer

Free format text: JAPANESE INTERMEDIATE CODE: R350

R250 Receipt of annual fees

Free format text: JAPANESE INTERMEDIATE CODE: R250

R250 Receipt of annual fees

Free format text: JAPANESE INTERMEDIATE CODE: R250

R250 Receipt of annual fees

Free format text: JAPANESE INTERMEDIATE CODE: R250

R250 Receipt of annual fees

Free format text: JAPANESE INTERMEDIATE CODE: R250

R250 Receipt of annual fees

Free format text: JAPANESE INTERMEDIATE CODE: R250

R250 Receipt of annual fees

Free format text: JAPANESE INTERMEDIATE CODE: R250

R250 Receipt of annual fees

Free format text: JAPANESE INTERMEDIATE CODE: R250

R250 Receipt of annual fees

Free format text: JAPANESE INTERMEDIATE CODE: R250

EXPY Cancellation because of completion of term