JP3787828B2 - 車両用前部構造 - Google Patents

車両用前部構造 Download PDF

Info

Publication number
JP3787828B2
JP3787828B2 JP27914698A JP27914698A JP3787828B2 JP 3787828 B2 JP3787828 B2 JP 3787828B2 JP 27914698 A JP27914698 A JP 27914698A JP 27914698 A JP27914698 A JP 27914698A JP 3787828 B2 JP3787828 B2 JP 3787828B2
Authority
JP
Japan
Prior art keywords
vehicle
front fender
head
fender
pedestrian
Prior art date
Legal status (The legal status is an assumption and is not a legal conclusion. Google has not performed a legal analysis and makes no representation as to the accuracy of the status listed.)
Expired - Fee Related
Application number
JP27914698A
Other languages
English (en)
Other versions
JP2000108839A (ja
Inventor
裕 築地
有洋 古本
竜彦 岩本
Current Assignee (The listed assignees may be inaccurate. Google has not performed a legal analysis and makes no representation or warranty as to the accuracy of the list.)
Mazda Motor Corp
Original Assignee
Mazda Motor Corp
Priority date (The priority date is an assumption and is not a legal conclusion. Google has not performed a legal analysis and makes no representation as to the accuracy of the date listed.)
Filing date
Publication date
Application filed by Mazda Motor Corp filed Critical Mazda Motor Corp
Priority to JP27914698A priority Critical patent/JP3787828B2/ja
Publication of JP2000108839A publication Critical patent/JP2000108839A/ja
Application granted granted Critical
Publication of JP3787828B2 publication Critical patent/JP3787828B2/ja
Anticipated expiration legal-status Critical
Expired - Fee Related legal-status Critical Current

Links

Images

Classifications

    • BPERFORMING OPERATIONS; TRANSPORTING
    • B60VEHICLES IN GENERAL
    • B60RVEHICLES, VEHICLE FITTINGS, OR VEHICLE PARTS, NOT OTHERWISE PROVIDED FOR
    • B60R21/00Arrangements or fittings on vehicles for protecting or preventing injuries to occupants or pedestrians in case of accidents or other traffic risks
    • B60R21/34Protecting non-occupants of a vehicle, e.g. pedestrians
    • B60R2021/343Protecting non-occupants of a vehicle, e.g. pedestrians using deformable body panel, bodywork or components

Landscapes

  • Superstructure Of Vehicle (AREA)
  • Body Structure For Vehicles (AREA)

Description

【0001】
【発明の属する技術分野】
本発明は、車両用前部構造に係り、特に、歩行者が衝突した場合に衝突エネルギを吸収する車両用前部構造に関する。
【0002】
【従来の技術】
従来の一般的な車両用前部構造は、垂直方向に延びる縦壁部と、この縦壁部の上端から車体外側に連続して延びる外壁部とからなるフロントフェンダを備えている。
このような構造の車両に対して、歩行者が走行中の車両に衝突した場合、歩行者は、腰部を中心にして車両後方に回転し、頭部がフロントフェンダの外壁部の上部に衝突した場合には、フロントフロントフェンダの縦壁部が潰れて衝突エネルギが吸収され、それにより歩行者の頭部の保護が行われていた。このとき、縦壁部により頭部保護のために必要な衝突時のエネルギ吸収量を確保するためには、縦壁部が或る程度の長さを有することが必要である。
【0003】
一方、近年、空力特性向上等の理由から車両前部の高さを低くすることが望まれている。このためには、フロントフェンダの縦壁部を短くする必要があるが、上述したように、フロントフェンダの縦壁部により一定量の衝突エネルギを吸収しなければならないため、単純に縦壁部を短くすることはできない。
【0004】
【発明が解決しようとする課題】
そこで、従来は、この問題を解決するため、例えば、実開昭61-158571 号公報、特開平7-285461号公報等に種々の提案がなされている。以下、具体的に説明する。図1は、実開昭61-158571 号公報に示された車両用前部構造の正面から見た部分断面図である。この図1において、1は、車両前部構造におけるフロントフェンダであり、このフロントフェンダ1は、垂直方向に延びる縦壁部2と、この縦壁部2の上端から車体外側に連続して延びる外壁部3を備えている。この縦壁部2の下端には、車幅方向内側に折り曲げて形成された取付部4が設けられ、この取付部4は、フードリッジレインフォース5に固定され、さらに、このフードリッジレインフォース5は、その車幅方向内側に設けられたフードリッジ6に取り付けられている。さらに、縦壁部2には第1屈曲部7とその下方の第2屈曲部8が車体前後方向に延びるように設けられている。
【0005】
このような車両用前部構造の外壁部3の上部に衝突により歩行者の頭部が当たった場合、縦壁部2は、第1屈曲部7と第2屈曲部8が存在することにより、鎖線9により示すようにS字状に変形し、縦壁部2が安定した状態で潰れ、それにより、頭部保護のために必要な衝突エネルギが吸収される。
また、特開平7-285461号においても、同様に、縦壁部に段差部を設け、衝突時にフロントフェンダがこの段差部が適正に潰れることにより、衝突時に必要な量のエネルギを吸収するようにしているものが示されている。
【0006】
しかしながら、これらの従来の車両用前部構造においては、縦壁部に屈曲部又は段差部が車体前後方向にわたって均一に形成されているため、以下の問題がある。即ち、歩行者が成人の場合には、その頭部がフード又はフロントフェンダの後方部に衝突することになるが、歩行者が子供の場合には、頭部がフード又はフロントフロントフェンダの前方部に衝突することになり、そのため、頭部保護のために必要な衝突時のエネルギ吸収量は、車両前後方向にわたって同じはない。このため、車体前後方向にわたって均一な構造を採用した従来の車両用前部構造では、衝突時のエネルギ吸収量が車両前後方向にわたって同一であり、そのるため、大人に必要な衝撃時のエネルギ量を基準にすれば、大人より大きなエネルギ吸収量を必要とする小人が衝突した場合に、フード又はフロントフェンダの前方部では必要なエネルギが吸収できないため安全上問題であり、一方、小人に必要な衝突時のエネルギ吸収量を基準にすれば、フード又はフロントフェンダの後方部が必要以上の量のエネルギ吸収を行うため、その後方部の剛性を過度に低下させることになり問題である。
【0007】
そこで、本発明は、従来の技術の問題点を解決するためになされたものであり、大人か小人のいずれが衝突した場合であっても適切に歩行者を保護することが可能な車両前部構造を提供することを目的としている。
【0008】
【課題を解決するための手段】
上記の目的を達成するために、本発明は、フロントフェンダに車体前後方向にわたって低剛性部を設けた車両用前部構造であって、フロントフェンダは垂直方向に延びる縦壁部を備え、低剛性部は、フロントフェンダの縦壁部の一部に車体前後方向にわたって連続して延びるように折り曲げて形成されたV字状の脆弱部であり、その剛性が、歩行者の頭部がフロントフェンダの上部から衝突した場合に歩行者の頭部保護に必要なエネルギを吸収できるように設定されると共にフロントフェンダの後方部よりフロントフェンダの前方部のほうがより小さくなるように形成され、フロントフェンダの垂直方向に延びる縦壁部の下端にほぼ直角に折り曲げて形成された取付部が設けられ、この取付部が車体に固定されていることを特徴としている。
このように構成された本発明においては、フロントフェンダに車体前後方向にわたって低剛性部を設け、フロントフェンダは垂直方向に延びる縦壁部を備え、この低剛性部がフロントフェンダの縦壁部の一部に車体前後方向にわたって連続して延びるように折り曲げて形成されたV字状の脆弱部であり、この低剛性部の剛性が、歩行者の頭部保護に必要なエネルギを吸収できるように設定されると共にフロントフェンダの後方部よりフロントフェンダの前方部のほうがより小さくなるように形成されているので、フロントフェンダの前方部においては適切に小人の頭部保護を行うことができると共にフロントフェンダの後方部においては適切に大人の頭部保護を行うことができる。
また、本発明においては、低剛性部は、脆弱部のV字状の幅が車体前後方向で一定であり且つV字状の深さがフロントフェンダの後方部よりフロントフェンダの前方部のほうが大きくなるように形成されていることが好ましい。
【0009】
本発明は、フロントフェンダに車体前後方向にわたって衝撃吸収部を設けた車両用前部構造であって、衝撃吸収部は、フロントフェンダの上部の水平壁部の上面にフロントフェンダとは別車体前後方向にわたって連続して設けられた弾性体であり、その衝撃吸収度が、歩行者の頭部がフロントフェンダの上部から衝突した場合に歩行者の頭部保護に必要なエネルギを吸収できるように設定されると共にフロントフェンダの後方部よりフロントフェンダの前方部のほうがより大きくなるように形成されていることを特徴としている。
このように構成された本発明においては、フロントフェンダに車体前後方向にわたって衝撃吸収部を設け、衝撃吸収部はフロントフェンダの上部の水平壁部の上面にフロントフェンダとは別車体前後方向にわたって連続して設けられた弾性体であり、この衝撃吸収部の衝撃吸収度が、歩行者の頭部がフロントフェンダの上部から衝突した場合に歩行者の頭部保護に必要なエネルギを吸収できるように設定されると共にフロントフェンダの後方部よりフロントフェンダの前方部のほうがより大きくなるように形成されているため、フロントフェンダ前方部においては適切に小人の頭部保護を行うことができると共にフロントフェンダ後方部においては適切に大人の頭部保護を行うことができる。
また、本発明においては、衝撃吸収部は、弾性体の断面積が、フロントフェンダの後方部よりフロントフェンダの前方部のほうがより大きくなるように形成されていることが好ましい。
【0011】
【発明の実施の形態】
以下添付図面を参照して本発明の実施形態を説明する。
先ず、図2乃至図4により本発明の第1実施形態を説明する。この実施形態において、10は、車両用前部構造であり、この車両前部構造10は、車両前部の両側に設けられたフロントフェンダ12と、エンジンルームの上方を覆い開閉自在にも設けられたフード14とを備えている。図3及び図4に示すように、フロントフェンダ12は、垂直方向に延びる縦壁部16と、この縦壁部16の上端から車体外側に連続して延びる外壁部18を備えている。この縦壁部16の下端には、車幅方向内側に折り曲げて形成された取付部20が設けられ、この取付部20は、フードリッジレインフォース22に固定され、さらに、このフードリッジレインフォース22は、その車幅方向内側に設けられたフードリッジ24に取り付けられている。
【0012】
ここで、図2に示すように、Cは小人の頭部に相当する第1インパクタであり、Aは大人の頭部に相当する第2インパクタである。
【0013】
本実施形態においては、さらに、縦壁部16にはV字状の低剛性部である脆弱部26が形成されている。この脆弱部26は、車体前後方向にわたって延びており、幅wは前後方向において一定であるが、深さdは、車両前方の深さd(図3参照)が車両後方の深さd(図4参照)より大きくなるように形成されている。より具体的に言えば、図2に示すように、脆弱部26の深さdは、車両後方から前方に向って一定の割合で大きくなっている。この脆弱部26は、歩行者が走行中の車両に衝突してその頭部がフロントフェンダ12に当たった場合、歩行者が小人の場合には、車両前方の部分(図3に示す位置)で頭部保護に必要な比較的大きなエネルギを吸収できるようにその部分の深さdが設定され剛性を比較的大きく低下させており、一方、歩行者が大人の場合には、車両後方の部分(図4に示す位置)で頭部保護に必要な比較的小さなエネルギを吸収できるようにその部分の深さdが設定され剛性を比較的小さく低下させている。この結果、小人の頭部が受ける衝撃力は、大人の頭部が受ける衝撃力より小さくすることができ、さらに、大人の頭部が受ける衝撃力を歩行者保護に支障が無い程度に小人より大きくすることができる。
【0014】
次に第1実施形態の作用を説明する。先ず、小人が走行中の車両のフロントフロントフェンダ12の上部に衝突した場合には、図2に示すように、小人の頭に相当する第1インパクタAが車両前方に当たる。このとき、車両前方のフロントフェンダ12の縦壁部16には、比較的深さdの大きい脆弱部26が形成されているため、その分剛性が大きく低下しており、それにより、頭部保護に必要な比較的大きなエネルギを吸収することができ、その結果、頭部が受ける衝撃力を大人より小さくすることができる。次に、大人が走行中の車両のフロントフェンダ12の上部に衝突した場合には、図1に示すように、大人の頭に相当する第2インパクタBが車両後方に当たる。このとき、車両後方のフロントフロントフェンダ12の縦壁部16には、比較的深さdの小さい脆弱部26が形成されているため、その分剛性が小さく低下しており、それにより、頭部保護に必要な比較的小さなエネルギを吸収することができ、その結果、頭部が受ける衝撃力を歩行者保護に支障が無い程度に小人より大きくすることができる。
【0015】
本実施形態においては、大人と小人に必要な衝突時のエネルギ吸収量が異なることに起因して、フロントフェンダ12に車体後方向にわたって低剛性部である脆弱部を形成し、この脆弱部の剛性を車両後方より車両前方の方が小さくなるように形成しているため、車両前方においては適切に小人の頭部保護を行うことができると共に車両後方においては適切に大人の頭部保護を行い且つ過度な剛性低下を防止することができる。したがって、本実施形態によれば、歩行者が大人と小人のいずれであっても適切に保護することができる。
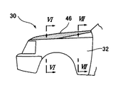
次に、図5乃至図7により本発明の第2実施形態を説明する。この実施形態において、30は、車両用前部構造であり、この車両用前部構造30は、車両前部の両側に設けられたフロントフェンダ32と、エンジンルームの上方を覆い開閉自在にも設けられたフード34とを備えている。図6及び図7に示すように、フロントフェンダ32は、水平方向に延びる水平壁部36と、この水平壁部36の外側端から車体下方に連続して延びる外壁部38を備えている。水平壁部36の内側端には、取付部40が設けられ、この取付部40は、フードリッジレインフォース42に固定され、さらに、このフードリッジレインフォース42は、その車幅方向内側に設けられたフードリッジ44に取り付けられている。
【0016】
本実施形態においては、さらに、フロントフェンダ32の水平壁部36の上面にゴム又は樹脂等により作られた弾性体46が固定して取り付けられている。この弾性体46は、車体前後方向にわたって延びており、断面積が車両後方から前方に向って一定の割合で大きくなるように設けられている。この弾性体46は、歩行者が走行中の車両に衝突してその頭部がフロントフェンダ32に当たった場合、歩行者が小人の場合には、車両前方の部分(図6に示す位置)で頭部保護に必要な比較的大きなエネルギを吸収できるようにその部分の断面積が比較的大きく設定され、一方、歩行者が大人の場合には、車両後方の部分(図7に示す位置)で頭部保護に必要な比較的小さなエネルギを吸収できるようにその部分の断面積が小さく設定されている。この結果、小人の頭部が受ける衝撃力は、大人の頭部が受ける衝撃力より小さくすることができ、さらに、大人の頭部が受ける衝撃力を歩行者保護に支障が無い程度に小人より大きくすることができる。
【0017】
次に第2実施形態の作用を説明する。先ず、小人が、走行中の車両のフロントフロントフェンダ32の上部に衝突した場合には、小人の頭は車両前方に当たる。このとき、車両前方のフロントフェンダ32の弾性体46は、その断面積が大きく設定されているため、頭部保護に必要な比較的大きなエネルギを吸収することができ、その結果、頭部が受ける衝撃力を大人より小さくすることができる。次に、大人が、走行中の車両のフロントフェンダ32の上部に衝突した場合には、大人の頭は車両後方に当たる。このとき、車両後方のフロントフロントフェンダ32の弾性体46は、その断面積が小さく設定されているため、頭部保護に必要な比較的小さなエネルギを吸収することができ、その結果、頭部が受ける衝撃力を歩行者保護に支障が無い程度に小人より大きくすることができる。
【0018】
本実施形態においても、第1実施形態と同様に、フロントフェンダ32に車体前後方向にわたって弾性体46を設け、この弾性体46の断面積を車両後方より車両前方の方が大きくなるように設定しているため、車両前方においては適切に小人の頭部保護を行うことができると共に車両後方においては適切に大人の頭部保護を行うことができる。また、衝突時のエネルギ吸収を弾性体46で行っているため、水平壁部36と外壁部38によりフロントフェンダ32に必要な剛性を確保することができ、剛性低下を防止することができる。
【0019】
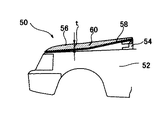
次に、図8及び9により本発明の第3実施形態を説明する。この実施形態において、50は、車両用前部構造であり、この車両用前部構造50は、車両前部の両側に設けられたフロントフェンダ52と、エンジンルームの上方を覆いフードヒンジ54を介して開閉自在にも設けられたフード56とを備えている。フード56は、フード本体部58と、このフード本体部58の上面全面に接着して設けられたゴム又は樹脂等で作られた弾性体部60とから構成されている。この弾性体部60は、その厚みtが車両後方から前方に向って一定の割合で大きくなるように設けられている。この弾性体部60は、歩行者が走行中の車両に衝突してその頭部がフード56に当たった場合、歩行者が小人の場合には、車両前方の部分で頭部保護に必要な比較的大きなエネルギを吸収できるようにその部分の厚みdが比較的大きく設定され、一方、歩行者が大人の場合には、車両後方の部分で頭部保護に必要な比較的小さなエネルギを吸収できるようにその部分の厚みdが小さく設定されている。この結果、小人の頭部が受ける衝撃力は、大人の頭部が受ける衝撃力より小さくすることができ、さらに、大人の頭部が受ける衝撃力を歩行者保護に支障が無い程度に小人より大きくすることができる。
【0020】
次に第3実施形態の作用を説明する。先ず、小人が、走行中の車両のフード56に衝突した場合には、小人の頭は車両前方に当たる。このとき、車両前方のフード56の弾性体部60は、その厚みdが大きく設定されているため、頭部保護に必要な比較的大きなエネルギを吸収することができ、その結果、頭部が受ける衝撃力を大人より小さくすることができる。次に、大人が、走行中の車両のフード56の上部に衝突した場合には、大人の頭は車両後方に当たる。このとき、車両後方のフード56の弾性体部60は、その厚みdが小さく設定されているため、頭部保護に必要な比較的小さなエネルギを吸収することができ、その結果、頭部が受ける衝撃力を歩行者保護に支障が無い程度に小人より大きくすることができる。
本実施形態においては、フード56に車体前後方向にわたって弾性体部60を設け、この弾性体体60の厚みdを車両後方より車両前方の方が大きくなるように設定しているため、車両前方においては適切に小人の頭部保護を行うことができると共に車両後方においては適切に大人の頭部保護を行うことができる。
【0021】
上述した第1乃至第第3実施形態においては、フロントフェンダ又はフードの何れか一方にのみ低剛性部又は衝突吸収部が設けられているが、本発明はこれに限定されることなく、フロントフェンダ及びフードの両方に、低剛性部及び/又は衝突吸収部を設けるようにしてもよい。
【0022】
【発明の効果】
以上説明したように、本発明の車両用前部構造によれば、大人か小人のいずれが衝突した場合であっても適切に歩行者を保護することができる。
【図面の簡単な説明】
【図1】 従来の車両用前部構造を示す車両前方から見た部分断面図
【図2】 本発明の車両用前部構造の第1実施形態を示す側面図
【図3】 図2のIII −III 線に沿って見た部分断面図
【図4】 図2のIV−IV線に沿って見た部分断面図
【図5】 本発明の車両の前部構造の第2実施形態を示す側面図
【図6】 図5のVI−VI線に沿って見た部分断面図
【図7】 図5のVII −VII 線に沿って見た部分断面図
【図8】 本発明の車両用前部構造の第3実施形態を示す側面図
【図9】 本発明の車両用前部構造の第3実施形態を示す斜視図
【符号の説明】
10,30,50 車両用前部構造
12,32,52 フロントフェンダ
14,34,56 フード
16 縦壁部
18,38 外壁部
26 脆弱部(低剛性部)
36 水平壁部
46 弾性体
58 フード本体部
60 弾性体部

Claims (4)

  1. フロントフェンダに車体前後方向にわたって低剛性部を設けた車両用前部構造であって、上記フロントフェンダは垂直方向に延びる縦壁部を備え、上記低剛性部は、上記フロントフェンダの縦壁部の一部に車体前後方向にわたって連続して延びるように折り曲げて形成されたV字状の脆弱部であり、その剛性が、歩行者の頭部がフロントフェンダの上部から衝突した場合に歩行者の頭部保護に必要なエネルギを吸収できるように設定されると共に上記フロントフェンダの後方部より上記フロントフェンダの前方部のほうがより小さくなるように形成され、上記フロントフェンダの垂直方向に延びる縦壁部の下端にほぼ直角に折り曲げて形成された取付部が設けられ、この取付部が車体に固定されていることを特徴とする車両用前部構造。
  2. 上記低剛性部は、上記脆弱部のV字状の幅が車体前後方向で一定であり且つV字状の深さが上記フロントフェンダの後方部より上記フロントフェンダの前方部のほうが大きくなるように形成されている請求項1記載の車両用前部構造。
  3. フロントフェンダに車体前後方向にわたって衝撃吸収部を設けた車両用前部構造であって、上記衝撃吸収部は、上記フロントフェンダの上部の水平壁部の上面に上記フロントフェンダとは別に車体前後方向にわたって連続して設けられた弾性体であり、その衝撃吸収度が、歩行者の頭部がフロントフェンダの上部から衝突した場合に歩行者の頭部保護に必要なエネルギを吸収できるように設定されると共に上記フロントフェンダの後方部より上記フロントフェンダの前方部のほうがより大きくなるように形成されていることを特徴とする車両用前部構造。
  4. 上記衝撃吸収部は、上記弾性体の断面積が、上記フロントフェンダの後方部より上記フロントフェンダの前方部のほうがより大きくなるように形成されている請求項記載の車両用前部構造。
JP27914698A 1998-09-30 1998-09-30 車両用前部構造 Expired - Fee Related JP3787828B2 (ja)

Priority Applications (1)

Application Number Priority Date Filing Date Title
JP27914698A JP3787828B2 (ja) 1998-09-30 1998-09-30 車両用前部構造

Applications Claiming Priority (1)

Application Number Priority Date Filing Date Title
JP27914698A JP3787828B2 (ja) 1998-09-30 1998-09-30 車両用前部構造

Publications (2)

Publication Number Publication Date
JP2000108839A JP2000108839A (ja) 2000-04-18
JP3787828B2 true JP3787828B2 (ja) 2006-06-21

Family

ID=17607093

Family Applications (1)

Application Number Title Priority Date Filing Date
JP27914698A Expired - Fee Related JP3787828B2 (ja) 1998-09-30 1998-09-30 車両用前部構造

Country Status (1)

Country Link
JP (1) JP3787828B2 (ja)

Families Citing this family (1)

* Cited by examiner, † Cited by third party
Publication number Priority date Publication date Assignee Title
KR100363625B1 (ko) * 2000-07-27 2002-12-05 현대자동차주식회사 차량의 후드 패널 구조

Also Published As

Publication number Publication date
JP2000108839A (ja) 2000-04-18

Similar Documents

Publication Publication Date Title
CN101239610B (zh) 车辆的机罩装置
EP1258417B1 (en) Front body structure for vehicle
JP3687086B2 (ja) 車両用前部構造
JP2002166854A (ja) 歩行者の保護機能を有する自動車のフェンダパネルの衝撃吸収構造
JP4736609B2 (ja) 自動車のフェンダーパネル取付構造
JP3627604B2 (ja) 車両の前部車体構造
JP2001071837A (ja) 車両の前部車体構造
US20070029840A1 (en) Energy absorbing vehicle fender
US20060131931A1 (en) Energy absorbing vehicle fender
KR100867700B1 (ko) 보행자 보호를 위한 차량 전방의 구조물
JP3680310B2 (ja) 車両用前部構造
JP3787828B2 (ja) 車両用前部構造
EP1222094B1 (en) A vehicle bumper arrangement
US7210732B2 (en) Energy absorbing vehicle fender
JPS6382851A (ja) 車両座乗者の脚部保護装置
KR100402779B1 (ko) 보행자 보호를 위한 차체의 프론트펜더취부구조
JPS6027100Y2 (ja) 車体後部ヘの泥跳ね防止構造
JP4000445B2 (ja) 車体構造
KR100402781B1 (ko) 보행자 보호를 위한 차체의 프론트펜더취부구조
JP3029647U (ja) 車輛用グリルガード
JP3029328U (ja) 車輛用グリルガード
JP2001010423A (ja) 車両の前部車体構造
KR0139596Y1 (ko) 자동차의 후방 충격 흡수 구조
KR19980072491A (ko) 차량의 펜더 보강장치
KR20030096501A (ko) 자동차용 필러 트림의 충격 흡수구조

Legal Events

Date Code Title Description
A977 Report on retrieval

Free format text: JAPANESE INTERMEDIATE CODE: A971007

Effective date: 20040604

A131 Notification of reasons for refusal

Free format text: JAPANESE INTERMEDIATE CODE: A131

Effective date: 20040614

A521 Written amendment

Free format text: JAPANESE INTERMEDIATE CODE: A523

Effective date: 20040813

A131 Notification of reasons for refusal

Free format text: JAPANESE INTERMEDIATE CODE: A131

Effective date: 20050214

A521 Written amendment

Free format text: JAPANESE INTERMEDIATE CODE: A523

Effective date: 20050415

A131 Notification of reasons for refusal

Free format text: JAPANESE INTERMEDIATE CODE: A131

Effective date: 20050516

A521 Written amendment

Free format text: JAPANESE INTERMEDIATE CODE: A523

Effective date: 20050715

A02 Decision of refusal

Free format text: JAPANESE INTERMEDIATE CODE: A02

Effective date: 20051212

A521 Written amendment

Free format text: JAPANESE INTERMEDIATE CODE: A523

Effective date: 20060206

A911 Transfer of reconsideration by examiner before appeal (zenchi)

Free format text: JAPANESE INTERMEDIATE CODE: A911

Effective date: 20060213

TRDD Decision of grant or rejection written
A01 Written decision to grant a patent or to grant a registration (utility model)

Free format text: JAPANESE INTERMEDIATE CODE: A01

Effective date: 20060306

A61 First payment of annual fees (during grant procedure)

Free format text: JAPANESE INTERMEDIATE CODE: A61

Effective date: 20060319

R150 Certificate of patent or registration of utility model

Free format text: JAPANESE INTERMEDIATE CODE: R150

FPAY Renewal fee payment (event date is renewal date of database)

Free format text: PAYMENT UNTIL: 20090407

Year of fee payment: 3

FPAY Renewal fee payment (event date is renewal date of database)

Free format text: PAYMENT UNTIL: 20100407

Year of fee payment: 4

FPAY Renewal fee payment (event date is renewal date of database)

Free format text: PAYMENT UNTIL: 20100407

Year of fee payment: 4

FPAY Renewal fee payment (event date is renewal date of database)

Free format text: PAYMENT UNTIL: 20110407

Year of fee payment: 5

FPAY Renewal fee payment (event date is renewal date of database)

Free format text: PAYMENT UNTIL: 20120407

Year of fee payment: 6

FPAY Renewal fee payment (event date is renewal date of database)

Free format text: PAYMENT UNTIL: 20120407

Year of fee payment: 6

FPAY Renewal fee payment (event date is renewal date of database)

Free format text: PAYMENT UNTIL: 20130407

Year of fee payment: 7

FPAY Renewal fee payment (event date is renewal date of database)

Free format text: PAYMENT UNTIL: 20130407

Year of fee payment: 7

FPAY Renewal fee payment (event date is renewal date of database)

Free format text: PAYMENT UNTIL: 20140407

Year of fee payment: 8

LAPS Cancellation because of no payment of annual fees