JP3772688B2 - 密封装置 - Google Patents
密封装置 Download PDFInfo
- Publication number
- JP3772688B2 JP3772688B2 JP2001105268A JP2001105268A JP3772688B2 JP 3772688 B2 JP3772688 B2 JP 3772688B2 JP 2001105268 A JP2001105268 A JP 2001105268A JP 2001105268 A JP2001105268 A JP 2001105268A JP 3772688 B2 JP3772688 B2 JP 3772688B2
- Authority
- JP
- Japan
- Prior art keywords
- weight
- material composition
- rubber material
- parts
- rubber
- Prior art date
- Legal status (The legal status is an assumption and is not a legal conclusion. Google has not performed a legal analysis and makes no representation as to the accuracy of the status listed.)
- Expired - Fee Related
Links
Images
Landscapes
- Sealing Of Bearings (AREA)
- Compositions Of Macromolecular Compounds (AREA)
Description
【発明の属する技術分野】
本発明は、自動車用ハブユニット軸受又は鉄道車両用軸受に備えられる密封装置に係り、特に、水や塵埃が多量に存在する過酷な環境下においてグリース潤滑で使用される前記軸受の密封装置に関する。
【0002】
【従来の技術】
従来、ハブユニットシール等の密封装置を構成する弾性部材(軸等の相手材と摺接する接触先端(シールリップ部))には、該密封装置を備える転動装置が上記のような過酷な環境下において使用される場合であっても、ニトリルゴム等に適宜添加剤を配合したゴム材料組成物が使用されていた。このようなゴム材料組成物を弾性部材に用いた密封装置は、水や塵埃が少ない環境下、すなわち清浄な環境下においては、グリース潤滑の場合でも十分なシール性能を有していた。
【0003】
しかしながら、自動車用ハブユニット軸受や鉄道の車軸等に用いられる車両用軸受等は屋外で使用されるため、多量の水(雨水や泥水等)及び塵埃に曝されて、密封装置の潤滑が十分に維持できないおそれがある。そのため、密封装置の接触先端と軸との間に摩擦熱が生じて、グリースの劣化が促進されたり、軸と摺接する接触先端が摩耗して密封性が低下し、軸受内部に水や塵埃が侵入する等の不都合が生じて、その結果、軸受寿命の低下を来すおそれがあった。
【0004】
次に、上記のような過酷な環境下で使用される転動装置に備えられる密封装置の一例として、自動車用ハブユニット軸受に備えられるハブユニットシールについて説明する。
このようなハブユニットシールとしては、例えば図1に示すようなものがある。このハブユニットシール100は、芯金105と、スリンガ106と、弾性部材107とで構成されている。そして、この弾性部材107は、一般に、ニトリルゴム組成物で構成されている。
【0005】
【発明が解決しようとする課題】
上記のようなハブユニットシール100は、泥水に曝される等の過酷な環境下で長期間にわたって使用されることが多い。したがって、スリンガ106と弾性部材107のシールリップ114,115,116との間に発熱が生じることにより軸受のグリースが劣化して、軸受の寿命が低下する場合があった。
【0006】
また、水に曝されることによりシールリップ114,115,116の潤滑が不十分となると、シールリップ114,115,116の摩耗が促進され早期に密封性が低下するが、このような場合や長期間の使用によりシールリップ114,115,116が摩耗した場合は、水や塵埃が軸受内に侵入して、やはり軸受の寿命が低下する場合があった。
【0007】
このように、ニトリルゴム組成物で弾性部材107を構成した従来のハブユニットシール100は、上記のような過酷な使用条件においては、スリンガ106と弾性部材107のシールリップ114,115,116との摺接によりシールリップ114,115,116が早期に摩耗しやすく、シールリップ114,115,116とスリンガ106との間の密封性が低下するので、本来のハブユニットシールの機能が十分に発揮されないことが多かった。
【0008】
また、摩耗が進行する以前においても、摩擦熱によりグリースが劣化して、同様にハブユニットシール100の機能が十分に発揮されないことが多かった。
そこで、本発明は、上記のような従来技術の有する問題点を解決し、耐摩耗性に優れ摩擦による発熱が少ないゴム材料組成物が材料であり、水や塵埃が多量に存在する過酷な環境下においてグリース潤滑で使用される自動車用ハブユニット軸受又は鉄道車両用軸受の密封装置を提供することを課題とする。
【0009】
【課題を解決するための手段】
上記課題を解決するため、本発明は次のような構成からなる。すなわち、本発明の密封装置は、自動車用ハブユニット軸受又は鉄道車両用軸受に備えられ、ゴム材料組成物を材料とする密封装置において、前記ゴム材料組成物は、カルボキシル化アクリロニトリルブタジエンゴム100重量部と、カーボンブラック20〜90重量部と、ポリオレフィン粒子10〜60重量部と、シリコーン系オイル2〜30重量部と、を有することを特徴とする。また、自動車用ハブユニット軸受又は鉄道車両用軸受に備えられ、ゴム材料組成物を材料とする密封装置において、前記ゴム材料組成物は、カルボキシル化アクリロニトリルブタジエンゴム100重量部と、含水シリカ20〜150重量部と、ポリオレフィン粒子10〜60重量部と、シリコーン系オイル2〜30重量部と、シラン系カップリング剤と、を有することを特徴とする。
このような構成であれば、前記ゴム材料組成物は架橋密度が高いので、耐摩耗性,耐屈曲疲労性に優れている。よって、水や塵埃が多量に存在する過酷な環境下においてグリース潤滑で使用される自動車用ハブユニット軸受又は鉄道車両用軸受に適用しても、優れた密封性が維持されるので、自動車用ハブユニット軸受又は鉄道車両用軸受に優れた寿命を付与することができる。
【0010】
以下、前記ゴム材料組成物について、詳細に説明する。
前記ゴム材料組成物は、原料ゴムとしてカルボキシル化アクリロニトリルブタジエンゴム(カルボキシル変性ニトリルゴム)を有している。このようなゴム材料組成物は、自動車用ハブユニット軸受又は鉄道車両用軸受に備えられる密封装置を構成する弾性部材(軸等の相手材と摺接する接触先端(シールリップ部))の材料として好適に使用することができる。なお、必要に応じて、摩耗改良剤,加硫系添加剤,補強性充填剤,老化防止剤,潤滑剤,潤滑油,及び加工助剤等の各種添加剤をさらに添加してもよい。
【0011】
なお、カルボキシル化アクリロニトリルブタジエンゴムとは、通常のアクリロニトリルブタジエンゴムがカルボキシル基を備えた構造を有しているものである。そして、このカルボキシル基によってゴム材料組成物において架橋が進行し、架橋密度が高くなって、ゴム材料組成物の引張強度が向上する。その結果、ゴム材料組成物の耐摩耗性,耐屈曲疲労性が向上する。
【0012】
このようなカルボキシル化アクリロニトリルブタジエンゴムは、乳化重合等による製造時に、アクリロニトリルブタジエンゴムの重合で使用される通常の単量体であるアクリロニトリルとブタジエンとに加えて、カルボキシル基含有単量体であるアクリル酸,メタクリル酸等をさらに添加して共重合する等の方法により得ることができる。
【0013】
カルボキシル基含有単量体の添加量は、全単量体中の20重量%以下、好ましくは3〜10重量%の範囲である。だだし、添加した重量比の通りに各単量体が重合するわけではなく(すなわち、添加した単量体の重量比と得られた重合体の組成比とは異なる)、カルボキシル基含有単量体は重合しにくいため、得られた重合体中のカルボキシル基含有単量体成分の組成比は、添加した重量比と比べて必ず低いものとなる。
【0014】
得られた重合体中の実際のカルボキシル基の量は、酸当量で表すと、1×10-4ephr以上であることが好ましく、2×10-3〜5×10-2ephrの範囲であることがより好ましい。酸当量が1×10-4ephr未満であると、通常の(カルボキシル化されていない)アクリロニトリルブタジエンゴムと比較して架橋密度がほとんど変わらないので、ゴム材料組成物の引張強度,耐摩耗性等にほとんど向上が見られない。このような不都合をより生じにくくするためには、酸当量は2×10-3ephr以上であることがより好ましい。
【0015】
また、酸当量が5×10-2ephrを超えると、カルボキシル基の量が多くなり架橋密度が高くなりすぎるので、後述するゴム材料組成物の物性に問題が生じるおそれがある。具体的には、スプリング硬度が90を超え、引張破断伸びが200%未満になるおそれがあるとともに、スコーチのおそれが大きくなる。
通常のアクリロニトリルブタジエンゴムを原料ゴムとして使用した場合は、引張破断伸びが200%程度であるときは、引張強度は15〜20MPa程度である。これに対して、カルボキシル化アクリロニトリルブタジエンゴムを原料ゴムとして使用した場合は、引張破断伸びが200%程度であるときは、引張強度は25MPa以上となる。
【0016】
これは、ブタジエンに起因する二重結合部分に加えてカルボキシル基部分でも架橋反応が進行し架橋密度が高くなるため、通常のアクリロニトリルブタジエンゴムを原料ゴムとして使用した場合よりも、引張強度,耐摩耗性,耐屈曲疲労性が向上するためであると考えられる。したがって、転動装置に用いる密封装置の接触先端をこのようなゴム材料組成物で構成すれば、接触先端は密封装置の回転運動に速やかに追従して、損傷を受けにくい。
【0017】
なお、上記の酸当量は、次のようにして測定した値である。すなわち、ゴムをアセトンに溶解しn−へキサンで再沈精製した後、この再沈精製したゴムをピリジンに再溶解する。そして、このゴム溶液を、0.02Nの水酸化カリウムのエタノール溶液を用いて、チモールフタレインを指示薬として滴定し、ゴム100gに対する当量として求めた。
【0018】
また、カルボキシル化アクリロニトリルブタジエンゴムには、通常のアクリロニトリルブタジエンゴムと同じく数種の種類があり、アクリロニトリルの含有量によって、低い方から、低ニトリル,中ニトリル,中高ニトリル,高ニトリル,極高ニトリルがあるが、耐熱性,耐油性を考慮すると、中ニトリル,中高ニトリル,高ニトリルが好ましく、アクリロニトリルの含有量で言えば20〜40%が好ましい。
【0019】
このようなゴム材料組成物をハブユニットシール等の密封装置に使用する際には、加硫系添加剤,老化防止剤等は必須成分として添加されるが、場合によっては、補強性充填剤,摩耗改良剤,潤滑剤,潤滑油,及び加工助剤等の各種添加剤を添加してもよい。
補強性充填剤としては、カーボンブラックや白色系充填剤等があげられる。カーボンブラックとしては、具体的には、ISAF(Intermediate Super Abrasion Furnace black ),MAF(Medium Abrasion Furnace black ),SRF(Semi-Reinforcing Furnace black),GPF(General Purpose Furnace black ),FT(Fine Thermal Furnace black),MT(Medium Thermal Furnace black),HAF(High Abrasion Furnace black ),FEF(Fast Extruding Furnace black)等を例示することができるが、耐摩耗性を向上させるためには、補強性の高いHAF,FEFがより好ましい。
【0020】
また、白色系充填剤としては、具体的には、含水シリカ,クレー,タルク,炭酸カルシウム,珪藻土,ウォラストナイト等があげられる。
なお、カーボンブラックと白色系充填剤とを混合して用いてもよい。
このような補強性充填剤を用いると、密封装置を構成する弾性部材(軸等の相手材と摺接する接触先端(シールリップ部))の耐摩耗性が向上し、その結果、弾性部材と相手材との間の密封性が向上する。
【0021】
補強性充填剤の添加量は、カーボンブラックの場合は、カルボキシル化アクリロニトリルブタジエンゴム100重量部に対し20〜90重量部とすることが好ましい。20重量部未満であると十分な補強性が発現されず、また、90重量部超過であると、ゴム材料組成物の硬度が高くなるとともに伸びが低くなり、本来有するゴム弾性が低下してしまう。
【0022】
白色系充填剤の場合は、カルボキシル化アクリロニトリルブタジエンゴム100重量部に対し20〜150重量部とすることが好ましい。20重量部未満であると十分な補強性が発現されず、また、150重量部超過であると、ゴム材料組成物の硬度が高くなるとともに伸びが低くなり、本来有するゴム弾性が低下してしまう。
【0023】
さらに、カーボンブラックと白色系充填剤を混合した場合は、カルボキシル化アクリロニトリルブタジエンゴム100重量部に対し、20〜200重量部とすることが好ましい。このうち、カーボンブラックは10〜90重量部で、白色系充填剤は10〜110重量部である。補強性充填剤が20重量部未満であると十分な補強性が発現されず、また、200重量部超過であると、ゴム材料組成物の硬度が高くなるとともに伸びが低くなり、本来有するゴム弾性が低下してしまう。
【0024】
次に、摩耗改良剤について説明する。摩耗改良剤としては、ポリオレフィン粒子や球状炭素微粒子等があげられる。このうちポリオレフィン粒子としては、具体的には、ポリエチレン,ポリプロピレン製の粒子があげられ、より好ましくは、カルボキシル変性ポリエチレン(無水マレイン酸変性ポリエチレン),カルボキシル変性ポリプロピレン(無水マレイン酸変性ポリプロピレン)製の粒子があげられる。
【0025】
ポリエチレン及びポリプロピレンは、カルボキシル変性されると、構造中のカルボキシル基によって各種ゴムや酸化物等に吸着しやすくなる。また、原料ゴムであるカルボキシル化アクリロニトリルブタジエンゴム中に存在するカルボキシル基も同様の効果を有するので、これらの相乗効果によって、引張強度,耐摩耗性,耐屈曲疲労性等の機械的強度がより向上すると考えられる。
【0026】
ポリオレフィン粒子の添加量は、ゴム材料組成物の耐摩耗性と他の物性とのバランスから、カルボキシル化アクリロニトリルブタジエンゴム100重量部に対し10〜60重量部とすることが好ましい。ポリオレフィン粒子の添加量がカルボキシル化アクリロニトリルブタジエンゴム100重量部に対し10重量部未満であると、耐摩耗性を向上させる効果が低い。反対に60重量部を超えると、ゴム材料組成物の硬度が上昇し且つ伸びが低くなって、ゴム弾性が低下する。
【0027】
また、球状炭素微粒子(ガラス状カーボン,球状黒鉛)は、フェノール・ホルムアルデヒド樹脂を窒素中で800〜2000℃の温度で炭化焼成したものであり、その平均粒径は2〜40μm程度である。具体的には、鐘紡株式会社製のベルパールC(登録商標)が好ましい。
このような球状炭素微粒子がゴム材料組成物の表面に存在すると、球状炭素微粒子が荷重を受けるので、ゴム材料組成物の耐摩耗性が大きく向上する。球状炭素微粒子の配合割合は特に限定されないが、カルボキシル化アクリロニトリルブタジエンゴム100重量部に対して5〜20重量部が好適である。
【0028】
次に、潤滑性を向上させる潤滑剤について説明する。潤滑剤としては、融点が75〜140℃のワックス(低融点油脂)があげられる。具体例としては、上記の融点範囲にあるパラフィンワックス,ポリエチレンワックス,モンタンワックス,カルナウバワックス,エステル系ワックス,ステアロアミド,オキシステアロアミド,エルシルアミド,ラウリルアミド,パルミチルアミド,ベヘンアミド,メチロールアミド,エチレンビスオレイルアミド,ステアリルオレイルアミド等があげられ、この中でもポリエチレンワックスが最も好ましい。このような潤滑剤をカルボキシル化アクリロニトリルブタジエンゴム100重量部に対して5〜30重量部添加すると、ゴム材料組成物の潤滑性が向上する。5重量部未満であると十分な潤滑性が得られず、30重量部超過であると、十分な引張強度や伸びが得られずゴム弾性が低下する。
【0029】
また、潤滑油としては、エーテル系オイル,シリコーン系オイル,ポリα−オレフィンオイル,フッ素オイル,及びフッ素系界面活性剤等があげられる。この中でもシリコーン系オイルがより好ましく、特に、末端や側鎖に官能基を有する変性シリコーンオイルが好ましい。末端や側鎖の官能基がカルボキシル化アクリロニトリルブタジエンゴムの主鎖に反応するため、オイルがゴム材料組成物の表面に一度にブルームすることが抑制され、徐々にブルームするようになり、その結果、オイルがゴム材料組成物の表面へ恒久的に供給されるようになると考えられる。
【0030】
潤滑油は液状でゴム材料組成物の表面にブルームしやすいので、前記潤滑剤よりも少量の添加により潤滑効果を奏しやすい。このような潤滑油をカルボキシル化アクリロニトリルブタジエンゴム100重量部に対して2〜30重量部添加すると、ゴム材料組成物の潤滑性が向上する。2重量部未満であると十分な潤滑性が得られず、30重量部超過であると、ゴム材料組成物の加工時に添加剤の分散不良が生じやすくなる。
【0031】
次に、加硫系添加剤について説明する。加硫系添加剤としては、加硫剤(架橋剤),加硫促進剤,加硫促進助剤がある。
加硫剤(架橋剤)としては、粉末硫黄、硫黄華、沈降硫黄、高分散性硫黄などの各種硫黄、モルホリンジスルフィド、アルキルフェノールジスルフィド、N,N−ジチオ−ビス(ヘキサヒドロ−2H−アゼピノン−2)、チウラムポリスルフィドなどの硫黄を生成可能な硫黄化合物、ジクミルパーオキサイド、ジ(t−ブチルパーオキシ)ジイソプロピルベンゼン、2,5−ジメチル−2,5−ジ(ベンゾイルパーオキシ)ヘキサン、ベンゾイルパーオキサイド等の過酸化物等があげられる。このうち、分散性,取扱いの容易さ,耐熱性の点で、高分散性硫黄やモルホリンジスルフィドを使用することが好ましい。
【0032】
また、硫黄系の加硫剤を用いた場合は、グアニジン系,アルデヒド−アンモニア系,チアゾール系,スルフェンアミド系,チオ尿素系,チウラム系,ジチオカルバメート系,ザンテート系等の加硫促進剤を用いる必要がある。このうち、高分散性硫黄を少量配合した場合には、チウラム系のテトラメチルチウラムジスルフィド等やスルフェンアミド系のN−シクロヘキシル−2−ベンゾチアジル・スルフェンアミドと、チアゾール系の2−メルカプトベンゾチアゾール等とを併用することが好ましい。
【0033】
さらに、加硫促進助剤としては、酸化亜鉛等の金属酸化物,金属炭酸塩,金属水酸化物,ステアリン酸等の脂肪酸とその誘導体,及びアミン類などがあげられる。ただし、カルボキシル化アクリロニトリルブタジエンゴムは酸化亜鉛により早期加硫を生じやすいので、過酸化亜鉛とステアリン酸との組合わせが好ましい。過酸化亜鉛は、ゴム材料組成物の混練り加工時の温度ではそのままゴム材料組成物中に存在し、加硫成形時に酸化亜鉛を生じさせるため、混練り加工時及び保管時に早期加硫を生じることがない。
【0034】
次に、酸化劣化を防止する老化防止剤について説明する。老化防止剤としては、アミン・ケトン縮合生成物,芳香族第二級アミン類,モノフェノール誘導体,ビス又はポリフェノール誘導体,ヒドロキノン誘導体,硫黄系老化防止剤,リン系老化防止剤等があげられる。この中でも、アミン・ケトン縮合生成物系の2,2,4−トリメチル−1,2−ジヒドロキノリン重合体、ジフェニルアミンとアセトンとの縮合反応物、芳香族第二級アミン系のN,N’−ジ−β−ナフチル−p−フェニレンジアミン、4,4’−ビス(α,α−ジメチルベンジル)ジフェニルアミン、N−フェニル−N’−(3−メタクリロイルオキシ−2−ヒドロキシプロピル)−p−フェニレンジアミン等が特に好ましい。
【0035】
また、熱分解を防止して耐熱性を向上するため、上記の老化防止剤とともに2次老化防止剤を併用することがより好ましい。2次老化防止剤としては、硫黄系の2−メルカプトベンズイミダゾール,2−メルカプトメチルベンズイミダゾール,及びこれらの亜鉛塩等があげられる。
さらに、日光あるいはオゾンの作用による亀裂が生じることを抑制する日光亀裂防止剤として、融点が55〜70℃程度のワックス類を、カルボキシル化アクリロニトリルブタジエンゴム100重量部に対して、0.5〜2重量部程度添加してもよい。0.5重量部未満であると、オゾンの作用による亀裂を防止する効果がほとんど得られず、また、2重量部超過であると、不必要なワックス類がゴム材料組成物の表面にブルームするため加工性に問題が生じるおそれがある。
【0036】
さらに、成形性を向上させる必要がある場合には、上記のような添加剤の他に、加工助剤として可塑剤が適宜添加される。ただし、成形に特に支障がない場合は添加しなくてもよい。添加する場合は、カルボキシル化アクリロニトリルブタジエンゴム100重量部に対して3〜20重量部添加すればよく、必要以上に添加すると、ゴム材料組成物が軟化すると同時に、完全に混合されずにブリードアウトしてくるおそれがある。
【0037】
可塑剤の具体例としては、ジオクチルフタレートなどのフタル酸ジエステル,ポリエステル系可塑剤,ポリエーテル系可塑剤,ポリエーテルエステル系可塑剤,液状ニトリルゴム等があげられる。
次に、物性面について説明する。ゴム材料組成物の硬度は、補強性充填剤や摩耗改良剤等の添加量等によって影響を受けるが、ハブユニットシール等の密封装置に適用した際の密封性,追従性から、JIS A K6301に記載のスプリング硬さAスケールで、50〜90の範囲が好ましい。
【0038】
硬さが50未満の場合は、密封装置が回転運動を行う際に接触先端(シールリップ部)が必要以上に変形する。その結果、転動装置の運転時の摩擦抵抗が大きくなり、スムーズな回転運動が困難となる。また、硬さが90を超えると、前述のようにゴム弾性が低下するので、回転運動での接触先端の密封性,追従性が低下し、塵埃が多い環境下において使用すると、転動装置の寿命が低下するおそれがある。
【0039】
なお,前記接触先端の変形度合を小さくし、ゴム弾性等の物性を特に好ましくするには、ゴム材料組成物のスプリング硬度は70〜80の範囲が特に好適である。
【0040】
【発明の実施の形態】
本発明に係るゴム材料組成物の実施の形態を、図面を参照しながら詳細に説明する。
本実施形態のゴム材料組成物は、原料ゴム,補強性充填剤,及び各種添加剤を表1,表2に示すような比率で配合し、以下に示すような各工程により製造したものである。
【0041】
【表1】
【0042】
【表2】
【0043】
まず、使用した各種材料(表1,表2中に記載のもの)について説明する。
・原料ゴムA:カルボキシル化中高ニトリルゴム(日本ゼオン株式会社製、Nipol DN631)、アクリロニトリル単量体の比率:33.5%
・原料ゴムB:中高ニトリルゴム(JSR株式会社製、JSR NBR N230S)、アクリロニトリル単量体の比率:35%
・カーボンブラック(補強性充填剤):カーボンブラック HAF(三菱化学株式会社製、ダイアブラックH)
・シリカ(白色系充填剤):含水シリカ(日本シリカ工業株式会社製、ニップシールAQ)
・クレー(白色系充填剤):カオリンクレー(白石カルシウム株式会社製、ST−309)
・加硫剤:高分散性硫黄(鶴見化学工業株式会社製、Sulfax PMC)
・加硫促進剤A:テトラメチルチウラムジスルフィド(川口化学工業株式会社製、アクセルTMT)
・加硫促進剤B:テトラエチルチウラムジスルフィド(大内新興化学工業株式会社製、ノクセラーTET)
・加硫促進剤C:N−シクロヘキシル−2−ベンゾチアジル・スルフェンアミド(川口化学工業株式会社製、アクセルCZ−R)
・加硫促進助剤A(滑剤を兼ねる):ステアリン酸(花王株式会社製、Lunac S−35)
・加硫促進助剤B:酸化亜鉛(堺化学株式会社製、フランス1号)
・加硫促進助剤C:酸化亜鉛(日本ゼオン株式会社製、Zeonet ZP)
ただし、マスターバッチ法により添加した。
・活性剤:有機アミン(吉富製薬株式会社製、アクチングSL)
・可塑剤:アジピン酸系ポリエステル(旭電化株式会社製、PN−350)
・摩耗改良材A:カルボキシル変性ポリエチレン粒子(三菱化学株式会社製、モディック−AP H501)
・摩耗改良材B:カルボキシル変性ポリプロピレン粒子(三菱化学株式会社製、モディック−AP P502)
・老化防止剤A:4,4’−ビス(α, α−ジメチルベンジル)ジフェニルアミン(大内新興化学工業株式会社製、ノクラックCD)
・老化防止剤B:2−メルカプトベンズイミダゾール(大内新興化学工業株式会社製、ノクラックMB)
・老化防止剤C:特殊ワックス(大内新興化学工業株式会社製、サンノック)
・潤滑油:シリコーンオイル(信越シリコーン株式会社製、KF−860)
・カップリング剤:γ−メルカプトプロピルトリメトキシシラン(信越シリコーン株式会社製、KBM803)
次に、ゴム材料組成物を製造する各工程を説明する。
(1)第一混練り工程
表1,表2の加硫剤,加硫促進剤以外の材料をバンバリーミキサーに投入し、ミキサー温度80℃で混練りを行った。
(2)第二混練り工程
混練りした材料をバンバリーミキサーから取り出し、ゴム混練用の2本ロールに投入した。ロール温度を50℃に制御しながら表1,表2の加硫剤,加硫促進剤を投入し、均一になるまで切り返し操作を行った後、シート状にした。
(3)加硫工程
170℃に加熱したホットプレスに厚さ2mm用のシート加硫金型を装着し、そこに第二混練り工程で得られた前記シートを載置した。そして、15分間加熱及び加圧して、縦150mm,横150mm,厚さ2mmの加硫されたゴムシートを得た。
【0044】
このようにして製造したゴム材料組成物(実施例1〜8及び比較例1〜3)について、硬さ試験及び引張試験を行った。各試験の方法は以下の通りである。
(a)硬さ試験
加硫工程で得られたシートをJIS3号試験片の形状に打ち抜き、それを3枚重ねて、JIS K6301に基づいて硬さ(スプリング硬さAスケール)を測定した。
(b)引張試験
JIS3号試験片について万能型試験機により引張試験を行い、引張破断強度及び引張破断伸びを測定した。
【0045】
これらの試験結果を表3,表4に示す。
【0046】
【表3】
【0047】
【表4】
【0048】
表3及び表4から分かるように、原料ゴムとしてカルボキシル化アクリロニトリルブタジエンゴムを使用した実施例1〜8は、カルボキシル化されていない通常のアクリロニトリルブタジエンゴムを使用した比較例1〜3と比較して、引張破断強度が優れていて、硬さ及び引張破断伸びは同等以上であった。
次に、実施例1〜8及び比較例1〜3のゴム材料組成物を用いて、図1に示すようなハブユニットシール100を作成した(ハブユニットシール100の弾性部材107を前記ゴム材料組成物で構成した)。
【0049】
以下に、ハブユニットシール100の構成を詳細に説明する。
ハブユニットシール100は、芯金105と、スリンガ106と、弾性部材107とで構成されている。このうち芯金105は、低炭素鋼板等の金属板にプレス加工等の打ち抜き加工及び塑性加工を施すことによって、一体的に形成されている。このような芯金105は、図示しない転がり軸受を構成する外輪の端部の内周面に内嵌固定自在な外径側円筒部109と、この外径側円筒部109の軸方向内端縁(図1の左端縁)から径方向内方に折れ曲がった内側円輪部110とを備えており、断面略L字形の円環状をなしている。
【0050】
また、スリンガ106は、ステンレス鋼板等の優れた耐食性を有する金属板にプレス加工等の打ち抜き加工及び塑性加工を施すことによって、一体的に形成されている。このようなスリンガ106は、前記転がり軸受を構成する内輪の端部の外周面に外嵌固定自在な内径側円筒部112と、この内径側円筒部112の軸方向外端縁(図1の右端縁)から径方向外方に折れ曲がった外側円輪部113とを備えており、断面略L字形の円環状をなしている。
【0051】
さらに、弾性部材107は弾性を有する前記ゴム材料組成物で構成されていて、外側,中間,内側の3つのシールリップ114,115,116を有している。そして、その基端部が芯金105に固着されている。
最も外側に位置する外側シールリップ114の先端がスリンガ106を構成する外側円輪部113の内側面に摺接し、中間シールリップ115及び内側シールリップ116の先端がスリンガ106を構成する内径側円筒部112の外周面に摺接している。これらのことから、内部からグリースが漏洩することが防止されるとともに、外部から塵埃,水,泥水等が転がり軸受内部へ侵入することが防止される。
【0052】
このようなハブユニットシール100を日本精工株式会社製のハブユニットシール単体回転試験機に組み込んで、泥水に曝しつつ回転試験を行った。試験条件は以下の通りである。
・ハブユニットシールの種類:内径60mmのハブユニットシール
・回転速度:1000rpm
・回転時間:72時間
・偏心 :0.5mmTIR
・泥水への暴露条件:毎分2リットルの泥水をハブユニットシールに向けて放水した。なお、放水は、放水10秒−停止20秒のサイクルを繰り返すことにより行った。
【0053】
ハブユニットシールの回転試験の結果を表5,表6に示す。なお、表5,表6中の摩耗量は、実施例1のゴム材料組成物で構成されるハブユニットシール(シールリップ)の摩耗量を1とした場合の相対値である。また、密封性は、ハブユニットシールに塗布したグリース中に含まれる水分の量(試験後の)によって評価した。なお、水分量が1%以下であった場合を良好として○で示し、水分量が2〜5%の場合をやや不良として△で示し、そして、水分量が5%以上の場合を不良として×で示した。
【0054】
さらに、駆動側のハブユニットシールのシールリップの温度は、シールリップの内部に熱電対を挿入して、24時間回転させた後の安定回転時の温度を測定した(単位は℃)。
【0055】
【表5】
【0056】
【表6】
【0057】
表5,表6から分かるように、原料ゴムとしてカルボキシル化アクリロニトリルブタジエンゴムを使用した実施例1〜8のゴム材料組成物で構成したハブユニットシールは、カルボキシル化されていない通常のアクリロニトリルブタジエンゴムを使用した比較例1〜3のゴム材料組成物で構成したハブユニットシールと比較して、シールリップの摩耗量が少なかった。
【0058】
また、実施例1〜8のゴム材料組成物を用いたハブユニットシールはグリース中の水分量が非常に低かったのに対して、比較例1〜3のゴム材料組成物を用いたハブユニットシールはグリース中の水分量が多かった。このように、実施例1〜8のゴム材料組成物を用いたハブユニットシールは、密封性についても優れていた。
【0059】
次に、添加剤の効果について説明する。
まず、摩耗改良剤であるカルボキシル変性ポリエチレン粒子,カルボキシル変性ポリプロピレン粒子を含有する実施例1,2,及び5のゴム材料組成物を用いたハブユニットシールは、摩耗改良剤の作用により耐摩耗性,耐屈曲疲労性が向上しているので、他の実施例のゴム材料組成物を用いたハブユニットシールと比較して、さらにシールリップの摩耗量が少なかった。
【0060】
また、潤滑油である変性シリコーンオイルを含有する実施例3及び実施例6のゴム材料組成物を用いたハブユニットシールは、潤滑油の作用によりゴム材料組成物の潤滑性が向上しているので、他の実施例のゴム材料組成物を用いたハブユニットシールと比較して、発熱が抑えられてシールリップの温度が低くなっている。
【0061】
以上のように、本実施形態のゴム材料組成物は、カルボキシル化アクリロニトリルブタジエンゴムを原料ゴムとして使用しているので、加硫剤による通常の架橋に加えて、分子構造中に存在するカルボキシル基部分においても架橋が進行する。よって、ゴムの架橋密度が高くなり、ゴム材料組成物の引張強度,耐摩耗性,耐屈曲疲労性が向上する。
【0062】
よって、本実施形態のゴム材料組成物で構成されるハブユニットシール等の密封装置は、転がり軸受,リニアガイド装置,ボールねじ等の転動装置に好適に用いることができる。特に、鉄道車両用軸受,自動車用ハブユニット軸受等のように、水や塵埃が多量に存在するような過酷な環境下において使用される転動装置に好適であり、このような過酷な環境下においても優れた密封性を維持して、転動装置に優れた寿命を付与することができる。
【0063】
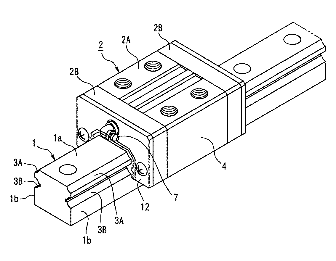
以下に、本実施形態のゴム材料組成物で構成される密封装置を備えた転動装置の例を示す。まず、リニアガイド装置について図2を参照しながら説明する。
横断面形状が略コ字状のスライダ2が角形の案内レール1上に、軸方向に相対移動可能に跨架されている。スライダ2は、スライダ本体2Aと、その軸方向両端部に着脱可能に取り付けられたエンドキャップ2Bと、から構成されている。案内レール1の上面1aと両側面1bが交叉する稜線部には、断面ほぼ1/4円弧形状の凹溝からなる一方の転動体転動溝3Aが軸方向に形成され、案内レール1の両側面1bの中間位置には、断面ほぼ半円形の他方の転動体転動溝3Bが軸方向に形成されている。
【0064】
一方、スライダ本体2Aの両袖部4の内側のコーナ部には、案内レール1の一方の転動体転動溝3Aに対向する断面ほぼ半円形の転動体転動溝(図示されない)が形成され、両袖部4の内側面の中央部には案内レール1の他方の転動体転動溝3Bに対向する断面ほぼ半円形の転動体転動溝(図示されない)が形成されている。
【0065】
上記の案内レール1の転動体転動溝3A,3Bと両袖部4の2つの転動体転動溝とで、図示されない転動体転動路が形成されている。これら2つの転動体転動路は、断面ほぼ円形の直線状をなしている。
さらに、スライダ2は、スライダ本体2Aの袖部4の肉厚部分の上部及び下部に、軸方向に貫通する断面円形の貫通孔からなる転動体戻し路(図示されない)を2本備えている。
【0066】
また、エンドキャップ2Bは、前記転動体転動路とこれに平行な前記転動体戻し路とを連通させる図示されない湾曲路を有しており、これら前記転動体転動路と前記転動体戻し路と両端の前記湾曲路とで、転動体の循環路が形成されている。この転動体の循環路内には、例えば鋼球からなる多数の転動体(図示されない)が転動自在に装填されている。
【0067】
案内レール1に組み付けたスライダ2は、転動体転動路内の転動体の転動を介して案内レール1に沿って滑らかに移動し、その移動中、転動体はスライダ2内の前記循環路を転動しつつ無限循環する。
スライダ2には、案内レール1との間に形成される隙間の開口をシールする防塵用の接触シール装置12が、軸方向両端部(エンドキャップ2Bのさらに外側)に取り付けられている。この接触シール装置12は、前述した本実施形態のゴム材料組成物と、エンドキャップ2Bの外形に合わせた略コ字状のSECC材(亜鉛めっき鋼板)からなる芯金(補強部材)と、が加硫接着により一体化されて形成された密封装置である。
【0068】
接触シール装置12のうち少なくとも案内レール1と摺接する部分は、前記ゴム材料組成物で構成されていて、スライダ2と案内レール1との間の隙間をシールできるように、案内レール1の断面形状に合わせて案内レール1の上面1a及び両側面1bに摺接可能な形状に成形されている。ただし、その内面寸法は、案内レール1との間の隙間を確実にシールするために、案内レール1の表面に接する寸法よりも若干(0.1〜0.2mm程度)小さくしてある。ただし、前記芯金は案内レール1とは非接触である。
【0069】
なお、接触シール装置12の内側のゴム面の案内レール1と摺接する部分(リップ部)には、図3に示すように、3個の凸状部分20が形成されていて、この凸状部分20により優れたシール性が発現される。ただし、この凸状部分20は3個に限らず、1個又は2個であってもよいし、4個以上であってもよい。
次に、本実施形態のゴム材料組成物で構成される密封装置を備えたリニアガイド装置の別の例を、図4を参照しながら説明する。なお、図4のリニアガイド装置の構造は、前述の図2のリニアガイド装置とほぼ同様であるので、異なる点のみ説明し、同様の部分の説明は省略する。また、図4においては、図2と同一又は相当する部分には図2と同一の符号を付してある。
【0070】
スライダ2のスライダ本体2Aの軸方向の両端部に固着されているエンドキャップ2Bのさらに外側には、エンドキャップ2Bに近い側から、補強板10,潤滑剤含有ポリマからなる潤滑剤供給部材11,及び接触シール装置12が、重ね合わされた状態で固定されている。これらのうち接触シール装置12は、図2のリニアガイド装置における接触シール装置12と全く同様の構成である。
【0071】
また、補強板10は、エンドキャップ2Bの外形に合わせた略コ字状の鋼板である。ただし、この補強板10は、案内レール1とは非接触である。そして、これら接触シール装置12及び補強板10間に挟まれている潤滑剤供給部材11も、図4にその斜視図を示すように、エンドキャップ2Bの外形に合わせた略コ字状の部材であり、そのコ字状の内側の面は、接触シール装置12の内面と同様に、案内レール1の断面形状に合わせて案内レール1の上面1a及び両側面1bに非接触又は少なくとも一部分が摺接可能な形状となっている(潤滑剤供給部材11と案内レール1との隙間は、0〜0.2mm)。
【0072】
なお、潤滑剤含有ポリマの組成は、超高分子量ポリエチレン(超高分子量のもの)10wt%、高密度ポリエチレン(比較的低分子量のもの)20wt%、パラフィン系鉱油70wt%である。そして、潤滑剤供給部材11は、このような潤滑剤含有ポリマを射出成形することにより作製した。なお、潤滑剤含有ポリマの構成や成形方法は特に限定されるものではなく、所望により適宜変更可能である。
【0073】
また、潤滑剤供給部材11には、スライダ本体2Aに固定する際に取付用ねじが貫通する貫通孔11a,11bと、グリースニップル7取付用の貫通孔11cとが形成されており、貫通孔11a,11b,及び11cには、管状のスリーブ15A,15B,16がはめ込まれるようになっていて、そのスリーブ16の内側をグリースニップル7が貫通する。なお、これらのスリーブ15A,15B,16の長さは、潤滑剤供給部材11の厚さと等しくするか、若しくは若干(〜0.2mm程度)長くなるようにする。
【0074】
そして、スリーブ15A,15Bの外径は、接触シール装置12の貫通孔12a,12b及び補強板10の貫通孔10a,10bよりも大きくされている。こうすることによって、潤滑剤供給部材11を接触シール装置12と補強板10との間に挟み込んで取付用ねじ17A,17Bで締め付けたとき、その押圧力が潤滑剤供給部材11に加わらず、この潤滑剤供給部材11の自己収縮作用が妨げられることはない。
【0075】
そして、これら接触シール装置12,潤滑剤供給部材11,及び補強板10は、その組み立て状態を示す斜視図である図4に示すように、取付用ねじ17A,17Bを、接触シール装置12のねじ用の貫通孔12a,12b、潤滑剤供給部材11のねじ用の貫通孔11a,11b、及び補強板10のねじ用の貫通孔10a,10bに貫通させて、エンドキャップ2Bと一体にスライダ本体2Aにねじ止めされる。なお、符号12cは接触シール装置12に形成されたグリースニップル7取付用の貫通孔、符号10cは補強板10に形成されたグリースニップル7取付用の貫通孔である。
【0076】
このような構成のリニアガイド装置は、接触シール装置12により案内レール1とスライダ2との対向面の隙間の前後の開口がシールされるから、その接触シール装置12に摩耗等が生じなければ、スライダ2の前後からの水,塵埃等の侵入を完全に阻止することができる。
また、リニアガイド装置が駆動されると、潤滑剤供給部材11も案内レール1に非接触又は接触しつつ移動し、その潤滑剤供給部材11から潤滑剤が経時的に徐々にしみ出すが、潤滑剤供給部材11が接触シール装置12のリップ部(即ち、接触シール装置12の案内レール1に接触する内面)に近接して配設されているため、そのしみ出した潤滑剤により接触シール装置12のリップ部の潤滑が長期間にわたって安定して行われる。
【0077】
また、潤滑剤供給部材11を案内レール1に接触させているものにあっては、その案内レール1の表面を介して接触シール装置12のリップ部に潤滑剤を供給することもできるから、リップ部への潤滑剤の供給が特に安定的に行われる。よって、接触シール装置12のリップ部の摩耗が最小限に抑えられるから、接触シール装置12によるシール性が長期間維持され、スライダ本体2Aの内部への異物の侵入が防止され、リニアガイド装置自体の長寿命化が図られるのである。
【0078】
しかも、潤滑剤供給部材11からしみ出した潤滑剤は、案内レール1の特に転動体転動溝3A,3Bを介して、その転動体転動溝3A,3B内を転動する転動体へ自動的に供給される。この自己潤滑性により、長期間にわたり安定した滑らかな動作が行われる。したがって、殊更に潤滑剤を外部からスライダ2に供給しなくても、低トルクで良好な運転を長時間続けることができる。
【0079】
また、潤滑剤供給部材11が案内レール1に接触しているものにあっては、潤滑剤供給部材11から潤滑剤がしみ出すにつれて、潤滑剤供給部材11自体が自己収縮するから、その潤滑剤供給部材11は、その収縮力により案内レール1の被シール面に密着して接触し、シール機能と潤滑機能を果たすという作用も得られる。
【0080】
さらに、潤滑剤供給部材11を、補強板10を介してエンドキャップ2Bと接触シール装置12との間に挟み込んで配設しているため、接触シール装置12のリップ部は、スライダ2が往復移動してもまくり上がりにくいから、スライダ2内部の潤滑剤が外部に漏出することも低減される。
なお、このような構造であれば、グリースニップル7取付孔は盲プラグで塞いでもよいが、必要に応じて適時にここを開けて、グリース等の潤滑剤をスライダ2内に供給するようにしてもよい。
【0081】
また、このリニアガイド装置においては、潤滑剤供給部材11を補強板10と接触シール装置12との間に挟んだ状態で、エンドキャップ2Bの端面に固定しているが、このような構造に限定されるものでない。例えば、エンドキャップ2Bの端面に接触シール装置12を直接取り付けるとともに、その接触シール装置12が取り付けられたエンドキャップ2Bの端面に、二枚の補強板10で挟まれた状態の潤滑剤供給部材11を固定してもよい。このような構成であっても、潤滑剤供給部材11が接触シール装置12のリップ部に近接して配設されていれば、同様の上記作用効果が奏される。
【0082】
次に、本実施形態のゴム材料組成物で構成される密封装置を備えたボールねじについて、図面を参照しながら説明する。図5は、本例のボールねじの構造を示す一部を破断した平面図である。また、図6は、図5のボールねじの正面図であり、図7は、図5のボールねじのうち、ねじ軸31のねじ溝31aと接触シール装置42との接触部分を示す図である。
【0083】
ボールねじは、外周面に断面円弧状の螺旋状のねじ溝31aを有するねじ軸31と、ねじ軸31のねじ溝31aに対向する螺旋状のねじ溝を内面に有してねじ軸31に螺合される円筒状のボールねじナット32と、ねじ軸31のねじ溝31aとボールねじナット32のねじ溝とから形成される断面ほぼ円形の螺旋状のボール転動空間に転動自在に装填される多数のボール(図示せず)と、を備えている。
【0084】
ボールねじナット32の軸方向両端部の内側には、潤滑剤含有ポリマからなる円筒状の潤滑剤供給部材41,41が嵌挿されていて、潤滑剤供給部材41の内径面はねじ軸31の外径面にのみ接触し、ねじ溝31aには非接触となっている。この潤滑剤供給部材41は、2つの半円筒状部材で構成されるとともに、その外周面に細い溝を有していて、ここに配置されたガータスプリング33により、潤滑剤供給部材41は一定の圧力でねじ軸31の外周に向かってラジアル方向に押圧されている。そのため、たとえ長期間の動作により潤滑剤供給部材41の内周面が摩耗したとしても、ねじ軸31との適切な接触が常に保たれて、良好な潤滑が確保されるようになっている。
【0085】
なお、潤滑剤供給部材41を構成する潤滑剤含有ポリマの組成は、前述のリニアガイド装置(図4のもの)における潤滑剤供給部材11と同様であるが、これに限定されるものではなく、適宜変更可能である。
そして、潤滑剤供給部材41の軸方向外側には、接触シール装置42,42が圧入されている。この接触シール装置42は、金属製又はプラスチック製の芯金(補強部材)42bと、芯金42bを内包した円板状のシール本体42cと、シール本体42cから内方に伸びた略円錐形(各図においては左方に傾斜した形状)のシール片42dとから構成された密封装置である。
【0086】
シール片42dは、ねじ軸31の断面形状に対応し且つそれよりやや小さい内径を有するような開口42aを、その中央に備えている。そして、図6においては図示しないボールねじナット32にその外周を固定するシール本体42cと、シール片42dとは、前述の本実施形態のゴム材料組成物で一体的に形成されている。そして、この一体の前記ゴム材料組成物からなる部分と芯金42bとは、加硫接着により一体化されている。
【0087】
芯金42bは、その外周は円形となっているが、その内周は開口42aと相似形となっており、すなわち図7に示すように、その上部の幅D1と比べて下部の幅D2が小さくなっている。したがって、芯金42bの内周縁からシール本体42cの内周縁までの距離D0と、シール本体42cの内周縁からシール片42dの内周縁までの距離D3とを、全周にわたってそれぞれ一定とすることができ、このことにより、ねじ軸31に当接する際の接触シール装置42の撓み量を、ほぼ一定とすることができる。
【0088】
図8は、接触シール装置42がねじ軸31に当接して変形した状態を示した部分拡大図である。実線で示した接触シール装置42は、ねじ軸31に当接していない状態であり、二点鎖線で示した接触シール装置42は、ねじ軸31に当接し変形した状態である。接触シール装置42のシール片42dのねじ軸31との接触部分(リップ部)は、ねじ軸31の外径面及びねじ溝31aに対して常にしめしろとなっている(実際には、変形により隙間を0以下に保つようになっている)。
【0089】
図8から分かるように、接触シール装置42がねじ軸31の何れの部分(ねじ軸31の外径面又はねじ溝31a)と当接した場合でも、シール片42dの撓む方向はその形状に基づいて予測することができる。したがって、このことによりシール性が最も高くなるように、シール片42dの形状を設計することが可能である。なお、このような接触シール装置42の構成,形状等は、本例に限定されるものではない。
【0090】
ボールねじナット32の移動時には、接触シール装置42がねじ軸31と摺接することで内部を確実に密封していて、ねじ軸31とボールねじナット32との間の間隙の開口から水,塵埃等の異物が侵入することや、ボールねじナット32の外部への潤滑剤の漏出を防止している。したがって、ボールねじの長寿命化が達成される。また、接触シール装置42は、潤滑剤供給部材41からしみ出た潤滑剤が供給されるため、リップ部の摩耗が生じにくくシール性が優れている。
【0091】
なお、本実施形態においては、転動装置として転がり軸受,リニアガイド装置,及びボールねじを例示して説明したが、本発明のゴム材料組成物は、他の種類の様々な転動装置に対して適用することができ、本発明は本実施形態に限定されるものではない。
【0092】
【発明の効果】
以上説明したように、本発明の密封装置は、耐摩耗性,耐屈曲疲労性に優れている。また、摩擦による発熱が少ない。
【図面の簡単な説明】
【図1】本発明のゴム材料組成物で構成されるハブユニットシールの構造を示す部分縦断面図である。
【図2】本発明のゴム材料組成物で構成される接触シール装置を備えたリニアガイド装置の斜視図である。
【図3】図2のリニアガイド装置の接触シール装置のリップ部の形状を示す部分拡大図である。
【図4】本発明のゴム材料組成物で構成される接触シール装置を備えた別のリニアガイド装置の端部の各部材の取り付け状態を示す斜視図である。
【図5】本発明のゴム材料組成物で構成される接触シール装置を備えたボールねじの平面図である。
【図6】図5のボールねじの正面図である。
【図7】図5のボールねじのねじ溝と接触シール装置との接触部分を示す図である。
【図8】接触シール装置がねじ軸のねじ溝に当接している状態を示す拡大図である。
【符号の説明】
100 ハブユニットシール
107 弾性部材
114 外側シールリップ
115 中間シールリップ
116 内側シールリップ
Claims (4)
- 自動車用ハブユニット軸受又は鉄道車両用軸受に備えられ、ゴム材料組成物を材料とする密封装置において、前記ゴム材料組成物は、カルボキシル化アクリロニトリルブタジエンゴム100重量部と、カーボンブラック20〜90重量部と、ポリオレフィン粒子10〜60重量部と、シリコーン系オイル2〜30重量部と、を有することを特徴とする密封装置。
- 自動車用ハブユニット軸受又は鉄道車両用軸受に備えられ、ゴム材料組成物を材料とする密封装置において、前記ゴム材料組成物は、カルボキシル化アクリロニトリルブタジエンゴム100重量部と、含水シリカ20〜150重量部と、ポリオレフィン粒子10〜60重量部と、シリコーン系オイル2〜30重量部と、シラン系カップリング剤と、を有することを特徴とする密封装置。
- 前記カルボキシル化アクリロニトリルブタジエンゴムの酸当量が2×10-3〜5×10-2ephrであることを特徴とする請求項1又は請求項2に記載の密封装置。
- 前記ゴム材料組成物は、カルボキシル化アクリロニトリルブタジエンゴム100重量部に対して、融点が75〜140℃のワックス5〜30重量部を含有することを特徴とする請求項1〜3のいずれか一項に記載の密封装置。
Priority Applications (3)
| Application Number | Priority Date | Filing Date | Title |
|---|---|---|---|
| JP2001105268A JP3772688B2 (ja) | 2001-04-03 | 2001-04-03 | 密封装置 |
| US09/951,385 US20020061961A1 (en) | 2000-09-14 | 2001-09-14 | Rubber material composition and linear motion apparatus |
| US10/804,142 US20040179757A1 (en) | 2000-09-14 | 2004-03-19 | Rubber material composition and linear motion apparatus |
Applications Claiming Priority (1)
| Application Number | Priority Date | Filing Date | Title |
|---|---|---|---|
| JP2001105268A JP3772688B2 (ja) | 2001-04-03 | 2001-04-03 | 密封装置 |
Related Child Applications (1)
| Application Number | Title | Priority Date | Filing Date |
|---|---|---|---|
| JP2005309714A Division JP2006070275A (ja) | 2005-10-25 | 2005-10-25 | 密封装置 |
Publications (3)
| Publication Number | Publication Date |
|---|---|
| JP2002302571A JP2002302571A (ja) | 2002-10-18 |
| JP2002302571A5 JP2002302571A5 (ja) | 2004-11-11 |
| JP3772688B2 true JP3772688B2 (ja) | 2006-05-10 |
Family
ID=18957984
Family Applications (1)
| Application Number | Title | Priority Date | Filing Date |
|---|---|---|---|
| JP2001105268A Expired - Fee Related JP3772688B2 (ja) | 2000-09-14 | 2001-04-03 | 密封装置 |
Country Status (1)
| Country | Link |
|---|---|
| JP (1) | JP3772688B2 (ja) |
Cited By (1)
| Publication number | Priority date | Publication date | Assignee | Title |
|---|---|---|---|---|
| WO2011122429A1 (ja) | 2010-03-29 | 2011-10-06 | Ntn株式会社 | 転がり軸受および冠形保持器 |
Families Citing this family (5)
| Publication number | Priority date | Publication date | Assignee | Title |
|---|---|---|---|---|
| JP6113402B2 (ja) * | 2010-12-27 | 2017-04-12 | 日本ゼオン株式会社 | ニトリルゴム組成物およびゴム架橋物 |
| WO2012090941A1 (ja) * | 2010-12-27 | 2012-07-05 | 日本ゼオン株式会社 | ゴム組成物およびゴム架橋物 |
| US20150368447A1 (en) * | 2012-12-20 | 2015-12-24 | Zeon Corporation | Nitrile rubber composition and cross-linked rubber |
| EP3683261A4 (en) * | 2017-09-15 | 2021-07-21 | Nok Corporation | HYDRATED NITRILE RUBBER COMPOSITION |
| JP7110711B2 (ja) * | 2018-05-11 | 2022-08-02 | 昭和電工マテリアルズ株式会社 | 導体基板、配線基板、ストレッチャブルデバイス及び配線基板の製造方法 |
-
2001
- 2001-04-03 JP JP2001105268A patent/JP3772688B2/ja not_active Expired - Fee Related
Cited By (1)
| Publication number | Priority date | Publication date | Assignee | Title |
|---|---|---|---|---|
| WO2011122429A1 (ja) | 2010-03-29 | 2011-10-06 | Ntn株式会社 | 転がり軸受および冠形保持器 |
Also Published As
| Publication number | Publication date |
|---|---|
| JP2002302571A (ja) | 2002-10-18 |
Similar Documents
| Publication | Publication Date | Title |
|---|---|---|
| US6592264B2 (en) | Rolling bearing | |
| JP4075469B2 (ja) | シール | |
| JP3772688B2 (ja) | 密封装置 | |
| US20020113376A1 (en) | Sealing device | |
| JP5998475B2 (ja) | ゴム材料組成物及び転動装置用シール部材 | |
| US20020061961A1 (en) | Rubber material composition and linear motion apparatus | |
| JP2002212341A (ja) | ゴム材料組成物 | |
| JP2003120824A (ja) | シール | |
| JP2011140976A (ja) | 転がり支持装置用シール | |
| JP2006083878A (ja) | 車輪用転がり軸受 | |
| JP2002275312A (ja) | ゴム材料組成物 | |
| JP2003166547A (ja) | 転がり軸受 | |
| JP2006070275A (ja) | 密封装置 | |
| JP2002372061A (ja) | 転がり軸受 | |
| JP2002372062A (ja) | 転がり軸受 | |
| JP3894278B2 (ja) | 潤滑剤供給体 | |
| JP2013181085A (ja) | 転がり軸受用シール及びゴム組成物 | |
| JP2012172778A (ja) | 転動装置用シール装置及び転動装置 | |
| JP2003166553A (ja) | 転がり軸受 | |
| JP2002088196A (ja) | ゴム材料組成物及び直動装置 | |
| JP2010210035A (ja) | 転がり支持装置用シール | |
| JP2004353709A (ja) | 車輪支持用転がり軸受ユニット | |
| JP4048354B2 (ja) | 転動装置用シール部材 | |
| JP2004092684A (ja) | シール装置及びシール装置付車輪用転がり軸受ユニット | |
| JP2007211983A (ja) | シール |
Legal Events
| Date | Code | Title | Description |
|---|---|---|---|
| A977 | Report on retrieval |
Free format text: JAPANESE INTERMEDIATE CODE: A971007 Effective date: 20050526 |
|
| A131 | Notification of reasons for refusal |
Free format text: JAPANESE INTERMEDIATE CODE: A131 Effective date: 20050607 |
|
| A521 | Written amendment |
Free format text: JAPANESE INTERMEDIATE CODE: A523 Effective date: 20050805 |
|
| A02 | Decision of refusal |
Free format text: JAPANESE INTERMEDIATE CODE: A02 Effective date: 20050913 |
|
| A521 | Written amendment |
Free format text: JAPANESE INTERMEDIATE CODE: A523 Effective date: 20051025 |
|
| A911 | Transfer to examiner for re-examination before appeal (zenchi) |
Free format text: JAPANESE INTERMEDIATE CODE: A911 Effective date: 20051124 |
|
| TRDD | Decision of grant or rejection written | ||
| A01 | Written decision to grant a patent or to grant a registration (utility model) |
Free format text: JAPANESE INTERMEDIATE CODE: A01 Effective date: 20060124 |
|
| A61 | First payment of annual fees (during grant procedure) |
Free format text: JAPANESE INTERMEDIATE CODE: A61 Effective date: 20060206 |
|
| R150 | Certificate of patent or registration of utility model |
Free format text: JAPANESE INTERMEDIATE CODE: R150 |
|
| FPAY | Renewal fee payment (event date is renewal date of database) |
Free format text: PAYMENT UNTIL: 20100224 Year of fee payment: 4 |
|
| FPAY | Renewal fee payment (event date is renewal date of database) |
Free format text: PAYMENT UNTIL: 20100224 Year of fee payment: 4 |
|
| FPAY | Renewal fee payment (event date is renewal date of database) |
Free format text: PAYMENT UNTIL: 20110224 Year of fee payment: 5 |
|
| FPAY | Renewal fee payment (event date is renewal date of database) |
Free format text: PAYMENT UNTIL: 20120224 Year of fee payment: 6 |
|
| FPAY | Renewal fee payment (event date is renewal date of database) |
Free format text: PAYMENT UNTIL: 20130224 Year of fee payment: 7 |
|
| FPAY | Renewal fee payment (event date is renewal date of database) |
Free format text: PAYMENT UNTIL: 20130224 Year of fee payment: 7 |
|
| FPAY | Renewal fee payment (event date is renewal date of database) |
Free format text: PAYMENT UNTIL: 20140224 Year of fee payment: 8 |
|
| LAPS | Cancellation because of no payment of annual fees |
