JP3753344B2 - 隠しメッセージの作成方法 - Google Patents
隠しメッセージの作成方法 Download PDFInfo
- Publication number
- JP3753344B2 JP3753344B2 JP06728197A JP6728197A JP3753344B2 JP 3753344 B2 JP3753344 B2 JP 3753344B2 JP 06728197 A JP06728197 A JP 06728197A JP 6728197 A JP6728197 A JP 6728197A JP 3753344 B2 JP3753344 B2 JP 3753344B2
- Authority
- JP
- Japan
- Prior art keywords
- message
- mug
- sheet
- hot water
- concealment
- Prior art date
- Legal status (The legal status is an assumption and is not a legal conclusion. Google has not performed a legal analysis and makes no representation as to the accuracy of the status listed.)
- Expired - Fee Related
Links
- 239000010410 layer Substances 0.000 claims description 49
- 238000000034 method Methods 0.000 claims description 46
- 238000007639 printing Methods 0.000 claims description 26
- 238000012546 transfer Methods 0.000 claims description 22
- 238000010422 painting Methods 0.000 claims description 18
- XLYOFNOQVPJJNP-UHFFFAOYSA-N water Substances O XLYOFNOQVPJJNP-UHFFFAOYSA-N 0.000 claims description 18
- 239000012790 adhesive layer Substances 0.000 claims description 16
- 229920001187 thermosetting polymer Polymers 0.000 claims description 14
- 239000002313 adhesive film Substances 0.000 claims description 12
- 239000000758 substrate Substances 0.000 claims description 9
- 239000000853 adhesive Substances 0.000 claims description 5
- 230000001070 adhesive effect Effects 0.000 claims description 5
- 238000013461 design Methods 0.000 claims description 5
- 239000000049 pigment Substances 0.000 claims 3
- 239000000123 paper Substances 0.000 description 28
- 229920003002 synthetic resin Polymers 0.000 description 16
- 239000000057 synthetic resin Substances 0.000 description 16
- 238000010438 heat treatment Methods 0.000 description 11
- 239000000463 material Substances 0.000 description 11
- 239000002184 metal Substances 0.000 description 5
- 239000004820 Pressure-sensitive adhesive Substances 0.000 description 4
- 239000000919 ceramic Substances 0.000 description 4
- 230000000694 effects Effects 0.000 description 4
- 238000000576 coating method Methods 0.000 description 3
- 238000010586 diagram Methods 0.000 description 3
- 239000011521 glass Substances 0.000 description 3
- 229920005989 resin Polymers 0.000 description 3
- 239000011347 resin Substances 0.000 description 3
- 239000004925 Acrylic resin Substances 0.000 description 2
- 239000011248 coating agent Substances 0.000 description 2
- 239000003086 colorant Substances 0.000 description 2
- 238000002845 discoloration Methods 0.000 description 2
- KCTAWXVAICEBSD-UHFFFAOYSA-N prop-2-enoyloxy prop-2-eneperoxoate Chemical compound C=CC(=O)OOOC(=O)C=C KCTAWXVAICEBSD-UHFFFAOYSA-N 0.000 description 2
- 239000002023 wood Substances 0.000 description 2
- 239000002390 adhesive tape Substances 0.000 description 1
- 239000003795 chemical substances by application Substances 0.000 description 1
- 238000004040 coloring Methods 0.000 description 1
- 238000007796 conventional method Methods 0.000 description 1
- 238000005034 decoration Methods 0.000 description 1
- 210000003298 dental enamel Anatomy 0.000 description 1
- 229910052571 earthenware Inorganic materials 0.000 description 1
- -1 enamel Substances 0.000 description 1
- 239000004744 fabric Substances 0.000 description 1
- 235000012171 hot beverage Nutrition 0.000 description 1
- 230000002427 irreversible effect Effects 0.000 description 1
- 238000004519 manufacturing process Methods 0.000 description 1
- 238000007645 offset printing Methods 0.000 description 1
- 230000000149 penetrating effect Effects 0.000 description 1
- 239000004033 plastic Substances 0.000 description 1
- 238000002360 preparation method Methods 0.000 description 1
- 238000012545 processing Methods 0.000 description 1
- 230000002441 reversible effect Effects 0.000 description 1
- 238000007650 screen-printing Methods 0.000 description 1
- 238000009281 ultraviolet germicidal irradiation Methods 0.000 description 1
Images
Landscapes
- Laminated Bodies (AREA)
- Table Devices Or Equipment (AREA)
- Decoration By Transfer Pictures (AREA)
- Application Of Or Painting With Fluid Materials (AREA)
Description
【発明の属する技術分野】
本発明はオリジナルな隠しメッセージの作成方法及びそれに用いる絵付けセットに関する。
【0002】
【従来の技術】
従来、容器等の支持体上に絵付けする方法として特開平8−108130号に係る技術が提供されている。これは、支持体表面を合成樹脂で塗工し、当該合成樹脂面を焼き付け加工し、この焼き付け加工された当該合成樹脂層の塗面を描画面として、当該合成樹脂層に浸透し染着する浸透性インキを用いて、模様や文字等を描き、当該インキを合成樹脂層に浸透させて定着させる絵付け方法である。
【0003】
【発明が解決しようとする課題】
しかしこの絵付け方法は、浸透性インキを用いて当該浸透性インキを合成樹脂層に浸透させて定着させ、光沢性かつ耐久性のある筆跡を合成樹脂層に形成させる点ではすぐれているとはいうものの、合成樹脂層の塗面に模様や文字等を描くだけにすぎないことから、絵付け方法として更に興味を引き起こす方法が望まれていた。すなわち、例えば所定の温度域以外では上記合成樹脂層上にて着色状態で絵付けされた絵柄や文字などが隠されており、所定の温度域になると上記合成樹脂層が無色状態になり、隠されていた絵柄や文字などが浮かび上がってくる絵付け方法である。例えば、マグカップ表面の合成樹脂層上に特定の人物に伝えたいオリジナルの絵柄やメッセージ等の文字を隠し描き、特定の人物がマグカップに湯を入れて加熱することで、上記合成樹脂層上に描かれた隠し文字や絵柄などが現出して、オリジナルの絵柄やメッセージ等を受けとることができる絵付け方法である。
【0004】
本発明の課題は、マグカップ等の支持体上にオリジナルな隠し文字や絵柄を描くことができ、湯等の加熱によって所定の温度域になると、隠されていた絵柄や文字などが浮かび上がってくるメッセージ作成方法、及び同メッセージ作成方法を達成するための絵付けセットを提供するところにある。
【0005】
【課題を解決するための手段】
本発明者は、上記絵付け方法について鋭意検討した結果、支持体表面に付された文字、絵柄などのメッセージの上に重ねて、熱変色性インキが印刷された層(以下、熱変色性印刷層という。)を設けることにより、上記課題を解決することを見いだし本発明を完成するに至った。すなわち請求項1の発明は、基材シートの上に少なくとも一層の熱変色性インキが印刷された層が設けてある隠蔽シートを、支持体上に描かれた文字及び又は絵柄の上に貼りつける隠しメッセージの作成方法である。
【0006】
本発明は、支持体の表面に付された文字、絵柄などを簡便に隠しメッセージとすることができ、デザイン上の興味をそそることができる。また、メッセージを隠しメッセージとする処理(以下、隠し処理と略記する。)は、あらかじめ付された文字絵柄の上に重ねてすることができるため、オリジナルメッセージや既製のメッセージを問わずに隠し処理を施すことができる。請求項2の発明は、支持体上にオリジナルな文字及び又は絵柄を描き、その上に請求項1記載の隠蔽シートを貼りつける請求項1記載の隠しメッセージの作成方法である。
【0007】
本発明の隠し処理をするために必要となる隠蔽シートは、その着色剤が熱変色性の着色剤でできていることが必要であり、かつ、温度変化によって、隠蔽性のある色彩から、無色透明あるいは有色透明になることが必要である。粘着性シートに要求される条件としては他には存在せず、その塗工過程の方法などは一切限定されるものではない。例えば、隠蔽シートとして離型性を有する基材上に少なくとも一層の熱変色性印刷層、熱硬化性あるいは紫外線硬化性粘着層及び、離型剤層を設けた転写紙を用い、メッセージ上に転写し、隠し処理を施すことによっても本発明は達成することができる。請求項3の発明は、請求項1記載の隠蔽シートが転写紙である請求項1記載の隠しメッセージの作成方法である。
【0008】
また、本発明で用いられる隠蔽シートには粘着フィルムを用いることもできる。例えば既述のように転写紙を用いて隠し処理を行った場合、隠し処理をやめ、熱変色層を剥がす必要があるときは多少困難を有するが、粘着フィルムを用いた場合は使用に際して多少差し障りとなるおそれがあるが、熱変色層を簡単に剥がすことができる利点を有する。ここで、粘着フィルムは、例えば、基材上に熱変色性印刷層を設けその上に粘着層を設けることにより製造される。また、例えば、本発明の粘着フィルムは、請求項3の転写紙の基材を剥がさずに用いた場合も含まれる。請求項4の発明は、請求項1記載の隠蔽シートが粘着フィルムである請求項1又は2記載の隠しメッセージの作成方法である。
【0009】
本発明のメッセージ作成方法はオリジナルなメッセージを作ることができ、かつ隠し処理も簡便に行うことができる点に特徴を有する。すなわち、メッセージの上に印刷層を施す従来の方法は、印刷に設備を必要とし、購入者が独自に隠し処理を施すことができないため、メッセージ自体も既製のものとする必要があった。しかしながら、本発明は隠し処理を独自に行うことができるため、購入者が設備を必要とすることなしに家庭などでオリジナルなメッセージ作成し、それを隠しメッセージとすることができる有利な効果がある。したがって、本発明のメッセージ作成方法を実施するため、少なくとも支持体及び、隠蔽シートの組み合わせを要素とする絵付けセットは、オリジナルメッセージを購入者が独自に隠し処理をすることができる従来なかった特筆すべき効果を有するものである。請求項5の発明は、少なくとも請求項1記載の支持体と、請求項1に記載の少なくとも一層の熱変色性インキが印刷された層が設けてある隠蔽シートを必須の組み合わせ要素とする絵付けセットである。
【0010】
本発明のメッセージ作成方法は隠蔽シートがある程度の付着強さを有して付着するものであれば、その支持体すなわち被塗物に対して特に限定されるものではなく、金属、木材、ガラス、セラミック、プラスチック、布などの繊維などその材料は問わず、あらゆる材料についてあらゆる用途で使用することができる。本発明の具体的な使用例として好適な支持体としては、マグカップが挙げられ、マグカップに付されたメッセージ上に隠し処理をおこなう。すなわち、マグカップはマグカップ内に温かい飲料を注ぐことにより、その熱によって本発明の受像体形成面が変色し、文字などが現出するおもしろさを効果的に発揮することができるものとして好ましい。また、通常、金属や陶器、合成樹脂などを材料とするマグカップは隠蔽シートの付着強さも確保しやすく好適である。請求項6の発明は、支持体が陶器製又は合成樹脂製又は金属製コップである請求項5記載の絵付けセットである。
【0011】
本発明のメッセージ作成方法は、オリジナルな隠しメッセージを簡単に作ることができ、また、メッセージが施された支持体には加熱によって隠しメッセージが現出する面白さを有する。請求項7の発明は、請求項1乃至4のいずれかに記載の隠しメッセージが作成された隠しメッセージの作成方法用支持体である。
【0012】
本発明の隠しメッセージ作成方法に用いる隠蔽シートは支持体表面に付されたメッセージを簡単に隠し処理することができ、支持体表面の装飾をより興味深くさせる効果を有するものである。請求項8の発明は、基材シートの上に少なくとも一層の熱変色性インキが印刷された層が設けられた隠しメッセージの作成方法用隠蔽シートである。
【0013】
【発明の実施の形態】
本発明は、基材シートの上に少なくとも一層の熱変色性インキが印刷された層が設けてある隠蔽シートを支持体上に付された文字及び又は絵柄を描いた上層に貼りつけることによる隠しメッセージの作成方法に関するものである。
【0014】
本発明で用いられる隠蔽シートとは、少なくとも一層の熱変色性インキが印刷された層が設けてあるものであって、例えば常温で不透明な彩色を有し隠蔽性があるが、温度変化域においては無色あるいは透明に変色することが必要である。隠蔽色の彩色は特に限定されるものではなく、例えば黒などの一色でもよいし、何らかの絵柄を付したものであってもよい。
【0015】
また、隠蔽シートとしては転写紙であっても粘着フィルムであってもよい。本発明でいう転写紙とは、加熱あるいは紫外線照射等により、設けられた粘着層を固化することによって、その上に設けられた熱変色性印刷層を支持体に付着させるものであって、その基材を剥離するものをいう。一方、粘着フィルムとは、加熱、加圧、紫外線照射などの処理により、設けられた粘着層と支持体との粘着力よって、粘着層上に設けられた熱変色性印刷層を支持体に付着させるものであって、基材を剥離しないものをいう。両者の主な相違は基材を剥離するかしないかによるものであり、転写紙を用いてその基材を剥離しない場合は粘着フィルムとして用いることを含むものとする。なお、粘着フィルムの場合は、基材シートは透明であることが必要である。
【0016】
隠蔽シートとしては転写紙及び粘着フィルムともに各種公知のものを使用することができるが、特開平7−32797または、特開平7−186597号の転写紙が好適に使用でき、中でも熱硬化性粘着層を用いた特開平7−32797号の転写紙が最適である。
【0017】
支持体の表面に付される文字または絵柄はその描画手段において特に限定されるものではない。例えば、公知のサインペン、クレヨンなどの描画材を用いたものでもよく、スクリーン印刷、オフセット印刷など公知の方法によって印刷されたものでもよい。また、その際用いられるインキは支持体にしっかりと付着するものであれば、特に限定されるものではなく、公知のものを広く用いることができる。したがって、支持体の材質などに応じたものを用いることが必要である。但し、後述するように、転写紙を付着する手段として加熱を用いる場合は、付着性を維持できる程度の耐熱性を必要とする。
【0018】
支持体としてはその材質、用途に限定されるものではなくガラス、陶磁器、金属のほか、合成樹脂、ホーロー、紙類、金属、木材など各種の材料又は製品を使用できる。特に、既述の様に、マグカップ、ガラスコップ、湯飲み、皿、プレート等の食器や、タイル、合成樹脂フィルム・シートや紙、布類などが好適である。また、メッセージの支持体への付着力を向上させるために、支持体への接着力の高い樹脂層を付してその上にメッセージを付すこともできる。
【0019】
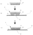
本発明のメッセージ作成方法は次の過程により達成される。図1は支持体表面にメッセージが付された状態を示す図である。図中の1は支持体表面、2はメッセージを表す。メッセージ2は既述のとおり、印刷された既製のものでもよく、例えば絵付けセットを購入したものが付したオリジナルなものであってもよい。
【0020】
図2は図1に示す支持体の上に重ねて隠蔽シートを貼りつけた状態を示すものである。図中の3は隠蔽シートを表している。この状態では例えば常温では隠蔽シートが不透明色の隠蔽性を有しているため、メッセージ2は視認できない。
【0021】
既述のように隠蔽シートとして好ましいものは、熱硬化性の粘着層を有した転写紙が挙げられ、これは図3(c)の構造を有する。図3中31は基材シート、32は熱変色性印刷層、33は熱硬化性粘着層、34は離型紙を表している。その製造法方としては次のものが例示できる。まず、基材シート31上に熱変色性印刷層32を印刷する(図3(a))。熱変色性印刷層は特にその色彩、絵柄は限定されるものではないが、不透明の隠蔽色となっており、加熱することによって透明又は半透明等になることが必要である。この点で、熱変色性印刷層32は、常温−加熱間において可逆的な変色を呈するものが望ましいが、不可逆的な熱変色性印刷層であっても適用される。また、隠蔽色から透明になる温度領域については、常温で隠蔽色となり、80℃程度の加熱時に透明となるものが好ましいが特に限定されるものではない。この熱変色性印刷層32を形成する手段は、公知の熱変色性インキを公知の印刷技術によって達成することができる。なお、熱変色性印刷層32を複数設けることによって、加熱時の温度領域の違いにより一定の温度領域で一層が消色し、更に加熱することで二層とも透明となるようにすることも可能である。その後、熱変色性印刷層32上に重ねて、熱硬化性粘着層33を塗布する(図3(b))。熱硬化性樹脂は特に限定されるものではないが、硬化温度が50〜100℃程度であることが好ましい。さらに、使用の便宜のために熱硬化性粘着層33上に離型紙を付す(図3(c))。
【0022】
図4は転写紙を支持体に転写する手順を示したものである。まず転写紙の離型紙34を剥離し(a)、メッセージ2を付した支持体1上に重ねる(b)。その後支持体1を加熱することによって熱硬化性粘着層を硬化させ(c)、基材シートを剥離すれば熱変色性印刷層がメッセージ上に重ねて転写できる。
【0023】
図5は上記のようにして付した隠蔽シートを加熱した結果、隠蔽シートが透明となり、支持体に付されたメッセージが現出した状態を示したものである。
【0024】
【実施例】
(実施例1)
基材シート上にエポキシアクリレート樹脂を含有する熱変色性インキで印刷し、その上層に熱硬化性粘着層を設け、さらに離型紙を貼り合わせて熱変色性印刷層を含む転写紙を作成した。
また、マグカップに市販のマーキングペン(サクラクレパス社製 商品名「サクラペンタッチ」)で文字を書き、文字の上に転写紙を離型紙を剥がして貼りつけた後、マグカップ内に熱湯を注ぎ熱変色性印刷層をマグカップに付した。
その後、基材シートを剥がして、図6のように隠しメッセージを得た。
図マグカップ内に湯を注ぎ再加熱すると、図7のように隠しメッセージが現出し、メッセージを視認することができた。
【0025】
(実施例2)
基材シート上に紫外線硬化性樹脂を含有する熱変色性インキで印刷し、紫外線照射により固化した上に熱硬化性粘着層を設け、さらに離型紙を貼り合わせて熱変色性印刷層を含む転写紙を作成した。
また、マグカップに市販のマーキングペン(サクラクレパス社製 商品名「サクラペンタッチ」)で文字を書き、文字の上に転写紙を離型紙を剥がして貼りつけた後、マグカップ内に熱湯を注ぎ熱変色性印刷層をマグカップに付した。
その後、基材シートを剥がして、図6のように隠しメッセージを得た。
図マグカップ内に湯を注ぎ再加熱すると、図7のように隠しメッセージが現出し、メッセージを視認することができた。
【0026】
(実施例3)
透明の基材シート上にエポキシアクリレート樹脂を含有する熱変色性インキを用いて印刷し、その上層に粘着剤を塗布して粘着フィルムを作成した。
また、マグカップに市販のマーキングペン(サクラクレパス社製 商品名「サクラペンタッチ」)で文字を書き、文字の上に粘着フィルム貼りつけて、図6のように隠しメッセージを得た。
マグカップ内に湯を注ぎ加熱すると、図7のように隠しメッセージが現出し、メッセージを視認することができた。
マグカップが冷却した後、粘着フィルムはきれいに剥がすことができ、マグカップに付された文字は剥離することなく、きれいな状態で視認することができた。
【0027】
【発明の効果】
本発明は、隠しメッセージの作成方法及び、その方法に用いる絵付けセットである。本発明によれば、メッセージを簡単に隠しメッセージとすることができる。例えば、マグカップ等の表面に描かれた文字や絵柄を隠し処理することで、湯等の加熱によって所定の温度域になると、隠されていた絵柄や文字などが浮かび上がるおもしろさを有する。従って、この付された隠し文字又は絵柄等のある陶磁器製のマグカップを特定又は不特定の相手方にプレゼントすれば、当該相手方がコップに湯等を入れるなどして使用した時にメッセージ等がコップ表面に浮かび上がり、相手方に伝達することができる。因って、従来には全くない面白さの絵付けとすることができ、使用者の遊び心をくすぐり、著しく興味を引き起こす。また、特に、本発明によると、付されたメッセージの隠し処理は簡単にでき、特別な設備も必要としないため、本発明の絵付けセットを用いると、家庭などで簡単にオリジナルなメッセージが作成でき、一層面白さを与えるものである。
【図面の簡単な説明】
【図1】支持体表面にメッセージが付された状態を示す要部拡大断面図である。
【図2】メッセージを付した支持体に隠蔽シートを重ねて隠し処理を行った状態を示す要部拡大断面図である。
【図3】転写紙の一作成手順例を示す図である。
【図4】支持体表面に転写紙を用いた隠し処理の一手順例を示す図である。
【図5】粘着テープが透明になることによりメッセージが現出した状態を示す要部拡大断面図である。
【図6】マグカップに付されたメッセージが隠しメッセージとなっている状態を示したものである。
【図7】マグカップに付された隠しメッセージが現出した状態を示す図である。
【符号の説明】
1 支持体表面
2 メッセージ塗膜
3 隠蔽シート
Claims (5)
- 隠蔽シートとマグカップを用いて当該マグカップに文字、絵柄の隠しメッセージを形成する方法であって、
前記隠蔽シートは、基材シートの上に、常温で隠蔽色となり湯の温度で透明となる色素を含む少なくとも一層の熱変色性インキが印刷された熱変色性印刷層と、50〜100℃の湯の温度で硬化する熱硬化性粘着層と、離型紙が設けられており、
マグカップ表面に隠しメッセージを描いた後、
前記隠蔽シートの離型紙を剥離し、前記熱硬化性粘着層をそのメッセージ上にその粘着力で付着させて当該隠蔽シートを当該メッセージに重ね、その後マグカップに50〜100℃の湯を加えて前記硬化性粘着層を熱硬化さた後、前記基材シートを剥離し、当該熱変色性印刷層をマグカップ上に形成して前記メッセージを隠蔽し、
その後、湯をマグカップ内に湯を注いで、前記熱変色印刷層を透明にして、前記マグカップ表面に描かれた文字、絵柄の隠しメッセージを、当該マグカップ表面に浮かび上がらせる、隠しメッセージの作成方法。 - 前記隠蔽シートが転写紙である請求項1記載の隠しメッセージの作成方法。
- 前記隠蔽シートが粘着フィルムである請求項1記載の隠しメッセージの作成方法。
- マグカップと、このマグカップ表面に粘着させて50〜100℃の湯の温度で硬化付着させる隠蔽シートの組み合わせからなる絵付けセットであって、
上記隠蔽シートは、基材シートの上に、常温で隠蔽色となり湯の温度で透明となる色素を含む少なくとも一層の熱変色性インキが印刷された熱変色性印刷層と、50〜100℃の湯の温度で硬化する熱硬化性粘着層と、離型紙が設けられている、絵付けセット。 - 基材シートの上に、常温で隠蔽色となり湯の温度で透明となる色素を含む少なくとも一層の熱変色性インキが印刷された熱変色性印刷層と、マグカップ表面に粘着し且つ50〜100℃の湯の温度で硬化する熱硬化性粘着層と、離型紙が設けられている、隠しメッセージ作成用隠蔽シート。
Priority Applications (1)
| Application Number | Priority Date | Filing Date | Title |
|---|---|---|---|
| JP06728197A JP3753344B2 (ja) | 1997-03-04 | 1997-03-04 | 隠しメッセージの作成方法 |
Applications Claiming Priority (1)
| Application Number | Priority Date | Filing Date | Title |
|---|---|---|---|
| JP06728197A JP3753344B2 (ja) | 1997-03-04 | 1997-03-04 | 隠しメッセージの作成方法 |
Publications (2)
| Publication Number | Publication Date |
|---|---|
| JPH10244215A JPH10244215A (ja) | 1998-09-14 |
| JP3753344B2 true JP3753344B2 (ja) | 2006-03-08 |
Family
ID=13340442
Family Applications (1)
| Application Number | Title | Priority Date | Filing Date |
|---|---|---|---|
| JP06728197A Expired - Fee Related JP3753344B2 (ja) | 1997-03-04 | 1997-03-04 | 隠しメッセージの作成方法 |
Country Status (1)
| Country | Link |
|---|---|
| JP (1) | JP3753344B2 (ja) |
Families Citing this family (1)
| Publication number | Priority date | Publication date | Assignee | Title |
|---|---|---|---|---|
| JP6507665B2 (ja) * | 2015-01-21 | 2019-05-08 | 凸版印刷株式会社 | 熱変色性紙製蓋材の製造方法およびそれによる熱変色性紙製蓋材 |
-
1997
- 1997-03-04 JP JP06728197A patent/JP3753344B2/ja not_active Expired - Fee Related
Also Published As
| Publication number | Publication date |
|---|---|
| JPH10244215A (ja) | 1998-09-14 |
Similar Documents
| Publication | Publication Date | Title |
|---|---|---|
| US4440590A (en) | Manufacture of signs | |
| JPH07137435A (ja) | マーキング用シート、マーキングシート及びその製造方法 | |
| JP3753344B2 (ja) | 隠しメッセージの作成方法 | |
| JPS6040399B2 (ja) | 部分蒸着転写シ−トの製造法 | |
| JP3201714B2 (ja) | 転写シート及びその転写方法 | |
| JPH11227390A (ja) | 積層体 | |
| JP3374290B2 (ja) | ホログラム箔付金属製品の印刷方法 | |
| WO2001005600A1 (en) | Heat-shrinkable ink-jet recording material | |
| US20040091682A1 (en) | Composite material | |
| JPS6371385A (ja) | 印刷物及びその製造方法 | |
| JP2004344628A (ja) | コンピューター化した付け爪用デザインの製作方法及びこれを用いた付け爪 | |
| JP2918971B2 (ja) | 凹凸模様付与用熱転写シート | |
| JPS6176397A (ja) | 加熱転写シート | |
| JP3027552B2 (ja) | 感熱型透視図柄の製造方法並びに感熱型変色シール及び感熱型透視図柄セット | |
| JP3502584B2 (ja) | ステンドグラス調ラベルに適したラベル用積層体 | |
| KR960000776B1 (ko) | 장식용 스티커를 점착시킨 우편엽서 및 이의 제조방법 | |
| JPH0528076Y2 (ja) | ||
| JP4325069B2 (ja) | カラー転写シートの製造方法 | |
| JP3065922U (ja) | 陶磁器と転写紙のセット | |
| KR100388939B1 (ko) | 전사지로 액자틀을 장식하는 방법 | |
| JP3054587U (ja) | ステンドグラス風装飾セット | |
| JPS638916B2 (ja) | ||
| WO2004098906A2 (en) | Three-dimensional transfers/decals | |
| JPS6239276A (ja) | 部分的に金属光沢部を有する転写箔 | |
| JP3065888U (ja) | カラー印刷されたガラス等の被転写体製品 |
Legal Events
| Date | Code | Title | Description |
|---|---|---|---|
| A977 | Report on retrieval |
Free format text: JAPANESE INTERMEDIATE CODE: A971007 Effective date: 20050830 |
|
| A131 | Notification of reasons for refusal |
Free format text: JAPANESE INTERMEDIATE CODE: A131 Effective date: 20050930 |
|
| A521 | Written amendment |
Free format text: JAPANESE INTERMEDIATE CODE: A523 Effective date: 20051115 |
|
| TRDD | Decision of grant or rejection written | ||
| A01 | Written decision to grant a patent or to grant a registration (utility model) |
Free format text: JAPANESE INTERMEDIATE CODE: A01 Effective date: 20051207 |
|
| A61 | First payment of annual fees (during grant procedure) |
Free format text: JAPANESE INTERMEDIATE CODE: A61 Effective date: 20051209 |
|
| R150 | Certificate of patent or registration of utility model |
Free format text: JAPANESE INTERMEDIATE CODE: R150 |
|
| FPAY | Renewal fee payment (event date is renewal date of database) |
Free format text: PAYMENT UNTIL: 20091222 Year of fee payment: 4 |
|
| FPAY | Renewal fee payment (event date is renewal date of database) |
Free format text: PAYMENT UNTIL: 20101222 Year of fee payment: 5 |
|
| FPAY | Renewal fee payment (event date is renewal date of database) |
Free format text: PAYMENT UNTIL: 20101222 Year of fee payment: 5 |
|
| FPAY | Renewal fee payment (event date is renewal date of database) |
Free format text: PAYMENT UNTIL: 20111222 Year of fee payment: 6 |
|
| FPAY | Renewal fee payment (event date is renewal date of database) |
Free format text: PAYMENT UNTIL: 20121222 Year of fee payment: 7 |
|
| FPAY | Renewal fee payment (event date is renewal date of database) |
Free format text: PAYMENT UNTIL: 20131222 Year of fee payment: 8 |
|
| LAPS | Cancellation because of no payment of annual fees |