JP3740396B2 - 膜形成方法 - Google Patents

膜形成方法 Download PDF

Info

Publication number
JP3740396B2
JP3740396B2 JP2001228620A JP2001228620A JP3740396B2 JP 3740396 B2 JP3740396 B2 JP 3740396B2 JP 2001228620 A JP2001228620 A JP 2001228620A JP 2001228620 A JP2001228620 A JP 2001228620A JP 3740396 B2 JP3740396 B2 JP 3740396B2
Authority
JP
Japan
Prior art keywords
lid
cup
substrate
inner cup
opening
Prior art date
Legal status (The legal status is an assumption and is not a legal conclusion. Google has not performed a legal analysis and makes no representation as to the accuracy of the status listed.)
Expired - Fee Related
Application number
JP2001228620A
Other languages
English (en)
Other versions
JP2003039008A (ja
Inventor
智之 久保田
Current Assignee (The listed assignees may be inaccurate. Google has not performed a legal analysis and makes no representation or warranty as to the accuracy of the list.)
Canon Inc
Original Assignee
Canon Inc
Priority date (The priority date is an assumption and is not a legal conclusion. Google has not performed a legal analysis and makes no representation as to the accuracy of the date listed.)
Filing date
Publication date
Application filed by Canon Inc filed Critical Canon Inc
Priority to JP2001228620A priority Critical patent/JP3740396B2/ja
Publication of JP2003039008A publication Critical patent/JP2003039008A/ja
Application granted granted Critical
Publication of JP3740396B2 publication Critical patent/JP3740396B2/ja
Anticipated expiration legal-status Critical
Expired - Fee Related legal-status Critical Current

Links

Images

Landscapes

  • Exposure Of Semiconductors, Excluding Electron Or Ion Beam Exposure (AREA)
  • Materials For Photolithography (AREA)
  • Application Of Or Painting With Fluid Materials (AREA)
  • Coating Apparatus (AREA)

Description

【0001】
【発明の属する技術分野】
本発明は、液晶用ガラス基板、カラーフィルタ用ガラス基板、半導体ウエハなど、基板に対し、フォトレジストや保護膜などの膜を形成する回転式の膜形成装置および膜形成方法に関するものである。
【0002】
【従来の技術】
従来、回転式の膜形成装置(以下、スピンコーター)としては、種々の形式のものが知られているが、基板を水平姿勢に保持する回転駆動可能な吸着テーブルに基板を保持し、塗布ノズルによって、基板の中央に塗布液を滴下し、高速回転させ、その回転によって働く遠心力によって塗布液を拡散させ、基板上に均一な膜を形成するのが一般的である。
【0003】
上述のようなスピンコーターにも、前記吸着テーブルを囲む様に配置されたカップの構造により、カップが開閉動作可能な蓋を有し、吸着テーブルとともに回転駆動可能なインナーカップ方式と、カップは固定され、上部が解放状態にあるオープンカップ方式に分類される。
【0004】
どちらの方式においても、塗布液を高速回転により拡散させる際、余分な液を基板から外に飛散させる。特にインナーカップ方式においては、この飛散した液は、インナーカップ内の様々な箇所に付着し、塗布液が乾燥により固化する液であれば、この付着した液は、時間経過と共に固化する。特に、蓋とカップの接触部に付着した液は、蓋開閉時に剥がれ落ち易く、さらに、剥がれ落ちた固化物が、蓋開閉時の気流の巻き込みによってカップ内に送り込まれ、基板上に乗る可能性が高い。
【0005】
このような、ミスト化した液の付着に対しては、特開平6−106126号公報に開示されているように、飛散防止カップの内面をインライン洗浄によって洗浄する方法が提案されている。
【0006】
また、特開平6−328034号公報に開示されているように、蓋開動作と同時に、インナーカップ内に強制的にエアを送り込む強制給気機構を設けたものも知られている。
【0007】
【発明が解決しようとする課題】
しかしながら、インライン洗浄においては、インライン洗浄の機構が大幅なコストUPになり、装置も複雑になる。また、塗布液が硬化剤を含んでいるような場合は、固化状態が早く進むばかりでなく、完全に固化した後の溶剤による除去が困難であり、除去できたとしても、洗浄の頻度を上げ、かつ、除去までに多くの時間を費やし、生産効率を大きく落としてしまう。
【0008】
また、後者の強制給気機構によるミストの除去では、高速回転する回転体にクリーンなエアを送り込むことは、機構的にも困難であり、複雑かつコストUPになる。
【0009】
したがって、本発明は上述した課題に鑑みてなされたものであり、その目的は、スピンコーターによって基板に薬液の膜を形成する場合に、飛散した薬液の固化物が基板に付着することを防止することができる膜形成装置及び膜形成方法を提供することである。
【0012】
【課題を解決するための手段】
上述した課題を解決し、目的を達成するために、本発明に係わる膜形成方法は、基板を水平姿勢に保持する回転可能な保持テーブルと、前記基板の中央部に塗布液を供給する供給手段と、前記保持テーブルを囲むインナーカップであって、該インナーカップと接触する外蓋と、該外蓋と部分的に重なり前記基板サイズよりも僅かに小さいサイズの内蓋とを備えるインナーカップと、該インナーカップを囲むアウターカップであって、該アウターカップと接触するアウター蓋を備えるアウターカップとを具備する膜形成装置における膜形成方法であって、前記供給手段により前記基板の中央部に塗布液を供給する供給工程と、前記保持テーブルを回転させて、前記塗布液を前記基板の表面上に拡散させる拡散工程と、前記保持テーブルの回転を停止させて、前記アウターカップのアウター蓋を開くアウター蓋開き工程と、前記インナーカップの蓋を開く内蓋開き工程と、前記内蓋を開いてから所定時間経過した後に、前記インナーカップの外蓋を開く外蓋開き工程と、を順に行なうことを特徴としている。
【0013】
また、この発明に係わる膜形成方法において、前記インナーカップの内蓋は、該内蓋を前記外蓋に重ねたときに、カップ内面から見た蓋の面がフラットになるように構成されていることを特徴としている。
【0014】
【発明の実施の形態】
以下、本発明の好適な一実施形態について説明する。
【0015】
本実施形態では、基板を水平姿勢に保持する回転駆動可能な吸着テーブルと、基板の中央に塗布液を滴下する塗布ノズルと、開閉動作可能な蓋を有し、吸着テーブルとともに回転駆動可能なインナーカップと、インナーカップを収容し、蓋を有するアウターカップとを備える膜形成装置において、インナーカップの蓋は、カップと接触する外蓋と、外蓋に重なり、基板サイズよりも小さい径の内蓋との2枚からなり、膜形成後の蓋上昇時は、内蓋が、外蓋よりも先に持ち上がるようにすることで、蓋上昇時は、蓋とカップの接触部に付着した液が剥がされる前に、カップ内を大気に戻し、更に、蓋上昇時は、蓋の内側へのエアの流れを蓋中央部からも取り込めるようになるため、接触部より剥がされた固化物は、基板上に送り込まれることはなくなる。
【0016】
さらに、構造的に非常に簡単であることから、僅かなコストUPで実現でき、複雑なシーケンスや、トラブルの危険性が非常に少ない。
【0017】
また、付着したミストの除去は、定期清掃時にオフラインで洗浄すれば十分であり、蓋をボルト一本で用意に着脱可能な構造にし、短時間で取り外し可能にすることで、稼働率を大きく落とすことなく、装置の維持管理が可能である。
【0018】
また、蓋を持ち上げる蓋上昇工程において、インナーカップの内蓋が持ち上がり、外蓋が閉じている状態で、所定時間待つことで、カップ内のミストの状態を蓋中央からのダウンフローにより、安定させてから、持ち上がることで、浮遊ミストの周辺装置への飛散を防ぐことが可能になる。
【0019】
以下添付図面を参照して、本発明を、液晶パネル等のガラス基板にレジストあるいは保護膜等(以下、薬液)を塗布し、均一な膜を形成する場合に適用した一実施形態について説明する。
【0020】
図8は、膜形成プロセスに基板が供給され、排出されるまでのシステムの一例を示す図である。
【0021】
前工程より搬送されてきた基板Wは、基板搬送ユニット90により、スピンコーターSCに供給される。供給された基板Wは、吸着テーブル70に乗せられ、吸着される。吸着テーブル70は、連結部材を介して、不図示のスピンドルに取り付けられており、このスピンドルは、不図示のモーターによって、回転駆動が可能になっている。また、スピンドル中央には、吸着テーブルの吸着穴につながる貫通穴が設けられており、吸着のON/OFF制御を行う電磁弁を介して、真空配管に接続されている。
【0022】
基板Wが供給されると、次に、不図示のアクチュエータによってノズル先端を基板中央に移動させることが可能な薬液の塗布ノズル80によって、基板Wの中央に薬液を所定量塗布する。塗布ノズル80は、アウターカップ60の外に配置されている。
【0023】
次に、全ての蓋10,20,30が下降し、インナーカップ50、アウターカップ60にそれぞれ乗せられる。この状態で、インナーカップ50および吸着テーブル70は、同期して高速に回転する。この回転により働く遠心力によって、基板上に均一な薬液の膜が形成される。この時の回転条件は、液や膜厚、基板状態によって決定するが、ここではその説明を省略する。
【0024】
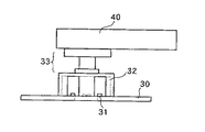
図1乃至図3に示すように、インナーカップ50には、外周部に排気と廃液を兼ねた配管52が設けられており、余分な塗布液をアウターカップに流し出す役目を果たしている。
【0025】
アウターカップ60も、同様にインナーカップ50から流し出された塗布液を回収するための廃液管62を有している。なお、図1乃至図3における51,61はパッキンである。
【0026】
膜形成が終わると、蓋を上昇させる。次に、排出側の基板搬送ユニット90にて吸着テーブル70上から基板Wを取り出し、次工程に排出する。
【0027】
以上述べた装置、システムは、天井に取り付けられたFFU(ファンユニット)の下に配置され、FFUからのダウンフローは、カップ内の排気口より吸引し、塗布液のミストを外に逃がさないように構成されている。
【0028】
図4にインナーカップ内蓋を示す図、図5はインナーカップ外蓋を示す図である。
【0029】
インナーカップ50の蓋は、基板Wのサイズよりも、小さい径の内蓋10と、内蓋10がカバーできる範囲に通気口としての抜き穴を有し、インナーカップ上に乗せられる外径の外蓋20とからなる。
【0030】
インナーカップ内蓋10は、図4に示すように、アウター蓋30に持ち上げられた時の位置出し用Vブロック11と、インナーカップ外蓋20を持ち上げる時の位置決め用の受けとして、V溝部材12が設けられている。また、下面には、インナーカップ外蓋20に、通気口として開けられた抜き穴22に、所定のクリアランスを持って挿入され、内蓋10と外蓋20を重ねたとき、カップ内側より見たときの蓋の面がフラットになるような部材13が備え付けられている。
【0031】
インナーカップ外蓋20は、図5に示すように、基板サイズよりも内側の部分に、通気口の役目を果たす抜き穴22が設けられており、外周部には、インナーカップ50に設けられた挿入ピンが入る位置決め穴21が設けられている。また、回転軸23には、ねじが切ってあり、図6に示す位置決め用V部材26を有する取り付け部材25が、受け面24と、ナットによって、固定される。この時、軸23には、インナーカップ内蓋10を通し、さらに、アウターカップの蓋30の中心に軸を通し、その後、取り付け部材25を組み付けることになる。つまり、全ての蓋の着脱は、取り付け部材25の付け外しによって、容易にかつ短時間に行えるのである。
【0032】
アウターカップの蓋30は、蓋を昇降させるアーム40に取り付けられており、アーム40を含めて、中央部にナットを取り付ける際の工具が通るようにされている。
【0033】
実際の取り付け作業は、インナーカップ外蓋20、インナーカップ内蓋10の順に、インナーカップ50に乗せ、その後、昇降アーム40を下降させた状態で、アーム上部より取り付け部材25を固定すれば、一人でも行える作業である。
【0034】
次に、膜形成工程のフローチャートを図9に、S4、S8、S10の状態を、それぞれ図1、図2、図3に示す。
【0035】
ステップS1:基板搬送ユニットにより、前工程より搬送されてきた基板を、吸着テーブル70に供給する。
【0036】
ステップS2:基板を吸着する。
【0037】
ステップS3:塗布ノズル80の先端を基板中央に移動させ、そこで、所定量の薬液を滴下する。滴下後、塗布ノズルは元の位置に待避する。
【0038】
ステップS4:上方に待避させておいた、アウターカップの蓋30、インナーカップの内蓋10、外蓋20の全てを下降させ、図1の状態にする。
【0039】
ステップS5:基板を吸着している吸着テーブル70と、インナー蓋10,20を閉じた状態のインナーカップ50を、同期して高速回転させ、所定時間経過後、停止する。
【0040】
ステップS6:昇降アーム40を、昇降駆動部41によって上昇させ、アウターカップの蓋30を持ち上げる。この時、まだ、インナーカップの蓋10,20は持ち上がってはいない。
【0041】
ステップS7:インナーカップから飛び出すミストが多い場合は、この状態での待ち時間を長めに設定するのが良い。
【0042】
ステップS8:更に、昇降アーム40を上昇させ、インナーカップ内蓋10が持ち上がり、外蓋20が閉じた、図2に示す状態にする。
【0043】
ステップS9:ここで、カップ内のミストの状態が安定する時間(本実施形態では3〜5秒)待機する。
【0044】
ステップS10:昇降アーム40を完全に上昇させ、全ての蓋を持ち上げる。即ち、図3に示す状態にする。
【0045】
ステップS11:吸着テーブル70の基板吸着を解除した後、排出側の基板搬送ユニット90によって、吸着テーブル70上から基板を取り出し、次工程に排出する。
【0046】
ここでは、液晶パネルあるいは、カラーフィルタ用のガラス基板への塗布を例に説明したが、半導体ウエハでも、カップ回転方式のスピンコーターであれば、基板の種類や形状、カップの形状、大きさに関わらず、本発明の効果を得ることができる。
【0047】
以上述べてきたように、上記の実施形態によれば、基板を水平姿勢に保持する回転駆動可能な吸着テーブルと、基板の中央に塗布液を滴下する塗布ノズルと、開閉動作可能な蓋を有し、吸着テーブルとともに回転駆動可能なインナーカップと、インナーカップを収容し、蓋を有するアウターカップからなる膜形成装置において、インナーカップの蓋は、カップと接触する外蓋と、この外蓋に重なり、基板サイズよりも小さい径の内蓋とからなり、膜形成後の蓋上昇時は、内蓋が、外蓋よりも先に持ち上がるようにすることで、蓋上昇時は、蓋とカップの接触部に付着した液が剥がされる前に、カップ内を大気に戻し、更に、蓋上昇時は、蓋の内側へのエアの流れを蓋中央部からも取り込めるようになるため、接触部より剥がされた固化物は、基板上に送り込まれることは無くなる。
【0048】
さらに、構造的に非常に簡単であることから、僅かなコストUPで実現でき、複雑なシーケンスや、トラブルの危険性が非常に少ない。
【0049】
また、前記蓋は、ボルト一本で容易に着脱可能な構造であることから、定期的な清掃を行う際、短時間で取り外し、オフラインで洗浄すれば、稼働率を大きく落とすことなく、装置の維持管理が可能である。
【0050】
また、蓋を持ち上げる蓋上昇工程において、インナーカップの内蓋が持ち上がり、外蓋が閉じている状態で、所定時間待つことで、カップ内のミストの状態を蓋中央からのダウンフローにより、安定させてから、持ち上げることで、浮遊ミストの周辺装置への飛散を防ぐことが可能になる。
【0051】
【発明の効果】
以上説明した様に、本発明によれば、スピンコーターによって基板に薬液の膜を形成する場合に、飛散した薬液の固化物が基板に付着することを防止することが可能となる。
【図面の簡単な説明】
【図1】蓋上昇時の様子を説明する図である。
【図2】蓋上昇時の様子を説明する図である。
【図3】蓋上昇時の様子を説明する図である。
【図4】インナーカップの内蓋を示す図である。
【図5】インナーカップの外蓋を示す図である。
【図6】インナーカップの外蓋の取り付け部材を示す図である。
【図7】アウターカップの蓋を示す図である。
【図8】膜形成工程のシステム構成例を説明する図である。
【図9】膜形成方法を説明するフローチャートである。
【符号の説明】
W 基板
10 内蓋
20 外蓋
30 アウター蓋
50 インナーカップ
60 アウターカップ
70 吸着テーブル

Claims (2)

  1. 基板を水平姿勢に保持する回転可能な保持テーブルと、前記基板の中央部に塗布液を供給する供給手段と、前記保持テーブルを囲むインナーカップであって、該インナーカップと接触する外蓋と、該外蓋と部分的に重なり前記基板サイズよりも僅かに小さいサイズの内蓋とを備えるインナーカップと、該インナーカップを囲むアウターカップであって、該アウターカップと接触するアウター蓋を備えるアウターカップとを具備する膜形成装置における膜形成方法であって、
    前記供給手段により前記基板の中央部に塗布液を供給する供給工程と、
    前記保持テーブルを回転させて、前記塗布液を前記基板の表面上に拡散させる拡散工程と、
    前記保持テーブルの回転を停止させて、前記アウターカップのアウター蓋を開くアウター蓋開き工程と、
    前記インナーカップの蓋を開く内蓋開き工程と、
    前記内蓋を開いてから所定時間経過した後に、前記インナーカップの外蓋を開く外蓋開き工程と、
    を順に行なうことを特徴とする膜形成方法。
  2. 前記インナーカップの内蓋は、該内蓋を前記外蓋に重ねたときに、カップ内面から見た蓋の面がフラットになるように構成されていることを特徴とする請求項1に記載の膜形成方法。
JP2001228620A 2001-07-27 2001-07-27 膜形成方法 Expired - Fee Related JP3740396B2 (ja)

Priority Applications (1)

Application Number Priority Date Filing Date Title
JP2001228620A JP3740396B2 (ja) 2001-07-27 2001-07-27 膜形成方法

Applications Claiming Priority (1)

Application Number Priority Date Filing Date Title
JP2001228620A JP3740396B2 (ja) 2001-07-27 2001-07-27 膜形成方法

Publications (2)

Publication Number Publication Date
JP2003039008A JP2003039008A (ja) 2003-02-12
JP3740396B2 true JP3740396B2 (ja) 2006-02-01

Family

ID=19061102

Family Applications (1)

Application Number Title Priority Date Filing Date
JP2001228620A Expired - Fee Related JP3740396B2 (ja) 2001-07-27 2001-07-27 膜形成方法

Country Status (1)

Country Link
JP (1) JP3740396B2 (ja)

Also Published As

Publication number Publication date
JP2003039008A (ja) 2003-02-12

Similar Documents

Publication Publication Date Title
JP3099054B2 (ja) 塗布装置及びその方法
EP0368334A2 (en) Etching apparatus and method of using the same
US8343284B2 (en) Film removing device and film removing method
JPH10294261A (ja) レジスト塗布装置
JP2001118824A (ja) 基板処理装置および基板処理方法
JP3948930B2 (ja) 薄膜形成装置および薄膜形成方法
JPH11102882A (ja) 基板洗浄装置
JP3740396B2 (ja) 膜形成方法
JP3667233B2 (ja) 基板処理装置
JP3029767B2 (ja) 薄膜形成装置
JPH11330041A (ja) エッチング液による基板処理装置
JP3133735B2 (ja) 回転式塗布装置
JPH08281184A (ja) 処理装置及び処理方法
JP3840388B2 (ja) 基板処理装置
JP3381017B2 (ja) 処理装置及び処理方法
JP2004281641A (ja) 塗布装置
JP3667164B2 (ja) 処理液吐出ノズル、液処理装置および液処理方法
JPS6351638A (ja) フオト・エツチングのレジスト塗布回収装置
JPH11162816A (ja) スピン式レジスト塗布装置およびウェーハ処理方法
JPH0888163A (ja) 基板処理装置
JPH10303101A (ja) レジスト塗布装置
JPH1147675A (ja) 塗布装置及びその方法
JP2708340B2 (ja) 回転式塗布装置
JPH08255789A (ja) 処理装置及び処理方法
JP3618256B2 (ja) 回転式基板処理装置及び回転式基板処理方法

Legal Events

Date Code Title Description
A977 Report on retrieval

Free format text: JAPANESE INTERMEDIATE CODE: A971007

Effective date: 20050328

A131 Notification of reasons for refusal

Free format text: JAPANESE INTERMEDIATE CODE: A131

Effective date: 20050711

A521 Written amendment

Free format text: JAPANESE INTERMEDIATE CODE: A523

Effective date: 20050906

TRDD Decision of grant or rejection written
A01 Written decision to grant a patent or to grant a registration (utility model)

Free format text: JAPANESE INTERMEDIATE CODE: A01

Effective date: 20051028

A61 First payment of annual fees (during grant procedure)

Free format text: JAPANESE INTERMEDIATE CODE: A61

Effective date: 20051107

R150 Certificate of patent (=grant) or registration of utility model

Free format text: JAPANESE INTERMEDIATE CODE: R150

FPAY Renewal fee payment (prs date is renewal date of database)

Free format text: PAYMENT UNTIL: 20081111

Year of fee payment: 3

FPAY Renewal fee payment (prs date is renewal date of database)

Free format text: PAYMENT UNTIL: 20091111

Year of fee payment: 4

FPAY Renewal fee payment (prs date is renewal date of database)

Free format text: PAYMENT UNTIL: 20101111

Year of fee payment: 5

FPAY Renewal fee payment (prs date is renewal date of database)

Free format text: PAYMENT UNTIL: 20101111

Year of fee payment: 5

FPAY Renewal fee payment (prs date is renewal date of database)

Free format text: PAYMENT UNTIL: 20111111

Year of fee payment: 6

FPAY Renewal fee payment (prs date is renewal date of database)

Free format text: PAYMENT UNTIL: 20121111

Year of fee payment: 7

LAPS Cancellation because of no payment of annual fees